metalinstryment.com
Довідник по металорізальних верстатів та пресовому обладнанні

5140 Верстат зубодолбежный вертикальний напівавтомат
схеми, опис, характеристики

5140 Загальний вигляд  зубодолбежного верстата







Відомості про виробника вертикального зубодолбежного напівавтомату 5140

Производитель вертикального зубодолбежного напівавтомату 5140 Корсунь-Шевченковский станкостроительный завод им. Богдана Хмельницкого г. Корсунь-Шевченковский, Черкаская область.





Продукция Корсунь-Шевченковского станкостроительного завода


5140 Верстат зубодолбежный вертикальний гідравлический універсальний напівавтомат. Назначение і область применения

Зубодолбежный напівавтомат 5140 является представителем гаммы зубодолбежных верстатів 5121, 5122 і 5140, разработанных в ЭНИМС в начале семидесятых.

Універсальный гідравлический зубодолбежный верстат напівавтомат 5140 предназначен для высокопроизводительного нарізання прямых і косых зубьев цилиндрических зубчатых колес з наружным і внутренним зацеплением. Ввиду малого перебега долбяка верстат приспособлен для нарізання блоков зубчатых колес. Нарезание зубьев осуществляется круговыми модульными долбяками методом обкатки инструмента і вироби.

Простота налагодження напівавтомату дает возможность использовать его в условиях единичного і серийного производства.

Особливості конструкції верстата 5140

Жесткая стойка соединена со станиной, по горизонтальным направляющим которой перемещается стол, несущий нарезаемое колесо. В суппорте расположен долбяк, совершающий возвратно-поступательное рух і отскок при обратном ходе на величину 0,45 мм. В верстатах 5А12, 5В12, 5М12 такой отскок совершает деталь.

При установці в суппорте специальных винтовых направляючих, изготовляемых по техническому заданию заказчика, на напівавтоматі можно обрабатывать зубчасті колеса з косым зубом.

Жесткая кінематична ланцюг, отсутствие вертикальних валов позволяют выпускать на его базе специальные верстати: для обробки деталей в центах, деталей з коническим (поднутренным) зубом, повышенным рабочим пространством, гідравлическим переміщенням суппорта. Полуавтомат може комплектоваться гідравлическим зажимным патроном і пристрійм для нарізання зубьев реек. При наличии специального инструмента возможна обработка фасонных профилей.

Стружка з робочого простору удаляется шнековым транспортером, приводимым в действие от отдельного приводу через редуктор.

Высокая жесткость станины исключает возможность возникновения вибраций при переменной динамической нагрузке. Полуавтоматический рабочий цикл, керування з центрального пульта позволяют проводить обслуговування нескольких верстатів одним станочником. Верстат обеспечивает обработку в один, два і три прохода з автоматическим изменением режимов різання на чистовом проходе.

На напівавтоматі 5140 можно обрабатывать вироби как из черных, так і цветных металлов.

Отвод стола от инструмента обеспечивает удобный съем і установку вироби. Для закрепления детали имеется гідравлический зажимной патрон.

При обработке деталей з внутренним зацеплением в кінці цикла режущий инструмент выводится в верхнее положение специальным пристрійм, что исключает поломку инструмента при отводе стола в зону загрузки.

На базе напівавтомату изготавливаются специальные верстати для обробки деталей в центрах, деталей з коническим (поднутренным) зубом, а при наличии специальных долбяков можно обрабатывать плоские фасонные детали.

Верстат 5140 работает по методу обкатки, где в процессе нарізання зубьев воспроизводятся руху пары цилиндрических зубчатых колес. Работу одного колеса выполняет зуборезный долбяк, а второго — заготовка.

Долбяк, установленный на кінці шпинделя, совершает возвратно-поступательное рух (вверх і вниз). При движении вниз долбяк совершает рабочий ход — осуществляет процесс різання, а при движении вверх совершает холостой ход. Для предохранения от порчи і притупления кромок на зубьях долбяка стол з заготовкой отводится от долбяка на небольшую величину во время обратного ходу, а к моменту начала робочого ходу стол устанавливается в исходное положение. Заготовка находится на оправке стола.

До начала обробки долбяк подводится вплотную к наружной поверхности заготовки. Затем включается радиальная подача шпиндельной головки для врізання долбяка в заготовку. По окончании радиальной подачі нарезание зубьев происходит на полный профиль за 1 оборот заготовки.

Долбяк целесообразно считать ведущим колесом. Исходя из етого, его окружную скорость (круговую подачу) выбирают, руководствуясь только режимами різання. Вращение заготовки называется делительным движением. Для правильной обкатки колес скорость делительного руху заготовки должна строго совпадать з выбранной скоростью круговой подачі долбяка.

В отличие от предыдущих моделей зубодолбежных верстатів в рассматриваемом напівавтоматі применен гідравлический привод.

Общая компоновка верстата 5140

Верстат 5140 имеет вертикальную компоновку, то есть ось детали і инструмента расположены вертикально.

Для осуществления обкатки на станке предусмотрена жесткая кінематична связь обертання инструмента і детали, которая настраивается сменными колесами гітари деления.

Рух різання инструмента осуществляется за счет возвратно-поступательного переміщення штосселя.

Установка межцентрового расстояния і врізання на глубину зуба производятcя столом з заготовкой, который перемещается по станине на плоских горизонтальных направляючих.

Радиальное врезание на глубину зуба осуществляется клиновым упором, который перемещается гідроцилиндром.

Стол имеет ускоренный подвод к заготовке.

Верстат може работать:

На станке имеется возможность осуществления обробки зубчатых колес в один, два і три прохода в напівавтоматическом режиме.

Для изменения круговой подачі (скорости обкатки инструмента і детали) на станке предусмотрена коробка подач з гідравлическим переключением подачі по циклу обробки заготовки. Изменение числа двойных ходов инструмента во время цикла обробки заготовки производится посредством переключения електродвигуна головного руху з одной ступени на другую.

Величина подачі радиального врізання настраивается при помощи дросселя.

Высота зуба і припуск перед втором і третьим проходом настраиваются упорами. Для отсчета полного оборота заготовки имеется автоматическое пристрій, которое включается після врізання инструмента в заготовку. Отвод при обратном ходе инструмента осуществляет штоссель з долбяком. Все переключения во время роботи верстата в напівавтоматическом режиме осуществляются гідравликой. Для приводу обертання стола і долбяка предусмотрены червячные пары з переменной толщиной витка.

Полуавтомат можно оснащать загрузочным пристрійм і встраивать в автоматическую линию.


Основні технические данные зубофрезерного верстата 5140:

Изготовитель - Корсунь-Шевченковский станкостроительный завод им. Богдана Хмельницкого.

Основні технические данные по ГОСТ 659-89 Верстати зубофрезерные вертикальные для цилиндрических колес. Основні параметри і розміри. Нормы точності.






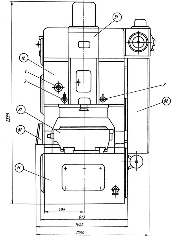
5140 Габаритные розміри робочого простору зубодолбежного напівавтомату

5140 Габаритные розміри робочого простору зубодолбежного напівавтомату

Габаритные розміри робочого простору верстата 5140


5140 Посадочные і присоединительные базы зубодолбежного напівавтомату

5140 Посадочные і присоединительные базы зубодолбежного напівавтомату

Посадочные і присоединительные базы верстата 5140


5140 Загальний вигляд і общее пристрій верстата

5140 напівавтомат зубодолбежный. Загальний вигляд

Фото зубодолбежного верстата 5140


Розташування органів керування зубодолбежным верстатом 5140

5140 Розташування органів керування зубодолбежным верстатом напівавтоматом

Розташування органів керування зубодолбежным верстатом 5140

Розташування органів керування зубодолбежным верстатом 5140. Дивитись у збільшеному масштабі



Список органів керування зубодолбежным верстатом 5140

  1. Квадрат ручного переміщення штосселя
  2. Упоры для зовнішнього і внутреннего зацепления
  3. Гітара деления
  4. Рукоятка реверса і отключения ланцюги деления
  5. Рукоятки установки чисел двойных ходов
  6. Рукоятка реверса і отключения круговой подачі
  7. Механізм переключения цикла і счетчик
  8. Реверс радиального врізання
  9. Дроссель радиального врізання
  1. Квадрат налаштування межцентрового расстояния
  2. Шкала і нониус установки межцентрового расстояния
  3. Упоры налаштування глубины врізання і числа проходов
  4. Пульт керування
  5. Рукоятка перевода долбяка з внутреннего на внешнее зацепление
  6. Шкала установки ходу штосселя
  7. Квадрат установки величины ходу штосселя
  8. Квадрат зажиму ползушки установки величины ходу штосселя
  9. Рукоятка поворота шпинделя долбяка

Розташування основних вузлів зубодолбежного верстата 5140

5140 Розташування основних вузлів зубодолбежного верстата

Розташування основних вузлів зубодолбежного верстата 5140

Список вузлів зубодолбежного верстата напівавтомату 5140





Схема структурна зубодолбежного верстата напівавтомату 5140

Схема структурна зубодолбежного напівавтомату 5140

Структурна схема зубодолбежного верстата 5140


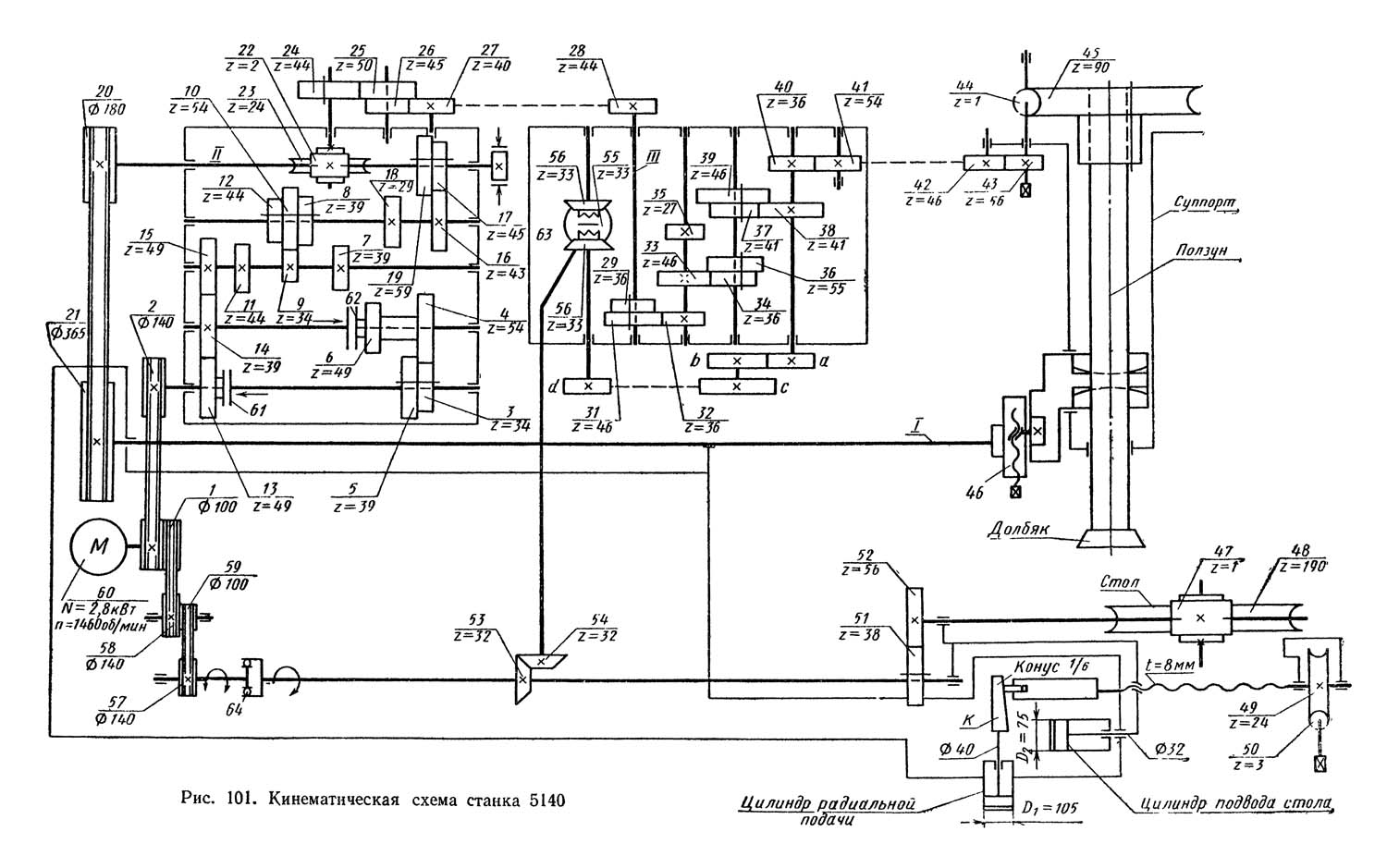
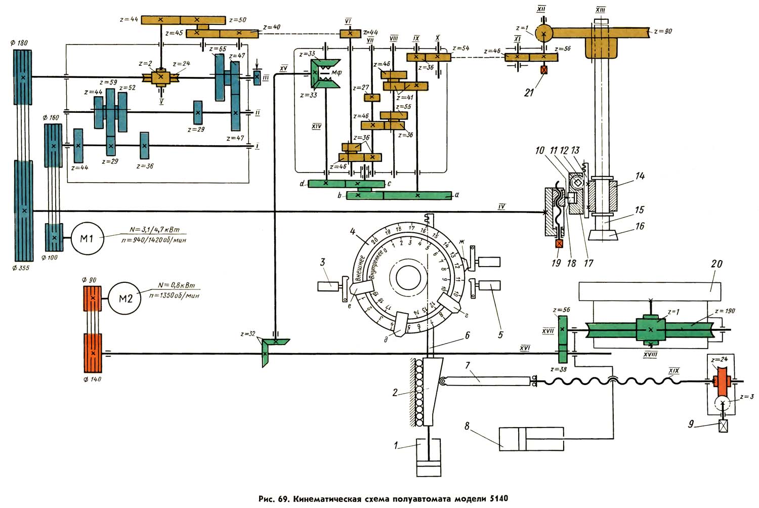
Схема кінематична зубодолбежного верстата напівавтомату 5140

Схема кінематична зубодолбежного верстата напівавтомату 5140

Кінематична схема зубодолбежного верстата 5140

1. Схема кінематична зубодолбежного верстата 5140. Дивитись у збільшеному масштабі

2. Схема кінематична зубодолбежного верстата 5140. Дивитись у збільшеному масштабі

3. Схема кінематична зубодолбежного верстата 5140. Дивитись у збільшеному масштабі

4. Схема кінематична зубодолбежного верстата 5140. Дивитись у збільшеному масштабі



Кінематична схема напівавтомату 5140

Движения в станке. Основні:


Движения в станке. Вспомогательные:


Кинематическая ланцюг приводу головного руху. Возвратно-поступательное перемещение штосселя 15 (рис. 69) з долбяком 16 осуществляется от двухскоростного електродвигуна M1 через клиноременную передачу со шкивами диаметром 100 і 160 мм, шестиступенчатую коробку швидкостей, клиноременную передачу со шкивами диаметром 180 і 355 мм на вал IV приводу штосселя. Число двойных ходов штосселя всегда равно числу оборотів вала IV.

При черновой обработке колес включается частота обертання електродвигуна 940 об/мин.

В зависимости от переключения двух- і трехступінчастого блоков коробки швидкостей можно включать при черновой обработке любое из шести чисел двойных ходов штосселя в минуту:

n1=65; n2=92; n3=132; n4=145; n5=206; n6=296 двойных ход/мин.

Для чистовой обробки зубьев колес електродвигатель М1 переключается на частоту обертання 1420 об/мин, вследствие чего число двойных ходов штосселя увеличивается в 1,51 раза і соответственно равно:

n1=98; n2=140; n3==200; n4=220; п5=310 і n6=450 двойных ход/мин.

Нужное для увімкнення число двойных ходов штосселя определяют, исходя из средней скорости різання vср і установленной длины ходу L штосселя по формуле n = 500 vsp/L.

Кинематическая ланцюг деления настраивается, исходя из условия, что при повороте долбяка на 1/zd заготовка должна повернуться на 1/z оборота.

После установки на гітару деления сменных колес а, b, с, d і при включении рукояткой 5 (рис. 68) муфты Мф (рис. 69) всегда одновременно з включением головного руху включаются круговые подачі штосселя з долбяком і ланцюг деления.

При быстром вращении стола проверяют пристрій з установленной в нем заготовкой на отсутствие биения. Муфта Мф должна, быть отключена, а стол з заготовкой отведен от штосселя і долбяка. Быстрое вращение стола з частотой n=6,5 об/мин осуществляется от електродвигуна М2.

Кинематическая ланцюг круговой подачі долбяка. Величина круговой подачі исчисляется в миллиметрах дуги наружной окружности, которую описывает долбяк за каждый двойной ход.

На напівавтоматі применяют долбяки з номинальным диаметром начальной окружности 100 мм. Для вычисления скорости круговых подач принят долбяк з модулем 5 мм, наружный диаметр которого равен 111 мм.

Из указанной формулы получаем восемь швидкостей круговых подач: 0,14; 0,18; 0,22; 0,29; 0,36; 0,45; 0,59 і 0,75 мм/дв. ход, каждая из которых автоматически включается от гідроприводу переключением трех двухступенчатых блоков коробки круговых подач для осуществления черновых і чистового проходов. Радиальная подача стола совершается при наименьшей скорости круговой подачі (0,14 мм/дв. ход).

Штоссель з долбяком поворачивают вручную хвостовиком 21 (рис. 69).

Стол в радиальном направлении перемещается от гідроприводу цилиндрами 1 і 8.

Быстрый подвод стола к долбяку совершается при поступлении масла под давлением в штоковую полость цилиндра 8. Когда упор 7 дойдет до клиновидной ползушки 2, быстрый подвод стола прекращается і масло начинает поступать в поршневую полость цилиндра 1. Из штоковой полости цилиндра 1 масло уходит на слив через дроссель. Шток цилиндра 1 медленно перемещает ползушку 2, вследствие чего цилиндр 8 медленно передвигает стол верстата, осуществляя радиальную подачу. Величина етой подачі зависит от скорости переміщення ползушки 2.

Дросселем 8 (рис. 68) можно устанавливать выход масла на слив из штоковой полости цилиндра 1 (рис. 69) в пределах от Qmin = 0,07 л/мин до Qmax = 1,5 л/мин. Площадь поршня в штоковой полости цилиндра 1 равна 70 см2. Поетому скорость руху ползушки можно устанавливать в пределах от vmin= 1 см/мин до vmax =21см/мин

При уклоне поверхности ползушки к=1:6 скорость переміщення стола будет от k• tmin= 35 мм/мин.

Радиальная подача стола зависит от числа n двойных ходов долбяка в минуту. Например, при наименьшем числе n=65 дв. ход /мин радиальная подача стола може быть установлена дросселем 8 (рис. 68) в пределах от spmln= 0,025 мм/дв. ход до spmax= 0,54 мм/дв. ход

При увеличении числа двойных ходов штосселя і долбяка величина радиальной подачі пропорционально уменьшается.

Глубина радиального врізання долбяка перед каждым проходом обробки зубьев колеса зависит от величины переміщення ползушки 2 (рис. 69). Вместе з ползушкой перемещается зубчатая рейка 6, через зубчатое колесо вращающая барабан 4. При налаштуванні напівавтомату на барабане устанавливают кулачки г, д, е, которые, воздействуя на переключатель 5, отключают рух ползушки (радиальную подачу), включают счетчик 9 (рис. 68) і следующий проход обробки. От числа установленных на барабане 4 (рис. 69) кулачков г, д, е зависит число включаемых проходов обробки. При каждом проходе счетчик отсчитывает полный оборот стола 20, після чего он отключается, включая перемещение ползушки 2 і радиальную подачу стола.

Установка точного расстояния между центрами стола і долбяка. Наименьшее расстояние между центрами стола і долбяка устанавливается, когда упор 7 переместится з наклонной поверхности на плоскую поверхность ползушки 2. Это расстояние при окончательной обработке на станке колес з наружным зацеплением должно быть равно полусумме начальных диаметров долбяка і обрабатываемого колеса. Если для післядующей обробки колес на другом станке толщина зуба должна быть больше на As мм, то наименьшее расстояние между центрами долбяка і стола следует увеличить.

При наладке верстата наименьшее расстояние между центрами устанавливают по шкале 18 (рис. 68) переміщенням стола при вращении вручную квадратного хвостовика 9 (рис. 69). Рух от хвостовика через червячную передачу передається на винт XIX, который, ввинчиваясь в гайку, смещает упор 7 относительно стола 20. При етом изменяется расстояние между центрами стола і долбяка.





Схема розположення підшибників качения зубодолбежного верстата 5140

Схема розположення підшибників качения зубодолбежного верстата напівавтомату 5140

Схема розположення підшибників качения зубодолбежного верстата 5140

Схема розположення підшибників качения зубодолбежного верстата 5140. Дивитись у збільшеному масштабі



Пульт керування зубодолбежного верстата напівавтомату 5140

Пульт керування зубодолбежного напівавтомату 5140

Пульт керування зубодолбежного верстата 5140


Циклограмма роботи зубодолбежного верстата 5140

Циклограмма роботи зубодолбежного верстата напівавтомату 5140

Циклограмма роботи зубодолбежного верстата 5140

Циклограмма роботи зубодолбежного верстата 5140. Дивитись у збільшеному масштабі






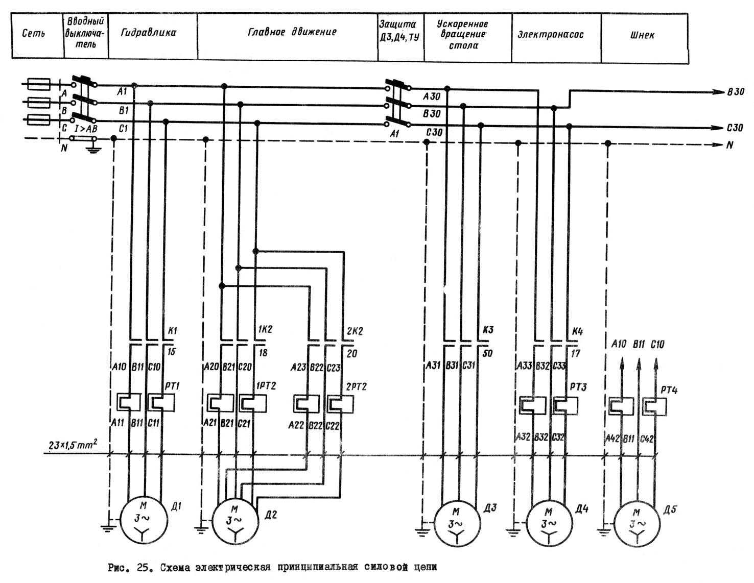
Схема електрична принципова зубодолбежного верстата 5140

Схема електрична зубодолбежного верстата 5140

Електрична схема зубодолбежного верстата 5140

Схема електрична зубодолбежного верстата 5140. Дивитись у збільшеному масштабі



Опис електросхеми зубодолбежного верстата 5140

Система живлення

Питание електродвигателей осуществляется от сети трехфазного переменного тока напряжением 380 В (рис. 25).

Питание ланцюгів керування (рис. 26,27) осуществляется напряжением 110 В переменного тока от вторичной обмотки трансформатора ланцюги керування ТУ.

От етого же трансформатора питается лампа местного освещения напряжением 24 В переменного тока.

Электропривід зубодолбежного верстата 5140

Привід механізмов верстата осуществляется от асинхронных електродвигателей трехфазного переменного тока з короткозамкнутыми роторами.

На станке установлены:


Захист і заземление зубодолбежного верстата 5140

Для защиты електродвигателей от перегрузки служат тепловые реле PTI-PT4.

Захист сети от токов короткого замыкания осуществляется автоматическим выключателями АВ, AI і плавкими предохранителями Пр1-Пр3.

Верстат заземляется согласно существующим правилам і нормам.

Режим роботи зубодолбежного верстата 5140

Предусмотрена возможность роботи верстата в следующих режимах:

  1. напівавтоматический без загрузки
  2. наладочный, необходимый при опробовании і отладке режима

Переход з одного режима на другой производится установкой переключателя П12 в соответствующее положение.

Схема верстата позволяет осуществлять обработку круглых колес за любое заданное количество проходов. Если по циклу обробки при нескольких проходах нужна только черновая обработка, то переключатель П8 на пульті керування устанавливают в позицию "Черновая скорость", если же нужна обработка і черновая і чистовая, то переключатель ставится в положение "Чистовая скорость", а електродвигатель Д2 будет переключаться со скорости 940 на 1420 об/мин по циклу. При однопроходной обработке колес переключатель П8 ставится в положение "Черновая скорость".

В схеме верстата предусмотрен переключатель П13, которым пользуются при обработке колес з внутренним і внешним зацеплением.

Обработка колес з внутренним зацеплением отличается от обробки колес з внешним зацеплением тем, что дополнительно вводится робота пристроя подъема штосселя в верхнее положение, то есть стол не должен отойти назад, если штоссель находится внизу.

Схемой предусмотрено два електромагнита: 1Э1 -подвод стола; 2Э1 - отвод стола.

При отключении обоих електромагнитов стол неподвижен.




Работа схеми електрической зубодолбежного верстата 5140

Подача і снятие напряжения на станке производится автоматическим выключателем АВ з одновременной сигнализацией увімкнення сети.

Увімкнення електродвигуна гідроприводу Д1 производится нажатием кнопки КУ2 "Гідравлика", при етом включается катушка магнитного пускателя KI.

Магнитный пускатель KI, включаясь, замыкает н.о. контакт і шунтирует кнопку КУ2, головними контактами в силовой ланцюги включает електродвигатель гідроприводу Д1.

Работа верстата возможна только при включенном електродвигателе гідропривода.

При долблении колеса з внутренним зацеплением до того, как включится цикл, штосеель автоматически поднимается в верхнее положение.

Полуавтоматический цикл обробки колес з внутренним зацеплением

  1. Переключатель KI2 на пульті керування ставится в положение "Полуавтомат"
  2. Переключатель П13 ставится в положение "Внутреннее зацепление"
  3. Переключатель П8 ставится в положение "Чистовая". При етом магнитные пускатели 1К2 і 2К2 включатся по циклу і переключат електродвигатель Д2 со скорости 940 на 1420 об/мин.
  4. Переключателями П1-П6 устанавливается нужная величина подачі
  5. Переключатель керування движением стола П10 имеет три положения:

Указанный переключатель позволяет подвести стол в рабочее положение, після чего можно начать автоматический цикл, переключатель при етом должен находиться в положении "Подвод".

При етом, після окончания обробки, стол не отходит в исходное положение. Если не требуется, чтобы напівавтоматический цикл начинался з подвода стола і заканчивался возвращением стола в исходное положение, переключатель керування столом П10 должен находиться в положении "Отвод".

Нажатием кнопки КУ2 включается магнитный пускатель гідравлики KI, который, встав на самопитание, включает в работу всю схему.

Начинает работать пристрій подъема штосееля в верхнее положение (PI, P2, ЭПШ, ЭТ, BKI, BK2, ВКЗ). Рейка, приводимая в рух от гідроприводу електромагнитом ЭПШ, находится в заднем положении. При етом в. о. контакт выключателя BKI замкнут, реле PI включено, его н.о. контакт в ланцюги електромагнита ЭПШ замыкается: електромагнит включится і переключит гідропривід на ход рейки вперед (подъем штосселя). Дойдя до крайнего положения, рейка нажмет на выключатель ВК3, післядний разомкнет свой н.е. контакт в ланцюги реле PI. Реле PI отключает електромагнит ЭПШ і включает електромагнит тормоза.

При ходе рейки в заднее крайнее положение нажимается конечник выключателя BKI і включается реле PI: цикл подъема повторяется.

Возвратно-поступательное рух рейки совершается до тех пор, пока при положении штосселя в верхнем положении не замкнется н.о. контакт выключателя ВК2 в ланцюги реле Р2. При етом реле Р2 включает своим н.о. контактом електромагнит ЭПШ и, несмотря на то, что реле PI обесточено і н.о. контакт PI разомкнут, електромагнит ЭПШ остается включенным, а рейка остается в подведенном положении до тех пор, пока не включатся реле РП6 і РЦ і своими н. з, контактами не разорвут ланцюг живлення електромагнита ЭПШ. Рейка при етом отводится в заднее положение.

Для увімкнення цикла необходимо, чтобы конечник радиального врізання ПВ1 был нажат, счетчик находился в исходном положении, при котором конечный выключатель ПВ4 не нажат; переключатель П11 ставится в положение "Зажим вкл.", штоссель находится в верхнем положении, то есть включено реле Р2, і его н.о. контакт в ланцюги цикла замкнут.

Нажатием кнопки КУ6 "Цикл" включается реле РЦ.

Реле РЦ, включаясь, закрывает свои н.о. контакты і подготавливает к включению електродвигатели Д2 і Д4, а также включает реле РП7. Последнее закрывает свой н.о. контакт і включает електромагнит 1Э1, закрывает свои н.о. контакты і подготавливает ланцюги керування к включению.

Как только включится електромагнит 1Э1, стол з заготовкой перемещается вперед до тех пор, пока не упрется в жесткий упор. При етом срабатывает реле давления РД і включает реле РП6.

Реле РП6, включаясь, закрывает свои н.о. контакты і подготавливает к включению магнитные пускатели 1К2, К4 і електромагнит Э2, размыкает н.з. контакт і отключает електромагнит ЭПШ: рейка подъема штосееля отводится в исходное положение.

При возврате рейки в исходное положение замыкается н.о. контакт BKI і включается реле PI, которое замыкает свои Н.О. контакты і включает магнитные пускатели 1К2, К4 і електромагнит Э2 радиального врізання.

Начинается радиальное врезание, которое будет продолжаться до тех пор, пока упор не нажмет на конечный выключатель ПВ2.

Конечный выключатель ПВ2 своим н.о. контактом отключит РП8, при отключении которого закрывается его н.о. контакт в ланцюги електромагнитов Э7-Э9 і через закрытые контакты РПЗ включит післяднее: начинается круговая подача з заданной черновой скоростью. Кроме того, реле РП8 при своем отключении разомкнет свой н.о. контакт і отключит електромагнит Э2; разомкнет свой н.о. контакт і отключит електромагнит Э5. Счетчик включается. При обкате нажимается конечный выключатель ПВ4 і включит реле РП5, которое встанет на самопитание на время нажатия конечного выключателя ПВ2.

После полного оборота заготовки освободится от нажатия конечный выключатель ПВ4 і своим н.о. контактом через ранее включенный н.о. контакт РП5 включит реле РП8. Последнее останется включенным в дальнейшем за счет н.о. контакта ПБ2. Путевой выключатель ПВ2 отпускается во время радиального врізання.

При включении реле РП8 закрывает свой н.о. контакт і включает електромагнит Э2; закрывает свой н.о. контакт і включает електромагнит Э5, при етом счетчик отключается; открывает свой н.о. контакт і отключает електромагниты Э7-Э9.

Начинается опять радиальное врезание, которое будет продолжаться до тех пор, пока не нажмется конечный выключатель ПВ2, післядний разрывает ланцюг живлення реле РП8.

Дальше цикл повторяется (см; опис з момента отключения РП8) столько раз, сколько проходов задали. Число проходов задается числом упоров на барабане радиального врізання, воздействующих на конечный выключатель ПВ2.

При післяднем проходе начинается післяднее радиальное врезание, и, після нажима кулачка барабана врізання на конечный выключатель кінця врізання ПВЗ, включается реле РПЗ. ПВЗ нажимается несколько раньше, чем ПВ2.

Путевые выключатели ПВ2 і ПВЗ остаются нажатыми на все время поворота барабана керування в направлении радиальной подачі.

Реле РПЗ, включаясь, открывает свой н.о. контакт і отключает катушку магнитного пускателя IK2 через н.о. контакт РН; закрывает свой н.о. контакт, шунтируя н.о. контакты реле РП8 і РП9 в ланцюги подачі і включает електромагниты Э7-Э9 по установленной чистовой подаче; закрывает свой н.о. контакт і подготавливает к включению реле РП9; закрывает свой н.о. контакт і включает РН, которое закрывает свой н.о. контакт і включает катушку магнитного пускателя 2К2, електродвигатель Д2 переключается на 1420 об/мин.

После полного оборота заготовки опять освободится от нажатия конечный выключатель ПВ4. н.о. контакт ПВ4, через ранее закрытые н.о. контакты РПЗ і РП5, включит реле РП9.

Реле РП9, включаясь, открывает свой н.о. контакт в ланцюги катушек магнитных пускачів 1К2, 2К2, К4 і отключает електродвигатели Д2, Д4 і Д5; закрывает свой н.о. контакт і включает електромагнит Э3; закрывает н, о. контакт і включает електромагнит Э5. Счетчик при етом отключается.

Начинается реверс радиального врізання, который будет продолжаться до тех пор, пока не нажмется конечный выключатель ПВ1.

ПВ1 отключает реле РЦ, а следовательно, і реле РП9. Реле РП9, отключаясь, не отключает електромагнит Э5, т. к. реле РП8 остается включенным. При етом счетчик остается отключенным, а електромагнит Э2 не включится, т. к. н.о. контакт реле РЦ в етой ланцюги будет открыт.

Реле РЦ, отключаясь, закрывает н.о. контакт в ланцюги електромагнита ЭПШ, начинается подъем штос-селя в верхнее положение; открывает свой н.о. контакт і отключает реле РП7. Реле РП7, отключаясь, открывает свой н.о. контакт і отключает електромагнит подвода стола 1Э1; закрывает свой н. з, контакт в ланцюги електромагнита відведення стола 2Э1; після подъема штосселя в верхнее положение включается реле Р2, которое закрывает свой н.о. контакт в ланцюги відведення стола. Стол отходит в исходное положение. На етом цикл заканчивается.

Полуавтоматический цикл обробки колес з внешним зацеплением

Переключатель П12 на пульті керування ставится в положение "Полуавтомат".

Переключатель П13 устанавливается в положение "Внешнее зацепление", при котором шунтируется н.о. контакт конечного выключателя ВЕ2 і разрывается ланцюг живлення електромагнита ЭПШ.

Цикл происходит в такой же післядовательности, как описано выше, за исключением того, что здесь не работает механізм вывода штосселя в верхнее положение.

Наладочный цикл

Нажатием кнопки КУ2 включается електродвигатель гідроприводу Д1.

Переключатель П12 на пульті керування ставится в положение "Наладка".

Пуск і зупинка електродвигуна головного приводу осуществляется кнопками керування КУЗ і КУ4, при етом переключатель П8 должен находиться на позиции "Чистовая скорость" или "Черновая скорость".

Ускоренный проворот стола осуществляется кнопкой КУ5 при условии, что ПВ6 не нажат, і П7 стоит в положении "Отключено".

Переключателем П9 осуществляется увімкнення електромагнита Э2 при условии, что стол подведен і счетчик отключен.

Этим же переключателем на положении "Реверс радиального врізання" включается електромагнит ЭЗ, который будет включенным до тех пор, пока не нажмется конечный выключатель ПВ1 і не разорвет ланцюг живлення електромагнита ЭЗ.

Переключателем ПИ осуществляется увімкнення і відключення електромагнита Э16, при етом происходит зажим і отжим детали.

Переключателем П10 осуществляется подвод і отвод стола.

Все указанные операции могут выполняться на станке в любой післядовательности независимо друг от друга, за исключением увімкнення гідропривода, который должен быть включен прежде, чем приступить к выполнению любой из указанных операций, і увімкнення електромагнита 32.

Блокировки в зубодолбежном станке 5140

Работа верстата возможна при включенном електродвигателе гідравлики Д1.

Ускоренное вращение стола возможно при среднем положении рукоятки трензеля (то есть конечный выключатель ПВ6 не нажат), счетчик должен быть отключен.

Ускоренное вращение стола возможно только при отключенном електродвигателе головного приводу Д2.

Работа верстата при обработке колес з внутренним зацеплением возможна при условии, что стол находится в исходном положении; штоссель находится в верхнем положении, когда включено реле Р2, то есть конечный выключатель ВК2 нажат.

Увімкнення цикла возможно только в том случае, когда деталь зажата, то есть переключатель П11 стоит в положении "Зажим вкл.".

Увімкнення електродвигуна головного приводу возможно только при подведенном столе, то есть при включенном реле РП6 і при отключенном електродвигателе ДЗ.

Подвод і отвод стола при обработке колес з внутренним зацеплением возможен только в том случае, когда штоссель находится в верхнем положении.

В напівавтоматическом режиме робота наладочными кнопками і переключателями невозможна.





Схема радиальной подачі зубодолбежного верстата 5140

5140 Схема радиальной подачі зубодолбежного верстата

Схема радиальной подачі зубодолбежного верстата 5140


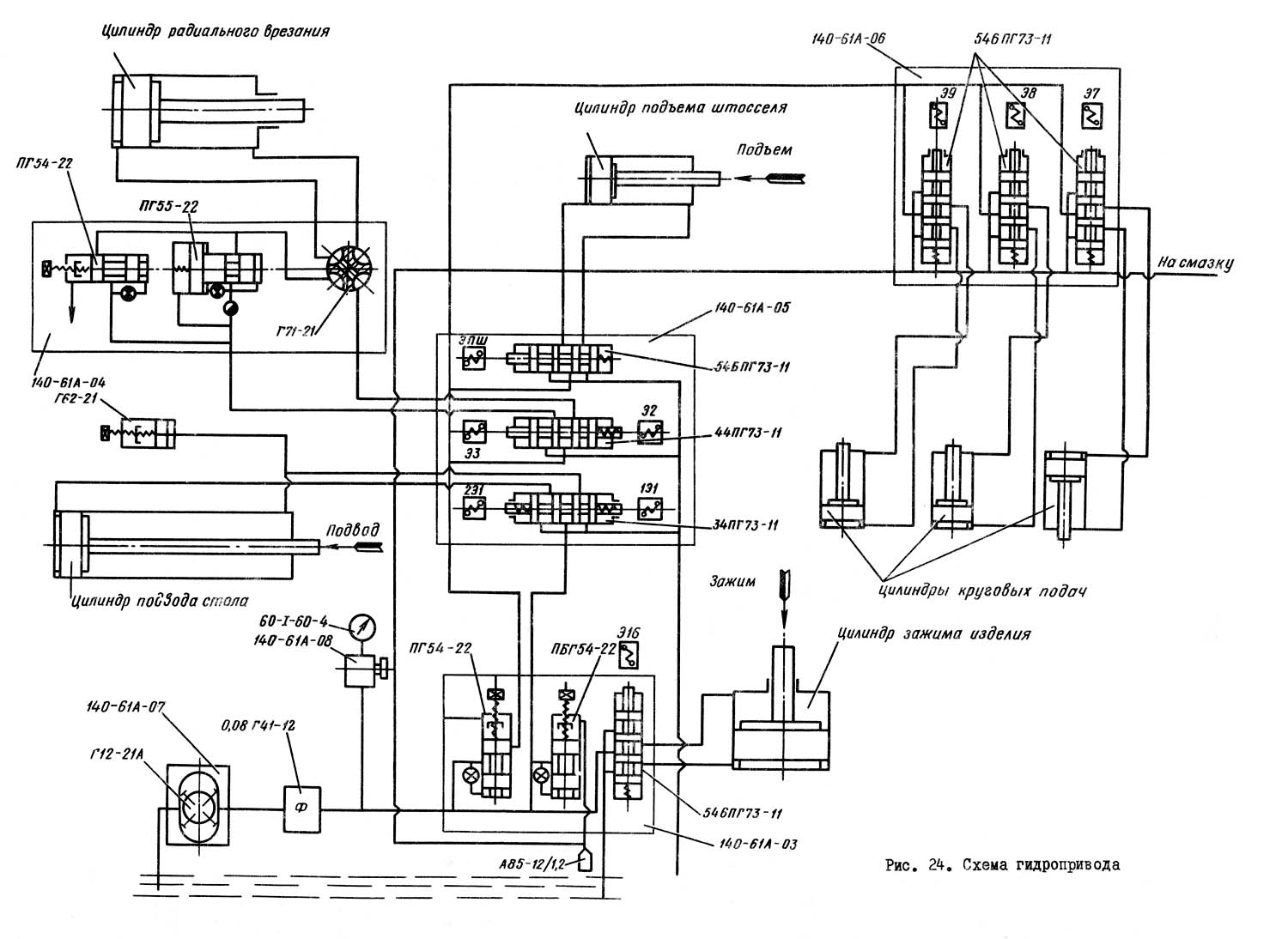
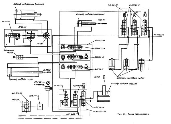
Гідравлічна схема зубодолбежного верстата 5140

5140 Гідравлічна схема зубодолбежного верстата

Гідравлічна схема зубодолбежного верстата 5140

Схема гідравлічна зубодолбежного верстата 5140. Дивитись у збільшеному масштабі



Опис роботи гідравлической схеми зубодолбежного верстата 5140

Гідропривід верстата осуществляет зажим заготовки, подъем штосселя, подвод стола, радиальное врезание і переключение коробки круговой подачі.

От кнопки на пульті керування включается електродвигатель гідропривода. При выключенном електромагните Э16 золотника 54БПГ73-11 происходит зажим заготовки.

После осуществления зажиму заготовки давление в системе повышается до давления налаштування напорного золотника ПГ54—22, клапан открывает проход маслу в общую магистраль. После зажиму заготовки при включении електромагнита ЭПШ золотника 54БПГ73-11 происходит подъем штосселя за счет прохода масла в штоковую полость цилиндра подъема штосселя. Подъем штосселя необходим при внутреннем зацеплении зуба.

Подвод стола осуществляется при включении електромагнита 1Э1 золотника 34ПГ73-11. Масло по трубе попадает в штоковую полость цилиндра подвода стола. По окончании подвода стола дается команда на радиальное врезание, которое осуществляется взаємодіям аппаратов ПГ54-22, ПГ55-22, Г71-21 і 44ПГ73-11.

Кран керування Г71-21 установлен для изменения направления радиального врізання при обработке зуба наружного или внутреннего зацепления.

С помощью дросселя з регулятором Г55-31В, который при левом направлении радиального врізання стоит на выходе, обеспечивается регулювання скорости врізання.

После окончания радиального врізання происходит переключение коробки круговой подачі. Реверс цилиндров переключения шестерен коробки круговой подачі осуществляется з помощью реверсивных золотників 54БПГ73-П (електромагниты Э7, Э8, Э9).

Давление в системе обеспечивается налаштуванням напорного золотника ПБГ54—22 на 25 кгс/см2.




5140 Верстат зубодолбежный вертикальний напівавтомат. Відеоролик.




Технічні характеристики зубодолбежного верстата напівавтомату 5140

Наименование параметра 5140 5А140П
Основні параметри верстата
Наибольший модуль нарезаемого колеса, мм 8 8
Наибольший диаметр нарезаемых цилиндрических прямозубых колес 500 500
Наибольшая ширина нарезаемого венца (длина нарезки), мм 100 100
Наибольший диаметр нарезаемых цилиндрических прямозубых колес внутреннего зацепления, мм
Наибольшая ширина нарезаемого венца (длина нарезки) внутреннего зацепления, мм
Наибольший угол спирального зуба, град 35
Наибольшее расстояние от оси долбяка (шпинделя, штосселя) до оси стола (планшайби), мм 0..355 0..355
Расстояние от зеркала стола (планшайби) до торца шпинделя, мм 75..225 120..270
Расстояние от пола до поверхности планшайби, мм 855 920
Суппорт. Шпиндель (штоссель) долбяка
Наибольшее перемещение шпинделя, мм 150 150
Наибольший ход долбяка (шпинделя), мм 125 125
Наибольший отвод инструмента от от вироби во время холостого ходу, мм - 0,5
Цена деления шкалы установки глубины долбления зуба, мм
Наибольший диаметр устанавливаемого долбяка, мм 100
Пределы чисел двойных ходов долбяка в минуту 65..450 55..560
(18 ступеней)
Круговая подача инструмента, мм/дв.ход 0,025..0,1 6..590 Радиальная подача инструмента, мм/дв.ход 0,003..0,525 Число радиальных подач инструмента 21 Диаметр оправки под долбяк, мм 31,743; 44,443 Кінець шпинделя для крепления инструмента Морзе 5 Морзе 5 Рабочий стол (планшайба) Диаметр фланца робочого стола (планшайби), мм 500 560 Диаметр отверстия в шпинделе робочого стола, мм 110A 110 Наибольший ход робочого стола, мм 355 355 Наибольший отход стола от режущей кромки инструмента во время холостого ходу, мм 0,45 - Быстрое перемещение стола, м/мин 1,5 Быстрое вращение стола, об/мин 2,5 4,5 Цена деления лимба установки межцентрового расстояния, мм 0,01 0,01 Автоматический подвод есть есть Автоматический останов есть есть Привід і електрообладнання верстата Количество електродвигателей на станке 4 5 Електродвигун головного привода, кВт (об/мин) 1,1 4; 4,5; 7,5 (750; 1000; 1500) Електродвигун приводу швидкого обертання стола, кВт (об/мин) 0,18 0,75 Електродвигун насоса гідропривода, кВт (об/мин) 0,27 2,2 (1000) Електродвигун приводу круговой подачі, кВт (об/мин) - 2,5 (1600) Електродвигун насоса охлаждения, кВт (об/мин) 0,12 0,75 (3000) Суммарная мощность електродвигателей, кВт Габаритные розміри і масса верстата Габаритные розміри верстата (длина х ширина х высота), мм 17250 х 1250 х 2350 1963 х 1660 х 2510 Масса верстата з електрообладнанням і охолодженням, кг 4200 6500

    Список литературы

  1. Зубодолбежный вертикальний верстат для цилиндрических колес 5140. Руководство по експлуатации 5М150.00.000 РЭ, 1966

  2. Аврутин Р.Д. Справочник по гідроприводам металлорежущих верстатів,1965
  3. Гинсбург Е.Г. Производство зубчатых колес, 1978
  4. Калашников А.С. Технология изготовления зубчатых колес, 2004
  5. Копылов Р.Б. Работа на строгальных і долбежных верстатах, 1975
  6. Мильштейн М.З. Нарезание зубчатых колес, 1972.
  7. Овумян Г.Г., Адам А.И. Справочник зубореза, 1983.
  8. Петруха П.Г. Резание конструкционных материалов, режущие инструменты і верстати, 1974
  9. Сильвестров Б.Н., Захаров И.Д. Конструкція і наладка зуборезных і резьбофрезерных верстатів, 1979.
  10. Шавлюга Н.И. Расчет і примеры наладок зубофрезерных і зубодолбежных верстатів, 1978.
  11. Яковцев А.Д. Работа на строгальных і долбёжных верстатах, 1966









Заказать

Кто владеет информацией - тот владеет миром.

Натан Ротшильд