metalinstryment.com
Довідник по металорізальних верстатів та пресовому обладнанні

5Е580 Верстат зубозакругляющий напівавтомат
схеми, опис, характеристики

5Е580 Верстат зубозакругляющий напівавтомат







Відомості про виробника зубозакругляющего верстата 5Е580

Производитель зубозакругляющего верстата 5Е580 Корсунь-Шевченковский станкостроительный завод им. Богдана Хмельницкого г. Корсунь-Шевченковский, Черкаская область.

Зубозакругляющий напівавтомат 5Е580 разработан Витебским специальным конструкторским бюро зубообрабатывающих, шлифовальных і заточных верстатів Витебское СКБ ЗШ і ЗС в 1984 году.

Зубозакругляющий верстат ВС-80 (ВСН-580, GBCH-580) - точный аналог верстата 5Е580 производится также на Витебском станкостроительном заводе Вистан.





Продукция Корсунь-Шевченковского станкостроительного завода


5Е580 Верстат зубозакругляющий напівавтомат. Назначение і область применения

Верстат производился з 1984 года, заменил в производстве 5Н580

Зубозакругляющий верстат 5Е580 предназначен для закругления торцов зубьев прямозубых і косозубых цилиндрических зубчатых колес наружного зацепления пальцевой фрезой, а также деталей типа вала-шестерни.

Предназначен для закругления торцов зубьев прямозубых і косозубых цилиндрических зубчатых колес типа «диск» зовнішнього і внутреннего зацепления.

Область применения верстата 5Е580 — автомобильные, тракторные, станкостроительные і другие заводы машиностроения.

Особливості конструкції і принцип роботи верстата

Обработка зубьев колеса па станке 5Е580 производится пальцевой фрезой но методу непрерывного деления за один, два, три і четыре прохода, в зависимости от модуля обрабатываемого колеса при помощи особого механізма.

На станке 5Е580 предусмотрена возможность получения разнообразных форм закругления зуба.

Обработка, производится при непрерывном вращении заготовки і синхронном з ней в зависимости от числа зубьев возвратно-поступательном перемещении инструмента.

Обработка зуба производится за один или несколько оборотів вироби.

Полуавтомат може работать в наладочном і напівавтоматическом режимах. Все переключения во время роботи в пределах одного цикла осуществляются автоматически.

По требованию заказчика напівавтомат може изготовляться з загрузочным пристрійм, рассчитанным на конкретную деталь, превращающим его в спеціальний автомат, работающий автономно или встраиваемый в автоматическую линию.

Смазка верстата централизованная.

Электро- і гідроаппаратура вынесена за пределы верстата.

Обрабатываемое колесо зажимается при помощи гідроцилиндра.

Верстат встраивается в автоматическую линию для обробки зубчатых колес наружного зацепления.

Отвод стружки из рабочей зоны осуществляется струей охлаждающей жидкости. Жидкость очищается магнитным сепаратором.

Органы керування верстатом расположены на передньої плоскости.

Шероховатость обработанной поверхности зуба не ниже Rz 20 мкм.

Класс точності верстата Н по ГОСТ 8—82.

Разработчик — Витебское специальное конструкторское бюро зубообрабатывающих, шлифовальных і заточных верстатів, 1984 год.


Обработка торцов зубьев

Обработку торцов зубьев зубчатых колес осуществляют для придания торцу специальной формы, облегчающей вход в зацепление переключаемых колес, а также для притупления острых кромок і удаления заусенцев, образующихся при нарезании зубьев цилиндрических і конических зубчатых колес.

На торцах зубьев можно получить форму в соответствии з требованиями експлуатации колес, технологическими возможностями оборудования, а также з параметрами зубчатого колеса.

Наибольшее распространение имеет радиусная форма торца зуба (рис. 7.1, а), получаемая при обработке пальцевыми фрезами, а также остроугольная (рис. 7.1,6), получаемая при обработке зубьев торцовыми фрезами.

Фаски у прямозубых цилиндрических колес снимают по всему контуру зубьев или по обоим профилям (рис. 7,1, в), а у косозубых колес в большинстве случаев фаски снимают з одной стороны профиля зубьев, имеющего острую кромку (рис. 7.1, г).


Формы торцовых повенхностей зубьев

Формы торцовых повенхностей зубьев


Модели ВС-80, ВСН-580, GBCH-580 для зубозакругления на торцах зубьев прямозубых цилиндрических зубчатых колес наружного і внутреннего зацепления, снятия фасок

Разработчик — Витебское специальное конструкторское бюро зубообрабатывающих, шлифовальных і заточных верстатів
Витебское СКБ ЗШ і ЗС г. Витебск, ул. Буденного, 2.

Это післядние моделі зубозакругляющих верстатів, которые производились на Витебском станкостроительном заводе им. Коминтерна,
а в настоящее время производятся на Витебском станкостроительном заводе Вистан.

Вид обробки торцев зубьев на напівавтоматух ВС-80, ВСН-580 достигается путем установки кулака, предназначенного для конкретного вида скругления или фаски.

Обработка производится специальными пальцевыми фрезами в режиме непрерывного обертання заготовки.

Получение необходимого числа зубьев осуществляется за счет налаштування гітари деления сменными шестернями.

Налаштування частоти обертання шпинделя фрезы - переключателем з пульта керування за счет применения 3-х скоростного електродвигуна.

Инструмент (фреза) совершает два руху:

  1. вращение вокруг оси (рух різання)
  2. возвратно-поступательное вертикальное перемещение, которое, складываясь з вращательным движением заготовки, обеспечивает закругление зуба.

Возвратно-поступательное рух инструмента обеспечивается специальным кулаком.

В стандартном виконанні напівавтоматы комплектуются кулаками для зубозакругления прямозубых колес. Этим же кулаком можно добиться і снятия фасок на торцах зубьев косозубых колес, путем специальной налаштування зоны обробки.

Для подвода стойки предусмотрен гідроцилиндр.

По требованию заказчика напівавтоматы могут быть укомплектованы кулаками для зубозаострения і для снятия фасок на косозубых колесах, рассчитанными под конкретные детали.

В напівавтоматі ВСН-580 в ланцюги обертання инструменты используется трехскоростной, асинхронный електропривод. Керування циклом роботи напівавтомату осуществляется релейной схемой.

В напівавтоматі GBCH-580 применяется высокоскоростной електрошпиндель з частотним регулюванням, а керування циклом роботи осуществляется программируемым контролером S7-300 з панелью керування «SIEMENS».

Оба напівавтомату выполнены з вертикальной компоновкой оси вироби.

По требованию заказчика напівавтоматы могут быть укомплектованы кронштейном з контр-опорой для обробки деталей типа «Вал-шестерня».

По отдельному заказу може быть рассчитан і изготовлен спеціальний кулачок для получения формы зуба типа "домик" (заострение).





Габарит робочого простору зубозакругляющего верстата 5Е580

5Е580 Габарит робочого простору зубозакругляющего верстата

Габарит робочого простору зубозакругляющего верстата 5Е580

Габарит робочого простору зубозакругляющего верстата 5Е580. Дивитись у збільшеному масштабі



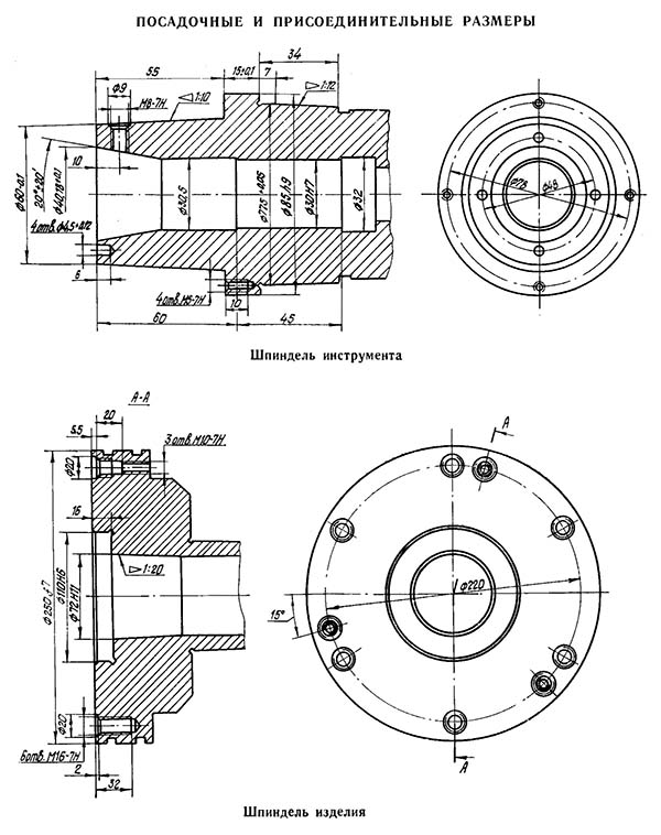
Посадочные і присоединительные базы зубозакругляющего верстата 5Е580

Посадочные і присоединительные базы зубозакругляющего верстата 5Е580

Посадочные і присоединительные базы зубозакругляющего верстата 5Е580

Посадочные і присоединительные базы зубозакругляющего верстата 5Е580. Дивитись у збільшеному масштабі



Загальний вигляд і общее пристрій верстата 5Е580

Фото зубозакругляющего верстата 5Е580

Фото зубозакругляющего верстата 5Е580



Фото зубозакругляющего верстата ВСН-580

Фото зубозакругляющего верстата ВСН-580



Фото зубозакругляющего верстата ВСН-580

Фото зубозакругляющего верстата ВСН-580



Фото зубозакругляющего верстата ВСН-580

Фото зубозакругляющего верстата ВСН-580



Розташування складових частин зубозакругляющего верстата 5Е580

Розташування складових частин зубозакругляющего верстата 5Е580

Розташування складових частин зубозакругляющего верстата 5Е580

Розташування складових частин зубозакругляющего верстата 5Е580. Дивитись у збільшеному масштабі



  1. Станина
  2. Электрошкаф
  3. Квадрат установки делительного колеса в исходное положение
  4. Пульт керування
  5. Стойка
  6. Стол для установки вироби
  7. Инструментальный шпиндель
  8. Каретка
  9. Налаштування величины вертикального врізання суппорта
  10. Маховик вертикального переміщення суппорта
  11. Гайка увімкнення муфты при автоматичною вертикальной подаче суппорта
  12. Суппорт
  13. Шкала установки суппорта на угол
  14. Квадрат переміщення стойки
  15. Ограждение зоны різання



Схема кінематична зубозакругляющего верстата 5Е580 і его налаштування

Схема кінематична зубозакругляющего верстата 5Е580

Кінематична схема зубозакругляющего верстата 5Е580

Схема кінематична зубозакругляющего верстата 5Е580. Дивитись у збільшеному масштабі



Кінематична схема зубозакругляющего верстата 5Е580 (рис. 7.3) состоит из кінематичної ланцюги обертання инструмента (главное движение), а также из ланцюгів деления і часу цикла.

В табл. 7.5 приведены формулы налаштування етих ланцюгів.



Формулы налаштування основних кинематических ланцюгів зубозакругляющего верстата 5Е580

Формулы налаштування основних кинематических ланцюгів верстата 5Е580



Настановне креслення зубозакругляющего верстата 5Е580

Настановне креслення зубозакругляющего верстата 5Е580

Настановне креслення зубозакругляющего верстата 5Е580

Настановне креслення зубозакругляющего верстата 5Е580. Дивитись у збільшеному масштабі








Технічні характеристики зубозакругляющего верстата 5Е580

Технічні характеристики зубозакругляющего верстата 5Е580

Технічні характеристики зубозакругляющего верстата 5Е580

Технічні характеристики зубозакругляющего верстата 5Е580. Дивитись у збільшеному масштабі

Наименование параметра 5М580 5Н580 5Е580 ВС-80
Основні параметри верстата
Диаметр обрабатываемых цилиндрических прямозубых колес, мм 20..320 50..320 50..320 50..320
Модуль устанавливаемого колеса, мм 1..6 1,5..6 1..6 1,5..6
Число обрабатываемых зубьев 10..100 17..100 10..120 10..120
Расстояние от оси заготовки до торца шпинделя фрезы, мм 90..240 30..190 50..190 50..190
Расстояние от оси шпинделя фрезы до торца шпинделя заготовки (высота колеса), мм 80..360 (280) 170..270 (100) 185..285 (100)
Инструмент Пальцевая коническая фреза Пальцевая коническая фреза Пальцевая коническая фреза Пальцевая коническая фреза
Закругление зубъев колес з внутренним зацеплением
Наибольший внутренний диаметр заготовки колес внутреннего зацепления, мм 180 180 180
Наибольший наружный диаметр зубчатого колеса внутреннего зацепления, мм 320
Наибольший модуль устанавливаемого колеса, мм 1..6 1,5..4 1,5..4
Число обрабатываемых зубьев 10..100 17..100
Стол
Диаметр стола, мм Ø 210 Ø 250
Установочное перемещение стола вправо, мм 30..250
Установочное перемещение стола влево, мм 37..250
Установочное поворота стола вправо, град 35°
Установочное поворота стола влево, град 35°
Расстояние инструмента от плоскости стола при 0°, мм 80..360
Расстояние инструмента от плоскости стола при 35°, мм 155..200
Наименьшее расстояние инструмента от плоскости стола при 0° для колес до Ø 50, мм 100
Инструментальная бабка, суппорт
Наибольшеий диаметр фрезы, мм Ø 18 Ø 13; 18
Наибольшее перемещение инструмента, мм 1,18..14,12
Перемещение инструментальной бабки продольное, мм 140 140 140
Перемещение инструментальной бабки вертикальное, мм 280 100 100
Поворот инструментальной бабки вверх, град 20°
Поворот инструментальной бабки вниз, град 30° 20° 30°
Автоматический подвод і отвод режущего инструмента есть
Механіка верстата
Скорость обертання режущего инструмента, об/мин 1400, 1760, 2200, 2800 1075, 1630, 3258 1075, 1630, 3258
Величина подач маховиком, мм 0..3,86
Величина подач винтом, мм 0..1,93
Величина подач винтом, мм 0..1,21
Привід і електрообладнання верстата
Електродвигун приводу инструмента, кВт (об/мин) 1,7 (1420) 1,4/ 1,5/ 2,1 (1000, 1500, 3000) 1,4/ 1,5/ 2,1 (1000, 1500, 3000)
Електродвигун гідропривода, кВт (об/мин) 1 (930) 1,5 (1500)
Електродвигун ланцюги деления, кВт (об/мин) 1,1 (700) 1,1 (750)
Електродвигун приводу охлаждения, кВт (об/мин) 0,125 (2800)
Суммарная мощность електродвигателей, кВт 4,82
Габаритные розміри і масса верстата
Габаритные розміри верстата (длина х ширина х высота), мм 1570 х 1273 х 1952 1675 х 1160 х 1870 1810 х 1120 х 2050
Масса верстата з електрообладнанням і охолодженням, кг 2900 2950 2950


    Список литературы:

  1. Колев Н.С. Металлорежущие верстати, 1980, стр.159.
  2. Гальперин Е.И. Наладка зуборезных верстатів, 1960.
  3. Козлов Д.Н. Зуборезные роботи, 1971.
  4. Лоскутов В.В., Ничков А.Г. Зубообрабатывающие верстати, 1978.
  5. Малахов Я.А. Зубообрабатывающие і резьбофрезерные верстати і их наладка, 1972.
  6. Мильштейн М.З. Нарезание зубчатых колес, 1972.
  7. Овумян Г.Г., Адам А.И. Справочник зубореза, 1983.
  8. Птицин Г.А., Кокичев В.Н. Зуборезные верстати, 1957.
  9. Сильвестров Б.Н., Захаров И.Д. Конструкція і наладка зуборезных і резьбофрезерных верстатів, 1979.
  10. Шавлюга Н.И. Расчет і примеры наладок зубофрезерных і зубодолбежных верстатів, 1978.
  11. Руководящий материал для конструкторов, проектирующих технологическую оснастку. Основні данные і посадочные места металлорежущих верстатів. НИИМАШ, 1968.









Заказать

Кто владеет информацией - тот владеет миром.

Натан Ротшильд