metalinstryment.com
Довідник по металорізальних верстатів та пресовому обладнанні

5В12 Верстат зубодолбежный вертикальний напівавтомат
схеми, опис, характеристики

5В12 Загальний вигляд  зубодолбежного верстата







Відомості про виробника вертикального зубофрезерного напівавтомату 5В12

Производитель вертикального зубодолбежного напівавтомату 5В12 Корсунь-Шевченковский станкостроительный завод им. Богдана Хмельницкого г. Корсунь-Шевченковский, Черкаская область.





Продукция Корсунь-Шевченковского станкостроительного завода


5В12 Верстат вертикальний зубодолбежный універсальний напівавтомат. Назначение і область применения

Верстат зубодолбежный 5В12 был заменен на более совершенную модель 5122.

Універсальный зубодолбежный верстат напівавтомат 5В12 предназначен для высокопроизводительного нарізання прямых і косых зубьев цилиндрических зубчатых колес з наружным і внутренним зацеплением. Ввиду малого перебега долбяка верстат приспособлен для нарізання блоков зубчатых колес. Нарезание зубьев осуществляется круговыми модульными долбяками методом обкатки инструмента і вироби.

Простота налагодження напівавтомату дает возможность использовать его в условиях единичного і серийного производства.

Особливості конструкції верстата 5В12

Верстат 5В12 является более совершенной моделью чем верстати 512 і 5А12.

Особенностью моделі 5В12 является отсутствие в кинематических цепях верстата конических зубчатых колес і вертикальних валов. Это обстоятельство позволяет производить переналадку верстата на обработку длинных зубчатых колес или колес-валиков путем установки прокладки между верхней і нижней станинами. К верстату придается гідравлическое пристрій для зажиму вироби.

В отличие от верстата 5А12 откат суппорта производится не грузом, а пружиной.

При установці в суппорте специальных винтовых направляючих, изготовляемых по техническому заданию заказчика, на напівавтоматі можно обрабатывать зубчасті колеса со спиральным зубом.

Верстат 5В12 автоматизирован в пределах одного робочого цикла. При переналагодженні можно вести обработку в один, два і три прохода.

Жесткая кінематична ланцюг, отсутствие вертикальних валов позволяют выпускать на его базе специальные верстати: для обробки деталей в центах, деталей з коническим (поднутренным) зубом, повышенным рабочим пространством, гідравлическим переміщенням суппорта. Полуавтомат може комплектоваться гідравлическим зажимным патроном і пристрійм для нарізання зубьев реек. При наличии специального инструмента возможна обработка фасонных профилей.

Удаление стружки из робочого простору производится в стружкосборник.

Верстат 5В12 работает по методу обкатки, где в процессе нарізання зубьев воспроизводятся руху пары цилиндрических зубчатых колес. Работу одного колеса выполняет зуборезный долбяк, а второго — заготовка.

Долбяк, установленный на кінці шпинделя, совершает возвратно-поступательное рух (вверх і вниз). При движении вниз долбяк совершает рабочий ход — осуществляет процесс різання, а при движении вверх совершает холостой ход. Для предохранения от порчи і притупления кромок на зубьях долбяка стол з заготовкой отводится от долбяка на небольшую величину во время обратного ходу, а к моменту начала робочого ходу стол устанавливается в исходное положение. Заготовка находится на оправке стола.

До начала обробки долбяк подводится вплотную к наружной поверхности заготовки. Затем включается радиальная подача шпиндельной головки для врізання долбяка в заготовку. По окончании радиальной подачі нарезание зубьев происходит на полный профиль за 1 оборот заготовки.

Верхня часть станины верстата имеет направляющие, по которым перемещается шпиндельна головка для радиальной подачі і для установочного руху. Внутри головки проходит вертикальний шпиндель з долбяком, который получает возвратно-поступательное рух в вертикальном направлении і вращательное движение. В нижней частини станины размещены електродвигатель і механізмы для приводу стола, електродвигатель і гідравлический привід для зажиму заготовки і електронасос охлаждения.


Основні технические данные зубофрезерного верстата 5в12:

Изготовитель - Корсунь-Шевченковский станкостроительный завод им. Богдана Хмельницкого.

Основні технические данные по ГОСТ 659-89 Верстати зубофрезерные вертикальные для цилиндрических колес. Основні параметри і розміри. Нормы точності.






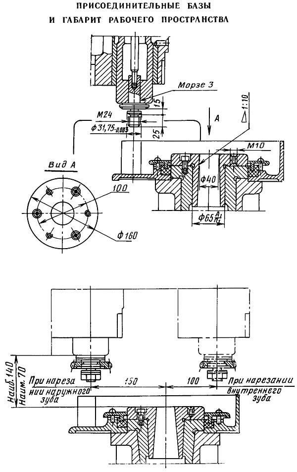
Габаритные розміри робочого простору зубодолбежного напівавтомату 5В12

5В12 Габаритные розміри робочого простору зубодолбежного напівавтомату

Габаритные розміри робочого простору верстата 5в12


Загальний вигляд і общее пристрій верстата 5В12

5В12 напівавтомат зубодолбежный. Загальний вигляд

Фото зубодолбежного верстата 5в12


5В12 напівавтомат зубодолбежный. Фото

Фото зубодолбежного верстата 5в12


5В12 напівавтомат зубодолбежный. Загальний вигляд

Фото зубодолбежного верстата 5в12


Розташування органів керування зубодолбежным напівавтоматом 5В12

5В12 Розташування органів керування зубодолбежным напівавтоматом

Розташування органів керування зубодолбежным напівавтоматом 5в12

Розташування органів керування зубодолбежным напівавтоматом 5В12. Дивитись у збільшеному масштабі



Специфікація складових частин і органів керування зубодолбежного напівавтомату 5В12

  1. нижняя станина;
  2. средняя станина;
  3. квадрат для обертання кривошипно-шатунного механізма вручную;
  4. квадрат изменения длины шатуна;
  5. винт регулировки зазору в зацеплении сектора з ползуном;
  6. квадрат для швидкого переміщення суппорта;
  7. квадрат для обертання кулака врізання от руки;
  8. рукоятка реверсирования;
  9. пуск і зупинка гідравлической системы;
  10. пуск і зупинка верстата;
  11. кнопка «Толчок»;
  12. увімкнення местного освещения;
  13. кран для охлаждающей жидкости;
  14. квадрат для обертання долбяка вручную;
  15. квадрат закрепления установленного положения суппорта;
  16. гайки крепления суппорта;
  17. верхняя станина;
  18. квадрат для обертання стола вручную;
  19. реверсирование золотника;
  20. квадрат валика для точной установки суппорта;
  21. винты крепления шатуна;
  22. фиксация ексцентриситета;
  23. квадрат для установки длины ходу ползуна (ексцентриситета).

Конструкція зубодолбежного напівавтомату 5В12

Верстат имеет вертикальную компоновку і крепится на нижней станине, представляющей собой жесткую тумбу, в которой смонтированы: електродвигатель головного руху АОЛ42-6 мощностью 1,7 кВт і числом оборотів в минуту 950, електродвигатель АОЛ31-4 мощностью 0.6 кВт і числом оборотів в минуту 1410, насос гідросистемы, пластинчатый фильтр, напорный золотник, Г54-13, реверсивный золотник з ручным керуванням Г74-12, клапан предохранительный (разгрузочный) А85-13 і реле давления Г62-21.

Кроме того в отдельной нише нижней станины, которая изолирована от попадания пыли, грязи, а также масла і охлаждающей жидкости смонтировано електрообладнання, а на. отдельной плите — електронасос охлаждения ПA-22, производительностью 22 л в минуту.

В нижней станине предусмотрены резервуары для масла і охлаждающей жидкости гідросистемы.

Средняя станина крепится к нижней станине болтами. В средней станине смонтированы: стол, механізмы реверсирования, качания і регулювання величины відведення стола при холостом ходе режущего инструмента.

Стол устанавливается на скалках; і нем смонтированы шпиндель, червячное колесо і червяк.

Верхня станина крепится к средней станине. В верхней станине смонтированы: главный вал кривошипно-шатунного механізма, механізмы радиальных і круговых подач, механізм реверсирования суппорта, механізм деления, механізм ручного поворота кулаков, механізм отката суппорта, конечный выключатель, кронштейн местного освещения і панель керування верстатом.

Суппорт смонтирован на направляючих верхней станины. В корпусе суппорта имеется штоссель, червячное колесо і червяк делительной пары суппорта, подвижная і нерухома направляющие штосселя, механізм переміщення і установки суппорта, коромысло з сектором і масляный насос.

Особенностью верстата является короткая кінематична ланцюг обкатки, достигнутая благодаря отсутствию вертикальних валов і конических колес. Отсутствие вертикальних валов позволяет легко переналадить верстат на обработку удлиненных шестерен-валиков, для чего устанавливают прокладки между верхней і нижней станинами.

Верстат позволяет нарезать удлиненные рейки. На станке може быть установлен гідрозажим вироби. Обслуговування верстата удобно і не требует много часу на переналадку. Применяются механізмы реверсирования і переключения кулаков.

Все ети особливості резко сокращают время, связанное з переналадкой верстата, а использование гідрозажиму значительно сокращает потери часу на зажим заготовки.


Нижня станина верстата

Главный електродвигатель крепится на регулируемой плите. Плита имеет винтовое пристрій для натяжения ремней. Для переброски ремней з одних ручьев шкива на другие применено ексцентриковое пристрій з фиксатором.

Средняя станина верстата

Механізм качания стола в средней станине имеет укороченную кинематическую ланцюг і весьма жесткую рычажную систему, что обеспечивает долговечность роботи етого механізма і четкость відведення стола при холостом ходе инструмента..

В отличие от других верстатів данного типоразмера в станке 5В12 пружина, отводящая стол, поставлена в конечном звене. Это обеспечивает выборку люфтов в соединениях звеньев механізма качания, устраняет ударную нагрузку і вибрации і тем самым способствует долговечности роботи верстата.

Стол имеет жесткое крепление червяка делительной пары. Все трущиеся поверхности стола, обильно смазываются маслом, которое поступает от насоса.

Верхня станина верстата

В кинематике верхней станины отсутствуют вертикальные валы і конические колеса, что позволяет без разборки вузлів переналадить верстат для спецработ: нарізання зубьев на удлиненных валиках, нарізання блоков шестерен, нарізання внутреннего зуба при большой длине заготовки і т. п.

Переналадка верстата осуществляется за счет применения прикладки между средней і верхней станинами і установки удлиненного толкателя механізма качания стола.

Верхня станина имеет механізм реверсирования суппорта. Направление обертання штосселя меняется путем переключения рукоятки.

Часть детален етого механізма унифицирована і взаимозаменяема з деталями механізма реверсирования стола.

На верхней станине монтируется реечное пристрій для отката суппорта, которое заменяет груз, установленный на верстатах данного типоразмера. Оно даст возможность избегать вибрации верстата при откате суппорта.

Суппорт

На корпусе суппорта установлен плунжерный насос, который получает руху от ексцентрика. Все механізмы суппорта смазываютгя от насоса.





Схема кінематична зубодолбежного напівавтомату 5В12

Схема кінематична зубодолбежного напівавтомату 5В12

Кінематична схема зубодолбежного верстата 5в12

Схема кінематична зубодолбежного верстата 5В12. Дивитись у збільшеному масштабі



Движения в станке:


Наладка зубодолбежного верстата напівавтомату 5В12

Наладка верстата производится в следующем порядке:

  1. Установка долбяка
  2. Выбор оправки і крепления заготовки
  3. Установка і проверка оправки
  4. Установка і проверка заготовки
  5. Установка числа "двойных" ходов долбяка
  6. Установка длины ходу долбяка
  7. Установка ходу долбяка относительно заготовки
  8. Установка долбяка на глубину врізання
  9. Налаштування гітари деления
  10. Налаштування гітари круговых подач
  11. Налаштування подачі на глубину врізання
  12. Пуск верстата
  13. Останов верстата і снятие обрабатываемого вироби

Кроме того, предусматриваются дополнительные случаи налагодження:

  1. Вторичная установка обрабатываемого вироби
  2. Нарезание зубчатых колос внутреннего зацепления
  3. Нарезание зубчатых колес з косым зубом

Схема кінематична зубодолбежного напівавтомату 5В12

Схема кінематична зубодолбежного напівавтомату 5В12

Кінематична схема зубодолбежного верстата 5в12

Схема кінематична зубодолбежного верстата 5В12. Дивитись у збільшеному масштабі



Кулачки подачі долбяка на врезание в зубодолбежном станке 5В12

5В12 Кулачки подачі долбяка на врезание в зубодолбежном станке

Кулачки подачі долбяка на врезание в зубодолбежном станке 5в12


Профили кулачков для радиальной подачі показаны на рис. 86.

Однопроходный кулачок (рис. 86, а) предназначается для обробки заготовки за один оборот. На участке ab профиль имеет подъем. При вращении кулачка на етом участке супорт шпиндельной головки перемещается вправо і происходит врезание. На участке bc, охваченном дугой 90°, профиль очерчен по окружности і шпиндельна головка остается нерухомою. За етот период стол з заготовкой совершает один полный оборот. От точки d цикл повторяется. Такой кулачок называется однопроходным.

Двухпроходный кулачок (рис. 86, б) предназначается для обробки заготовки за два оборота. Участки ab і cd — зоны врізання соответственно для первого і второго прохода.

Трехпроходный кулачок (рис. 86, в) предназначается для обробки заготовки за три оборота. Когда ролик рейки P1 попадает в выемку кулачка, то супорт под действием пружины і рейки Р2 перекатывается в исходное положение і верстат выключается. Участки ab, cd і ef — зоны врізання соответственно первого, второго і третьего прохода.


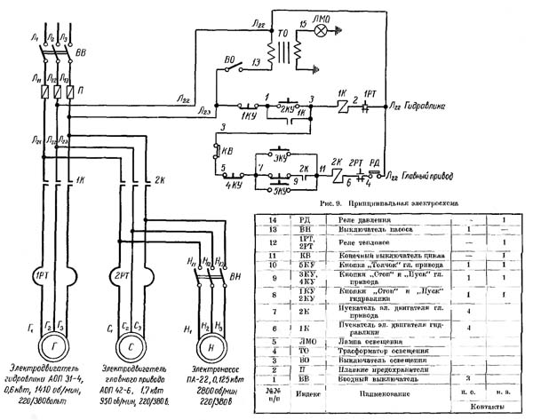
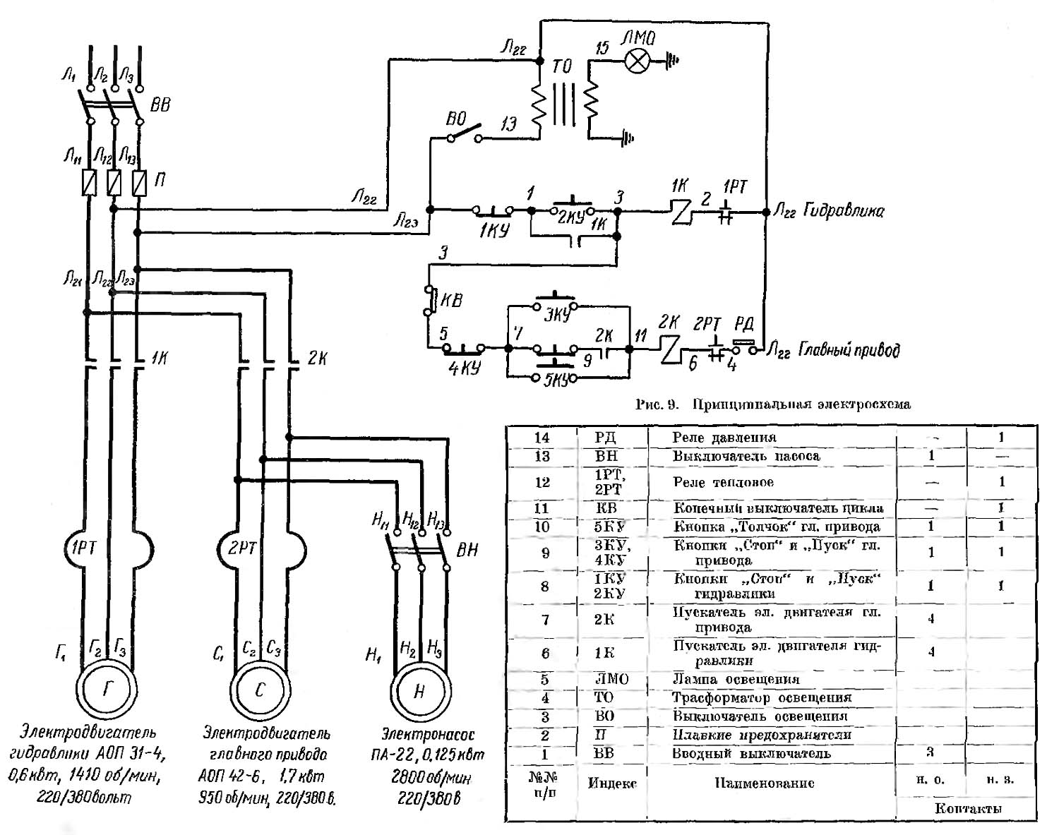
Схема електрична принципова зубодолбежного верстата 5В12

Схема електрична зубодолбежного верстата 5В12

Електрична схема зубодолбежного верстата 5в12

Схема електрична зубодолбежного верстата 5В12. Дивитись у збільшеному масштабі



Опис схеми електрической принципиальной зубодолбежного верстата 5В12

Принципиальная електросхема верстата приведена на рис. 9. Электропривід верстата передбачає работу всего електроустаткування от сети переменного тока напряжением 380 в. Захист от токов короткого замыкания осуществляется плавкими предохранителями. Захист от перегрузки — тепловым реле.

При нажатии кнопки 2КУ получает питание катушка магнитного пускателя 1К і его нормально открытые контакты подключают електродвигатель гідравлики Г к сети. Одновременно подготовляется ланцюг живлення магнитного пускателя 2К.

При нажатии кнопки ЗКУ включается магнитный пускатель 2К, своими нормально открытыми контактами подключая електродвигатель головного приводу С і електронасос Н к сети. Насос може быть отключен посредством пакетного выключателя ВП. По окончании обробки заготовки електродвигатель головного приводу отключается автоматически контактами конечного выключателя ВК, который включен післядовательно о. катушкой магнитного пускателя 2К. Останов верстата осуществляется при помощи кнопки 1КУ. При етом отключается как електродвигатель головного привода, так і електродвигатель гідравлики. Б наладочном режиме електродвигатель головного приводу може быть включен нажатием кнопки 5КУ. При отнятии руки от кнопки електродвигатель головного приводу останавливается. Б ланцюг магнитного пускателя 2К введен нормально открытый контакт (Л22-4) реле контроля давления масла в гідросистеме; контакт при срабатывании реле (пониженное давление) размыкается, і електродвигатель головного приводу отключается.





Гідравлічна схема зубодолбежного верстата 5В12

5В12 Гідравлічна схема зубодолбежного верстата

Гідравлічна схема зубодолбежного верстата 5в12

Гідравлічна схема зубодолбежного верстата 5В12. Дивитись у збільшеному масштабі



Гідросхема верстата обеспечивает зажим заготовок, смазку верстата, а также автоматическое вимкнення верстата при падении давления масла в системе.

Гідросистема верстата включает в себя наступні нормализованные вузли:

  1. Насос шестеренчатый Ш-12
  2. Фильтр пластинчатый Г41-12
  3. Клапан предохранительный А-85-13
  4. Золотник напорный Г54-13
  5. Манометр на 245 · 104 н/м2 (25 кГ/см2)
  6. Маслораспределитель
  7. Реверсивный золотник з ручным керуванням Г74-12
  8. Цилиндр зажиму заготовки
  9. Реле давления Г62-21

Заготовка зажимается следующим образом: масло под давлением 127 • 104 Н/м2 (13 кг/см2) нагнетается шестеренчатым насосом 1 из масляного резервуара нижней частини станины через пластинчатый фильтр 2 і напорный золотник 4 в реверсивный золотник з ручным керуванням 7. При перемещении золотника вправо масло поступает в верхнюю полость цилиндра 8 і перемещает поршень со штоком вниз. Шток поршня, связанный з оправкой особым замком, перемещает оправку вниз, а післядняя через съемную шайбу зажимает заготовку зубчатого колеса. При перемещении золотника влево верхняя полость цилиндра соединяется со сливом, і поршень, а вместе з ним і оправка, перемещаются вверх при помощи пружины, і заготовка освобождается.


Последовательность налагодження і подготовка зубодолбежного верстата 5в12

В наладку зубодолбежного верстата входят наступні основні операции: проверка исправности верстата і готовности его к работе, налаштування кинематических ланцюгів, установка долбяка, установка заготовки нарезаемого зубчатого колеса, установка положений вузлів верстата, обработка пробной детали і корректировка наладочных установок верстата.

Последовательность выполнения перечисленных операций обычно принимается в таком порядке, в каком они изложены в руководстве по експлуатации верстата. Однако она може быть несколько изменена в соответствии з конкретными условиями налагодження.

Рассмотрим наладку зубодолбежного верстата на нарезание зубчатого колеса зовнішнього зацепления з числом зубьев z = 60, модулем т = 3 мм і шириной венца 6 = 20 мм по 7-й степени точності (ГОСТ 1643—72).

Основні приемы налагодження, рассмотренные для етого верстата, легко могут быть применены для налагодження любого зубодолбежного верстата.

Начиная наладку, обязательно проверяют исправность верстата. Сюда входит внешний осмотр верстата, проверка роботи основних вузлів, проверка системы змазки і системы охлаждения.

При внешнем осмотре обращают внимание на наличие в станке заземления, отсутствие внешних повреждений токопроводящих проводов, отсутствие посторонних предметов в зоне обробки і на наличие масла в резервуаре гідравлики і змазки, а также охлаждающей жидкости в резервуаре станины.

На рис. 143 приведена схема змазки зубодолбежного верстата. Масло в маслораспределители 5 і 10 поступает из сливной полости напорного золотника 4, входящего в систему гідравлики. Масло в ету систему нагнетается шестеренным насосом 2 через фильтр 3, расположенный в нише станины. Ниша закрывается крышкой 1. В начале роботи ручку фильтра нужно повернуть на 3...5 оборотів для очистки пластин скребком, находящимся между пластинами. Количество масла, поступающего в систему змазки, регулируется предохранительным клапаном, расположенным в етой же нише.

Из маслораспределителя 5 масло под давлением поступает на смазку шпинделя стола, пальца шатуна, направляющей скалки і червячной пары стола. Из второго маслораспределнтеля 10 масло капельно подается на сменные зубчасті колеса гітари деления, находящиеся под крышкой 8, на сменные колеса гітари радиальных і круговых подач, находящихся под крышкой 13, на смазку червячных пар приводного вала і кулачка врізання і на смазку суппорта. На кінці трубки для смазывания суппорта установлен дроссель, регулирующий подачу масла в нужных количествах. Наличие масла в суппорте контролируется по масло-указателю 7.

Кроме принудительной змазки, верстат имеет наливные масленки, заправляемые один раз в смену при помощи шприца для жидкой змазки. Масленками смазывают валик 6 ручного переміщення суппорта, направляющие суппорта 11 і колесо 12 ручного поворота кулака.

Во время смотра верстата необходимо убедиться в правильной работе системы охлаждения. Для етого в наладочном режиме включают насос 14 охлаждения і поворотом рукоятки крана 9, находящегося на подводящей трубе, проверяют поступление охлаждающей жидкости в зону обробки.

После етого можно приступать непосредственно к наладке вузлів верстата в соответствии з картой налагодження.


Наладка зубодолбежного верстата 5В12 на нарезание зубчатых колес

Установка долбяка

Для нарізання зубчатых колес модулем до 12 мм применяют прямозубые і косозубые долбяки различных типов — дисковые, чашечные і хвостовые.

Дисковые долбяки рекомендуется применять для обробки таких колес, у которых бурты или вторые венцы выступают за обрабатываемый венец не более чем 4..5 модулей. При большем диаметре выступающих частин применяют чашечные і втулочные долбяки, у которых крепежные гайки не выступают за пределы передньої поверхности зубьев долбяка. Одним і тем же долбяком можно нарезать зубчасті колеса з различными числами зубьев. Однако желательно выбирать долбяк з числом зубьев, не равным і не кратным числу зубьев нарезаемого колеса. Диаметр делительной окружности долбяка выбирают по возможности меньшим, чтобы долбяк поворачивался несколько раз в процессе нарізання колеса і тем самым выравнивались ошибки окружных шагов по всему венцу. Кроме етого, при меньшем диаметре долбяка увеличивается его жесткость і устойчивость в работе. Но здесь необходим учитывать, что слишком малые число зубьев долбяка могут привести к подрезке обрабатываемых зубьев.

Для нарізання зубчатых колес внутреннего зацепления применяют такие же долбяки, как і для колес зовнішнього зацепления, только здесь следует учитывать то, чтобы разность чисел зубьев нарезаемого колеса і долбяка была не меньше чем 12. Колеса внутреннего зацепления малых размеров обычно нарезают хвостовыми долбяками, которые при модуле до 3 мм имеют диаметр 25 мм. Мелкомодульные хвостовые долбяки изготавливают і диаметром 12 мм.

Класс точності долбяков определяет степень точності, которую возможно получить при нарезании колес. Так долбяком класса АА можно нарезать колесо не выше 6-й степени точності долбяком класса А — не выше 7-й степеня точності, долбяком класса В — не выше 8-й степени точності (по ГОСТ 1643-72).

Косозубые долбяки изготавливают как з правым, так і з левым наклоном зубьев. Угол наклона стандартизирован і составляет 15° или 23°. Этими долбяками можно обрабатывать колеса з углом наклона линии зуба, равным точному значению номинального угла линии зуба долбяка, но з противоположным долбяку направлением.

На рис. 144 показан дисковый прямозубый долбяк модуля 3 мм, номинального диаметра 100 мм в исходном сечении. В нем номинальные розміри зубьев долбяка соответствуют размерам зубьев нарезаемого колеса данного модуля. Исходное сечение смещено от передньої поверхности для увеличения срока службы долбяка при переточках. Размер диаметра отверстия долбяков выполняется в дюймах. Они стандартизованы і соответствуют метрическим значениям 31,743; 44,542 і 101,6 мм. Посадочные отверстия мелкомодульных долбяков имеют размер 20 мм.

На рис. 145 показаны способы крепления дискового долбяка на шпинделе зубодолбежного верстата. В конусное отверстие шпинделя 5 вставляется оправка 4 для крепления долбяка. Оправка подгоняется по конусу таким образом, чтобы при введении її от руки в отверстие шпинделя зазор между торцом оправки і шпинделем был 0,08 ... 0,12 мм. При затягивании оправки винтом 6 етот зазор должен быть полностью выбран. Долбяк 3 насаживают на оправку режущими кромками вниз, слегка поворачивая без ударов. Во время установки долбяка надо соблюдать особую осторожность, поскольку держать долбяк приходится рукой за острые кромки зубьев. Если между долбяком і шпинделем прокладывается промежуточное кольцо, то оно должно быть по возможности большим, обеспечивающим необходимую жесткость опорной поверхности долбяка (рис. 145, б).

Установка промежуточного кольца меньшего диаметра, чем опорная поверхность (рис. 145, в) не рекомендуется.

От точной установки долбяка в большой мере зависит точность нарезаемого колеса, поетому необходимо периодически проверять индикатором радиальное і торцовое биение посадочных поверхностей оправки под долбяк.

Для верстата 5В12, выполняемого по классу Н, согласно нормам точності радиальное биение центрирующей поверхности шпинделя долбяка не должно превышать 0,006 мм, а торцовое биение опорного бурта не должно превышать 0,008 мм.


Основні неполадки і методы их устранения

Неполадки зубодолбежного верстата сказываются на точності обрабатываемого зубчатого колеса, поетому верстат всегда должен быть хорошо отрегулирован для обеспечения нормальной роботи. Конструкція вузлів верстата 5В12 передбачає возможность их регулировки.

Рассмотрим некоторые неполадки верстата, которые могут быть устранены наладчиком.

Повышенный стук при отводе стола во время холостого ходу долбяка може возникать по причине увеличенного зазору в механізме качания стола. При нормальной работе механізм качания стола должен работать з едва заметным постукиванием, при етом зазор между упором стола і клином механізма качания не должен превышать 0,01 мм. Кроме етого, необходимо следить за тем, чтобы пружина, прижимающая ролик к кулаку відведення стола, не была бы перетянута. Затяжка пружины до соприкосновения витков може привести к поломке механізма качания стола.

Повышенный стук при изменении направления руху шпинделя долбяка является результатом образования большого зазору между сектором качания шпинделя і витками его круговой рейки. Этот дефект устраняют регулировкой ексцентрика оси качания коромысла з сектором.

Качание суппорта в направляючих при движении шпинделя долбяка устраняют подтягиванием клина в направляючих. Клин затягивают до такого положения, при котором супорт под действием пружин отката після окончания обробки свободно откатывается.

Погрешность профиля зубьев обычно связана з погрешность профиля зубьев долбяка і плохим состоянием червячных делительных пар верстата. При обнаружении етой погрешности в первую очередь необходимо установить новый инструмент. Если ето не улучшит профиль зуба нарезанного зубчатого колеса, то следует проверит состояние делительных червячных пар верстата. Для устранения большого осьового люфта делительного червяка (более 0,005 мм) нужно подтянуть гайки на кінці червяка і проверить зазор индикатором.

Большая накопленная погрешность окружных шагов зубьев обрабатываемого зубчатого колеса бывает по причинам, связанным как з долбяком, так і з обрабатываемой заготовкой. Для устранения етой погрешности необходимо проверить радиальное биение долбяка і перекос его передньої поверхности при установці на станке. После етого проверить установку заготовки на радиальное биение.

Особенно заметно накопленная погрешность окружных шагов проявляется в зоне смыкания начала і кінця об работки. Наибольшую величину он имеет при неблагоприятном отношении чисел зубьев долбяка і обрабатываемого колеса, при котором долбяк за полный оборот колеса поворачивается на 0,5; 1,5; 2,5 і т.д. оборота.

Аналогичная погрешность в зоне смыкания наблюдается при значительном изменении температуры в процессе обробки одного зубчатого колеса Во избежание її появления нужно обильно охлаждать заготовку в процессе всей обробки, а также правильно назначать режими різання.

Погрешность направления зуба (как симметричная, так і направленная в одну сторону по обоим профилям) може возникать из-за непараллельности руху долбяка относительно оси обертання обрабатываемого колеса. При обнаружении такого дефекта необходимо проверить точность верстата по параллельности руху долбяка в обеих плоскостях относительно оси обертання шпинделя вироби.

Низкий класс шероховатости обработанной поверхности може быть как при затуплении режущих кромок долбяка, так і при нежестком креплении долбяка или заготовки.

Опорная поверхность приспособления для установки заготовки должна быть максимально приближена к нарезаемому зубчатому венцу.


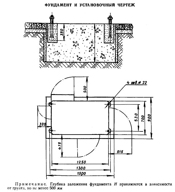
Настановне креслення зубодолбежного верстата 5В12

5В12 Настановне креслення зубодолбежного верстата

Настановне креслення зубодолбежного верстата 5в12




Технічні характеристики зубодолбежного верстата напівавтомату 5В12

Наименование параметра 5В12 5122 5А122
Основні параметри верстата
Класс точності верстата по ГОСТ 8-82 Н Н Н
Наибольший диаметр устанавливаемого вироби, мм 200 200 250
Наибольшая ширина нарезаемого венца (длина нарезки), мм 50 50 50
Наибольший модуль нарезаемого колеса, мм 4 5 5, 6
Наибольший диаметр нарезаемых цилиндрических прямозубых колес внутреннего зацепления, мм 220
Наибольшая ширина нарезаемого венца (длина нарезки) внутреннего зацепления, мм 30
Наибольшее расстояние от оси долбяка (шпинделя, штосселя) до оси стола (планшайби), мм 150 210 260
Расстояние от зеркала стола (планшайби) до торца шпинделя, мм 70..140 110..200 160..250
Расстояние от пола до планшайби, мм 900 850 895
Суппорт. Шпиндель (штоссель) долбяка
Наибольший ход долбяка (шпинделя), мм 55 60 60
Наибольший продольный ход суппорта инструмента (установочный), мм 250 90 90
Цена деления шкалы установки глубины долбления зуба, мм 0,01
Наибольший диаметр устанавливаемого долбяка, мм 75 75, 100 100
Пределы чисел двойных ходов долбяка в минуту 200, 315, 425, 600 200..850 (8 ступ.)
Круговая подача инструмента, мм/дв.ход 0,1; 0,12; 0,15; 0,20; 0,24; 0,30; 0,37; 0,46; 0,16..1,6 (9 ступ.) 0,03..1,75 Радиальная подача инструмента, от Sкр 0,1..0,3 0,003..0,286 (24 ступ.) 0,001..1,17 Диаметр шейки шпинделя (оправки под долбяк), мм 31,743 31,743; 44,443 44,443 Кінець шпинделя для крепления инструмента Морзе 3 Морзе 5 Морзе 5 Отход инструмента во время холостого ходу, мм - 0,45 0,45 Рабочий стол (планшайба) Наибольшее перемещение стола (планшайби) при внутреннем долблении, мм -60..210 -90..260 Диаметр фланца робочого стола (планшайби), мм 160 250 320 Диаметр отверстия (цилиндрической выточки) в шпинделе робочого стола, мм 65А 65А 65 Глубина отверстия (цилиндрической выточки) в шпинделе робочого стола, мм 75 50 10 Цена деления лимба установки межцентрового расстояния, мм 0,01 Скорость швидкого переміщення стола, м/мин - 2 2 Скорость швидкого наладочного обертання стола, об/мин 3,0 Отход инструмента во время холостого ходу, мм 0,5 - - Привід і електрообладнання верстата Количество електродвигателей на станке 3 5 6 Електродвигун головного приводу - поступательное рух долбяка, кВт 2,2 2,1/ 3,0 4,0/ 4,5 Електродвигун насоса гідропривода, кВт 0,8 1,1 2,2 Електродвигун насоса охлаждения, кВт 0,125 0,15 Електродвигун приводу швидкого обертання стола, кВт - 0,6 Електродвигун транспортера стружки, кВт - 0,4 Електродвигун магнитного сепаратора, кВт - - 0,12 Суммарная мощность електродвигателей, кВт 11,32 Габаритные розміри і масса верстата Габаритные розміри верстата (длина х ширина х высота), мм 1320 х 940 х 1820 2700 х 1100 х 1945 Масса верстата з електрообладнанням і охолодженням, кг 1950 3700

    Список литературы

  1. Аврутин Р.Д. Справочник по гідроприводам металлорежущих верстатів,1965
  2. Гинсбург Е.Г. Производство зубчатых колес, 1978
  3. Калашников А.С. Технология изготовления зубчатых колес, 2004
  4. Копылов Р.Б. Работа на строгальных і долбежных верстатах, 1975
  5. Мильштейн М.З. Нарезание зубчатых колес, 1972.
  6. Овумян Г.Г., Адам А.И. Справочник зубореза, 1983.
  7. Петруха П.Г. Резание конструкционных материалов, режущие инструменты і верстати, 1974
  8. Сильвестров Б.Н., Захаров И.Д. Конструкція і наладка зуборезных і резьбофрезерных верстатів, 1979.
  9. Шавлюга Н.И. Расчет і примеры наладок зубофрезерных і зубодолбежных верстатів, 1978.
  10. Яковцев А.Д. Работа на строгальных і долбёжных верстатах, 1966








Заказать

Кто владеет информацией - тот владеет миром.

Натан Ротшильд