metalinstryment.com
Довідник по металорізальних верстатів та пресовому обладнанні

65А80 Верстат фрезерный вертикальний з крестовым столом (бесконсольный)
руководство, схеми, опис, характеристики

65А80 Загальний вигляд  бесконсольного фрезерного верстата з крестовым столом







Відомості про виробника фрезерного вертикального бесконсольного верстата 65А80

Производитель фрезерного вертикального бесконсольного верстата 65А80 - Ульяновский завод тяжелых і уникальных верстатів УЗТС, основанный в 1956 году.

Разработчик верстата 65А80 — Ульяновское специальное конструкторское бюро тяжелых фрезерных верстатів ГСКБФС.





Верстати, выпускаемые Ульяновским заводом тяжелых і уникальных верстатів УЗТС


65А80 Верстат фрезерный вертикальний з крестовым столом. Назначение, область применения

Фрезерный верстат моделі 65А80 з крестовым столом предназначен для скоростного фрезерування крупногабаритных деталей в основном торцовыми фрезами в условиях индивидуального і серийного производства.

Верстат моделі 65А80 бесконсольного типа предназначен для высокопроизводительного фрезерування деталей из чугуна, стали і цветных металлов. На станке выполняется обработка не только сырых, но і закаленных деталей з применением современного инструмента з ножами из ельбора, сверхтвердых композиционных материалов из металлокерамики. На станке производится фрезерование, сверление, зенкерование, развертывание і растачивание.

Верстати фрезерные вертикальные з крестовым столом гаммы 65А включают, также, моделі верстатів:

Класс точності верстата — Н по ГОСТ 8—82Е.

Вид воздействия климатического исполнения УХЛ4 по ГОСТ 15150—69.

Принцип роботи фрезерного верстата 65А80

Верстат фрезерный вертикальний з крестовым столом і УЦИ 65А80ф1 (65А90Ф13) имеет наступні руху:

Перемещения стола, салазок і бабки осуществляются от окремих бесступенчато-регулируемых приводов. Конечными звеньями приводов подач служат шарико-винтовые пары.

Вращение шпинделя осуществляется от електродвигуна постоянного тока і четырехступенчатой коробки швидкостей. Регулювання частоти обертання шпинделя внутри каждой ступени - бесступенчатое.

Зажим і разгрузка шпиндельной бабки - гідравлические.

Керування верстатом производится з подвесного пульта или от маховичков сервопривода, расположенных на салазках в отдельном корпусе.

Пристрій цифровой индикации з преднабором позволяет автоматизировать процесс обробки і повысить производительность труда при сверлении і растачивании отверстий, нарезании різьби метчиками, фрезеровании по прямоугольному контуру. УЦИ з преднабором позволяет вводить в программу 100 кадров команд, а том числе команды из выполнение вспомогательной операций, корректоры длины і диаметра инструмента, величину люфта в паре винт-гайка і др.

Обрабатываемая деталь закрепляется на столе верстата 65А80. В шпинделе укрепляется фреза. Налаштування на размер по высоте производится переміщенням шпиндельной бабки. Окончательная точная налаштування на размер осуществляется переміщенням гильзы шпинделя.

Зажим поперечных салазок, шпиндельной бабки і гильзы производится автоматически, в момент пуска верстата от гідравлической системы. На станке возможна робота по напівавтоматическому циклу: быстрый подвод, рабочая подача, быстрый отвод в исходное положение і «стоп».

При обратном отводе стола з изделием для предохранения обработанной поверхности от повреждения фрезой післядняя совместно з гильзой шпинделя приподнимается на 5 мм.


Модифікації фрезерного верстата 65а80

Вертикальный Фрезерный верстат з крестовым столом (бесконсольный) 65А80 имеет модификации з различной степенью автоматизации:


Конструктивные особливості верстатів


Основні характеристики фрезерного вертикального верстата з крестовым столом 65А80

Производитель: Ульяновский завод тяжелых і уникальных верстатів УЗТС.





Габаритные розміри робочого простору фрезерного верстата 65А80

65А80 Габаритные розміри робочого простору бесконсольного фрезерного верстата з крестовым столом

Габаритные розміри робочого простору фрезерного верстата 65а80

Габаритные розміри робочого простору фрезерного верстата 65А80. Дивитись у збільшеному масштабі



Посадочные і присоединительные базы фрезерного верстата 65А80

65А80 Посадочные і присоединительные базы фрезерного верстата 65А80

Посадочные і присоединительные базы фрезерного верстата 65а80


Загальний вигляд вертикального бесконсольного фрезерного верстата 65А80

65А80 Загальний вигляд  бесконсольного фрезерного верстата з крестовым столом

Фото фрезерного верстата 65а80



65А80 Загальний вигляд  бесконсольного фрезерного верстата з крестовым столом

Фото фрезерного верстата 65а80



65А80 Загальний вигляд  бесконсольного фрезерного верстата з крестовым столом

Фото фрезерного верстата 65а80



65А80 Загальний вигляд  бесконсольного фрезерного верстата з крестовым столом

Фото фрезерного верстата 65а90ф1



Основні вузли бесконсольного фрезерного верстата 65А80Ф1

Основні вузли бесконсольного фрезерного верстата 65А80Ф1

Основні вузли бесконсольного фрезерного верстата 65а80ф1

Основні вузли бесконсольного фрезерного верстата 65А80Ф1. Дивитись у збільшеному масштабі



Органы керування бесконсольным фрезерным верстатом 65А80Ф1

Органы керування бесконсольным фрезерным верстатом 65А80Ф1

Органы керування бесконсольным фрезерным верстатом 65а80ф1

Органы керування бесконсольным фрезерным верстатом 65А80Ф1. Дивитись у збільшеному масштабі






Кінематична схема бесконсольного фрезерного верстата 65А80Ф1

Кінематична схема бесконсольного фрезерного верстата 65А80Ф1

Кінематична схема бесконсольного фрезерного верстата 65а80ф1

Кінематична схема бесконсольного фрезерного верстата 65А80Ф1. Дивитись у збільшеному масштабі



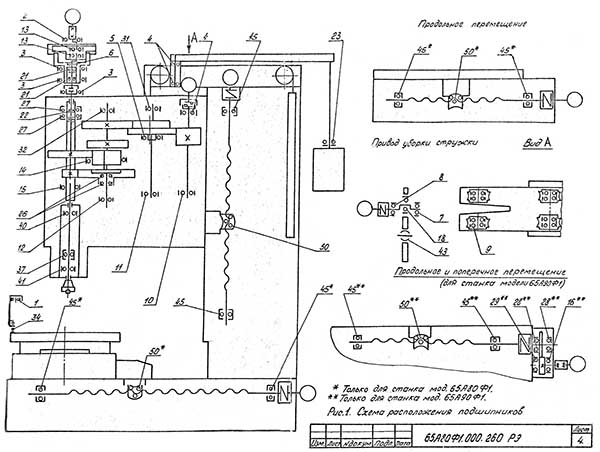
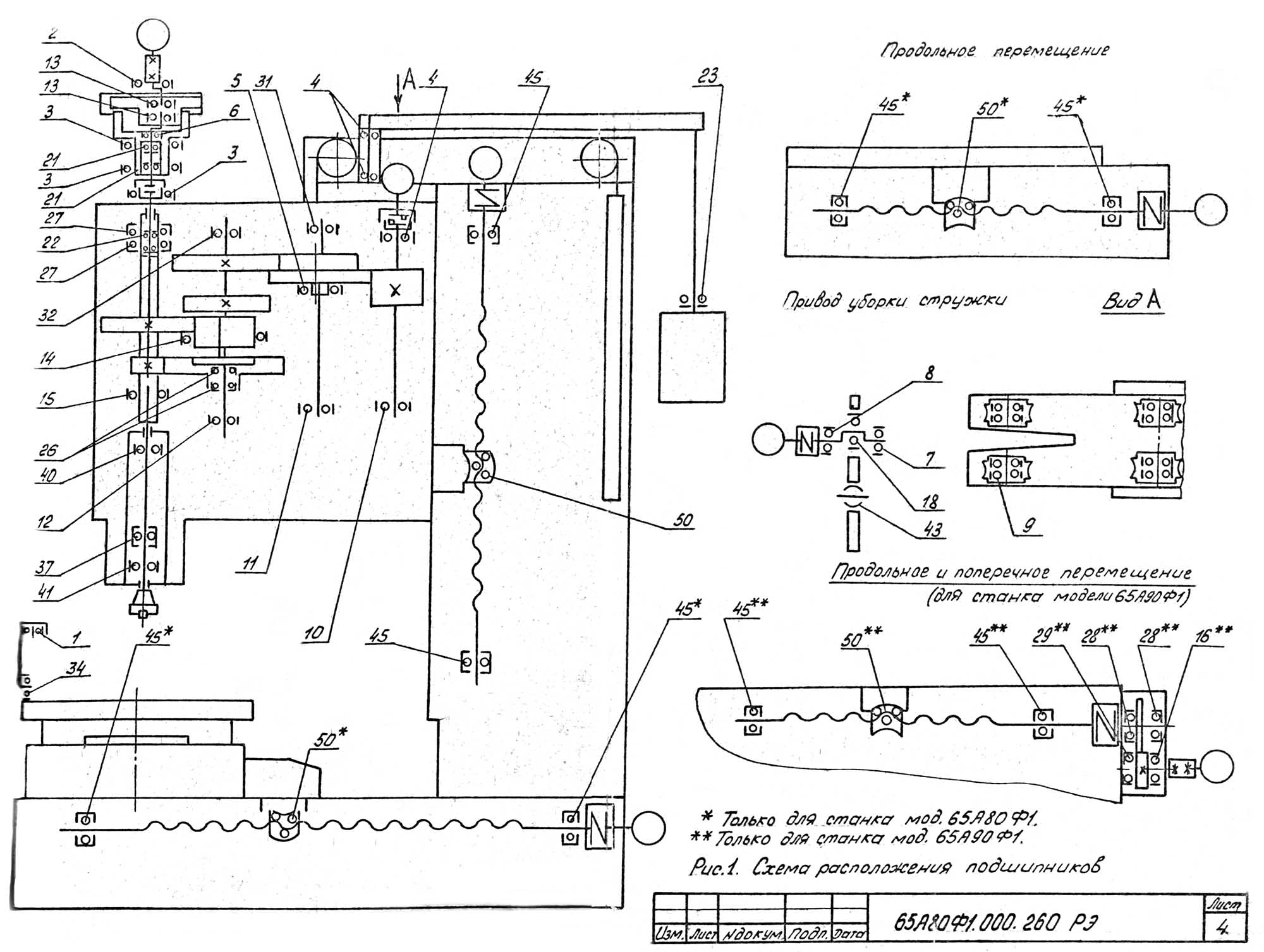
Схема розположення підшибників бесконсольного фрезерного верстата 65А80Ф1

Схема розположення підшибників бесконсольного фрезерного верстата 65А80Ф1

Схема розположення підшибників бесконсольного фрезерного верстата 65а80ф1

Схема розположення підшибників бесконсольного фрезерного верстата 65А80Ф1. Дивитись у збільшеному масштабі



Шпиндель бесконсольного фрезерного верстата 65А80Ф1

Шпиндель бесконсольного фрезерного верстата 65а80ф1

Шпиндель бесконсольного фрезерного верстата 65А80Ф1. Дивитись у збільшеному масштабі






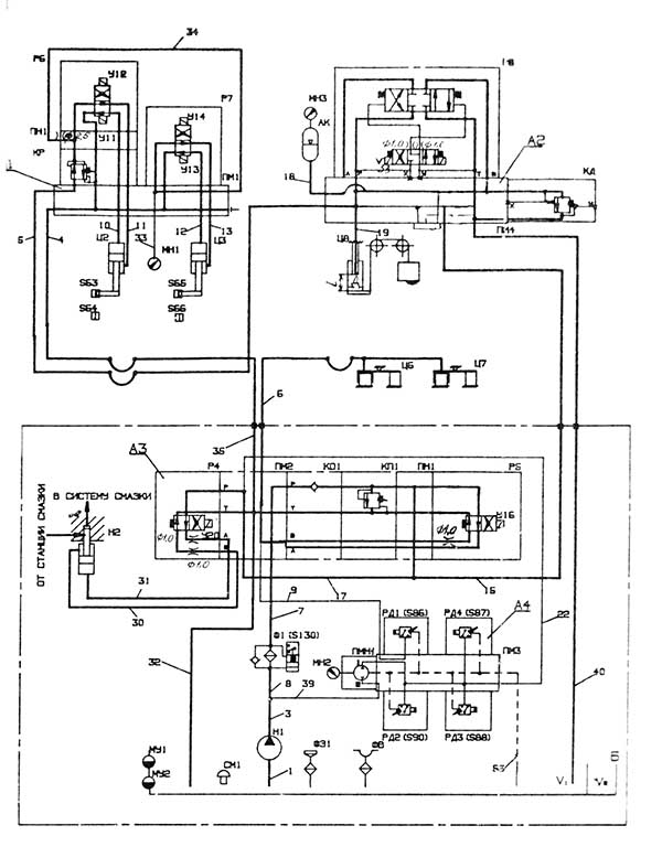
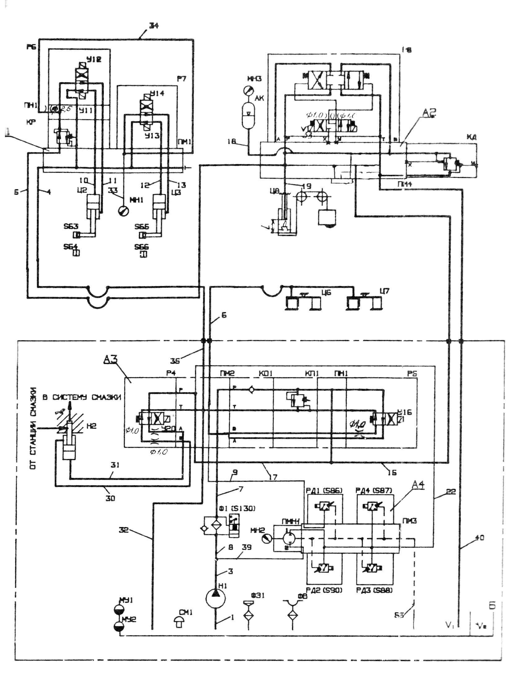
Гідравлічна схема бесконсольного фрезерного верстата 65А80Ф1

Гідравлічна схема бесконсольного фрезерного верстата 65А80Ф1

Гідравлічна схема бесконсольного фрезерного верстата 65а80ф1

Гідравлічна схема бесконсольного фрезерного верстата 65А80Ф1. Дивитись у збільшеному масштабі




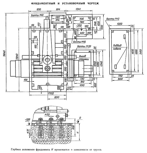
Настановне креслення бесконсольного фрезерного верстата 65А80

65А80 Настановне креслення бесконсольного фрезерного верстата

Настановне креслення бесконсольного фрезерного верстата 65а80





65А80 Верстат фрезерный вертикальний з крестовым столом. Відеоролик.




Технічні характеристики бесконсольного фрезерного верстата 65А80

Наименование параметра 65А60Ф1 65А80Ф1 65А90Ф1
Основні параметри верстата
Розміри поверхности стола, мм 630 х 2000 800 х 2000 1000 х 2500
Расстояние от торца шпинделя до поверхности стола, мм 125..900 125..900 125..1000
Расстояние от оси шпинделя до вертикальних направляючих (вылет), мм 710 850 1050
Наибольшее перемещение стола в продольном (X) х поперечном (Y) направлении, мм 1600 х 630 1600 х 800 2000 х 1000
Наибольшее перемещение шпиндельной бабки в вертикальном (Z) направлении, мм 775 775 875
Наибольшая масса обрабатываемой детали, кг 4000 6000 7000
Шпиндель
Кінець шпинделя по ГОСТ 24644-81 50 50 50
Частота обертання шпинделя з бесступенчатым регулюванням, об/мин 5..2000 5..2000 5..2000
Количество швидкостей шпинделя 85 85 85
Наибольший крутящий момент на шпинделе, н*м 2750
Рабочий стол
Дискретность задания перемещений по осям X, Y, Z. Продольное, поперечное, вертикальное, мм 0,010 0,001 0,005
Пределы продольных і поперечных подач стола (X, Y), мм/мин 1..6000 1..10000 0,5..5000
Пределы вертикальних подач бабки (Z), мм/мин 1..6000 1..10000 0,5..5000
Количество подач продольных/ поперечных/ вертикальних 58
Скорость быстрых перемещений стола продольных (X), поперечных (Y), м/мин 9,6 10 7
Скорость быстрых перемещений вертикальних (Z), м/мин 9,6 10 10
Наибольшее усилие різання, допускаемое механізмом подачі по оси X (продольных), кН 20 20 30
Наибольшее усилие різання, допускаемое механізмом подачі по осяи Y, (поперечных), кН 19 19 30
Наибольшее усилие різання, допускаемое механізмом подачі по оси Z (вертикальних), кН 20 20 17
Механіка верстата
Наибольший допускаемый диаметр фрез при черновой обработке, мм
Выключающие упоры подачі (поздовжньої, поперечної, вертикальной) есть
Електроустаткування і привід верстата
Количество електродвигателей на станке 10 10
Електродвигун постоянного тока приводу головного руху, кВт 26,5 20 20
Вращающий момент електродвигателей постоянного тока приводов подач по осям X, Y, Z (номинальный/ наибольший) (М12, М13, М14), Н*м 47/ 52
Електродвигун гідростанції (М1), кВт 1,5
Електродвигун вентилятора шпинделя (М3), кВт 0,55
Електродвигун зажиму инструмента (М4), кВт 0,18
Електродвигун насоса змазки (М5), кВт 0,25
Електродвигун насоса охлаждения (М6), кВт 0,12
Електродвигун транспортера (М7), кВт 0,37
Електродвигун вентилятора шкафа (М20, М21), кВт 0,12
Суммарная мощность установленных на станке електродвигателей, кВт 36,66 33,64 33,64
Суммарная мощность одновременно работающих електродвигателей, кВт 29,26
Габаритные розміри і масса верстата
Габаритные розміри (длина х ширина х высота), мм 6185 х 3825 х 4100 4780 х 4050 х 4100 5900 х 4800 х 4320
Масса верстата, кг 16130 18500 23800

    Список литературы:

  1. Верстати фрезерные вертикальные з крестовым столом і цифровой индикацией 65А80Ф13, 65А90Ф13. Руководство по експлуатации 65А80Ф13.000.000, 1987

  2. Аврутин С.В. Основы фрезерного дела, 1962
  3. Аврутин С.В. Фрезерне дело, 1963
  4. Ачеркан Н.С. Металлорежущие верстати, Том 1, 1965
  5. Барбашов Ф.А. Фрезерне дело 1973, с.141
  6. Барбашов Ф.А. Фрезерные роботи (Профтехобразование), 1986
  7. Блюмберг В.А. Справочник фрезеровщика, 1984
  8. Григорьев С.П. Практика координатно-расточных і фрезерных работ, 1980
  9. Копылов Р.Б. Работа на фрезерных верстатах,1971
  10. Косовский В.Л. Справочник молодого фрезеровщика, 1992, с.180
  11. Кувшинский В.В. Фрезерование,1977
  12. Ничков А.Г. Фрезерные верстати (Библиотека станочника), 1977
  13. Пикус М.Ю. Справочник слесаря по ремонту металлорежущих верстатів, 1987
  14. Плотицын В.Г. Расчёты настроек і наладок фрезерных верстатів, 1969
  15. Плотицын В.Г. Наладка фрезерных верстатів,1975
  16. Рябов С.А. Современные фрезерные верстати і их оснастка, 2006
  17. Схиртладзе А.Г., Новиков В.Ю. Технологическое обладнання машиностроительных производств, 1980
  18. Тепинкичиев В.К. Металлорежущие верстати, 1973
  19. Чернов Н.Н. Металлорежущие верстати, 1988
  20. Френкель С.Ш. Справочник молодого фрезеровщика (3-е изд.) (Профтехобразование), 1978









Заказать

Кто владеет информацией - тот владеет миром.

Натан Ротшильд