metalinstryment.com
Довідник по металорізальних верстатів та пресовому обладнанні

6В11 Верстат вертикальний консольно-фрезерный
схеми, опис, характеристики

6В11 Верстат фрезерный консольный







Відомості про виробника консольно-фрезерного верстата 6В11

Производитель фрезерного верстата 6В11 - Фрунзенский машиностроительный завод им. В.И. Ленина, основанный в 1941 году. В настоящее время Бишкекский машиностроительный завод.

Отсчет своей истории завод ведет з ноября 1941 года, когда в центре города Фрунзе заработал евакуированный завод из Ворошиловграда (ныне Луганск) специализирующийся на выпуске патронов.

В дальнейшем, за годы своего существования, завод стал многофункциональным предприятием з развитой инфраструктурой. Имея в своем распоряжении станкостроительное, кузнечно-литейное, електротехническое і другие мощности завод выпускал разнообразную продукцию: патроны для стрелкового оружия мелкого калибра, механические пресса, токарные верстати з ЧПУ, термопластавтоматы, АРЛ, таль електрические, токарные патроны, ланцюги для комбайнов, а так же товары народного потребления.





Верстати, выпускаемые Фрунзенским машиностроительным заводом


6В11 Верстат консольный вертикально-фрезерный. Назначение, область применения

Фрезерные верстати 6В11 і 6В11Р относятся к верстатам первого размера і служат для обробки мелких і средних деталей весом в несколько килограммов. Верстати етой гаммы имеют рабочую поверхность стола 250 х 1000 мм.

Верстати моделі 6В11 предназначены для експлуатации в условиях серийного производства. На них можно осуществлять автоматические циклы движений стола при помощи упоров, устанавливаемых на столе.

Верстати моделі 6В11Р предназначены для експлуатации в условиях предприятий мелкосерийного і единичного производства, на которых обычно не возникает потребности в осуществлении автоматических циклов роботи стола. Керування всеми рухуми стола на етих верстатах осуществляется вручную.

В случае применения маятниковых циклов имеется возможность производить фрезерование как против подачі, так і по подаче, благодаря наличию у верстатів моделей 6В11 і 6В11Р механізма выбора зазору в винтовой паре приводу стола.

На верстатах можно производить обработку на повышенных режимах різання, чему способствует достаточная жесткость верстата.

Особливості конструкції консольно-фрезерного верстата 6В11

Повышению жесткости верстатів содействуют осуществленный на них раздельный привід подач, сокращающий длину кінематичної ланцюги подач, рациональная конструкция станины з направляющими прямоугольного сечения для переміщення консоли.

Верстати, будучи универсальными, имеют широкие диапазоны чисел оборотів шпинделя і подач стола.

Верстати удобны в експлуатации. Значительные удобства в работе создает имеющийся на верстатах механізм предварительного выбора величины подач, позволяющий получать любую подачу поворотом лимба без прохождения промежуточных ступеней.

Направление движений рукояток для увімкнення ходу стола совпадает з направлением переміщення стола.

Наличие на верстатах механических ускоренных перемещений стола і автоматическое торможение шпинделя при его выключении способствуют сокращению вспомогательного часу при обслуживании верстатів.

Имеющаяся на верстатах централизованная смазка повышает надежность их роботи.

Перечисленные особливості позволяют еффективно использовать верстати в инструментальных і ремонтных цехах, а также в мастерских.

Рекомендації по использованию мощности верстата

Во всех случаях обробки, где имеются возможности применения скоростного фрезерування рекомендуется использовать верстати на скоростных режимах, как наиболее производительных і обеспечивающих спокойную виброустойчивую работу.

С точки зрения правильного использования верстатів наиболее рациональным будет выбор полной мощности електродвигуна на средних скоростях, возможность кратковременной перегрузки до 25—50% на высоких числах оборотів і недоиспользование номинальных значений мощности на низких первых 3-4 ступенях чисел оборотів.

В качестве примера могут быть приведены наступні предельные режими фpeзeровaния:

1. Работа по чугуну торцовыми быстрорежущими фрезами:

2. Работа по стали торцовыми фрезами, твердосплавными пластинами:


Загальний вигляд вертикального консольно-фрезерного верстата 6В11

Фото фрезерного верстата 6В11

Фото консольно-фрезерного верстата 6В11

Фото фрезерного верстата 6В11. Дивитись у збільшеному масштабі



Фото фрезерного верстата 6В11

Фото консольно-фрезерного верстата 6В11

Фото фрезерного верстата 6В11. Дивитись у збільшеному масштабі



Фото фрезерного верстата 6В11

Фото консольно-фрезерного верстата 6В11


Розташування органів керування фрезерным верстатом моделі 6В11

6В11 Розташування органів керування фрезерным верстатом модели

Розташування органів керування фрезерным верстатом 6В11

Розташування органів керування фрезерным верстатом моделі 6В11. Дивитись у збільшеному масштабі



Список органів керування верстатом 6В11 і их назначение

  1. Рукоятка вертикального переміщення консоли
  2. Маховик ручной поперечної подачі
  3. Рукоятка продольного ходу
  4. Рукоятка зажиму салазок на консоли
  5. Рукоятка подачі смазочно-охлаждающей жидкости
  6. Переключатель швидкостей обертання шпинделя
  7. Выключатель керування от кулачков
  8. Выключатель насоса охлаждающей жидкости
  9. Рукоятка увімкнення поперечної і вертикальной подач
  10. Кулачок останова ходу стола
  11. Кулачок переключения з подачі на быстрый ход или з швидкого ходу на подачу
  12. Штифт виключення «стоп»
  13. Винты для поджатия клина
  14. Кнопочная станція
  15. Вводный выключатель
  16. Выключатель освещения
  17. Рукоятка увімкнення перебора
  18. Рукоятка переключения швидкостей шпинделя
  19. Кнопка «толчок» шпинделя
  20. Ограничительные кулачки вертикального ходу
  21. Ограничительные кулачки поперечного ходу
  22. Маховик продольного ручного переміщення стола
  23. Рукоятка насоса змазки салазок
  24. Рукоятка переключения подач
  25. Рукоятка зажиму консоли на станине
  26. Рукоятка ручного увімкнення ускоренных подач




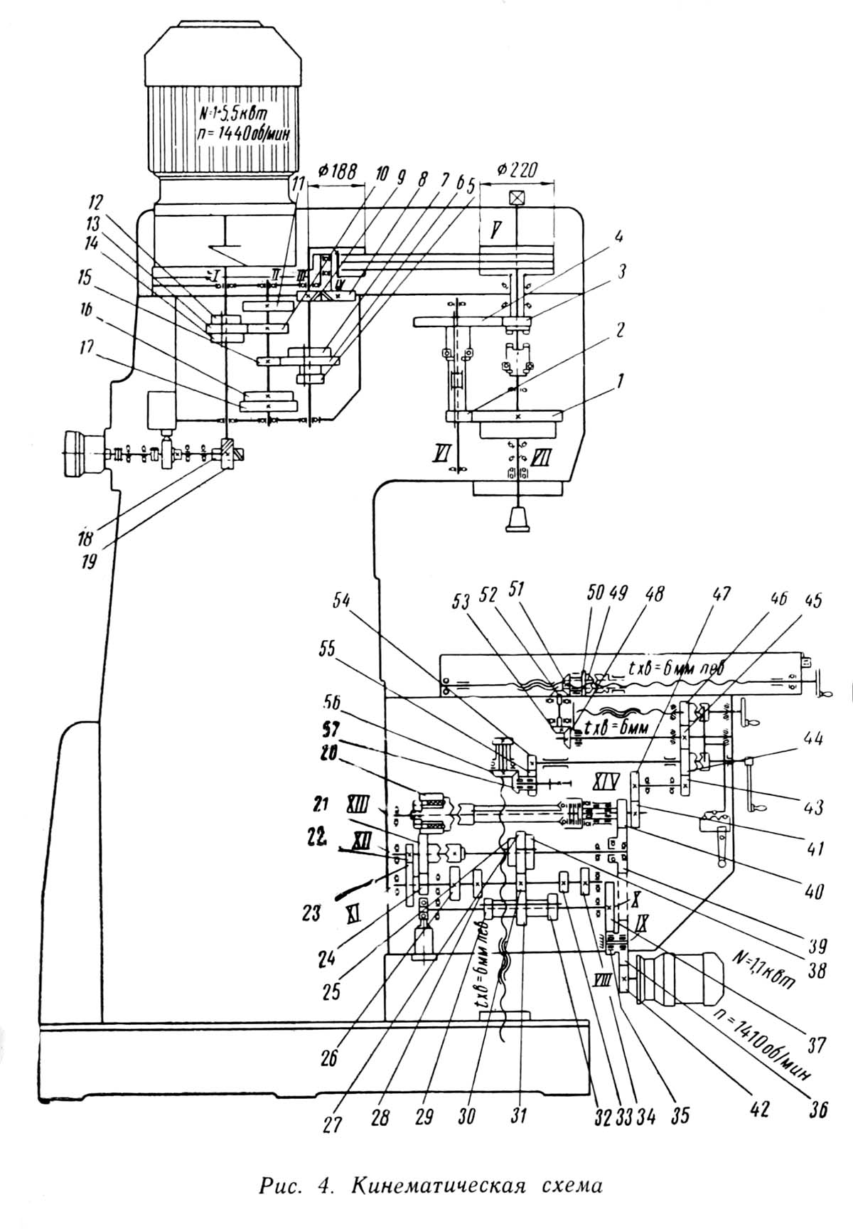
Кінематична схема вертикально-фрезерного верстата 6В11

6В11 Кінематична схема вертикально-фрезерного верстата

Кінематична схема вертикально-фрезерного верстата 6В11

Кінематична схема консольно-фрезерного верстата 6В11. Скачать в увеличенном масштабе



Привід шпинделя

Привід шпинделя (рис. 4) осуществляется от електродвигуна мощностью 4,5 кВт через еластичную муфту на вал I з подвижным блоком из трех шестерен 12, 13, 14, которые соответственно могут зацепляться з шестернями 11, 10, 16 вала II. Рух з вала II передається на вал III при помощи шестерен 10, 15, 17 і подвижного блока из трех шестерен 7, 6, 5 і далее при помощи пары шестерен 9, 8 на вал IV. Вал IV связан з валом V клиноременной передачей. С вала V рух може быть передано при помощи кулачковой муфты непосредственно на шпиндель VII і таким образом могут быть получены числа оборотів верхней частини диапазона.

При отключении кулачковой муфты рух на шпиндель передається через перебор 3, 4, 2, 1 і вал VI, при етом могут быть получены числа оборотів нижней частини диапазона.

Привід подач стола

Привід подач стола (см. рис. 4) осуществляется от електродвигуна мощностью 1 кВт з вала VIII на вал IX при помощи шестерен 42, 36.

С вала IX рух передається на ланцюг рабочих подач шестернями 35, 37 через вал X і на ланцюг ускоренных ходов при помощи шестерен 36, 39, 40 і вала XIII.

С вала X рух подвижным блоком из трех шестерен 29, 31, 32 передається на вал XI шестернями 26, 30, 34. С вала XI на вал XII рух передається при помощи блока трех шестерен 25, 27, 38 і шестерен 28, 30, 33.

С вала XII на вал XIII рух може быть передано либо при помощи кулачковой муфты і шестерен 21, 20, либо при помощи шестерен 22, 23, 24, 21, 20 і далее при помощи шестерен 41, 47 на вал XIV, а затем при помощи шестерен 43, 44, 45, 48, 53, 52 і 51 на винт поздовжньої подачі стола, или при помощи шестерен 43, 44, 45, 46 на винт поперечної подачі, либо при помощи шестерен 43, 44, 54, 55, 57, 56 на винт вертикального переміщення стола.

Увімкнення рабочих подач стола или ускоренных перемещений осуществляется при помощи муфт, расположенных на валу XIII.





Опис конструкції вертикально-фрезерного верстата 6В11

Станина


Продольный разрез консольно-фрезерного верстата 6В11

Продольный разрез консольно-фрезерного верстата 6В11

Продольный разрез консольно-фрезерного верстата 6В11. Скачать в увеличенном масштабе



Станина 1 (рис. 5) представляет собой жесткую отливку з направляющими прямоугольного профиля, по которым вертикально перемещается консоль 6, несущая стол-салазки 7.

В верхней частини станины смонтирована коробка швидкостей 4 з електродвигуном головного руху. В расточках станины і крышки смонтированы шпиндель і вал перебора 2. Передача обертання от коробки швидкостей к шпинделю осуществляется клиноременной передачей.

Станина устанавливается на основании коробчатой формы, крепится к нему шестью болтами і фиксируется двумя штифтами. К основанию крепятся кронштейн ходового гвинта вертикального переміщення консоли і насос 8 для охлаждающей жидкости.

Внутренняя полость основания служит резервуаром для охлаждающей жидкости.

В нижних нишах станины і на дверках, закрывающих ниши, размещаются панелі електроустаткування.

В изолированной частини станины находится масляная ванна для змазки коробки швидкостей, шпинделя і перебора.

Коробка швидкостей

Коробка 4 (см. рис. 5) имеет девять ступеней чисел оборотів.

Различное число оборотів достигается путем переключения тройных блоков шестерен, которые поддерживаются вилками переключения через упорные шарикопідшипники.

Переключення блоков осуществляется вращением рукоятки 18 (см. рис. 2 і 3), вынесенной на левую сторону станины.

От коробки швидкостей рух передається на предшпиндельный вал при помощи клиноременной передачи.

Натяжение ремней осуществляется вращением диска 1 з ведущим шкивом 2 вокруг своей оси, з помощью шарнирного болта 3 і гаек 4 (рис. 6). Перед натяжением ремней необходимо отпустить три гвинта 5 крепления диска.

На корпусе коробки швидкостей закреплен плунжерный насос для змазки шпинделя, перебора і коробки швидкостей.

Привід плунжерного насоса, а также реле 5 контроля скорости (см. рис. 5), установленного на задньої крышке станины, осуществляется от первичного вала коробки швидкостей винтовыми шестернями.

Шпиндель з перебором

Приводной шкив смонтирован на радиально-упорных підшипниках, находящихся в крышке станины, благодаря чему достигается разгрузка шпинделя от радиальных изгибающих усилий.

Шпиндель 2 (см. рис. 5) вращается в підшипниках качения. Передня опора состоит из двухрядного роликопідшипника з посадкой внутреннего кольца на конус, воспринимающего радиальные зусилля, і двух радиально-упорных підшибників, воспринимающих осевые зусилля. Задня опора шпинделя состоит из плавающего радиального шарикопідшипника.

Между передньої і задньої опорой на конус шпинделя насажена шестерня-маховик. За задньої опорой на шлицах скользит кулачковая муфта, входящая в зацепление з муфтой приводного шкива. По шлицевому валу перебора перемещается блок шестерен.

Перемещения кулачковой муфты шпинделя і блока шестерен перебора сблокированы между собой. Увімкнення і вимкнення перебора происходит через систему рычагов 3 при переключении рукоятки 17 (см. рис. 2 і 3). При опускании блока шестерен вниз происходит вимкнення перебора.




Стол-салазки

Поперечный разрез стола і салазок консольно-фрезерного верстата 6В11

Поперечный разрез стола і салазок консольно-фрезерного верстата 6В11

Поперечный разрез стола і салазок консольно-фрезерного верстата 6В11. Скачать в увеличенном масштабе



Стол является післядним звеном в ланцюги продольных подач і сосредотачивает в себе все руху, необходимые при фрезеровании з поздовжньої подачей, а именно: ручні переміщення, механические подачі, быстрый ход. За счет салазок і консоли стол получает возможность поперечных і вертикальних перемещений. Продольные, поперечные і вертикальные руху сблокированы между собой для предупреждения одновременного увімкнення.

В столе і салазках сосредоточены наступні органы керування:

  1. Рукоятка продольного ходу 3 (см. рис.2 і 3), имеющая три положения:
  2. Кнопочная станція 14, имеющая кнопки «стоп» і «шпиндель». Кнопка «стоп» отключает все руху верстата. Если рукоятки механических подач (поздовжньої или поперечної і вертикальной) стоят не в нулевом положении, то з включением кнопки «шпиндель» одновременно включается соответствующая подача. Для наладочных работ, когда требуется відключення шпинделя при пуске подачі, необходимо переключатель увімкнення шпинделя 6 (см. рис. 2 і 3) поставить в среднее нулевое положение, в отличие от двух других положений «шпиндель вправо» і «шпиндель влево».
  3. Рукоятка ручного увімкнення ускоренных подач 26 (см. рис. 3), з помощью которой осуществляются ускоренные подачі стола, если соответствующие рукоятки находятся в нужном положении.
  4. Две рукоятки зажиму салазок на консоли 4 (см. рис. 2 і 3), з помощью которых осуществляется зажим салазок при тяжелом силовом режиме на поздовжньої подаче. Включать поперечний ход стола при зажатых салазках нельзя.
  5. Кулачки останова стола 10, з помощью которых осуществляется автоматическое вимкнення продольного ходу стола в нужном месте.
  6. Ограничительные кулачки поперечного ходу 21, которые автоматически выключают поперечний ход стола в нужном месте.
  7. Винты для поджатия клина 13 предназначенные для выбора люфта в скосах стола при тяжелом фрезеровании, если оно ведется кратковременно і регулировка клина по длине нежелательна.
  8. Механізм регулировки люфта ходового гвинта стола (рис. 7 і 8). Для регулировки необходимо снять крышку 1 на салазках і ослабить винты 2 фланца 3. Вращением вала 4 выбрать люфт ходового гвинта. Люфт должен быть ограничен в пределах 3—4° поворота маховика 22 (см. рис. 2 і 3).

В отличие от верстата моделі 6В11P в станке моделі 6В11 имеется возможность дополнительного получения автоматичною налаштування различных комбинаций продольных движений стола: рабочей подачі, швидкого ходу, реверса і останова.

Кнопочная станція 14 (см. рис. 2) имеет кнопку «быстро», которая включает ускоренные подачі, если соответствующие рукоятки включены в нужном направлении.

Кнопка «быстро» работает только при нажиме на нее; при снятии нажима быстрый ход отключается.

В условиях автоматичного цикла нажатие кнопки «быстро» никакого дії не производит.

Налаштування поздовжньої подачі верстата 6В11 на автоматический цикл роботи (подача вправо — быстро влево — подача влево — быстро вправо і т. д.) і напівавтоматический цикл роботи (быстро вправо - - подача вправо -быстро влево — стоп) осуществляется посредством кулачков 11 (см. рис. 2), имеющих клеймо 1, 2 или 3 (рис. 9). Кулачок, имеющий клеймо 1 (правый і левый), воздействует на звездочку швидкого ходу 1 (рис. 10).

При повороте звездочки 1 проворачивается сидящая на її шлицах звездочка 2, которая штоком 7 через конечный выключатель 5 включает електромагнит швидкого ходу.

Правый і левый кулачки отличаются лишь положением ввернутого штифта. Розташування штифта з правой стороны кулачка заставляет его срабатывать при левом ходе стола, позволяя отбрасываться без воздействия на звездочку при правом ходе.

Кулачки з клеймом 2 і 3 (см. рис. 9) производят переключения з подачі влево на быстро вправо і з подачі вправо - на быстро влево. Эти два кулачка воздействуют на рукоятку 3 (см. рис. 10) керування продольными подачі стола, звездочку 1 швидкого ходу і устраняют в период реверса відключення кулачковой муфты 6 продольного ходу, утапливая штифт 12 (см. рис. 2). Кулачки з клеймом 1, 2 і 3 (см. рис. 9) работают только тогда, когда рукоятка 7 (см. рис. 2) находится в положении «керування от кулачков включено».

Если стол остановлен в крайнем положении, когда штифт виключення поздовжньої подачі нажат скосом реверсивного кулачка, то маховик ручной подачі повернуть невозможно.

В етом случае необходимо рукоятку керування продольным ходом поставить в нейтральное положение і повернуть переключатель 7 (см. рис. 2) в положение «керування от кулачков выключено». После етого, если нет опасности увімкнення механической подачі по условиям роботи, включить кнопку «шпиндель» і рукояткой продольного ходу включить рух стола в нужном направлении.

Консоль

Загальний вигляд консоли фрезерного верстата 6В11

Загальний вигляд консоли фрезерного верстата 6В11

Загальний вигляд консоли фрезерного верстата 6В11. Скачать в увеличенном масштабе



Консоль представляет собой жесткую чугунную отливку, перемещающуюся на вертикальних направляючих станины. Являясь несущим кронштейном стола і салазок, консоль одновременно размещает в себе механізмы, передающие руху на продольную, поперечную і вертикальную подачі.

Консоль (рис. 11) несет на себе наступні органы керування і пристроя:

  1. Рукоятка увімкнення поперечної і вертикальной подач. Она имеет п'ять фиксированных положений:
  2. Маховик ручной поперечної подачі 3, расположенный на передньої плоскости консоли, кулачковой муфтой сцепляется з винтом поперечного ходу, передавая таким образом вращение непосредственно ходовому винту. Маховик, имея автоматическую блокировку з механической подачей, отключается при включении подачі. Блокировка маховика происходит за счет штифта 2 (рис. 12), передвигаемого коромыслом 1; при етом штифт 2 упирается в стержень 6 і втулку 5 і отводит их на 5—6 мм, не давая возможности сланцюгиться кулачкам. Работа лимбом (нониусом) соответствующего ходу сводится к следующему:
  3. Рукоятка 2 (рис. 11) вертикального переміщення консоли, расположенная рядом з маховиком поперечного ходу. Она имеет блокировку з механической подачей, аналогичную маховику поперечного ходу.
  4. Рукоятка 4 зажиму консоли на станине, которая находится сзади консоли в правом верхнем углу. Рукоятка монтируется на втулке з помощью мелкошлицевого соединения, что позволяет устанавливать рукоятку под углом, удобным для зажиму консоли.
  5. Винты 6 для регулировки клиньєв консоли.
  6. На станке 6В11Р з правой стороны консоли имеется рукоятка 13, поднятием которой включаются быстрые ходу. Керування швидкими ходуми верстата 6В11 осуществляется електромагнитом.

Механізм блокировки маховика консольно-фрезерного верстата 6В11

Механізм блокировки маховика консольно-фрезерного верстата 6В11

Механізм блокировки маховика консольно-фрезерного верстата 6В11. Скачать в увеличенном масштабе



Механізм увімкнення подач консольно-фрезерного верстата 6В11

Механізм увімкнення подач консольно-фрезерного верстата 6В11

Механізм увімкнення подач консольно-фрезерного верстата 6В11. Скачать в увеличенном масштабе



Возможные неполадки в механізмах консоли:

  1. При установці рукоятки увімкнення поперечної і вертикальной подачі в среднее положение подача прекращается, но електродвигатель подачі продолжает работать. В етом случае следует отвернув гайку і проворачивая отверткой штифт 11, отрегулировать по высоте рычаги 10 нажима на конечные выключатели 12 до получения четкого увімкнення конечных выключателей при включенном і выключенном положении.
  2. При установці рукоятки поперечної і вертикальной подач в среднее положение механическая подача прекращается, но маховик или рукоятку ручных перемещений провернуть невозможно. Это является следствием того, что отвернулась гайка 3 (рис. 13) і увеличился люфт планки 2.



Коробка подач

Пристрій муфт коробки подач консольно-фрезерного верстата 6В11

Пристрій муфт коробки подач консольно-фрезерного верстата 6В11

Пристрій муфт коробки подач консольно-фрезерного верстата 6В11. Скачать в увеличенном масштабе



Консоль консольно-фрезерного верстата 6В11

Консоль фрезерного верстата 6В11

Консоль фрезерного верстата 6В11. Скачать в увеличенном масштабе



Механізм переключения подач консольно-фрезерного верстата 6В11

Механізм переключения подач консольно-фрезерного верстата 6В11

Механізм переключения подач консольно-фрезерного верстата 6В11. Скачать в увеличенном масштабе



Коробка подач состоит из четырех валов, смонтированных в корпусе на шариковых підшипниках. Три подвижных блока шестерен, перемещающихся на шлицевых валах, позволяют получать 18 различных чисел подач.

На фрикционном валу (рис. 14) коробки подач смонтированы з одной стороны шариковая предохранительная муфта, предохраняющая от поломки механізмы коробки подач при перегрузке, і з другой стороны -- многодискова фрикционная муфта ускоренного ходу.

При перегрузке механізма подач двенадцать шариков 2, находящихся в контакте з отверстиями фланца кулачковой втулки 1, сжимают пружины 3 і выходят из контакта з отверстиями фланца, вследствие чего корпус предохранительной муфты 4, являющейся одновременно шестерней, начинает проскальзывать относительно кулачковой втулки, і рабочая подача прекращается.

Регулировку предохранительной муфты можно производить, не снимая коробки подач, через отверстие в корпусе, закрываемое крышкой. При регулировке необходимо отпустить стопорный винт 5 гайки 6. Затем, придерживая гайку от проворачивания, проворачивать шестерню 4.

Регулювання считается правильным, если при цилиндрическом встречном фрезеровании фрезой з диаметром 110 мм і числом зубьев 12 удастся фрезеровать чугун СЧ 12-28 при ширине фрезерування 90 мм і глубине 6 мм з числом оборотів в минуту 90 і подачей .315 мм/мин. При етом режиме муфта должна периодически прощелкивать. Рекомендуется регулировать предохранительную муфту на крутящий момент 150 кГ/см. При включении фрикционной муфты передача руху происходит, минуя коробку подач, з более быстрым вращением фрикционного вала, необходимым для получения ускоренного ходу стола. Во включенном положении фрикционной муфты диски 7 і 8 должны быть полностью сжаты рукояткой 13 (см. рис. 11) на станке 6В11Р или електромагнитом швидкого ходу на станке 6В11, якорь которого должен быть полностью втянут.

Правильная посадка якоря електромагнита во втянутом положении (без зазору) характеризуется отсутствием гудения електромагнита.

Загальний зазор между дисками фрикционной муфты в выключенном состоянии должен быть 2—3 мм.

Категорически запрещается регулировать зазоры в дисках при проскальзывании фрикционной муфты, полагая, что регулировка увеличит силу нажатия на диски. Усилие сжатия дисков не зависит от величины зазору в дисках, оно определяется величиной натяга пружины електромагнита или величиной зусилля рукоятки ручного увімкнення ускоренных подач для верстата 6В11Р.

Электромагнит 7 (рис. 15) размещен в правой частини консоли.

Якорь електромагнита через рычаг 5 і муфту 6 проворачивает вал 4 і втулку 3, которая ексцентрично сидящим пальцем передвигает тягу 2 з рычагом 1 і через шарикоподшипник 11 сжимает диски фрикционной муфты, включая ускоренный ход.

Чтобы електромагнит передал полное усилие на фрикционную муфту, пружина 9 должна сжаться до замыкания витков, а якорь електромагнита должен плотно лечь на сердечник. Это достигается регулировкой длины пружины 9 і поворотом рычага 5. Длина пружины 9 регулируется гайкой 10, наворачивая или сворачивая її з вилки 8. Если етой регулировки недостаточно, то регулируют рычагом 5 і муфтой 6, имеющими мелкошлицевое торцовое соединение.

Регулировку предохранительной муфты коробки подач производят через окно в корпусе коробки подач, закрываемое крышкой 7 (рис. 11).

Проскальзывание фрикционной муфты швидкого ходу характеризуется чаще всего наличием повышенных сопротивлений, что може являться результатом неправильной регулировки или отсутствия достаточной змазки на клиньях і направляючих.

К передньої плоскости корпуса коробки подач привернута коробка переключения подач, имеющая в передньої частини лимб для установки нужной подачі і грибок для переключения (рис. 16).

Для переключения подач необходимо потянуть грибок на себя і повернуть его вместе з лимбом до совпадения цифры желаемой величины подачі со стрелкой-указателем, а затем вдвинуть обратно. При етом диск 2 з отверстиями, каждое из которых соответствует положению блоков шестерен, перемещает три пары реек 1. Каждая рейка перемещается в прямом или обратном направлении или остается без руху, что дает увімкнення необходимой подачі.

Для предохранения блоков шестерен от сдвига служат три шарика 5, которые при обратном ходе диска заклиниваются конусом. Фиксация поворота грибка осуществляется шариком 4, поджимаемым пружиной з помощью гайки.

Для полной гарантии переключения двигателю подач сообщается импульс. Для етой цели в корпусе механізма переключения смонтирован конечный выключатель 3. При нажатии диска 2 на конечный выключатель 3 включается двигатель подач.

В коробке подач возможны наступні неполадки:

  1. Двигатель подач работает, но нет руху подачі, в то время, как быстрый ход включается. Это является следствием того, что недовключен грибок увімкнення подачі. В етом случае следует довключить грибок і в дальнейшем следить за включением, в противном случае шестерни коробки подач будут работать не по всей ширине.
  2. Двигатель подач работает з перегрузкой из-за того, что мал зазор в дисках фрикционной муфты, і диски сильно нагреваются. Для устранения етого необходимо дать остыть дискам і затем проверить зазор между дисками, установив его в пределах 2—3 мм.

Електроустаткування консольно-фрезерного верстата 6В11

Загальні відомості

Размещение електроустаткування на верстатах моделей 6В11 і 6В11Р показано на рис. 17 і 19.

На станке установлены два трехфазных короткозамкнутых асинхронных електродвигуна на напряжение 380 В.

  1. Електродвигун ланцюги головного руху типа АО2-42-4 мощностью 5,5 кВт, з числом оборотів 1440 в минуту.
  2. Електродвигун ланцюги подач типа АО2-21-2 мощностью 1,1 кВт, з числом оборотів 1410 в минуту.

Для охлаждения применяется електронасос типа НД-22 мощностью 0,125 кВт, з числом оборотів 2800 в минуту.

Напряжение ланцюги керування - 127 в. В електрической схеме верстата предусмотрены: нулевая защита всех електродвигателей, защита двигателей і електроапаратури от коротких замыканий плавкими предохранителями.

Захист двигателей от перегрузок при помощи тепловых реле, торможение шпинделя противотоком, ручное і автоматическое керування стола (для верстата моделі 6В11). Ввод живлення производится в левый шкаф, через отверстие в поддоне.




Короткий опис електрической схеми

6В11 електрична схема вертикального консольно-фрезерного верстата

Електрична схема консольно-фрезерного верстата 6В11

Схема електрична принципова консольно-фрезерного верстата 6В11. Скачать в увеличенном масштабе



Розташування електроустаткування на консольно-фрезерном станке 6В11

Розташування електроустаткування на консольно-фрезерном станке 6В11

Розташування електроустаткування на консольно-фрезерном станке 6В11. Скачать в увеличенном масштабе



Принципиальная електрична схема верстатів приведена на рис. 18 і 20, а монтажная схема — на рис. 21 і 22.

Напряжение на схему подается пакетным выключателем ВВ, расположенным на дверке левого шкафа керування. Пуск і зупинка шпинделя осуществляется нажатием кнопок 2КУ і 1КУ, расположенных на салазке верстата; одновременно включается електронасос охлаждения. Работа шпинделя толчком може производиться кнопкой 3КУ на левой стенке станины. Нужное направление обертання шпинделя устанавливается переключателем ПР, расположенным на дверке правого електрошафи. На станке моделі 6В11 подача стола може мати ручной напівавтоматический і автоматический цикл роботи.

Ручной цикл роботи на станке моделі 6в11

При ручном управлении на станке моделі 6В11 переключатель ПУ (см. рис. 2, поз. 7), расположенный на дверке правого електрошафи, необходимо установить в положение «керування от кулачков выключено». После увімкнення шпинделя можно включить рух стола вправо или влево рукояткой 3 (см. рис. 10) з конечным выключателем 1KB і 2KB (см. рис. 10, поз. 4).

При нажатии кнопки 4КУ происходит увімкнення електромагнита ЭБ, который через систему рычагов включает муфту швидкого ходу. Автоматический останов двигуна подачі при движении стола происходит при переводе кінцівыми кулачками рукоятки 3 (см. рис. 10) в нейтральное положение. Керування поперечными і вертикальными ходуми производится рукояткой консоли з конечными выключателями ЗКВ і 4KB (см. рис. 11, поз. 1 і 12). Увімкнення двигуна подач для получения подачі или ускоренного ходу возможно лишь при вращающемся шпинделе.

Полуавтоматический цикл роботи без реверса на станке моделі 6в11

Автоматическое керування применяется только для продольного ходу стола. Для увімкнення стола на автоматическое керування необходимо установить переключатель ПУ (см. рис. 2, поз. 7) в положение «керування от кулачков включено». Перед работой необходимо убедиться, что електромагнит ЭБ включен. Если електромагнит не включен, следует сделать поворот звездочки 2 з восемью выступами (см. рис. 10) на один выступ. При етом контакты НЗ конечного выключателя 5КВ замкнутся, включив електромагнит ЭБ.

Наиболее простой напівавтоматический цикл руху стола состоит в переключении з швидкого ходу на подачу, з подачі на быстрый ход і в останове верстата.

После налаштування кулачков рукояткой 3 (см. рис. 10) включается напівавтоматический цикл. При етом быстрый ход стола отключается откидным кулачком 4, который проворачивает звездочку У.

На шлицах ступицы етой звездочки находится звездочка 2, которая через шток воздействует на конечный выключатель 5КВ.

После окончания обробки конечный кулачок 10 (см. рис. 2) выводит рукоятку 3 (см. рис. 10) в среднее положение, благодаря чему происходит останов стола. Для возврата стола в исходное положение рукоятку 3 нужно повернуть влево, вследствие чего стол начнет двигаться влево со скоростью рабочей подачі. Для увімкнення швидкого ходу следует нажать кнопку 4КУ. Автоматическое увімкнення швидкого ходу може происходить при установці второго откидного кулачка в самом начале руху стола влево. Этот кулачок переведет звездочку из положения «подача» в положение «быстро». В исходном положении стол будет остановлен конечным кулачком.

Подобный цикл може быть настроен для фрезерування з подачей влево.

Автоматический цикл роботи з реверсом на станке моделі 6в11

Автоматический цикл з реверсом можно получать только при установці специальных реверсирующих кулачков. Этот цикл начинается также з поворота рукоятки 3 (см. рис. 10) вправо при рабочей подаче вправо і при повороте рукоятки влево при рабочей подаче влево.

Переключення з подачі на быстрый ход і з швидкого ходу на подачу происходит путем воздействия откидных кулачков 4 (см. рис. 10) на звездочку 1 так же, как і в напівавтоматическом цикле.

В кінці обробки з помощью реверсирующего кулачка происходит переключение рукоятки 3 (см. рис. 10) из положения подачі «вправо» в положение подачі «влево». При етом стол продолжает рух вправо, так как питание пускателя ПП осуществляется по ланцюги 3, 12, 15," 16, 17, 20, 21, 22; 27; 28; 9. Переключення рукоятки 3 влево подготовляется ланцюг для реверса, который наступает при действии откидной частини реверсирующего кулачка на звездочки 1 і 2 (см. рис. 10). При етом замыкаются контакты НЗ конечного выключателя 5КВ. Одновременно з етим включается електромагнит швидкого ходу ЭБ. В кінці швидкого ходу стол останавливается конечным кулачком, переводящим рукоятку 3, в нейтральное положение.

На станке можно осуществлять наступні циклы:

  1. правый скачкообразный з реверсом от кулачков (описан выше), левый скачкообразный з реверсом от кулачков;
  2. маятниковый.

При маятниковом цикле рух стола совершается непрерывно справа налево і слева направо з переключением швидкого ходу на подачу і обратно.

Следует обратить внимание на необходимость тщательной проверки роботи любого автоматичного цикла без обрабатываемой детали, так как ошибки при налаштуванні могут привести в включению швидкого ходу вместо подачі, что може вызвать поломку инструмента.

Импульс при переключении коробки подач

При переключении коробки подач конечный выключатель 6КВ дает импульс на електродвигатель подачі, облегчающий увімкнення шестерен.

Торможение двигуна

Торможение двигуна для приводу шпинделя осуществляется противотоком при помощи тормозного пускателя ПТ і реле контроля скорости РКС (рис. 5, поз. 5), которое соединено з одним из промежуточных валов механізма головного руху.

Торможение происходит при нажатии кнопки «стоп», причем тормозной пускатель ПТ остается включенным до момента отключения его контактами реле контроля скорости.

Блокировка

На верстатах предусмотрена следующая блокировка:

  1. Одновременное увімкнення рукоятки вертикальной і поперечної подач з рукояткой поздовжньої подачі вызывает установку двигуна подач, так как питание катушек контактора ПП і ПЛ, происходящее по блокировочной ланцюги 12, 15, 16, 17 (или по ланцюги 12, 18, 19, 17), нарушается размыканием контактов конечных выключателей стола і консоли.
  2. В схеме предусмотрено відключення поперечної і вертикальной подач при установці переключателя керування ПУ в положение «керування от кулачков включено». При етом питание ланцюги будет осуществляться через ЗКВ і 4KB (см. рис. 18). При включении поперечної или вертикальной подачі ЗКВ или 4KB ланцюг 15, 16 или 16, 17 размыкается, что вызывает остановку електродвигуна подачі.
  3. Увімкнення переміщення стола возможно только після увімкнення шпинделя, так как питание електродвигуна подач происходит через нормально открытый пускатель шпинделя ПШ з контактами 17, 20 (см. рис. 18). Если пускатель шпинделя не будет включен, то ланцюг електродвигуна подач в контактах 17, 20 будет разомкнута.
  4. На станке моделі 6В11 кнопка швидкого ходу работает только при установці переключателя ПУ в положение «керування от кулачков выключено».
  5. Импульс для електродвигуна при переключении коробки подач може происходить только при установці переключателя ПУ в положение «керування от кулачков выключено».




6В11 Верстат консольно-фрезерный вертикальний. Відеоролик.




Технічні характеристики верстата 6В11

Наименование параметра 6В11 6Н11 6Р11
Основні параметри верстата
Класс точності по ГОСТ 8-71 і ГОСТ 8-82 Н Н Н
Розміри рабочей поверхности стола (длина х ширина), мм 1000 х 250 1000 х 250 1000 х 250
Наименьшее і наибольшее расстояние от торца шпинделя до стола 30..400 30..380
Расстояние от оси вертикального шпинделя до направляючих стойки (вылет), мм 300 280
Расстояние от задньої кромки стола до вертикальних направляючих станины, мм 20..280
Шпиндель
Частота обертання шпинделя, об/мин 45..2240 65..1800
Количество швидкостей шпинделя 18 16
Ескіз кінця шпинделя №3 по ГОСТ 836-47 №3 по ГОСТ 836-47
Конус шпинделя 45
Диаметр отверстия фрез шпинделя 26
Наибольший допустимый крутящий момент на шпинделе Нм 525
Рабочий стол
Число Т-образных пазов Розміри Т-образных пазов 3 3
Наибольшее перемещение стола продольное от руки/ от двигуна (ось X), мм 650/ 640 600/ 560
Наибольшее перемещение стола поперечное от руки/ от двигуна (ось Y), мм 210/ 200 200/ 190
Наибольшее перемещение стола вертикальное от руки/ от двигуна (ось Z), мм 360/ 350 350/ 340
Наибольший угол поворота стола, град нет
Цена одного деления шкалы поворота стола, град нет
Перемещение стола на одно деление лимба (продольное, поперечное), мм 0,05 0,05
Перемещение стола на одно деление лимба (вертикальное), мм 0,05 0,025
Перемещение стола на один оборот лимба продольное і поперечное, мм 6 6
Перемещение стола на один оборот лимба вертикальное, мм 2 3
Наибольшее усилие, допускаемое механізмом подач в продольном/ поперечном/ вертикальном направлении, кг 1200/ 1200/ 500
Механіка верстата
Быстрый ход стола продольный (ось X), м/мин 2,9
Быстрый ход стола поперечний (ось Y), м/мин 2,3
Быстрый ход стола вертикальний (ось Z), м/мин 1,15
Число ступеней рабочих подач стола 18 16
Пределы рабочих подач. Продольных (ось X), мм/мин 20..1000 35..980
Пределы рабочих подач. Поперечных (ось Y), мм/мин 21,2..1060 25..765
Пределы рабочих подач. Вертикальных (ось Z), мм/мин 8..385 12..380
Выключающие упоры подачі (поздовжньої, поперечної, вертикальной) есть есть
Автоматическая прерывная подача в продольном/ поперечном/ вертикальном направлении есть/ нет/ нет
Блокировка ручной і механической подачі (поздовжньої) нет нет
Блокировка ручной і механической подачі (поперечної, вертикальной) есть есть
Торможение шпинделя (муфта) есть есть
Предохранение от перегрузки (муфта) есть есть
Привод
Електродвигун приводу головного руху, кВт (об/мин) 5,5 (1440) 4,5
Електродвигун приводу подач, кВт 1,1 (1410) 1,7
Электронасос охлаждающей жидкости Тип ПА-22
Електродвигун насоса охлаждающей жидкости, кВт 0,12 (2800) 0,12
Производительность насоса СОЖ, л/мин 22
Габарит і масса верстата
Габарити верстата (длина ширина высота), мм 1740 х 1580 х 2265 2060 х 1530 х 2300
Масса верстата, кг 2000 2100

    Список литературы:

  1. Аврутин С.В. Основы фрезерного дела, 1962
  2. Аврутин С.В. Фрезерне дело, 1963
  3. Ачеркан Н.С. Металлорежущие верстати, Том 1, 1965
  4. Бирюков Б.Н. Гідравлическое обладнання металлорежущих верстатів., 1979
  5. Блюмберг В.А. Справочник фрезеровщика, 1984
  6. Копылов Работа на фрезерных верстатах,1971
  7. Кувшинский В.В. Фрезерование,1977
  8. Кучер А.М., Киватицкий М.М., Покровский А.А., Металлорежущие верстати (Альбом), 1972
  9. Ничков А.Г. Фрезерные верстати (Библиотека станочника), 1977
  10. Пикус М.Ю. Справочник слесаря по ремонту металлорежущих верстатів, 1987
  11. Схиртладзе А.Г., Новиков В.Ю. Технологическое обладнання машиностроительных производств, 1980
  12. Тепинкичиев В.К. Металлорежущие верстати, 1973
  13. Фрезерные верстати Каталог. Станкоимпорт, 1980
  14. Чернов Н.Н.. Металлорежущие верстати, 1988








Мужчина считается толковым работником, пока не доказано противное; женщина считается бестолковой, пока не докажет обратное.

Закон Мерфи