metalinstryment.com
Довідник по металорізальних верстатів та пресовому обладнанні

КВ-235 пресс листоштамповочный однокривошипный простого дії открытый наклоняемый
схеми, опис, характеристики

Фото пресса однокривошипного простого дії открытого ненаклоняемого КВ-235



Прессы механические, прессы гідравлические, верстати поперечно-строгальные

Відомості про виробника однокривошипного листоштамповочного пресса КВ-235

Производитель однокривошипного листоштамповочного пресса КВ-235 - Фрунзенский машиностроительный завод им. В.И. Ленина, основанный в 1941 году. В настоящее время Бишкекский машиностроительный завод.

Отсчет своей истории завод ведет з ноября 1941 года, когда в центре города Фрунзе заработал евакуированный завод из Ворошиловграда (ныне Луганск) специализирующийся на выпуске патронов.

В дальнейшем, за годы своего существования, завод стал многофункциональным предприятием з развитой инфраструктурой. Имея в своем распоряжении станкостроительное, кузнечно-литейное, електротехническое і другие мощности завод выпускал разнообразную продукцию: патроны для стрелкового оружия мелкого калибра, механические пресса, токарные верстати з ЧПУ, термопластавтоматы, АРЛ, таль електрические, токарные патроны, ланцюги для комбайнов, а так же товары народного потребления.

В настоящее время пресс КВ-235 производит ПАО «Кувандыкский завод КПО «Долина» Оренбургская обл., г. Кувандык





Верстати, выпускаемые Фрунзенским машиностроительным заводом


КВ-235 Пресс листоштамповочный однокривошипный простого дії духстоечный открытый наклоняемый. Назначение, область применения

В соответствии з системой стандартных обозначений механических прессов прессу КВ-235 можно присвоить обозначение К2328 - Пресс однокривошипный простого дії духстоечный открытый з нерухомим столом наклоняемый, з номинальным усилием 63 т (630 кН).

Пресс однокривошипный простого дії открытый наклоняемый духстоечный КВ-235 предназначен для изготовления деталей операциями холодной листовой штамповки: гибкой, вырубкой, пробивкой, неглубокой вытяжкой і т.д., в том числе в составе автоматизированных комплексов.

Прессы КВ-235 применяются на предприятиях различных отраслей промышленности, в цехах і на участках холодной листовой штамповки. Находят широкое применение при любом типе производства: мелкосерийном, серийном, массовом.

Пресс КВ-235 рассчитан для роботи как на одиночных, так і на непрерывных ходух. Подача материала (полосы или ленты) производится вручную или автоматически (при установці автоподач).

Штучная автоматическая подача може быть осуществлена при оснащении пресса револьверної подачей.

Пресс КВ-235, оборудованный автоподачами, може быть применен в поточных і автоматических лініях.

Следует помнить, что номинальное усилие пресс дает начиная з 61° поворота кривошипа до нижней мертвой точки. Поетому при технологическом расчете операции необходимо учитывать, чтобы зусилля не превосходили допускаемых і стараться располагать обрабатываемую деталь в штампе так, чтобы штамповка происходила возможно ближе к нижней мертвой точке.

Работа пресса з фронтальными стяжками обеспечивает минимальный износ штампа і получение более точных размеров штампуемой детали.

При съеме фронтальных стяжек можно производить штамповку изделий з развитием габаритов на три стороны.

Особливості конструкції листоштамповочного пресса КВ-235. Станина прессов литая чугунная коробчатой формы, воспринимает все зусилля, возникающие при штамповке.

Ползун, изготовленный из высокопрочного чугуна, коробчатой формы, з призматическими двусторонними направляющими. Левая направляющая регулируемая. Ползун снабжен предохранителем от перегрузки і клиновым пристрійм для выведения пресса из распора. Величина ходу ползуна регулируемая. В механізм регулировки введено кулачковое зацепление для сокращения часу на переналадку. Для устранения влияния массы ползуна і верхней половины штампа на работу прессов, а также для предотобертання произвольного опускания ползуна в аварийных ситуациях предусмотрены пневматические уравновешиватели.

Межштамповое пространство регулируется.

Прессы КВ-235 оснащены пневмосдувателем, возможна установка пневмоподушки. Удаление изделий из штампа осуществляется на провал і в просвет между стойками, для чего предусмотрен наклон станины пресса.

Привід ползуна — от електродвигуна через клиноременную передачу, маховик з вмонтированной в него муфтой-тормозом, і ексцентриковый вал.

Муфта-тормоз — жесткосблокированная, многодискова, фрикционная, з пневматическим включением; вмонтирована в маховик.

Електросхема блока керування выполнена бесконтактной і сдублированной. Предусмотрены контроль величины тормозного пути і керування системой змазки.

Электроблокировка і ограждения обеспечивают надежную работу і безопасное обслуговування прессов.

Смазка централизованная импульсная.


Однокривошипный пресс простого дії. Загальні відомості

Прессы кривошипные простого дії

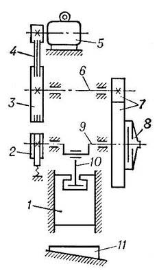
Кінематична схема кривошипного пресса:

  1. ползун
  2. тормоз
  3. маховик
  4. клиноремённая передача
  5. електродвигатель
  6. передавальний вал
  7. зубчатая передача
  8. муфта
  9. кривошипный вал
  10. шатун
  11. плита для крепления матрицы штампа

Кривошипный пресс - машина з кривошипно-шатунным механізмом, предназначенная для штамповки различных деталей.

Рабочей частью (инструментом) пресса является штамп, неподвижную часть которого крепят к столу, подвижную — к ползуну пресса. Ползун перемещается кривошипно-шатунным механізмом. За один оборот кривошипа шатун совершает полный ход, во время которого при движении ползуна вперёд происходит штамповка.

Усилие пресса создаётся за счёт крутящего момента, передаваемого кривошипному валу електроприводом. Привід состоит из електродвигуна, маховика, муфты увімкнення, тормоза і понижающей зубчатой передачи, от которой вращение передаётся кривошипному валу. Електродвигун вращает маховик, за счёт силы инерции которого на кривошипном валу возникает крутящий момент. Пресс може работать в режиме одиночных ходов, т. е. з вимкненням муфты після каждого полного ходу, или в автоматическом режиме, когда муфта включена постоянно.

Важнейшие характеристики пресса, в определяющие его технологические возможности:

Кривошипные прессы различных конструкций используют для объёмной і листовой штамповки.

По конструкції прессы имеют три основних исполнения:

Прессы наклоняемые позволяют использовать наклон станины для съема штампуемых изделий или удаления отходов под их собственным весом.

Прессы ненаклоняемые з передвижным столом предназначены для выполнения операций штамповки на деталях з широким диапазоном размеров по высоте, а при замене стола рогом обрабатывать вироби з замкнутым контуром.

Конструкція наклоняемых і ненаклоняемых прессов з нерухомим столом передбачає возможность установки механізмов автоматичною подачі металла і пневматических подушек, а также встраивать их в автоматизированные поточные линии.





Габаритные розміри однокривошипного пресса КВ-235

КД 2128 Габаритные розміри робочого простору однокривошипного пресса КВ-235 открытого ненаклоняемого

Габаритные розміри робочого простору пресса КВ-235


Загальний вигляд однокривошипного пресса КВ-235

КВ-235 Загальний вигляд  кривошипного открытого ненаклоняемого пресса

Фото кривошипного пресса КВ-235


КВ-235 Фото кривошипного открытого ненаклоняемого пресса

Фото кривошипного пресса КВ-235


КВ-235 Фото кривошипного открытого ненаклоняемого пресса

Фото кривошипного пресса КВ-235


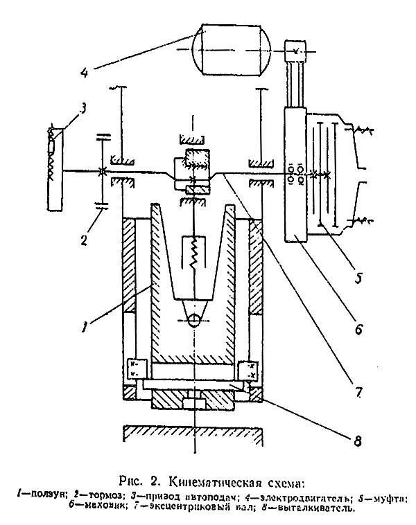
Кінематична схема листоштамповочного однокривошипного пресса КВ-235

кв235 Кінематична схема однокривошипного открытого ненаклоняемого пресса

Кінематична схема кривошипного пресса КВ-235

  1. Ползун
  2. Тормоз
  3. Привід автоподач
  4. Електродвигун
  5. Муфта
  6. Маховик
  7. Эксцентриковый вал
  8. Выталкиватель

Пресс КВ-235 — однокривошипный наклоняемый. Станина пресса опирается на две стойки, между которыми осуществляется наклон її на заданный угол, з помощью винтового домкрата.

Стол пресса установлен на нижней консоли станины. Над столом, в верхней частини станины, расположен ползун. Выше, параллельно фронту,— ексцентриковый вал. Ползун приводится в рух от шатуна ексцентрикового вала.

Привід вала осуществляется от електродвигуна через клиноременную передачу на маховик вала. Связь маховика з валом — через пневмофрикционную муфту.

Торможение вала производится ленточным пружинным тормозом з пневморастормаживателем. Керування прессом — електропневматическое. Станина пресса — C-образной формы, двухстоечная. Жесткость станины обеспечивается развитием переднего сечения і ширины стоек. Для уменьшения прогиба станины, верхняя і нижняя її частини по фронту соединены стяжными болтами. При работе з деталями, требующими развития габаритов і стороны, стяжные болты могут быть сняты.

На станине имеются две площадки з Т-образными пазами для установки і крепления направляючих ползуна.

Стол пресса отлит заодно со станиной і имеет отверстие для провала деталей. На стол пресса установлена подштамповая плита, закрепленная четырьмя болтами.

В верхней частини станины расположены буксы, ексцентрикового вала. Сверху станины предусмотрено плато для установки і крепления подмоторной плиты.

В просвете между стойками имеется полка для скатывания деталей, ниже — отверстия под тягу, механізма наклона. Под столом пресса предусмотрено место для установки і крепления пневмоподушки і имеются отверстия для осей наклона станины.





Ползун однокривошипного листоштамповочного пресса КВ-235

кв 235 Ползун однокривошипного листоштамповочного пресса КВ-235

Ползун однокривошипного листоштамповочного пресса КВ-235

Ползун однокривошипного листоштамповочного пресса КВ-235. Дивитись у збільшеному масштабі



  1. Планка выталкивателя
  2. Винт упора
  3. Упор выталкивателя
  4. Направляющая
  5. Винт стопора
  6. Шайба торцовая
  7. Гайка
  8. Фиксатор
  9. Шайба торцовая
  10. Пята шаровая
  11. Ползун
  12. Гайка шаровая
  13. Втулка
  14. Шпонка
  15. Втулка ексцентриковая
  16. Втулка ексцентриковая
  17. Вал ексцентриковый
  18. Шатун
  19. Сухари стопора
  20. Винт шатуна
  21. Винт
  22. Прихват
  23. Винт
  24. Гайка прихвата

Ползун (рис. 3) пресса 11 — коробчатой формы, отлит из чугуна. Направляющие ползуна - двухсторонние.

В нижней частини ползуна имеются пазы для крепления штампа. Крепление штампа за хвостовик осуществляется прихватом 22, гайками 21. Стопорение хвостовика производится винтом 23. В средней частини ползуна расположена планка выталкивателя 1. Для упора планки выталкивателя служат два регулируемых упора 3, которые передвигаются по станине і крепятся гвинтами 3.

Шаровая опора гвинта шатуна 20 заперта между пятой 10 і верхней гайкой 12. После регулировки гайка стопорится винтом 21. При регулировке закрытой высоты необходимо освободить винт 5, і вращая его, раздвинуть сухари 19, після чего винт 20 будет свободно вращаться при помощи ломика, входящего в комплект инструмента. По окончании регулировки винт стопорится сухарями.

В расточку шатуна запрессована бронзовая втулка 13. Во втулку шатуна заходит ексцентриковая втулка 15, которая посредством зубчатого венца зацепляется з втулкой 16, скользящей по шпонке 14 на ексцентриковом валу 17. Па втулку 16 навернута гайка 7, положение которой фиксируется по отверстиям в шайбе 9 фиксатором 8. Шайба 9 связана тремя гвинтами з шайбой 6"; обе шайбы сидят на шпонке на валу.

Для изменения величины ходу ползуна необходимо: вывести фиксатор гайки 7 из зацепления з шайбой. Далее вращать гайку знизу вверх до тех пор, пока втулка 16 упрется в шайбу 9. При етом зубчатый венец втулки 16 выходит из зацепления з втулкой 15. Затем вращать втулку 15 до совпадения соответствующего деления лимба — указателя величины ходу, расположенного по краю втулки, з указателем на шайбе 6. После етого, вращением гайки 7 сверху вниз подвинуть втулку 16 до упора в шайбу і зафиксировать гайку. Вращение гайки і втулки осуществляется ломиком.





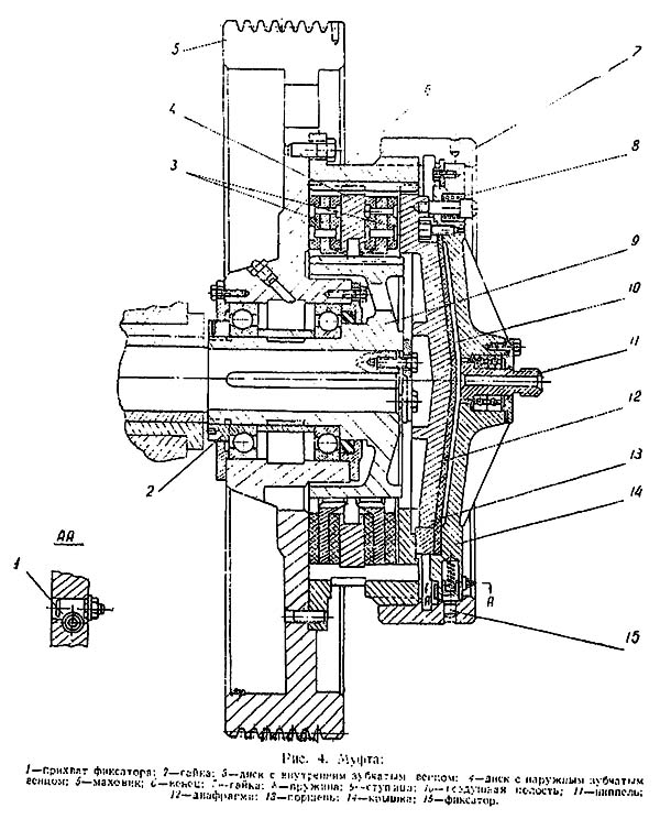
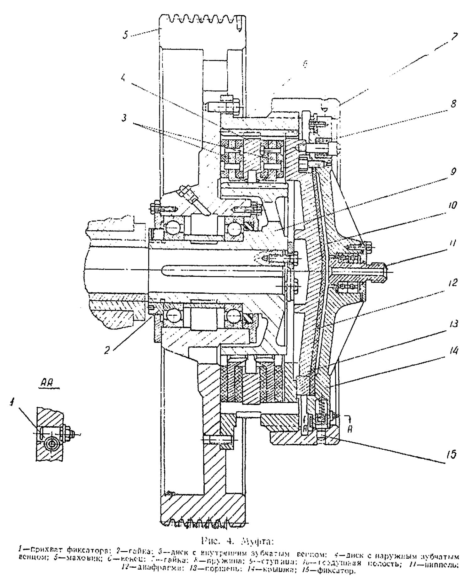
Муфта однокривошипного листоштамповочного пресса КВ-235

кв 235 Муфта однокривошипного листоштамповочного пресса КВ-235

Муфта однокривошипного листоштамповочного пресса КВ-235

Муфта однокривошипного листоштамповочного пресса КВ-235. Дивитись у збільшеному масштабі



  1. Прихват фиксатора
  2. Гайка
  3. Диск з внутренним зубчатым венцом
  4. Диск з наружным зубчатым венцом
  5. Маховик
  6. Венец
  7. Гайка
  8. Пружина
  9. Ступица
  10. Воздушная полость
  11. Ниппель
  12. Диафрагма
  13. Поршень
  14. Крышка
  15. Фиксатор

Муфта - пневмофрикционная (рис. 4)—предназначена для передачи обертання маховика ексцентриковому валу. Наружный венец муфты 6 крепится болтами к маховику 5 і фиксируется штифтами.

Маховик вращается на шарикопідшипниках на ступице 9. Шарикопідшипники замиряются в маховике крышками, а на ступице — гайкой 2. Гайка стопорится винтом. Диск 4 зацепляется зубьями з венцом, диски 3 — со ступицей.

Увімкнення муфты осуществляется сжатым воздухом, поступающим из воздухораспределителя через ниппель 11 в полость 10. Под действием сжатого воздуха диафрагма 12 давит па поршень 13, сжимающий диски. Возврат поршня осуществляется пружинами 8.

Регулируется зазор между дисками вращением гайки 7 на венце. При вращении гайки крышка 11 перемещается вместе з поршнем.





Тормоз і привід автоподачі однокривошипного листоштамповочного пресса КВ-235

кв235 Тормоз однокривошипного листоштамповочного пресса КВ-235

Тормоз і привід автоподачі листоштамповочного пресса КВ-235

Тормоз однокривошипного листоштамповочного пресса КВ-235. Дивитись у збільшеному масштабі



  1. Винт переміщення пальца
  2. Палец
  3. Планшайба
  4. Кулачок
  5. Выключатель
  6. Шкив
  7. Втулка
  8. Крышка
  9. Диафрагма
  10. Поршень
  11. Шкала
  12. Винт поворота планшайби
  13. Шкала
  14. Гайка крепления планшайби
  15. Лента тормозная
  16. Гайка регулировочная
  17. Пружина тормозная
  18. Гайка регулировочная

Тормоз пресса ленточный. Торможение производится пружиной 17, натягивающей тормозную ленту 15 вокруг шкива 6. Шкив, собранный з втулкой 7, посажен на ексцентриковый вал на шпонку. Усилие торможения тормозной ленты регулируется гайками 16 і 18. Растормаживание осуществляется сжатым воздухом, поступающим в полость между крышкой 8 і диафрагмой 9. Диафрагма через поршень 10 сжимает пружину і производит растормаживание.

На цилиндрический выступ втулки 7 насажена планшайба 5 приводу автоподач. На торце планшайби крепится кулачок 4, управляющий через конечный выключатель 5 работой воздухораспределителя. Регулювання кулачка осуществляется поворотом его по окружности і фиксацией болтами по отверстиям. При изменении ходу ползуна, планшайба совместно з кулачком поворачивается при помощи винтов 12 в положение, соответствующее ходу ползуна (в отсчете по шкале 13) і крепится гайками 14.

Изменение ходу автоподачі осуществляется передвижением пальца 2, винтом 1 по пазу планшайби. Отсчет величины ходу ведется по шкале 11.

Механізм наклона позволяет наклонять станину до 30°, что необходимо для скатывания вырубок между стопками станины по наклонной плоскости.

Наклон станины производится поворотом її вокруг осей, запрессованных в корпус станины, проходящих через отверстия в стойках і опирающихся на них.


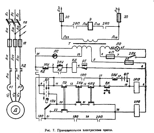
Схема електрична однокривошипного листоштамповочного пресса КВ-235

кв235 Схема електрична однокривошипного листоштамповочного пресса КВ-235

Схема електрична листоштамповочного пресса КВ-235


Образцы продукции однокривошипного листоштамповочного пресса КВ-235

кв235 Образец продукции однокривошипного листоштамповочного пресса КВ-235

Образцы продукции листоштамповочного пресса КВ-235




Технічні характеристики однокривошипного пресса КВ-235

Наименование параметра КВ-235 КД2128
Основні параметри
Номинальное усилие пресса, кН (т) 630 630
Наибольший ход ползуна (штока), мм 16..100 10..100
Частота ходов ползуна непрерывных, 1/мин 90 90
Наибольшее расстояние между столом і ползуном в его нижнем положении - закрытая высота пресса, мм 240
Расстояние от оси штока до станины (вылет), мм 310 260
Величина регулировки расстояния между столом і ползуном, мм 80
Расстояние между стойками станины в свету, мм 290 340
Частота ходов ползуна одиночных от кнопки, 1/мин 45
Розміри стола, мм 570 х 900 480 х 710
Розміри отверстия в столе, мм 240 х 360
Диаметр отверстия в столе, мм 300
Толщина подштамповой плиты, мм 80 80
Розміри нижней поверхности ползуна, мм 310 х 370
Максимальный ход выталкивателя в ползуне, мм 50
Высота стола над уровнем пола, мм 850 840
Тип муфты тормоза УА3144
Електроустаткування
Количество електродвигателей 1 1
Електродвигун головного привода, кВт 7 8,3
Габарити і масса пресса
Габарити пресса (длина ширина высота), мм 1660 х 1880 х 2900 1450 х 1730 х 2880
Масса пресса, кг 6120 5890