metalinstryment.com
Довідник по металорізальних верстатів та пресовому обладнанні

8Г240 Верстат абразивно-отрезной напівавтомат
Схеми, опис, характеристики

8Г240 Верстат абразивно-отрезной







Відомості про виробника абразивно-отрезного верстата моделі 8Г240

Производителем абразивно-отрезного верстата моделі 8Г240 является Мукачевский станкостроительный завод им. Кирова, Украина, Закарпатская область, з Кольчино.

В России абразивно-отрезной верстат 8Г240 производит Машиностроительное Предприятие ПромСтройМаш, г. Оренбург.





Верстати, выпускаемые Мукачевским станкостроительным заводом им. Кирова


8Г240 Верстат абразивно-отрезной напівавтомат. Назначение, область применения

Отрезной верстат 8Г240 предназначен для разрезки абразивными отрезными кругами черных металлов различных профилей на мерные длины.

Принцип роботи і особливості конструкції верстата 8Г240

Верстат 8Г240 напівавтоматический: зажим-разжим заготовки, подача-отвод отрезного круга - гідравлические.

Для всех отрезных верстатів необходимо, чтобы з уменьшением диаметра абразивных кругов непрерывно увеличивалась его частота обертання, что сохраняет скорость різання і повышает износостойкость кругов.


Основні технические характеристики отрезного верстата 8Г240


Разрезка на абразивно-отрезных верстатах

Разрезка материалов различной твердости абразивными і алмазными кругами является наиболее економичной из всех существующих способів; например:

Абразивная разрезка стальных нержавеющих труб в 3..6 раз дешевле разрезки другими методами.

Отрезка прутка диаметром Ø 60 мм из стали 45 абразивным кругом осуществляется за 6 с, а дисковий пилкою за 2 мин.

Производительность разрезки заготовок из

При етом методе разрезки обеспечивается поверхность, не нуждающаяся в післядующей обработке.

Отклонение от перпендикулярности плоскости среза обычно не превышает 0,05 мм, а высота микронеровностей при оптимальной зернистости круга і режиме отрезки составляет 0,002 мм.

Ширина реза при данном методе разрезки является минимальной і не превышает 2—3 мм.

Данный метод особенно еффективно применять для разрезки труднообрабатываемых материалов: стекла, керамики, твердого сплава, полупроводников, фарфора, огнеупорного кирпича, мрамора, гранита, кварца, вольфрама і других материалов.




Загальний вигляд абразивно-отрезного верстата 8Г240

фото абразивно-отрезного верстата 8Г240

Фото абразивно-отрезного верстата 8Г240


фото абразивно-отрезного верстата 8Г240

Фото абразивно-отрезного верстата 8Г240


фото абразивно-отрезного верстата 8Г240

Фото абразивно-отрезного верстата 8Г240


фото абразивно-отрезного верстата 8Г240

Фото абразивно-отрезного верстата 8Г240


фото абразивно-отрезного верстата 8Г240

Фото абразивно-отрезного верстата 8Г240


фото абразивно-отрезного верстата 8Г240

Фото абразивно-отрезного верстата 8Г240


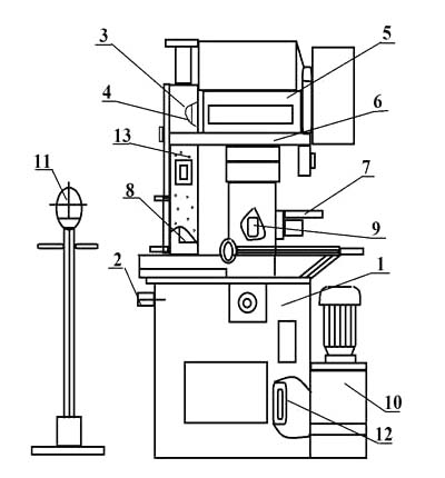
Розташування основних вузлів отрезного верстата 8Г240

Розташування основних вузлів отрезного верстата 8Г240

Розташування органів керування ножовочным верстатом 8Г240


Список основних вузлів отрезного верстата 8Г240

  1. Станина;
  2. Редуктор поворота шпиндельной головки;
  3. Ограждение круга;
  4. Кожух;
  5. Головка шпиндельна;
  6. Шпиндель;
  7. Механізм компенсации износа круга;
  8. Датчик реверса;
  9. Цилиндр подачі;
  10. Гідросистема;
  11. Подставка;
  12. Панель керування;
  13. Пульт керування.

8Г240 Розташування органів керування отрезным верстатом

Розташування органів керування отрезным верстатом 8Г240

Розташування органів керування отрезным верстатом 8Г240


Список органів керування верстатом для резки металла 8Г240

  1. Рукоятки регулировки высоты подставки;
  2. Рукоятка поворота шпиндельной головки на рез под углом;
  3. Рукоятка стопорения стола;
  4. Винт налаштування механізма компенсации износа круга на диаметр разрезаемой заготовки;
  5. Рукоятка налаштування упора по длине;
  6. Дроссель налаштування величины подачі;
  7. Лампочка "Сеть";
  8. Лампочка увімкнення гідроприводу і наличия давления;
  9. Лампочка контроля кінця реза і состояния круга;
  10. Тумблер зажиму заготовки і її разжима (в наладке);
  11. Тумблер подачі круга (в наладке) і его відведення;
  12. Переключатель режима роботи;
  13. Кнопка увімкнення напівавтоматичного цикла;
  14. Кнопка "Пуск" (гідроприводу і круга);
  15. Тумблер увімкнення освещения;
  16. Кнопка "Стоп".




Кінематична схема абразивно-отрезного верстата 8Г240

Кінематична схема абразивно-отрезного верстата 8Г240

Кінематична схема абразивно-отрезного верстата 8Г240


Разрезка заготовок на станке осуществляется подачей вращающегося отрезного круга на заготовку, зажатую в призмах верстата.

Работа верстата 8Г240 состоит из следующих переходов:

  1. Установка заготовки;
  2. Прорух заготовки до упора;
  3. Зажим заготовки;
  4. Подача отрезного круга на заготовку;
  5. Возврат отрезного круга в исходное положение;
  6. Разжим заготовки.

Опис конструкції основних вузлів абразивно-отрезного верстата 8Г240

Станина абразивно-отрезного верстата 8Г240

На нерухомому корпусе гідроцилиндра 5 установлен поворотный корпус 4 з кронштейном для установки шпиндельной головки. Осью поворота корпуса 4 является гідроцилиндр 5, который через коромысло 10. планки 11, тяги 9 связан з зажимными планками 7.

Редуктор поворота

Редуктор предназначен для поворота шпиндельной головки на угол різання і представляет собой литой корпус 2, в котором смонтирована червячная передача. На выходном валу червячного колеса 1 установлено зубчатое колесо 3, которое входит в зацепление з зубчатым сектором 8 закрепленным на корпусе 4.

Для поворота шпиндельной головки на нужный угол (см. рис.2) расфиксируйте стол поворотом рукоятки 3, і вращением рукоятки 2 установите стол по нониусу. Рукояткой 3 снова зафиксируйте стол. Стол фиксируется переміщенням разрезной конусной шайбы 15 (рис.4) по конусной поверхности опори при стягивании шайбы винтом 14.

Огражение верстата 8Г240

Ограждение 8Г240 предназначено для защиты робочого от абразивной і металлической пыли, образующейся в процессе різання. Оно состоит из защитного кожуха 9, закрепленного на шпиндельной головке, ограждения 3, состоящего из переднего литого чугунного корпуса 10, на котором находится пульт керування верстатом, і заднего литого чугунного корпуса 8, в котором установлен шламосборник 7. Корпуса 8 і 10 закреплены на поворотном столе верстата. На них закреплен сварной корпус ограждения 3, который сверху имеет патрубок 5 для подключения верстата к цеховой вентиляции, либо к пылесосу ПА2-12М для удаления абразивной і металлической пыли, не попавшей в процессе роботи в шламосборник. Сварной корпус ограждения справа имеет паз, в котором перемещается шпиндель з отрезным кругом в защитном кожухе, слева - дверки 4 для смены круга. На литых корпусах слева і справа установлены в направляючих 2 заслонки 1, 6 і 11, 12, прикрывающие прорези ограждения з целью защиты оператора от искр. Нижние направляющие заслонок необходимо очищать от шлама по мере из загрязнения, а шламосборник 8 - не реже одного раза в смену.

Шпиндельная головка

Головка представляет собой литой корпус2, в направляючих которого для натяжения ременной передачи винтом 3 перемещается електродвигатель 5 з подмоторной плитой 4. Корпус 2 з осью 8 закреплен на поворотной столе верстата. Передача обертання от електродвигуна на шпиндель осуществляется ременной передачей, размещенной в кожухе 3. На корпусе2 монтируется шпиндель отрезного круга і гідроцилиндр подачі 1. Изменение скорости різання осуществляется сменой шкивов на валу електродвигуна. На кожухе ременной передачи имеется табличка з параметрами шкивов для получения необходимых швидкостей різання.

Шпиндель

В корпусе 2 на высокоточных радиально-упорных підшипниках 1 установлен шпиндель 4. На шпинделе 4 фланцами 5. 6 і гайкой 7 крепится отрезной круг. Вращение шпинделя осуществляется ременной передачей через шкив 3.

Механізм компенсации износа круга верстата 8Г240

Механізм компенсации износа круга верстата 8Г240 предназначен для сохранения постоянства величины поднятия кромки абразивного круга над разрезаемой заготовкой. Механізм состоит из подвижных лепестков 5 і 11, регулируемого упора 4. кронштейна 1, нерухомого упора 12 і двух бесконтактных датчиков "И" і "Ж". Все подвижные елементы смонтированы на оси 10 і крышке 6. До начала реза шпиндельна головка находится в крайнем верхнем положении, при етом указатель 3 должен быть установлен по шкале 2 в соответствии з диаметром разрезаемой заготовки і зафиксирован винтом. ВНИМАНИЕ! После налаштування указателя 3 лепесток 11 следует довернуть рукой по часовий стрелке упора. При подаче шпиндельна головка ведет за собой лепесток 5, причем лепесток самоустанавливается в рабочее положение каждого следующего реза по упору 4. После окончания реза кромка круга, доходит до датчика реверса, післядний дает команду на отвод шпиндельной головки. При останове шпиндельной головки лепесток 5 за счет сил трения между подпружиненными шариками 7 і крышкой 6 синхронно перемещается к датчику "Ж". В момент совмещения отогнутого ушка лепестка 5 з датчиком "Ж" шпиндельна головка останавливается, при етом кромка абразивного круга всегда находится на высоте 5...20 мм над поверхностью заготовки. Высоту выхода круга над заготовкой можно корректировать переміщенням указателя 3 в пределах 0,5 деления шкалы 2. По мере износа абразивного круга лепесток 11 постепенно перемещается к датчику "И" і при полном износе замыкает его. Датчик дает сигнал на возврат шпиндельной головки в исходное положение, а на пульті керування загорается сигнальная лампочка "Круг изношен". Упор 12 устанавливает лепесток 5 в исходное положение.

ПРИМЕЧАНИЕ. В связи з быстрым износом абразивного круга при обработке материала диаметром 100мм рекомендуется работать на станке в ручном режиме.

Датчик реверса

Датчик реверса устанавливается на переднем корпусе ограждения і предназначен для подачі команды на возврат шпиндельной головки в исходное положение після разрізання заготовки. На оси 5установлен рычаг 1 з твердосплавной пластинкой, который жестко связан см. подпружиненным малым рычагом 2, воздействующим на микропереключатель 4. После окончания реза абразивный круг нажимает на твердосплавную пластинку, рычаг поворачивается і микропереключатель дает команду на отвод шпиндельной головки. В узле имеется возможность подводить рычаг под заготовку в зависимости от її размеров. Для етого необходимо отвернуть болт 3 крепления рычага на один оборот, подвести рычаг под заготовку в требуемое положение, завернуть болт і проверить правильность срабатывания датчика.

Рольганг

Рольганг предназначен для поддерживания свободного кінця длинномерного материала в процессе різання. Подставка состоит из основания 1, стойки 2 і кронштейна 3 з роликом 4. Высота ролика регулируется вращением стойки относительно основания і фиксируется контргайкой 5. В комплекте верстата поставляется три подставки, обеспечивающие поддерживание заготовки длиной до 6000мм.




Схема гідравлічна принципова

Гідропривід верстата обеспечивает рабочий і обратный ход шпиндельной головки в наладочном і напівавтоматическом режимах, а также зажим і разжим отрезаемой заготовки. Гідросистема верстата включает в себя гідростанцию СГ1, расположенную рядом со верстатом: гідроциліндри зажиму Ц1 і подачі Ц2; регулятор расхода РП1, установленный на передньої стенке станины, а также клапан давления КД1 з гідрораспределитялями ГР1 і ГР2, которые смонтированы на гідропанеле, закрепленной на задньої стенке станины. Подвод масла к гідропанелі осуществляется по рукавам 1 і 9. Подвод масла от гідропанелі к цилиндру Ц1 осуществляется по рукавам 11 і 12, а к цилиндру по рукавам 5 і 6 через регулятор подачі РП1.


Опис роботи абразивно-отрезного верстата 8Г240

Верстат имеет два цикла роботи напівавтоматический і наладочный.

Полуавтоматический цикл роботи

Связь руху при выполнении окремих елементів цикла следующая:

При нажатии кнопки «Пуск» начинает работать насос НП1 і гідростанція СГ1. О наличие давления в гідросистеме свидетельствует загоревшаяся полным накалом лампа на пульті керування. Давление в гідросистеме поддерживается предохранительным клапаном Кд2. При отсутствии рабочих движений масло через клапан КД2 поступает на слив в бак гідростанції.

После подвода заготовки до упора, при нажатии кнопки «Цикл» SB3 срабатывает електромагнит Y2 гідроклапана ГР1 і електромагнит Y3 гідроклапана ГР2. При етом масло от насоса НП1 через гідроклапан ГР1 по рукаву 11 поступает в верхнюю полость цилиндра Ц1 і происходит зажим заготовки на ГР2. При ето масло от насоса НП1 через гідроклапан КД1, который открывает проход для поступления масла от насоса по каналу 4 через гідрораспределитель ГР2, по рукаву 5 в нижнюю полость гідроцилиндра Ц2.

Происходит рабочая подача абразивного круга до срабатывания конечного выключателя SQ3, который включает електромагнит Y4 і отключает електромагнит Y3 гідрораспределителя ГР2. Скорость рабочей подачі регулируется налаштуванням регулятора расхода РП1.

Происходит отвод абразивного круга. Шпиндельная головка возвращается в исходное положение, при ето срабатывает конечный выключатель SQ1, который выключает електромагнит Y1 і включает електромагнит Y2 гідрораспределителя ГР1.

Происходит разжим заготовки і відключення електромагнита Y2.

После подвода следующей заготовки до упора і нажатия кнопки SB3, цикл повторяется.

Наладочный цикл роботи

В данном режиме имеется возможность производить порознь ранее описанные руху узлом верстата з подачей команды от окремих кнопок на пульті керування верстата.




8Г240 Верстат абразивно-отрезной. Відеоролик.




Технічні характеристики абразивно-отрезного верстата 8Г240

Наименование параметра 8Г240
Основні параметри верстата
Диаметр отрезного абразивного круга, мм 300/ 400
Максимальный износ абразивного отрезного круга до диаметра, мм
Толщина отрезного абразивного круга, мм 3,2; 4
Посадочный диаметр отрезного абразивного круга, мм 32h6
Наибольший диаметр отрезаемого прутка (угол реза 90°), мм 60
Наибольший диаметр отрезаемой трубы (угол реза 90°), мм 100
Наибольшие розміри разрезаемого квадрата, мм 60 х 60
Наибольшие розміри уголка, мм 90 х 90 х 9
Наибольшие розміри швеллера, мм № 10
Длина отрезаемой заготовки по упору, мм 25..500
Угол резки, град 90° ± 45°
Начальная скорость різання, м/сек 50, 63, 80, 100
Частота обертання отрезного абразивного круга Ø 300 мм, об/мин 3185, 4013, 5096, 6310
Частота обертання отрезного абразивного круга Ø 400 мм, об/мин 2389, 3010, 3822, 4777
Перемещение материала до упора гідравл
Привід вспомогательных движений гідравл
Регулювання зажиму для различных размеров материалов автоматич
Шпиндельная головка
Величина ходу шпиндельной головки, мм
Скорость подачі абразивного круга, мм/мин 60..2600
Регулювання скорости подачі абразивного круга бесступ
Скорость відведення абразивного круга, мм/мин 3000
Електроустаткування верстата
Количество електродвигателей на станке
Електродвигун головного привода, кВт (об/мин) 15
Електродвигун насоса охлаждения, кВт (об/мин) 0,12
Габарит і масса верстата
Габарит верстата (длна х ширина х высота), мм 1800 х 1910 х 1810
Масса верстата, кг 1230

    Список литературы:

  1. Веселовский С.И. Разрезка материалов, 1973
  2. Дроздов Ф., Лебедевич В., Рубежин В. Справочное пособие по отрезным верстатам, 1967