metalinstryment.com
Довідник по металорізальних верстатів та пресовому обладнанні

Schaublin 13 Верстат фрезерный універсальний високою точності
схеми, опис, характеристики

Загальний вигляд  фрезерного верстата Schaublin 13 широкоуніверсального







Відомості про виробника фрезерного універсального верстата Schaublin 13

Токарно-гвинторізний універсальний верстат моделі Schaublin 135 выпускался предприятием Shaublin (Шоблен), основанным в 1915 году, Швейцария, город Bevilard.

Верстати фирмы Schaublin поставляются в СССР і Россию з 1970 года.

Гамма верстатів фирмы производителя достаточно широка: токарные, фрезерные і шлифовальные верстати високою точності от настольных і универсальных до обрабатывающих центров з ЧПУ і приводным инструментом.





Верстати, выпускаемые в Швейцарии


Schaublin 13 Верстат фрезерный універсальний високою точності. Назначение і область применения

універсальний верстат Schaublin 13 выпускался заводом длительное время з начала 50-х годах прошлого века і претерпел заметные изменения і усовершенствования.

Фрезерный верстат моделі Schaublin 13 предназначен для фрезерування деталей цилиндрическими, дисковыми і фасонными фрезами при помощи горизонтального шпинделя, і торцовыми, кінцівыми і шпоночными фрезами при помощи поворотного вертикального шпинделя, который при необходимости може быть повернут под углом.

Оисание верстата, приведенное ниже, относится к моделі Schaublin 13 выпускаемой в 1966..1968 году.

Принцип роботи і особливості конструкції верстата

Обрабатываемая деталь може быть установлена на основном столе з вертикальной рабочей плоскостью или на угловом столе з горизонтальной рабочей плоскостью. Для обробки наклонных поверхностей деталь може устанавливаться на универсальном столе.

Для обробки деталей, требующих деления, могут быть использованы круглый стол либо делительная головка.

Используя резцовую, быстроходную, долбежную головки і комплект вспомогательного инструмента, можно выполнять на станке расточные, сверлильные і долбежные роботи. Подробное опис етих устройств приводится ниже.

К верстату прилагается удобный для пользования инструментальный шкаф, а также комплект пристосувань і инструмента.

Технологические возможности верстата могут быть значительно расширены применением приладдя і пристосувань, поставляемых за особую плату.

На станке можно выполнять ряд фрезерных і расточных работ з високою точностью, которая може быть достигнута, если верстат установлен в помещении з постоянной температурой 20±2°С і влажностью 65±5%, если вблизи верстата нет источников тепла і вибрации. На станке можно выполнять, также, сверление і рассверливание, долбление, центрование, цекование, зенкерование, развертывание, растачивание.

Наличие двух шпинделей горизонтального і поворотного вертикального, а также большого количества приладдя к верстату, делает его широкоуниверсальным і удобным для роботи в инструментальных цехах машиностроительных заводов при изготовлении пристосувань, инструмента, рельефных штампов і прочих изделий.

Широкий диапазон оборотів шпинделя і подач, наличие механических подач і быстрых перемещений обеспечивают економичную обработку различных деталей в оптимальных режимах.

Верстат применяется в единичном і мелкосерийном производстве в инструментальных і механических цехах машиностроительных предприятий.

Класс точності верстата Н.

Преимущества использования широкоуніверсального фрезерного верстата Schaublin 13:




Габаритные розміри робочого простору фрезерного верстата Schaublin 13

Габаритные розміри робочого простору і присоединительные базы верстата Schaublin 13

Габаритные розміри робочого простору верстата Schaublin 13

Габаритные розміри робочого простору верстата Schaublin 13. Дивитись у збільшеному масштабі



Присоединительные базы фрезерного верстата Schaublin 13

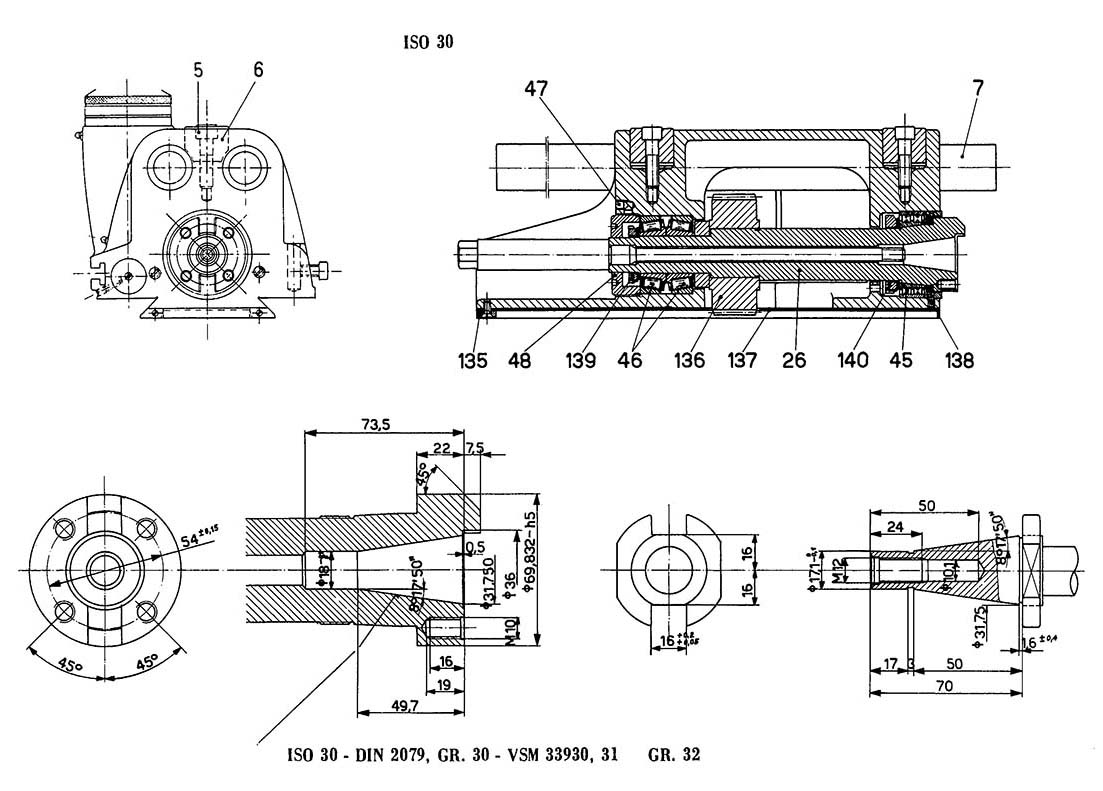
Горизонтальная шпиндельна головка фрезерного верстата Schaublin 13 з конусом ISO 30

Горизонтальная шпиндельна головка верстата Schaublin 13 з конусом ISO 30

Горизонтальная шпиндельна головка фрезерного верстата Schaublin 13 з конусом ISO 30. Дивитись у збільшеному масштабі



Горизонтальная шпиндельна головка фрезерного верстата Schaublin 13 з конусом Morse 4

Горизонтальная шпиндельна головка верстата Schaublin 13 з конусом Morse 4

Горизонтальная шпиндельна головка фрезерного верстата Schaublin 13 з конусом Morse 4. Дивитись у збільшеному масштабі



Вертикальная шпиндельна головка фрезерного верстата Schaublin 13 з конусом ISO 30

Вертикальная шпиндельна головка верстата Schaublin 13 з конусом ISO 30

Вертикальная шпиндельна головка фрезерного верстата Schaublin 13 з конусом ISO 30. Дивитись у збільшеному масштабі




Загальний вигляд широкоуніверсального фрезерного верстата Schaublin 13

Фото фрезерного широкоуніверсального верстата Schaublin 13

Фото фрезерного широкоуніверсального верстата Schaublin 13


Фото фрезерного широкоуніверсального верстата Schaublin 13

Фото фрезерного широкоуніверсального верстата Schaublin 13

Фото фрезерного широкоуніверсального верстата Schaublin 13. Дивитись у збільшеному масштабі



Фото фрезерного широкоуніверсального верстата Schaublin 13

Фото фрезерного широкоуніверсального верстата Schaublin 13

Фото фрезерного широкоуніверсального верстата Schaublin 13. Дивитись у збільшеному масштабі



Фото фрезерного широкоуніверсального верстата Schaublin 13

Фото фрезерного широкоуніверсального верстата Schaublin 13

Фото фрезерного широкоуніверсального верстата Schaublin 13. Дивитись у збільшеному масштабі



Фото фрезерного широкоуніверсального верстата Schaublin 13

Фото фрезерного широкоуніверсального верстата Schaublin 13

Фото фрезерного широкоуніверсального верстата Schaublin 13. Дивитись у збільшеному масштабі



Фото фрезерного широкоуніверсального верстата Schaublin 13

Фото фрезерного широкоуніверсального верстата Schaublin 13

Фото фрезерного широкоуніверсального верстата Schaublin 13. Дивитись у збільшеному масштабі



Розташування складових частин верстата Schaublin 13

Розташування складових частин верстата Schaublin 13

Розташування складових частин фрезерного верстата Schaublin 13

Фото фрезерного широкоуніверсального верстата Schaublin 13. Дивитись у збільшеному масштабі







Схема кінематична універсального фрезерного верстата Schaublin 13

Схема кінематична універсального фрезерного верстата Schaublin 13

Кінематична схема універсального фрезерного верстата Schaublin 13



Кінематична схема головного приводу верстата Schaublin 13

Кінематична схема головного приводу верстата Schaublin 13



Опис конструкції фрезерного верстата Schaublin 13

Станина з двигателем і шпиндельным приводом 13-300/13-400

Монолитная станина содержит в нижней частини главный двигатель і двигатель быстрых подач; в верхней її частини содержатся привід шпинделя і вариатор. Масляная ванна не только обеспечивает смазку шпиндельного привода, но служит, кроме того, резервуаром для системы центральной змазки. Закрепленные на станине вертикальные і поперечные рейки є частью обычного оборудования верстата. С правой стороны проделан Т-образный паз, в котором размещены упоры вертикального ползуна.

Электрические провода для рабочей лампы (78714.0000) уже проложены внутри станины. Для установки етой лампы надо снять крышку (13-303) і подключить провод к установленному под крышкой зажиму. 4 гвинта (COM M6x40/l7) служат для крепления цоколя лампы.

Технический уход. Смазка

Из—за двойного назначения масляной ванны запас содержащегося в ней масла должен постоянно возобновляться. (См. главу "Система центральной змазки"). Тем не менее резервуар должен опоражниваться ежегодно і прочищаться керосином. Затем его заправляют свежим маслом.

Емкость резервуара до черты "Макси" равняется 2,5 л. См. таблицу змазки, стр.9 і 10.

Примечание: Никогда не смешивать масла разных сортов или разного происхождения. Это може вызвать химическую реакцию, в результате которой они утратят свое смазывающее свойство.

Варіатор 13-500

Шкала швидкостей от 58 до 2000 об/мин разделена на два диапазона, обозначенные на барабане красным і зеленым цветом, соответственно. Скорости обертання шпинделя могут выбираться постепенно на обоих диапазонах при помощи маховичка(13-74), причем такая регулировка должна производиться во время ходу верстата.

Варіатор блокируется рычагом (13-508).

Переход з одного диапазона швидкостей на другой производится только во время остановки верстата. Для етого используется рычаг (l3-41b). Нанесенная на станину точка, соответствующая цвету выбранного диапазона, указывает включенный диапазон.

Технический уход. Смазка

Ось шкива варіатора, равно как і регулировочный механізм, смазываются системой центральной змазки.

3-4 нажима на грибовидную нажимную кнопку достаточны для того, чтобы провести суточную смазку различных органів.

См. таблицу змазки, стр. 9 і 10. Регулювання натяжения ремней.

Чтобы получить доступ к приводным ремням, надо снять крышку (13-302) з задньої стороны станины, отвинтив 2 гвинта (ССМ М10х70/25).

Регулювання верхнего клинового ремня

  1. Установить маховичок (13-74) на самую большую скорость 2000 об/мин.
  2. Отжать два блокировочных гвинта (ССМ М8х45/20) опори шкива варіатора і установить ету опору так, чтобы верх ремня приходился на 1 мм ниже, чем верхний край шкива.
  3. Затем зажать оба блокировочных гвинта.

Регулювання нижнего клинового ремня

  1. Отжать винты (ССМ М12х42/30 і DCMB М12х35) приводу подач для ослабления приводного ремня подач.
  2. При помощи двух гаек (0,5d M14) установить коромысло двигуна так, чтобы шпиндель достиг максимальной скорости.
  3. Вновь зажать обе гайки (0,5 dM14).
  4. Навести вариатор на самую малую скорость (58 об/мин) і удостовериться в том, что клиновой ремень также находится на 1 мм ниже наружного диаметра шкива.

Вновь натянуть приводной ремень (см. главу "Привід подач").

Смена ремня

Для смены обоих клиновых ремней (Варифлекс Z 26,5 х 9 х 1305/-30°) отжать обе гайки (0,5d М14), затем приподнять коромысло.

Это позволит снять нижний ремень шкива двигуна і верхний ремень шкива привода.

Для замены старых ремней новыми см. предыдущий раздел.

Система ЦЕНТРАЛЬНОЙ СМАЗКИ 13-8500 універсального фрезерного верстата Schaublin 13

Схема змазки універсального фрезерного верстата Schaublin 13

змазки схема універсального фрезерного верстата Schaublin 13



Как указано в разделе 3.1, масляная ванна шпиндельного приводу служит также резервуаром системе центральной змазки.

В станине, з правой її стороны, расположены: плунжерный насос для змазки з приводом от грибовидной нажимной кнопки, масломерное стекло з пометками "Макси" і "Мини", а также наливное отверстие (закрытое винтом (20-20.097)).

Под действием поршня (грибовидная нажимная кнопка) смазочное средство поступает в два дозатора, из которых необходимые количества масла распределяются по различным органам верстата. При отжатии нажимной кнопки поршень - под действием нажимной пружины - возвращается в исходное положение і цилиндр вновь наполняется маслом. Возвратный клапан не позволяет маслу вытекать из маслопровода.

Система центральной змазки обслуживает наступні частини: Вертикальный, продольный і поперечний ползуны Продольный винт Варіатор і Пристрій свободного колеса быстрой подачі.

Дозировка смазочного материала осуществляется 3-мя - 4-мя нажимами на поршень насоса, которых вполне достаточно, чтобы обеспечить безупречную смазку в течение суток.

После длительного простоя (например в кінці недели) от 8 до 10 нажимов на насос позволяют заполнить все канавки повзунів.

Технический уход

Насос центральной змазки не требует никакого технического ухода.

Уровень масла проверяется еженедельно, и, в случае надобности , резервуар пополняется до метки "Макси". До етой метки емкость резервуара составляет примерно 2,5 л.

Примечание; Никоим образом не смешивать масла разного качества і разного происхождения. Они могут химически прореагировать і утратить свои смазывающие качества.

Горизонтальная шпиндельна головка 13-2200

Шпиндельная головка може быть снабжена шпинделем з конусом ISO 30 или головкой з конусом Морзе. Однако конструкция етих двух варіантіводинаковая.

Демонтаж горизонтальной шпиндельной головки

Демонтаж етот необходим для очистки или для смены підшибників шпинделя.

Провести наступні операции:

Демонтаж шпинделя

Демонтаж, монтаж і наладку шпинделя следует поручать только опытному, надежному работнику. Демонтаж производить следующим образом:

Регулювання підшибників

Монтаж свежесмазанных или новых шарикопідшибників производится в том же порядке, что і демонтаж шпинделя. После монтажа шпинделя поворачивать гайку (13-2209) до полного устранения зазору между шарикопідшипниками. В таком положении шарикопідшипники подвергаются предварительному натягу передвижением гайки на 1/100 мм.

Поворот, соответствующий етому передвижению, исчисляется следующим образом:




Вертикальный ползун (консоль)

Продольный ползун

На обработанной стороне продольного ползуна проделаны 2 Т-образных паза, которые крепят обрабатываемую деталь в вертикальной плоскости. Консольный стол може также быть закреплен в етих пазах.

По обе стороны продольного ползуна расположены два маховичка для продольных передвижений. Как і для переруху вертикального ползуна, оба маховичка включаются в осевом направлении.

Градуированный барабан (13-3715) може зажиматься посредством зажимной кнопки (13-3716), расположенной в ступице маховичка. Продольный винт предохраняется от стружки і от смазочно-охлаждающей жидкости металлическим покрытием (Эластикон 13-3708).

Технический уход Смазка

Ползуны, как і продольный винт, смазываются системой центральной змазки; подводящие масло трубы проходят над вертикальным ползуном. От 3-х до 4-х нажимов на грибовидную кнопку достаточно для суточной змазки различных органів. См. таблицу змазки, стр. 9-10.

Смена левой защитной крышки ходового гвинта

  1. Отвести продольный ползун на крайнюю левую позицию
  2. Отжать блокировочный винт (ССМ М12х35) поздовжньої гайки (см. узел вертикального ползуна)
  3. Отвинтить 4 гвинта (ССМ М8х60/17) левой частини маслоотражательной плиты (13-3723) і снять весь узел
  4. Сменить защитную крышку
  5. Вставить обратно гайку в опорную втулку (13-3267) і заблокировать її блокировочным винтом (ССМ Ml2x35)
  6. Центрировать защитную крышку в той же опорной втулке
  7. Временно зажать маслоотражательную плиту, не завинчивая до отказа 4 гвинта
  8. Сместить маслоотражательную плиту з продольным ползуном в правую сторону і центрировать на свободной частини гайки
  9. Зажать все 4 гвинта (ССМ М8х60/17).

Смена правой защитной крышки гвинта

  1. Сместить продольный винт на крайнюю правую позицию
  2. Отжать 4 гвинта (ССМ М8х60/17) правой маслоотражательной плиты (13-3724) і снять ее
  3. Сменить защитную крышку
  4. Временно прикрепить маслоотражательную плиту к продольному ползуну, не завинчивая окончательно 4 гвинта
  5. Отодвинуть ползун на крайнюю левую позицию і центрировать его на кінці гвинта і в вертикальном ползуне
  6. Зажать 4 гвинта (ССМ M8x60/l7).

Механізм подач 13-1200

Механізм подач приводится в действие клиновым ремнем, соединенным з двигателем. Монтированные на трех валах зубчасті колеса обеспечивают совместно 10 рабочих подач со скоростями в пределах от 12 до 400 мм/мин. Для выбора подачі используются 2 соосных накатанных кнопки. Цифры, появляющиеся в небольшом смотровом окошке при повороте наружной кнопки, показывают скорости подач в мм/мин. Для выбора подач, намеченных на пер вой шкале, поворачивают наружную накатанную кнопку, рабочий ход которой составляет 180° . Для выбора подач по второй шкале производят наступні операции: поворачивают наружную кнопку до упора, затем поворачивают внутреннюю кнопку до тех пор, пока во втором смотровом окошке не появятся цифры, по которым выбираются требуемые подачі.

Механізм подач снабжен отдельной масляной ванной. За проходом в ней колес нужно наблюдать через смотровое окошко, расположенное в верхней частини.

В основании расположено пристрій свободного колеса, благодаря которому подачі работают всегда в одном і том же направлении, независимо от направления обертання головного двигуна.

В вертикальном ползуне, на кінці вертикального ведущего вала монтировано шариковое предохранительное пристрій. Оно предохраняет механізм от перегрузки. В случае такой перегрузки оно подает звук трещотки, при появлении которого должно быть прекращено всякое рух подачі.

Технический уход Смазка

Ввиду того что коробка швидкостей снабжена отдельной масляной ванной, особого ухода не требуется. Рекомендуется, однако, при рабочем ходе верстата производить иногда проверку через масляное смотровое окно. Если колеса более не передвигаются в масле, ванну следует дополнить. Емкость ванны - 0,5 л.

Коробку швидкостей рекомендуется очищать 1 раз в год керосином і заполнять резервуар свежим маслом. Винт для опорожнения расположен непосредственно под двумя накатанными кнопками, а отверстие для заправки — рядом со смотровым окном масляной ванны.

Те частини механізма подач, которые расположены в основании і в вертикальном ползуне, смазываются системой центральной змазки.

От 3 до 4 нажимов на грибовидную кнопку достаточно для суточной змазки различных органів.

Пристрій быстрой подачі 13-1300

Скорость быстрой подачі в вертикальном і продольном направлениях составляет 1200 мм/мин. Эта скорость обеспечивается скоростным двигателем, управляемым педалью з передньої стороны станины. Пристрій свободного колеса позволяет ускорить вращение ведущего вала так, чтобы она превышала скорости подач.

Скоростной двигатель приводит в действие ведущий вал посредством еластичного сцепления.

Технический уход

Пристрій быстрой подачі не требует никакого ухода.

Распределительный шкаф 13-14.010/14.020

Электроаппаратура помещается в шкафу, закрепленном на правой стороне верстата. На двери шкафа монтированы; главный выключатель, выключатель для выбора направления обертання і для насоса, подающего смазочно-охлаждающую жидкость, а также нажимные кнопки для пуска в ход і для остановки верстата. Оба выключателя снабжены предохранительным пристрійм, препятствующим открытию двери шкафа, если какая-либо ланцюг замкнута. Дверь открывается только тогда, когда выключатели находятся на положении 0.

На внутренней стороне двери прикреплен карманчик, куда складываются електрические схеми.

В шкафу предусмотрено место для добавочного тормоза двигуна.

В распределительной коробке, помещенной з левой стороны станины, находится вторая пара нажимных кнопок для пуска в ход і для остановки верстата. Это обеспечивает большую простоту действий по обе стороны верстата.

В коробке содержатся, кроме того, 2 штепселя "Амфенол" 6 в, от которых питается схема освещения различных станочных пристосувань, таких, как центрирующий микроскоп, визуальные считывающие пристроя і т.д. Електричналанцюг обоих штепселей замыкается одним выключателем.

Разъединители распределительного шкафа предохраняют наступні вузли:

В случае выхода из строя одного из перечисленных выше органів необходимо определить причину аварии і произвести требуемый ремонт, прежде чем включать соответствующий разъединитель.

В случае неисправности схеми 6 в (штепсель Амфенол) сменить плавкий предохранитель (5 х 20 2 амп.) e1.




Смазочно-охлаждающее пристрій

Масляный резервуар (емкость - 28 л) з плунжерным насосом расположен з наружной стороны основания і является поетому легко доступным. Он подвешен на 2 гвинтах (ССМ М8х18) з задньої частини верстата.

Электрическое присоединение насоса обеспечивается штепселем з правой стороны шкафа. Циркуляция смазочно-охлаждающей жидкости може регулироваться вместе з направлением обертання посредством выключателя-преселектора (см. раздел "Распределительный шкаф"). Пуск в ход насоса производится одновременно з пуском головного двигуна, нажимом на кнопку "Старт".

Жидкость по трубке поступает на горизонтальную шпиндельную головку, откуда она направляется по металлическому шлангу на рабочий инструмент.

Кран (ЕМНО 3/8") позволяет регулировать или останавливать расход жидкости. Если жидкостью не пользуются в течение продолжительного часу, насос надо остановить во избежание излишнего износа.

Опорожнение или очистка производятся з большой легкостью, так как резервуар не трудно снять. При етом не следует забывать выключать штепсель і отланцюгить подводящую жидкость трубку. Чтобы отланцюгить трубку, достаточно нажать но рифленую втулку, монтированную на краю трубки. Чтобы соединить трубки, достаточно сдавить их концы.

Жидкость поступает в бак і возвращается в резервуар по резиновой трубке. Фильтр (22-7004) препятствует проходу стружки.

Технический уход

Периодичность чистки зависит от степени загрязнения жидкости. Однако резервуар, насос і трубы следует опорожнять по крайней мере два раза в год і чистить бензином.

Для ухода за плунжерным насосом см. указания изготовляющей его фирмы в разделе 4.

Подшипниковые опори 13-6160

Для использования підшибниківой опори (13-6161) нужно вытянуть оба опорных плеча (13-2005) из горизонтальной шпиндельной головки і закрепить их в требуемом положении.

Подшипниковые опори центрированы на опорных плечах і на фрезерном шпинделе і блокируются винтом (ССМ М12х45/30).

Підшипники - сменные і снабжены самосмазывающимися втулками. Они блокируются в опоре посредством гайки (13-10.002) і болта (22-3019).

Технический уход Смазка

Из-за наличия самосмазывающихся втулок підшибниківые опори не требуют никакого дополнительного ухода.

Вспомогательное обладнання фрезерного верстата Schaublin 13

Вертикальная головка 13-10.200

В вертикальную головку може вставляться шпиндель з конусом ISO 30 или Морзе 4.

Передний подшипник шпинделя состоит из двух сопряженных радиально-упорных підшибників, монтированных з некоторым натягом. Вследствие етого регулировка зазору становится излишней. В нормальных условиях регулировка обеспечивается на срок не менее продолжительный, чем срок змазки шарикопідшибників.

Вертикальная головка приводится в действие горизонтальным шпинделем посредством зубчатых колес (13-10.222 для ISO 30 і 13-10.223 для Морзе 4), закрепленных зажимным ключом (13-2522 или 13-2108).

Число оборотів вертикального шпинделя соответствует числу оборотів горизонтального шпинделя.

Чтобы монтировать вертикальную головку, оба опорных плеча (13-2005) передвигаются на 40 мм вперед і блокируются. Вертикальную головку можно тогда центрировать на обоих плечах і блокировать гайкой (13-10.020). Затем завинчиваются три крепежных гвинта (lxCCM М8х20, 2хССМ М8х55/20).

В вертикальной плоскости головка може совершать поворот на 360°. Расположенные на її передньої стороне 4 гайки позволяют закрепить її в требуемом положении.

Неподвижный консольный стол 13-5420

Неподвижный консольный стол монтирован на продольном ползуне при помощи 4 распорных винтов. Два сухаря центрируют стол в верхнем пазу продольного ползуна. (Сухари - 13-4002, распорные винты - 13-3513).

Розміри полезной поверхности стола составляют 700 х 210 мм; в нем проделаны 4 Т-образных паза на расстоянии 40 мм один от другого.

Смазочно-охлаждающая жидкость протекает внутри стола і вытекает по центральной трубе. Три сита (13-5412 і 13-5415) предохраняют трубу от закупорки.

Неподвижный консольный стол не требует никакого особого ухода.

Універсальный стол 13-5300

Універсальный стол закреплен на продольном ползуне 3 распорными гвинтами (13-5307, 13-5395 і 13-3513).

Центрирование обеспечивается двумя сухарями (13-4002) в нижнем пазу.

Розміри полезной поверхности стола составляют 600 х 260 мм; в ней проделаны 4-е Т-образных параллельных паза на расстоянии 40 мм один от другого.

Універсальный стол може перемещаться в трех плоскостях:

Для измерения каждого переміщення стола имеется градуированная рейка. Чтобы наклонить стол, надо вытянуть подпружиненные кнопки (13-5394).

При возвращении на нулевые позиции ети післядние возвращаются на исходное положение і блокируют стол.

Для блокирования стола в продольном і поперечном уклоне используются распорные винты (13-5311), а в горизонтальном вращении -винты (13-5316).

Расположенные по обе стороны стола трубы отводят жидкость в бак.

Універсальный стол не требует никакого особого ухода.


Електрична схема універсального фрезерного верстата Schaublin 13

Електрична схема універсального фрезерного верстата Schaublin 13

Електрична схема універсального фрезерного верстата Schaublin 13






Schaublin 13 Верстат фрезерный універсальний инструментальный. Відеоролик.




Технічні характеристики фрезерного верстата Schaublin 13

Наименование параметра Schaublin 13 6А75в 6Б75в
Основні параметри верстата
Класс точності по ГОСТ 8-82 В В
Розміри вертикального (консольного) стола, мм 200 х 500 200 х 500
Розміри горизонтального (углового) стола, мм 210 х 700 200 х 630 200 х 630
Расстояние от оси горизонтального шпинделя до рабочей поверхности горизонтального стола, мм 40..340 80..450 80..450
Расстояние от торца вертикального шпинделя до рабочей поверхности горизонтального стола, мм 35..405 90..460
Наибольший продольный ход стола маховичком / механически мм 320 / 300 320 320
Наибольший вертикальний ход стола маховичком / механически, мм 375 / 355 320 320
Наибольший ход шпиндельной бабки (Y), мм 150 200 200
Цена деления лимбов, мм 0,02 0,01
Горизонтальный і вертикальний шпиндели верстата
Частота обертання горизонтального шпинделя, об/мин (число ступеней) 58..2000 (Б/с) 40..2000 (Б/с)
40..2240 (32
Частота обертання вертикального шпинделя, об/мин (число ступеней) 58..2000 (Б/с) 40..2000
40..2240
Количество швидкостей шпинделей Б/с Б/с 32
Наибольший допустимый крутящий момент на горизонтальном шпинделе, Нм
Наибольший допустимый крутящий момент на вертикальном шпинделе, Нм 110
Наибольшее осевое перемещение вертикального шпинделя, мм 60 60
Наибольший угол поворота вертикальной головки в вертикальной плоскости, градус ±180° ±90° ±90°
Конус горизонтального і вертикального шпинделей Морзе 4/ ISO 30 Морзе 4 Морзе 4
Стол
Пределы продольных і вертикальних подач стола (X, Z), мм/мин (число подач) 12..400 (10) 8..400 10..600
Ускоренный ход стола, мм/мин 1200 935 1200
Количество подач стола 10 Б/с Б/с
Наибольшее усилие подач стола, кН
Шпиндельная бабка
Пределы поперечных подач шпиндельной бабки (Y), мм/мин 8..400 10..600
Количество подач шпиндельной бабки Б/с Б/с
Наибольшее усилие подач шпиндельной бабки, Н
Електроустаткування і привід верстата
Количество електродвигателей на станке, кВт 3 3 3
Електродвигун головного привода, кВт (об/мин) 2 л.с.(1500) 1,5 (1420) 1,5 (1500)
Електродвигун приводу подач, кВт (об/мин) 0,6 л.с. (3000) 0,5 (1410) 0,37 (3000)
Електродвигун приводу насоса охлаждения, кВт (об/мин) 0,15 (3000) 0,12 0,12
Суммарная мощность електродвигателей, кВт 2,12 1,99
Габарит і масса верстата
Габарити верстата (длина х ширина х высота), мм 1500 х 1100 х 1600 1280 х 1170 х 1750 1520 х 1250 х 1695
Масса верстата, кг 690 1431 1452






Заказать