metalinstryment.com
Довідник по металорізальних верстатів та пресовому обладнанні

ВМ127М Верстат консольно-фрезерный вертикальний
Схеми, опис, характеристики

ВМ127М Верстат вертикально-фрезерный консольный







Відомості про виробника фрезерного верстата ВМ127М

Вертикальный консольно-фрезерный універсальний верстат ВМ127М выпускался на предприятии Воткинский машиностроительный завод, основанный в 1759 году.

Металлорежущие верстати на Воткинском машиностроительном заводе выпускаются начиная з 1956 г. Это вертикально-фрезерные верстати 6Н13, ВМ127, ВМ127М, универсально-фрезерные ВМ130, ВМ133, горизонтально-фрезерные верстати з ЧПУ ВМ500ПМФ4, ВМ501ПМФ4, а также токарний настільний верстат Універсал-В.





Верстати, выпускаемые Воткинским машиностроительным заводом


ВМ127М cтанок вертикальний консольно-фрезерный. Назначение, область применения

Верстат фрезерный консольный вертикальний моделі ВМ127М предназначен для фрезерування всевозможных деталей из стали, чугуна і цветных металлов і сплавов торцовыми, кінцівыми, цилиндрическими, радиусными і другими фрезами в условиях индивидуального, мелкосерийного і серийного производства. Масса детали з пристрійм — до 800 кг.

Консольно-фрезерный верстат ВМ127М заменил в 1988 фрезерный верстат ВМ127.

На станке можно обрабатывать вертикальные, горизонтальные і наклонные плоскости, пазы, углы, рамки, зубчасті колеса і т. д.

Возможность налаштування верстата на различные напівавтоматические і автоматические циклы позволяет организовать многостаночное обслуговування.

Мощный привід головного руху верстата ВМ 127М і тщательно подобранные передаточные отношения обеспечивают оптимальные режими обробки при различных условиях різання і полное использование возможностей быстрорежущего і твердосплавного инструмента.

Простота обслуживания верстата ВМ127М переналадка пристосувань і инструмента представляют значительные удобства при использовании верстата в мелкосерийном производстве.

Автоматическая система змазки вузлів обеспечивает неприхотливость і надежность верстата в самых жестких условиях експлуатации.


Модификация верстата 2012 года

В 2012 году Воткинский завод освоил изготовление новой модификации верстата ВМ127М, в которой:


Загальний вигляд вертикального консольно-фрезерного верстата ВМ127М з УЦИ

Фото широкоуніверсального фрезерного верстата ВМ-130

Фото широкоуніверсального фрезерного верстата ВМ-130

Фото широкоуніверсального фрезерного верстата ВМ-130. Дивитись у збільшеному масштабі



Фото широкоуніверсального фрезерного верстата ВМ-130

Фото широкоуніверсального фрезерного верстата ВМ-130

Фото широкоуніверсального фрезерного верстата ВМ-130. Дивитись у збільшеному масштабі



Фото широкоуніверсального фрезерного верстата ВМ-130

Фото широкоуніверсального фрезерного верстата ВМ-130

Фото широкоуніверсального фрезерного верстата ВМ-130. Дивитись у збільшеному масштабі



Фото широкоуніверсального фрезерного верстата ВМ-130

Фото широкоуніверсального фрезерного верстата ВМ-130

Фото широкоуніверсального фрезерного верстата ВМ-130. Дивитись у збільшеному масштабі



ВМ127М Загальний вигляд  консольно-фрезерного верстата

Фото консольно-фрезерного верстата вм127м


ВМ127М Загальний вигляд  консольно-фрезерного верстата

Фото консольно-фрезерного верстата вм127м

Фото консольно-фрезерного верстата вм127м. Дивитись у збільшеному масштабі



Розташування складових частин консольно-фрезерного верстата ВМ127М

ВМ127М Розташування складових частин консольно-фрезерного верстата

Розташування складових частин консольно-фрезерного верстата вм127м

Список основних вузлів консольно-фрезерного верстата ВМ127М

  1. Станина - 6Р13.1.01.03
  2. Коробка швидкостей - 6Р13.3.01.03
  3. Поворотная головка - 6Р13.31.02
  4. Стол-салазки - 6Р13.7.01Б
  5. Консоль - 6Р13.6.01Б
  6. Коробка подач - 6Р13.4.01А
  7. Електроустаткування - ВМ127М.8.00.000
  8. Коробка переключений швидкостей шпинделя - 6Р13.5.01-01
  9. Пристрій електромеханического зажиму инструмента - 6Р13К.93.000

Розташування органів керування фрезерным верстатом ВМ127М

Розташування органів керування фрезерным верстатом ВМ127

Розташування складових частин консольно-фрезерного верстата вм127

Розташування органів керування фрезерным верстатом ВМ127 Дивитись у збільшеному масштабі



Список органів керування фрезерным верстатом ВМ127М





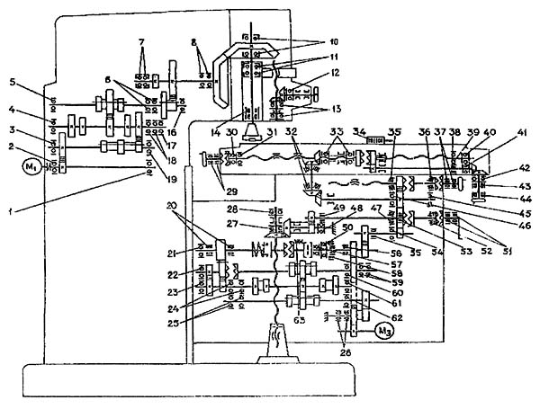
Кінематична схема фрезерного верстата ВМ127М

Кінематична схема ВМ127М cтанок вертикальний консольно-фрезерный

Кінематична схема фрезерного верстата вм127м

Схема кінематична консольно-фрезерного верстата ВМ127М. Дивитись у збільшеному масштабі



Привід головного руху осуществляется от фланцевого електродвигуна через упругую соединительную муфту.

Числа оборотів шпинделя изменяются передвижением трех зубчатых блоков по шлицевым валам.

Коробка швидкостей сообщает шпинделю 18 различных швидкостей.

Привід подач осуществляется от фланцевого електродвигуна, смонтированного в консоли. По средством двух трехвенцовых блоков і передвижного зубчатого колеса з кулачковой муфтой коробка подач обеспечивает получение 18 различных подач, которые через шариковую предохранительную муфту передаются в консоль і далее при включении з ответствующей кулачковой муфты к гвинтам продольного, поперечного і вертикального перемещений.

Ускоренные переміщення получаются при включении фрікциону швидкого ходу, вращение которого осуществляется через промежуточные зубчасті колеса непосредственно от електродвигуна подач.

Фрикцион сблокирован з муфтой рабочих подач, что устраняет возможность их одновременного увімкнення.

График чисел оборотів шпинделя верстата, поясняющий структуру механізма головного руху, приведен на рис. 9. Вертикальные подачі в 3 раза меньше продольных


Опис конструкції основних вузлів фрезерного верстата ВМ127

Станина

Станина является базовым узлом, на котором монтируются остальные вузли і механізмы верстата і жестко закреплена на основании і зафиксирована штифтами.

Поворотная головка

Поворотная головка вертикального консольно-фрезерного верстата ВМ127М

Поворотная головка вертикального консольно-фрезерного верстата ВМ127М

Поворотная головка вертикального консольно-фрезерного верстата ВМ127М. Дивитись у збільшеному масштабі



Поворотная головка (рис. 14) центрируется в кольцевой выточке горловины станины і крепится к ней четырьмя болтами, входящими в Т-образный паз фланца.

Шпиндель

Шпиндель представляет собой двухопорный вал, смонтированный в выдвижной гильзе. Регулювання осьового люфта в шпинделе осуществляется подшлифовкой колец 3 і 4. Повышенный люфт в переднем подшипнике устраняют подшлифовкой полуколец 6 і подтягиванием гайки 1.

Регулировку шпинделя проводят в следующем порядке:

После проверки люфта в подшипнике производят обкатку шпинделя на максимальном числе оборотів

Величину нагрева підшибників характеризуют измерением електротермометром температуры внутренней поверхности конического отверстия.

Избыточная температура поверхности инструментального конуса не должна превышать 55°С.

Вращение шпинделю передається от коробки швидкостей через пару конических і пару цилиндрических зубчатых колес, смонтированных в головке.

Смазка підшибників і шестерен поворотной головки осуществляется от насоса станины, а смазка механізма переміщення гильзы — шприцеванием.

Для демонтажу шпинделя з пинолью из корпуса головки необходимо:

Примечание: Перед демонтажом гвинта подачі пиноли необходимо принять меры, исключающие самопроизвольное выпадение пиноли со шпинделем из корпуса головки (вывести ось шпинделя в горизонтальное положение или применить специальные упоры под торец пиноли или шпинделя).

Сборку производить в обратном порядке.





Коробка швидкостей

Коробка швидкостей смонтирована непосредственно в корпусе станины. Соединение коробки з валом електродвигуна осуществляется упругой муфтой, допускающей несоосность в установці двигуна до 0,5—0,7 мм.

Осмотр коробки швидкостей можно производить через окно з правой стороны.

Смазка коробки швидкостей осуществляется от плунжерного насоса (рис. 13), приводимого в действие ексцентриком. Производительность насоса около 2 л/мин. Масло к насосу подводится через фильтр. От насоса масло поступает к маслораспределителю, от которого по медной трубке отводится на глазок контроля роботи насоса і по гибкому шлангу в поворотную головку. Элементы коробки швидкостей смазываются разбрызгиванием масла, поступающего из отверстий трубки маслораспределителя, расположенного над коробкой швидкостей.

При работе плунжерный насос издает характерный циклический звук.

Коробка переключения швидкостей

Коробка переключения швидкостей позволяет выбирать требуемую скорость без послідовного прохождения промежуточных ступеней.

Рейка 1 (рис. 16), передвигаемая рукояткой переключателя 5, посредством сектора 2 через вилку 8 (рис. 15) перемещает в осевом направлении главный валик 3 з диском переключения 7.

Диск переключения можно поворачивать указателем швидкостей 9 через конические шестерни 14 і 16, Диск имеет несколько рядов определенного размера отверстий, расположенных против штифтов реек 17 и 19.

Рейки попарно зацепляются з зубчатым колесом 18. На одной из каждой пары реек крепится вилка переключения. При перемещении диска нажимом на штифт одной из пары обеспечивается возвратно-поступательное перемещение реек.

При етом вилки в кінці ходу диска занимают положение, соответствующее зацеплению определенных пар шестерен. Для исключения возможности жесткого упора шестерен при переключении штифты 6 реек подпружинены.

Фиксация лимба при выборе скорости обеспечивается шариком 13, заскакивающим в паз звездочки 10.

Регулювання пружины 11 производится пробкой 12 з учетом четкой фиксации лимба і нормального зусилля при его повороте.

Рукоятка 5 (см. рис. 16) во включенном положении Удерживается за счет пружины 4 і шарика 3. При етом шип рукоятки входит в паз фланца.

Соответствие швидкостей значениям, указанным на указателе, достигается определенным положением конических колес по зацеплению. Правильное зацепление устанавливается по кернам на торцах сопряженного зуба і впадины или при установці указателя в положение скорости 31,5 об/мин, і диска з вилками в положение скорости 81,5 об/мин. Зазор в зацеплении конической пары не должен быть больше 0,2 мм, так как диск за счет етого може повернуться до 1 мм.

Смазка коробки переключения осуществляется от системы змазки коробки швидкостей разбрызгиванием масла. Отсутствие масляного дождя може вызвать недопустимый нагрев щечек вилок переключения і привести к заеданию вилок, их деформации или поломке.

Плоскость разъема уплотняется прокладкой или бензиноупорной смазкой БУ, ГОСТ 7171-78.

Коробка подач

Коробка подач фрезерного верстата ВМ127м

Коробка подач фрезерного верстата вм127м

Коробка подач фрезерного верстата ВМ127м. Дивитись у збільшеному масштабі



Коробка подач обеспечивает получение рабочих подач і быстрых перемещений стола, салазок і консоли. Кинематику коробки подач см. на рис. 8.

Получаемые в результате переключения блоков скорости обертання передаются на выходной вал 7 (рис. 17) через шариковую предохранительную муфту, кулачковую муфту 15 і втулку 16, соединенную шпонкой з кулачковой муфтой 15 і выходным валом 7.

При перегрузке механізма подач шарики, находящееся в контакте з отверстиями кулачковой втулки 17, сжимают пружины і выходят из контакта. При етом зубчатое колесо 2 проскальзывает относительно кулачковой втулки 17 і рабочая подача прекращается. Быстрое вращение передається от електродвигуна, минуя коробку подач, зубчатому колесу 6, которое сидит на хвостовике корпуса фрікциону 10 і имеет, таким образом, постоянное число оборотів. При монтаже необходимо проверить затяжку гайки 8. Корпус фрикционной муфты должен свободно вращаться между зубчатым колесом 9 і упорным подшипником.

Диски фрікциону через один связаны з корпусом фрікциону, который постоянно вращается, і втулкой 4, которая, в свою очередь, соединена шпонкой з выходным валом 7.

При нажатии кулачковой муфты 15 на торец втулки 14 і далее на гайку 5 диски 11 і 12 сжимаются і передают быстрое вращение выходному валу 7 і зубчатому колесу 9.

При регулировании предохранительной муфты снимается крышка 19 (рис. 18) і вывертывается пробка 20.

На место пробки вставляется стальной стержень так, чтобы конец его вошел в одно из отверстий на наружной поверхности гайки 1 (см. рис. 17), которая застопоривается. Плоским стержнем через окно крышки повертывается за зубья зубчатое колесо 2. После регулировки гайка обязательно контрится от самопроизвольного отворачивания стопором 18.

Регулювання считается правильным, если при встречном фрезеровании цилиндрической фрезой удается фрезеровать чугун марки СЧ15 при следующих параметрах режима різання:

При етих режимах муфта може периодически прощелкивать.

Регулювання зазору между дисками фрікциону производится гайкой 5, которая от самопроизвольного переміщення заперта фиксатором 13.

Коробка переключения подач

Коробка переключения подач (рис. 19) входит в узел коробки подач. Принцип її роботи аналогичен работе коробки переключения швидкостей.

Для предотобертання смещения диска 21 в oceвом направлении валик 29 запирается во включенном положении шариком 24 і втулкой 28. Попадая в кольцевую проточку валика 27, шарики освобождают от фиксации валик 29 при нажиме на кнопку.

Фиксация поворота диска переключения 21 осуществляется шариком 22 через фиксаторную втулку 25, связанную шпонкой з валиком 29.

Регулювання зусилля фиксации поворота диска переключения производится резьбовой пробкой 23. Смазка коробки подач осуществляется разбрызгиванием масла, поступающего из системы змазки консоли. Кроме етого, в нижней частини платика консоли имеется отверстие (сверление в нагнетательную полость насоса змазки), через которое смазка поступает к маслораспределителю коробки подач.

От маслораспределителя отводятся две трубки: нa глазок контроля роботи насоса і для змазки підшибників. Непосредственно через маслораспределитель масло подается на смазку підшибників фрикционной муфты.

Для достижения плотности стыка коробки подач і консоли разрешается установка коробки подач, кроме прокладки, на бензиноупорную смазку БУ (ГОСТ 7171-78, если прокладка не обеспечивает достаточной герметичности.





Консоль

Консоль является базовым узлом, объединяющим вузли ланцюги подач верстата. В консоли смонтирован ряд валов і зубчатых колес, передающих рух от коробки подач в трех направлениях — к гвинтам поздовжньої, поперечної і вертикальной подач, механізм увімкнення швидкого ходу, електродвигатель подач. В узел «консоль» входит также механізм увімкнення поперечных і вертикальних подач. Зубчатое колесо 8 (рис. 20) получает рух от колеса 9 (см. рис. 17) і передает его на зубчасті 7, 4, 2 і 1 (см. рис. 20). Зубчатое колесо 4 смонтировано на подшипнике і може передавать рух валу только через кулачковую муфту 6, связанную з валом. Далее через пару цилиндрических і пару конических колес рух передається на винт 14 (рис. 21).

Зацепление конической пары 10 і 15 отрегулировано компенсаторами 12 і 13 і зафиксировано винтом, входящим в засверловку пальца 11.

Втулка 16 имеет технологическое значение і никогда не демонтируется.

Гайка вертикальних перемещений закреплена в колонке. Колонка установлена точно по винту і зафиксирована штифтами на основании верстата.

Зубчатое колесо 2 (см. рис. 20), смонтированное на гильзе, через шпонку і шлицы постоянно вращает шлицевой вал IX ланцюги продольного ходу.

Винт поперечної подачі X получает вращение через зубчатое колесо 2 і свободно сидящее на валу колесо 1 при включенной кулачковой муфте поперечного ходу.

Для демонтажу залов VII і VIII необходимо снять коробку подач і крышку з левой стороны консоли, після чего через окно консоли вывернуть стопори у зубчатых колес 8 і 9.

Демонтаж салазок можно произвести після демонтажу шлицевого вала IX.

При демонтаже салазок необходимо также демонтировать кронштейн поперечного ходу или винт поперечної подачі.

Для полного демонтажу вертикального гвинта необходимо предварительно снять узел «стол-салазки».

Механізм увімкнення швидкого ходу

Механізм увімкнення швидкого ходу выключает кулачковую муфту подачі 15 і сжимает диски 1 і 12 фрикционной муфты (см. рис. 17).

Рычаг 21 (рис. 22) посажен на ось 24 і связан з ней штифтом; ось давлением пружины 26 отжимается в направлении зеркала станины. На оси 24 имеется две пары гаек. Правые гайки 22 предназначены для регулювання зусилля пружины. Левые 23, упираясь в торец втулки 25, закрепленной в стенке консоли, служат для ограничения і регулювання ходу оси, что необходимо для облегчения ввода підшипника в паз кулачковой муфты во время монтажа коробки подач на консоли, а также для устранения осевых ударных нагрузок на подшипник вала при включении кулачковой муфты. Рычаг имеет на задньої стенке уступ, в который упирается шип фланца втулки 27. При повороте втулки рычаг 21 перемещается і сжимает пружину 26. Ось 28 на втором кінці имеет мелкий зуб, обеспечивающий возможность монтажа рычага 29, соединяющего ось 28 з тягой електромагнита, под необходимым углом.

Электромагнит через тягу і шарниры скреплен з вилкой 19, от которой через гайку 17 і пружину 18 усилие передається на рычаг 29. Таким образом, независимо от зусилля, развиваемого електромагнитом, усилие на рычаге определяется степенью затяжки пружины 18.

Ланцюг увімкнення швидкого ходу от електромагнита до фрикционной муфты должна удовлетворять следующим условиям:

Гайка 17 регулируется так, чтобы сердечник електромагнита во включенном положении был полностью втянут. Усилие сжатия дисков определяется величиной натяга пружины 18 і не зависит от величины зазору в дисках. ВНИМАНИЕ!

РЕГУЛИРОВАТЬ ЗАЗОР В ДИСКАХ, ПОЛАГАЯ, ЧТО ЭТО УВЕЛИЧИТ СИЛУ СЖАТИЯ ДИСКОВ, ЗАПРЕЩАЕТСЯ.

Зусилля електромагнита при включении, передаваемые через рычаги, могут расшатывать систему, поетому при осмотрах і ремонтi необходимо проверять сохранность шплинтов, крепление гайки 17, посадку шпонок і крепление самого електромагнита на крышке консоли. Износ підшипника 20 увеличивается, если усилие его прижима не ограничивается гайками 22 і 23.

Механізм увімкнення вертикальной і поперечної подач

Механізм увімкнення вертикальной і поперечної подач выполнен в отдельном корпусе і управляет включением і отключением кулачковых муфт поперечної і вертикальной подач і електродвигуна подач.

При движении рукоятки вправо или влево, вверх или вниз связанный з ней барабан 32 (рис. 23) совершает соответствующие руху і своими скосами управляет через рычажную систему включением кулачковых муфт, а через штифты — конечными выключателями мгновенного дії, расположенными ниже механізма і предназначенными для реверса електродвигуна подачі.

Тяга 33 связывает барабан з дублирующей рукояткой. В своей средней частини на ней закреплен рычаг, на который действуют кулачки, ограничивающие поперечний ход. В кінці тяга имеет рычаг для ограничения вертикальних перемещений. При увімкненнях і виключеннях поперечного ходу тяга перемещается поступательно, а вертикального ходу — поворачивается.

Блокировка, предохраняющая от увімкнення маховички і рукоятки ручных перемещений при включении механической подачі, включает в себя коромысло 6 і штифт 5 (см. рис. 20).

При включении кулачковой муфты рукояткой подачі коромысло 6 при перемещении муфты поворачивается, передвигает штифт, который упирается в дно кулачковой муфты маховичка или рукоятки, і отодвигает их, не давая возможности кулачкам сланцюгиться.

Если система имеет повышенный люфт, необходимо выпрессовать пробку вала VII, расконтрить гайку 30 (см. рис. 23) і подвернуть винт 31. После проверки люфта необходимо тщательно законтрить гайку 30.

Система змазки консоли включает в себя плунжерный насос (рис. 24), золотниковый распределитель (рис. 25), маслораспределитель і отходящие от него трубки, подающие масло к підшипникам, зубчатым колесам, гвинтам поперечного і вертикального перемещений. Плунжерный насос змазки консоли, коробки подать механізмов вузла «стол-салазки» засасывает масло через сетку фильтра из масляной ванны і подает его по трубке к золотниковому распределителю.

От золотникового распределителя отводятся трубки для змазки вертикальних направляючих консоли, на штуцер гибкого шланга змазки вузла «стол-салазки» і к маслораспределителю консоли. Производительность насоса около 1 л/мин.

При нажиме на кнопки (см. рис. 25) доступ масла к маслораспределителю перекрывается і оно от насоса поступает соответственно на вертикальные направляющие консоли или для змазки вузла «стол-салазки».

Смазка на вертикальний винт поступает через отверстия в зубчатом колесе і в самом винте.

Стол і салазки

Стол і салазки (рис. 26) обеспечивают продольные і поперечные переміщення стола.

Ходовой винт 1 получает вращение через скользящую шпонку гильзы 9, смонтированную во втулках 5 і 7. Гильза через шлицы получает вращение от кулачковой муфты 6 при сцеплении її з кулачками втулки 5, жестко связанной з коническим зубчатым колесом 4. Втулка 5 имеет зубчатый венец, з которым сцепляется зубчатое колесо приводу круглого стола. Кулачковая муфта 6 имеет зубчатый венец для осуществления обертання гвинта поздовжньої подачі при переміщеннях от маховичка.

Зубчатое колесо 45 (рис. 30) подпружинено на случай попадания зуба на зуб. Зацепление з шестерней 45 може быть только в случае расцепления муфты 6 з втулкой 5 (см. рис. 26).

Таким образом, маховичок 24 (рис. 30) блокируется при механических подачах.

Гайки 2 і 3 ходового гвинта (рис. 26) расположены в левой частини салазок. Правая гайка 3 зафиксирована двумя штифтами в корпусе салазок, левая гайка 2, упираясь торцем в правую при повороте її червяком выбирает люфт в винтовой паре. Для регулювання зазору необходимо ослабить гайку 11 (рис. 27) и, вращая валик 10, произвести подтягивание гайки 2 (рис. 26). Выбор люфта необходимо производить до тех пор, пока люфт ходового гвинта, проверяемый поворотом маховичка продольного ходу, окажется не более 3—5° і пока при перемещении стола вручную не произойдет заклинивание гвинта на каком-либо участке, необходимом для робочого ходу.

После регулировки нужно затянуть контргайку 11 (см. рис. 27), зафиксировать валик 10 в установленном положении.

Стол в своих торцах соединяется з ходовым винтом через кронштейны, установка которых производится по фактическому расположению гвинта, і фиксируется контрольными штифтами. Упорные підшипники смонтированы на разных концах гвинта, что устраняет возможность его роботи на продольный изгиб. При монтаже гвинта обеспечивается предварительный натяг ходового гвинта гайками з усилием 100—125 кг.

Зазор в направлениях стола і салазок выбирается клиньями. Регулювання клина 12 стола (рис. 28) производится при ослабленных гайках 13 і 15 подтягиванием гвинта 14 отверткой.

После проверки регулювання ручным переміщенням стола гайки надежно затягиваются.

Зазор в направляючих салазок регулируется клипом 17 при помощи гвинта 16. Степень регулювання проверяется переміщенням салазок вручную.

Зажим салазок на направляючих консоли обеспечивается планкой 8 (см. рис. 26).

Механізм увімкнення поздовжньої подачі

Механізм увімкнення поздовжньої подачі (рис. 29) осуществляет увімкнення кулачковой муфты продольного ходу, а также включение, вимкнення і реверсирование електродвигуна подач.

Рукоятка 21 жестко соединена з осью 20 і поворачивает рычаг 18, по криволинейной поверхности которого в процессе переключения катится ролик 30 (см. рис. 30). При нейтральном положении рычага ролик находится в средней впадине, при включенном — в одной из боковых впадин.

Рух ролика через рычаг 31 передається штоку 40 і через зубчатое колесо 42 — рейке 46 і вилке 44, ведущей кулачковую муфту.

Пружина 37, регулируемая пробкой 36, постоянно нажимает на шток 40. Пружина 39 обеспечивает возможность увімкнення рукоятки при попадании зуба на зуб кулачковой муфты. Регулювання пружины 39 производится винтом 38 при помощи ключа, который вставляется через отверстие пробки 36. Чрезмерное сжатие пружины 37 ослабляет действие пружины 39. На одной оси з рычагом 31 сидит рычаг 33, который служит для увімкнення кулачковой муфты кулачком 34, прикрепленным к тяге 35. Тяга соединяет основную рукоятку продольного ходу з дублирующей.

Увімкнення і реверсирование електродвигуна подач производится конечными выключателями 32. Відключення двигуна происходит після виключення кулачковой муфты.

На ступице 22 (см. рис. 29) рукоятки продольного ходу имеются выступы, на которые воздействуют кулачки ограничения продольного ходу или (при автоматических циклах) керування продольным ходом.

При снятой крышке 28 (см. рис. 30) можно проверить работу контактов конечных выключателей і при необходимости очистить их от пригара.

Механізм автоматичного цикла

Механізм автоматичного цикла обеспечивает возможность керування столом от кулачков. На оси рукоятки продольного ходу смонтированы жестко связанные между собой звездочки 23 і 19 увімкнення швидкого ходу при работе верстата на авто-




Система змазки верстата вм127м

Схема розположення точок змазки показана на рис. 36.

Опис роботи системы змазки.

Внимательное отношение к смазке, нормальная робота системы змазки является гарантией безотказной роботи верстата і его долговечности.

На станке имеются две изолированные централизованные системы змазки:

Масляный резервуар і насос змазки коробки швидкостей находятся в станине. Масло в резервуар заливается через крышку 18 до середины маслоуказателя 1.

При необходимости уровень масла должен пополняться.

Слив масла производится через патрубок 17. Контроль за работой системы змазки коробки швидкостей осуществляет маслоуказателем 10.

Масляный резервуар і насос змазки вузлів, обеспечивающих рух подачі, расположены в консоли. Масло в резервуар заливается через угольник 14 до середины маслоуказателя 15. Превышать етот уровень не рекомендуется: заливка выше середины маслоуказателя може привести к подтекам масла из консоли і коробки подач, кроме того, при переполненном резервуаре масло через рейки затекает в корпус коробки переключения, что може привести к порче конечного выключателя, кратковременного увімкнення двигуна подач. При снижении уровня масла до нижней точки маслоуказателя необходимо пополнить резервуар.

Слив масла из консоли производится через пробку 13 в нижней частини консоли з левой стороны. Контроль за работой системы змазки коробки подач і консоли осуществляется маслоуказателем 3.

Работа системы змазки считается удовлетворительной, если масло каплями вытекает из подводящей трубки (в маслоуказателях 10 і 3).

Наличие струйки или заполнение ниши указателя маслом свидетельствует о хорошей работе масляной системы.

Направляющие стола, салазок, консоли і механізма приводу продольного ходу, расположенные в салазках, смазываются периодически от насоса, расположенного в консоли. Масло для змазки етих вузлів поступает из резервуара консоли. Смазка направляючих консоли осуществляется нажатием кнопки 5, а смазка направляючих салазок, стола і механізма приводу продольного ходу - кнопки 6.

Достаточность змазки оценивается по наличию масла на направляючих.

Смазка підшибників кінцівых опор гвинта поздовжньої подачі, механізма переміщення гильзы, підшибників, шпинделя производится шприцеванием.




Електроустаткування вертикального консольно-фрезерного верстата ВМ127М

Система живлення

Питающая сеть: Напряжение 380 В, род тока переменный, частота 50 Гц

Ланцюги керування: Напряжение 110 В, род тока переменный

Ланцюги керування: Напряжение 65 В, род тока постоянный

Местное освещение: напряжение 24 В.

Номинальный ток (сумма номинальных токов одновременно работающих електродвигателей) 20 А.

Номинальный ток защитного аппарата (предохранителей, автоматичного выключателя) в пункте живлення електроенергией 63 А.

Електроустаткування выполнено по следующим документам: принципиальной схеме 6Р13.8.000Э3. схеме соединения вироби Р13.8.000Э4.


Схема електрична фрезерного верстата ВМ127М

Силовая часть електрической схеми верстата вертикального консольно-фрезерного ВМ127М

Електрична схема фрезерного верстата вм127м. Силовая часть

Схема електрична фрезерного верстата ВМ127М. Силовая часть. Дивитись у збільшеному масштабі



Управляющая часть електрической схеми верстата консольно-фрезерного вертикального ВМ127М

Електрична схема фрезерного верстата вм127м. Управляющая часть

Схема електрична фрезерного верстата ВМ127М. Управляющая часть. Дивитись у збільшеному масштабі



Список елементів електрической схеми консольно-фрезерного верстата ВМ127М

Список елементів електрической схеми консольно-фрезерного верстата ВМ127М

Список елементів електрической схеми консольно-фрезерного верстата ВМ127М

Список елементів електрической схеми консольно-фрезерного верстата ВМ127М. Дивитись у збільшеному масштабі



Схема розположення електроустаткування на консольно-фрезерном станке ВМ127М

Схема розположення електроустаткування на станке ВМ127М

Схема розположення електроустаткування на станке вм127м

Схема розположення електроустаткування на станке ВМ127М. Дивитись у збільшеному масштабі



Функциональное назначение пускачів:

Функциональное назначение органів керування, расположенных на станке:

Боковий пульт керування. Назначение органів керування:

Передний пульт керування. Назначение органів керування:


Работа складових частин електроустаткування фрезерного верстата ВМ127М
Работа верстата в наладочном режиме


Зажим инструмента

Для зажиму инструмента необходимо тумблер SA3 (на боковом пульті) установить в положение "Зажим" і удерживать рукой. При етом срабатывает пускатель КМ4, который подает напряжение на двигатель механізма зажиму инструмента М4. Идет зажим инструмента. Прощелкивание муфты в механізме зажиму свидетельствует об окончании зажиму инструмента. Микровыключатель SQ10 своими контактами включает пускатель К5.1, который становится на самопитание, отключает двигатель М4 і подготовит ланцюг пуска двигуна шпинделя.

Разжим инструмента: тумблер SA3 установить в положение "Разжим" і удерживать рукой. При етом срабатывают пускатели КМ5.1. Пускатель КМ5.3. подает напряжение на двигатель М4. Идет отжим инструмента. Окончание отжима инструмента контролируется визуально.

Примечание:

  1. Во избежание получения травм при разжиме инструмента пуск шпинделя блокируется замыкающими контактами К5
  2. При вращающемся шпинделе разжим инструмента заблокирован размыкающими контактами К5 в ланцюги увімкнення двигуна М4
  3. При зажиме і разжиме инструмента, з целью исключения проворачивания шпинделя, необходимо установить низкую скорость оборотів шпинделя (не выше 400об/мин)

Увімкнення шпинделя

Для увімкнення шпинделя необходимо нажать кнопку SB7, включаются пускатель КМ1 і реле часу КТ1, КТ2. Пускатель КМ1 подает напряжение 380В на двигатель Ml, a KT2 своими замыкающими контактами блокирует выключатель SB7.


Выключение і торможение шпинделя

Для виключення шпинделя необходимо нажать кнопку SB4. Отключаются пускатель КМ1 і реле часу КТ1, КТ2. Через 1,2 з включится пускатель К2, который своими замыкающими контактами включит динамическое торможение шпинделя. Через 5,6 з замыкающие контакты реле часу КТ2 выключают пускатель К2, а К2 соответственно отключит динамическое торможение шпинделя.


Увімкнення насоса охлаждения

Насос охлаждения включается переключателем QS2. 380В подается на двигатель М2 при включенном шпинделе.

Аварийное вимкнення верстата

При аварии на станке нажать кнопку SB1 (SB2), которая отключает 110В в цепях керування верстатом вм127м. Примечание. Для повторного увімкнення верстата необходимо:

  1. кнопку SB1 (SB2) установить в исходное положение
  2. произвести зажим инструмента

Импульсное включение

Для облегчения переключения швидкостей шпинделя і подачі предусмотрено импульсное увімкнення двигуна шпинделя Ml кнопкой SB5, двигуна подачі М3 выключателем SQ3.


Электропривід подач

Электропривід подач представляет собой електромеханическую систему. Увімкнення і відключення подачі осуществляется рукоятками, которые имеют три. фиксированных положения, а также выключателями SQ6, SQ8 для поздовжньої; SQ5, SQ7 для вертикальной или поперечної подачі.

Быстрый ход подачі происходит при нажатии кнопки SВ9, включается пускатель КЗ і електромагнит швидкого ходу УА. На станке електрической блокировкой исключается возможность одновременного увімкнення поздовжньої і поперечної или вертикальной подачі.


Регулювання ланцюги торможения шпинделя

Регулювання ланцюги торможения производится після замены или ремонта реле часу КТ1, КТ2, а также в случае, когда временные характеристики ланцюги торможения не соответствуют указанным в п. 7.6.5.

Для проведения регулировки необходимо:

  1. подать питание на верстат
  2. включить шпиндель

Одновременно з выключателем шпинделя включить секундомер і остановить его при срабатывании К2. Если зафиксированное время превышает I сек., повернуть регулятор реле часу КТ1 по часовий стрелке. Повторить увімкнення і вимкнення шпинделя, добиваясь увімкнення пускателя К2 через 1 сек. Если пускатель К2 срабатывает менее , чем 1 сек. після отключения шпинделя, тогда регулятор реле КТ1 повернуть против часовий стрелки. Регулировку реле КТ2 проводить аналогично КТ1. Выключить шпиндель верстата, одновременно з нажатием кнопки SB4, запустить секундомер і остановить его після остановки шпинделя. Зафиксированное время не Должно быть более 6 сек.




ВМ127М Верстат консольно-фрезерный вертикальний. Відеоролик.



Основні технические данные і характеристики верстата ВМ127М

Наименование параметра ВМ127 ВМ127М
Рабочий стол
Класс точності по ГОСТ 8-82 Н Н
Максимальная нагрузка на стол (по центру), кг 300 800
Розміри рабочей поверхности стола (длина х ширина), мм 1600 х 400 1600 х 400
Число Т-образных пазов Розміри Т-образных пазов 3 3
Наибольшее перемещение стола продольное механическое і ручное, мм 1000 1010
Наибольшее перемещение стола поперечное механическое, мм 300 300
Наибольшее перемещение стола поперечное от руки, мм 320 320
Наибольшее перемещение стола вертикальное механическое, мм 400 400
Наибольшее перемещение стола вертикальное от руки, мм 420 420
Наименьшее і наибольшее расстояние от торца шпинделя до стола при ручном перемещении, мм
* Размер 30 мм обеспечивается за счет выруху шпинделя
30..500* 30..500
Расстояние от оси шпинделя до вертикальних направляючих станины, мм 620 420
Перемещение стола на одно деление лимба (продольное, поперечное, вертикальное), мм 0,05 0,05
Перемещение стола на один оборот лимба продольное, мм 4 4
Перемещение стола на один оборот лимба поперечное, мм 6 6
Перемещение стола на один оборот лимба вертикальное, мм 2 2
Шпиндель
Частота обертання шпинделя, об/мин 31,5..1600 40..2000
Количество швидкостей шпинделя 18 18
Наибольший крутящий момент, кгс.м 137
Ескіз кінця шпинделя ГОСТ 836-72
Конус шпинделя 50 50АТ5
Наибольшее осевое перемещение пиноли шпинделя, мм 80 80
Перемещение пиноли на один оборот лимба, мм 4 4
Перемещение пиноли на 1 деление лимба, мм 0,05 0,05
Наибольший угол поворота шпиндельной головки, град ±45 ±45
Цена одного деления шкалы поворота головки, град 1
Механіка верстата
Быстрый ход стола продольный і поперечний, мм/мин 3000 3000
Быстрый ход стола вертикальний, мм/мин 1000 1000
Число ступеней рабочих подач стола 18 18
Пределы рабочих подач. Продольных і поперечных, мм/мин 25..1250 25..1250
Пределы рабочих подач. Вертикальных, мм/мин 8,3..416,6 8,3..416,6
Выключающие упоры подачі (поздовжньої, поперечної, вертикальной) есть есть
Блокировка ручной і механической подачі (поздовжньої, поперечної, вертикальной) есть есть
Блокировка раздельного увімкнення подачі есть есть
Автоматическая прерывистая подача Продольная есть есть
Автоматическая прерывистая подача Поперечная і вертикальная нет
Торможение шпинделя есть есть
Предохранение от перегрузки (муфта) есть есть
Привод
Количество електродвигателей на станке 3 4
Електродвигун приводу головного руху М1, кВт 11 11
Електродвигун насоса охлаждающей жидкости М2, кВт 0,12 0,12
Електродвигун приводу подач М3, кВт 3 2,1
Електродвигун зажиму инструмента М4, кВт Нет АИР56В2УЗ
Электронасос охлаждающей жидкости Тип Х14-22М П-32МС10
Производительность насоса СОЖ, л/мин 22 22
Габарит верстата
Габарити верстата, мм 2560 х 2260 х 2430 2560 х 2260 х 2500
Масса верстата, кг 4250 4250

Примечания

  1. Полную величину указанных ходов можно использовать только при отсутствии деталей і устройств, ограничивающих перемещение стола, салазок или консоли, например:
  2. При етом необходимо установить ограничительные упоры з учетом отклонения подачі в пределах ограничения переміщення стола, салазок или консоли.
  3. Во всех случаях использования полных ходов з механической подачей необходимо проверить возможность роботи на холостом ходу і при обработке внимательно наблюдать за работой верстата.
  4. В связи з наличием перебегов перемещаем вузлів по инерции фактическая величина механических ходов Уменьшена на величину 10—20 мм соответствии з чем присверлены ограничительные кулачки.
  5. Габарити верстатів, приведенные в таблице, характеризуют «упаковочные» или наибольшие розміри при условии установки перемещающих вузлів в среднее положение. При расчете занимаемой верстатом площади необходимо к размеру ширины верстата прибавить значение продольного ходу стола 1000 мм (в каждую сторону по 500 мм).

    Список литературы:

  1. Верстат специализированный фрезерный консольный ВМ127М. Руководство по експлуатации ВМ127М00.00.000, 1982
  2. Схема електрична принципова ВМ127М.8.000 Э3
  3. Схема електрична з'єднань ВМ127М.8.000 Э4

  4. Аврутин С.В. Основы фрезерного дела, 1962
  5. Аврутин С.В. Фрезерне дело, 1963
  6. Ачеркан Н.С. Металлорежущие верстати, Том 1, 1965
  7. Барбашов Ф.А. Фрезерне дело 1973, с.141
  8. Барбашов Ф.А. Фрезерные роботи (Профтехобразование), 1986
  9. Блюмберг В.А. Справочник фрезеровщика, 1984
  10. Григорьев С.П. Практика координатно-расточных і фрезерных работ, 1980
  11. Копылов Р.Б. Работа на фрезерных верстатах,1971
  12. Косовский В.Л. Справочник молодого фрезеровщика, 1992, с.180
  13. Кувшинский В.В. Фрезерование,1977
  14. Ничков А.Г. Фрезерные верстати (Библиотека станочника), 1977
  15. Пикус М.Ю. Справочник слесаря по ремонту металлорежущих верстатів, 1987
  16. Плотицын В.Г. Расчёты настроек і наладок фрезерных верстатів, 1969
  17. Плотицын В.Г. Наладка фрезерных верстатів,1975
  18. Рябов С.А. Современные фрезерные верстати і их оснастка, 2006
  19. Схиртладзе А.Г., Новиков В.Ю. Технологическое обладнання машиностроительных производств, 1980
  20. Тепинкичиев В.К. Металлорежущие верстати, 1973
  21. Чернов Н.Н. Металлорежущие верстати, 1988
  22. Френкель С.Ш. Справочник молодого фрезеровщика (3-е изд.) (Профтехобразование), 1978