metalinstryment.com
Довідник по металорізальних верстатів та пресовому обладнанні

6Р13Ф3 Верстат фрезерный консольный вертикальний з ЧПУ
схеми, опис, характеристики

6Р13Ф3-37 Фото вертикально-фрезерного верстата з ЧПУ







Відомості про виробника консольно-фрезерного верстата 6Р13Ф3, 6Р13Ф3-37

Производитель фрезерных вертикальних консольных верстатів 6Р13Ф3, 6Р13Ф3-37 Горьковский завод фрезерных верстатів, основанный в 1931 году.

Металлорежущие верстати на Воткинском машиностроительном заводе выпускаются начиная з 1956 г. Это вертикально-фрезерные верстати 6Н13, ВМ127, ВМ127М, универсально-фрезерные ВМ130, ВМ133, горизонтально-фрезерные верстати з ЧПУ ВМ500ПМФ4, ВМ501ПМФ4, а также токарний настільний верстат Універсал-В.

В настоящее время ОАО «Воткинский завод» головное предприятие ракетно-космического комплекса і изготовитель широкой гаммы гражданской продукции.

Сегодня консольно-фрезерный верстат 6Р13Ф3 - выпускает:






Верстати, выпускаемые Воткинским машиностроительным заводом


6Р13Ф3 Верстат консольно-фрезерный вертикальний з ЧПУ. Назначение і область применения

Консольно-фрезерный вертикальний верстат 6Р13Ф3 з ЧПУ запущен в производство в 1972 году. На базе етой моделі были сконструированы верстати:

Вертикальный фрезерный верстат 6Р13Ф3 предназначается для обробки разнообразных деталей сложного профиля из стали, чугуна, труднообрабатываемых цветных металлов, головним образом торцовыми і кінцівыми фрезами, сверлами в среднесерийном і мелкосерийном производстве.

Фрезерный верстат моделі 6Р13Ф3-37 оснащен, позволяющим вести обработку изделий в режиме программного керування одновременно по трем координатам: поздовжньої і поперечної (перемещение стола і салазок з обрабатываемой деталью) і вертикальной (перемещение ползуна з инструментом).

Принцип роботи і особливості конструкції верстата

Программируемое вертикальное перемещение (координата Z) осуществляется движением ползуна. Консоль фрезерного верстата з ЧПУ 6Р13Ф3 имеет только установочное перемещение, исключающее позиционирование і работу в следящем режиме консоли, имеющей значительную массу. Повышается точность обробки, так как в процессе різання консоль всегда зажата.

Верстат 6Р13Ф3 оснащен следяще-регулируемыми приводами подач з высокомоментными електродвигунами постоянного тока.

Применение следящих регулируемых приводов з двигунами постоянного тока обеспечивает скорость швидкого переміщення стола до 4,8 м/мин і исключает брак детали при контурной обработке в случае отказа приводу подач по одной из координат.

Введена централизованная смазка направляючих.

В станке применяется електромеханическое пристрій зажиму инструмента, обеспечивающее стабильное усилие зажиму 2000 кг.

Для выносного оборудования имеется готовая електропроводка со штепсельными разъемами.

Шероховатость обработанной поверхности Rz = 20 мкм.

Класс точності верстата — Н по ГОСТ 8—82.

Разработчик — Горьковское станкостроительное производственное объединение.

Категория качества — высшая.


Верстати консольно-фрезерные серии Р


Верстати консольно-фрезерные. Загальні відомості

Консольно-фрезерные верстати горизонтальные і вертикальные - ето наиболее распространенный тип верстатів, применяемых для фрезерных работ. Название консольно-фрезерные верстати получили от консольного кронштейна (консоли), который перемещается по вертикальным направляющим станины верстата і служит опорой для горизонтальных перемещений стола.

Типорозміри консольно-фрезерных верстатів принято характеризовать по величине рабочей (крепежной) поверхности стола. Консольно-фрезерные верстати могут мати горизонтальное, универсальное (широкоуниверсальные) і вертикальное виконання при одной і той же величине рабочей поверхности стола. Сочетание разных исполнений верстата при одинаковой основной размерной характеристике стола называют размерной гаммой верстатів.

В СССР было освоено производство консольно-фрезерных верстатів пяти типорозмірів:
№ 0; № 1; № 2; № 3 і № 4, причем по каждому размеру выпускалась полная гамма верстатів — горизонтальные, универсальные і вертикальные. Каждый верстат одной размерной гаммы имел в шифре одинаковое обозначение, соответствующее размеру рабочей поверхности стола.

В зависимости от размера рабочей поверхности стола различают наступні розміри консольно-фрезерных верстатів:

Размер Гамма верстатів Размер стола, мм
0 6Р10, 6Р80, 6Р80Г, 6Р80Ш 200 х 800
1 6Н11, 6Н81, 6Н81Г; 6Р11, 6Р81, 6Р81Г, 6Р81Ш 250 х 1000
2 6М12П, 6М82, 6М82Г; 6Р12, 6Р82, 6Р82Ш; 6Т12, 6Т82, 6Т82Г, 6Т82Ш 320 х 1250
3 6М13П, 6М83, 6М83Г; 6Р13, 6Р83; 6Т13, 6Т83, 6Т83Г 400 х 1600
4 6М14П, 6М84, 6М84Г 500 х 2000

В соответствии з размерами стола меняются габаритные розміри самого верстата і его основних вузлів (станины, стола, салазок, консоли, хобота), мощность електродвигуна і величина наибольшего переміщення (хода) стола в продольном, салазок в поперечном і консоли в вертикальном направлениях.


Обозначение консольно-фрезерных верстатів

6 - фрезерный верстат (номер группы по классификации ЭНИМС)

Р – серия (поколение) верстата (Б, К, Н, М, Р, Т)

1 – номер подгруппы (1, 2, 3, 4, 5, 6, 7, 8, 9) по классификации ЭНИМС (1 - вертикально-фрезерный)

2 – виконання верстата - типоразмер (0, 1, 2, 3, 4) (3 - размер робочого стола - 400 х 1600)


Буквы в кінці обозначения модели

Г – верстат горизонтальный консольно-фрезерный з неповоротным столом

К – верстат з копировальным пристрійм для обробки криволинейной поверхности

Б – верстат з підвищеної производительностью (повышенный диапазон чисел оборотів шпинделя, подач стола і повышенная мощность двигуна головного руху).

П – точность верстата - (н, п, в, а, с) по ГОСТ 8-ХХ

Ш – верстат широкоуніверсальний

Ф1 – верстат з пристрійм цифровой индикации УЦИ і преднабором координат

Ф2 – верстат з позиционной системой числового керування ЧПУ

Ф3 – верстат з контурной (непрерывной) системой ЧПУ

Ф4 – верстат многоцелевой з контурной системой ЧПУ і магазином инструментов


Габарит робочого простору фрезерного верстата з ЧПУ 6Р13Ф3

6Р13Ф3, 6Р13Ф3-37 Габарит робочого простору фрезерного верстата з ЧПУ

Габарит робочого простору фрезерного верстата з ЧПУ 6р13ф3-37


Присоединительные розміри фрезерного верстата з ЧПУ 6Р13Ф3

6Р13Ф3, 6Р13Ф3-37 присоединительные розміри фрезерного верстата з ЧПУ

Присоединительные розміри фрезерного верстата з ЧПУ 6р13ф3-37


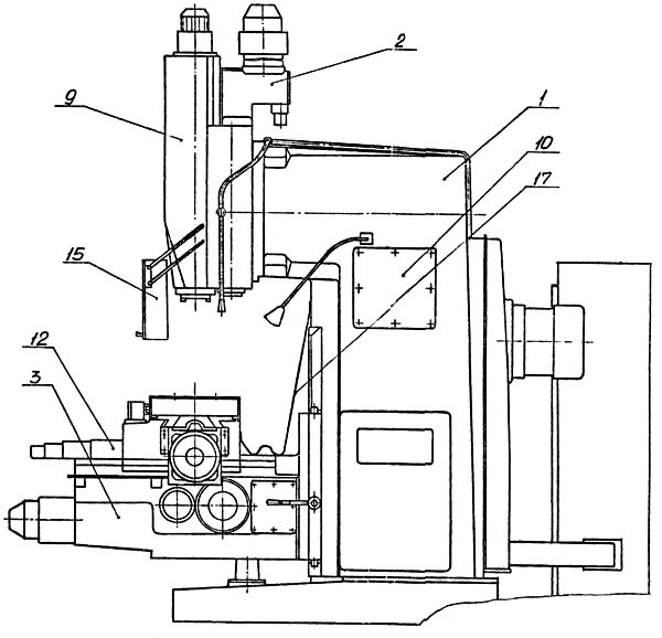
Загальний вигляд фрезерного верстата 6Р13Ф3

6Р13Ф3 Загальний вигляд  горизонтального консольно-фрезерного верстата з ЧПУ

Фото фрезерного верстата 6р13ф3-37


6Р13Ф3 Розташування складових частин консольно-фрезерного верстата з ЧПУ

6Р13Ф3 Список складових частин консольно-фрезерного верстата

Розташування складових частин фрезерного верстата 6р13ф3-37 з ЧПУ


6Р13Ф3 Список складових частин консольно-фрезерного верстата

Розташування складових частин фрезерного верстата 6р13ф3-37 з ЧПУ

Список основних вузлів консольно-фрезерного верстата 6Р13Ф3


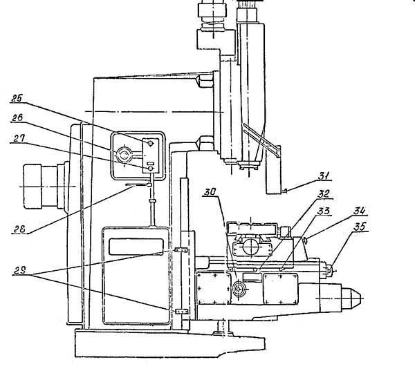
Розташування органів керування верстатом з ЧПУ моделі 6Р13Ф3

Органы керування вертикального фрезерного верстата з ЧПУ моделі 6Р13Ф3

Розташування органів керування фрезерным верстатом 6р13ф3-37


Органы керування вертикального фрезерного верстата з ЧПУ моделі 6Р13Ф3

Розташування органів керування фрезерным верстатом 6р13ф3-37

Список органів керуванняя верстатом 6Р13Ф3 і их назначение

  1. Кулачки ограничения ходу ползуна
  2. Кнопка "Отжим инструмента"
  3. Кнопка "Зажим инструмента"
  4. Тумблер увімкнення насоса охлаждения
  5. Тумблер увімкнення координаты Z
  6. Тумблер увімкнення координаты У
  7. Тумблер увімкнення координаты X
  8. Тумблер технологического останова
  9. Тумблер ручного і автоматичного режима работ
  10. Переключатель выбора величины подачі
  11. Ручное продольное перемещение стола
  12. Тумблер увімкнення подач
  13. -
  14. Тумблер установки координат в нулевое положение
  15. Кнопка "Пуск программы"
  16. Кнопка шагового переміщення вузлів
  17. Кнопка "Пуск шпинделя"
  18. Кнопка "Консоль вверх"
  19. Кнопка "Стоп шпиндель"
  20. Кнопка "Консоль вниз"
  21. Кулачки установки в нуль координаты Z
  22. Кулачки установки в нуль координаты X
  23. Рукоятка зажиму консоли на станине
  24. Кулачки ограничения продольного ходу
  25. Кнопка "Все стоп"
  26. Указатель швидкостей
  27. Кнопка "Толчок шпинделя"
  28. Рукоятка переключения швидкостей
  29. Кулачки ограничения ходу консоли
  30. Ручное вертикальное перемещение консоли
  31. Рукоятка подъема і опускания ограждения
  32. Кулачки установки в нуль координаты Y
  33. Кулачки ограничения поперечного ходу стола
  34. Кнопка "Все стоп"
  35. Ручное поперечное перемещение стола




Кінематична схема фрезерного верстата з ЧПУ 6Р13Ф3

6Р13Ф3, 6Р13Ф3-37 Схема кінематична фрезерного верстата з ЧПУ 6Р13Ф3, 6Р13Ф3-37

Кінематична схема фрезерного верстата з ЧПУ 6р13ф3-37

Схема кінематична фрезерного верстата 6Р13Ф3. Скачать в увеличенном масштабе



Опис конструкції основних вузлів фрезерного верстата з ЧПУ 6Р13Ф3

Станина верстата

Станина является основным базовым узлом, на котором монтируются вузли і механізмы верстата.

Жесткая конструкция станины достигается за счет развитого основания і большого числа ребер. Ее корпус спереди имеет вертикальные направляющие, по которым перемещается консоль. Для отсчета величины установочного переміщення консоли на станине закреплена линейка.

Для ограничения ходу консоли в левой нише станины размещены конечные выключатели. В верхней частини корпуса станины з правой стороны имеется окно, через которое открывается доступ к маслонасосу і коробке швидкостей. Для выбора требуемой скорости на станине з левой стороны установлена коробка переключения швидкостей. На привалочной плоскости горловины станины закреплена шпиндельна головка. Внутри корпуса станины имеется резервуар для масла. Станина устанавливается на основа і крепится к нему болтами.

Коробка швидкостей верстата

Коробка швидкостей служит для сообщения шпинделю различных швидкостей обертання при резании.

Смазка підшибників і шестерен коробки швидкостей осуществляется от плунжерного насоса, расположенного внутри коробки швидкостей.

Коробка переключения швидкостей

Обеспечивает получение 18 швидкостей шпинделя і позволяет выбирать требуемую скорость без послідовного прохождения промежуточных ступеней.

Переключення швидкостей осуществляется следующим образом: рукоятку 28 (лист 14 рис.4) опускают вниз до вывода шипа рукоятки из фиксирующего паза і отводят от себя до упора. Поворачивая лимб, поз.26 устанавливают требуемое число оборотів против стрелки-указателя. При етом щелчок фиксатора означает - лимб зафиксирован в данном положении. Нажать кнопку "Толчок", поз. 27, рукоятку плавным движением вернуть в первоначальное (исходное) положение.

Смазка коробки переключения швидкостей осуществляется от плунжерного насоса коробки швидкостей.

Шпиндельная головка верстата

Шпиндельная головка состоит из трех основних елементів: салазки, редуктор, ползун со шпинделем.

Салазки центрируются в кольцевой выточке горловины станины і крепится к ней четырьмя болтами. По прямоугольным направляющим салазки перемещается ползун со шпинделем - координата Z.

Редуктор служит для передачи шпинделю основного (вращательного) руху от коробки швидкостей через пару конических і три цилиндрических колеса.

Перемещение ползуна со шпинделем по программе осуществляется от высокомоментного двигуна через редуктор из пары цилиндрических колес (рис.8) і передачу "винт-гайка качения".

Для осуществления ручного переміщення ползуна предусмотрен вывод - шестигранник I (рис.7).

Стол і салазки (рис.9,10 і II)

Стол і салазки обеспечивают перемещение стола по координатам X і У (продольное і поперечное).

При перемещении по координате X стол получает рух от высокомоментного двигуна типа ПБВ112LГУЗ через одноступенчатый редуктор з передаточным отношением i = 1:2 і передачу "винт-гайка качения".

Ходовой шариковый винт для продольного переміщення стола вращается в шарикопідшипниках, установленных з левой стороны в кронштейне, а з правой - в корпусе редуктора.

Гайки гвинта жестко зафиксированы в кронштейне, прикрепленном к столу.

В редукторе продольного переміщення стола имеется трансформатор типа БТМ-1В, который является датчиком обратной связи.

Перемещение стола го координате Y осуществляется от привода, смонтированного в консоли. Ходовой шариковый винт поперечного переміщення стола установлен в корпусе консоли.

Для ручного переміщення стола имеется шестигранный вывод 2 (рис.9).

Зазор в направляючих стола і салазок выбирается клиньями. Регулювання зазору см.раздел "Регулювання».

Консоль фрезерного верстата з ЧПУ 6Р13Ф3

Консоль является базовым узлом, объединяющим приводы вертикального і поперечного перемещений стола.

По вертикальным направляющим станины (профиля "ласточкин хвост консоль обеспечивает вертикальное установочное движение. По горизонтальным направляющим консоли прямоугольного профиля перемешается в поперечном направлении (координата Y) узел "Стол і салазки".

В глубине консоли смонтирован двухступенчатый редуктор поперечного переміщення стола з передаточным отношением i = 1:2.

Перемещение стола осуществляется от высокомоментного електродвигуна типа ПБВ112LГУЗ через редуктор і передачу "винт-гайка качения".

Цилиндрические косозубые колеса выполнены сборными для возможности устранения бокового зазору в зубчатом зацеплении.

В редукторе смонтирован вращающийся трансформатор типа ВТМ-1B, поз. 1 (рис.13).

На правой стороне корпуса консоли установлен асинхронный електродвигатель типа 4А90LА вертикального установочного переміщення. Перемещение осуществляется через червячную пару і винтовую передачу.

Для змазки направляючих подвижных вузлів верстата, зубчатых передач і підшибників в консоли имеется резервуар для масла і насос змазки типа ВТ II-IIA, который работает от двигуна типа АОЛ-21-4.

Горизонтальные направляющие консоли закрыты спереди телескопической защитой, а сзади - "фартуков, прикрепленным к станине і заднему торцу салазок.

Работа верстата з електромеханическим зажимом инструмента

Керування електромеханическим пристрійм зажиму инструмента осуществляется в следующей післядовательности:

При отжиме инструмента необходимо:

В противном случае шлицевый валик може полностью вывернуться из тяги. Тогда при зажиме инструмента тягу нужно поджать вверх, чтобы резьбовой конец валика ввернулся в резьбовое отверстие тяги.

Установка фрез в оправках производится в зависимости от их размера і вида согласно рис.15,16.

Инструмент в оправке крепится вне верстата з помощью сменных шомполов. Оправка имеет наружный конус 7:24 ж внутренний "Морзе №4" Для крепления инструмента з конусами Морзе № 2,3,5 применяются сменные переходные втулки 2 і 3. Наличие сменных шомполов з 4 заходной резьбой M10, M12, М16, і М20 позволяет вести обработку кінцівыми фрезами (с коническим хвостовиком) соответственно Ø 16, Ø 20, Ø 40, Ø 50.

Захват I должен быть установлен таким образом, чтобы Т-образный паз его был перпендикулярен ведущим пазам оправки.

Оправки з инструментом ввести в конусное отверстие шпинделя і путем поворота на угол 90° соединить з Т-образным концом тяги, включить кнопку "Зажим инструмента". Окончание зажиму определяется по проталкиванию кулачковых муфт.

Зажим инструмента должен производиться при числе оборотів шпинделя не выше 40 об/мин.





Електроустаткування верстата 6Р13Ф3. Загальні відомості

Електроустаткування размещено на станке в станції керування і включает в себя так же систему числового программного керування "НЗЗ-2М".

Станція керування служит для розміщення в ней коммутационных аппаратов, аппаратов защиты електрических ланцюгів.

Питание електроустаткування осуществляется через станцию керування от сети трехфазного переменного тока напряжением 380 В, частотой 50 Гц. Допустимое колебание питающего напряжения - 15% ± 10% от 380 В. В случае больших колебаний напряжения сети необходимо осуществлять питание пристроя ЧПУ і електроавтоматики верстата от отдельного стабилизатора. Возможен варіант живлення группы верстатів з ЧПУ от отдельного стабилизатора или отдельного машинного преобразователя.

На станке применяются наступні напряжения:

Увімкнення живлення станції керування осуществляется Вводным автоматом (И), керування которым производится з помощью рукоятки, выведенной на дверцу станції керування.

На станке установлены наступні електроприводы:

Керування електродвигуном приводу подачі осуществляется от УЧПУ через тиристорный преобразователь типа 3Т6С-8-ПБВ-112LУ4.

Обратную связь по скорости осуществляет встроенный в електродвигатель тахогенератор з возбуждением от постоянных магнитов. Обозначение по схеме М6.

Обратную связь по положение осуществляет вращающийся трансформатор типа БТМ-1В




6Р13Ф3 Верстат фрезерный вертикальний з ЧПУ. Відеоролик.




Технічні характеристики фрезерного верстата з ЧПУ 6Р13Ф3-37

Наименование параметра 6Р13Ф3-37 6Р13РФ3
Класс точності по ГОСТ 8-82 Н Н
Основні параметри верстата
Розміри рабочей поверхности стола (длина х ширина), мм 400 х 1600 400 х 1600
Максимальная нагрузка на стол (по центру), кг 300 300
Число Т-образных пазов Розміри Т-образных пазов 3 3
Наибольшее продольное перемещение стола (X), мм 1000 1000
Наибольшее поперечное перемещение стола (Y), мм 400 400
Наибольшее вертикальное установочное перемещение стола, мм 420 380
Расстояние от оси шпинделя до вертикальних направляючих станины (вылет), мм 500 500
Наименьшее расстояние от задньої кромки стола до направляючих станины, мм 100 100
Расстояние от торца шпинделя до рабочей поверхности стола, мм 70..450
Наибольшее вертикальное перемещение ползуна (Z), мм 250 -
Пределы рабочих подач. Продольных, поперечных, вертикальних, мм/мин 3..4800 20..1200
Скорость швидкого переміщення стола і ползуна, мм/мин 4800 2400
Наименьшее і наибольшее расстояние от торца шпинделя до стола мм 70...490 70...450
Подача за один импульс, мм 0,01 0,01
Точность позиционирования по оси X, мм 0,065
Точность позиционирования по оси Y, Z, мм 0,040
Наибольший диаметр сверления, мм 30
Наибольший диаметр кінцівой фрезы, мм 40
Наибольший диаметр торцевой фрезы, мм 125
Шпиндель
Количество шпинделей 1 6
Частота обертання шпинделя, об/мин 40...2000 40...2000
Количество швидкостей шпинделя 18 18
Наибольший крутящий момент, кгс.м 62,8
Кінець шпинделя ГОСТ 836-72, 7:24
Система ЧПУ
Тип ЧПУ Н33-2М Н33-1М
Способ задания размеров В приращениях В приращениях
Виды интерполяции Линейная Круговая Линейная Круговая
Число одновременно управляемых координат при линейной / при круговой интерполяции 3/2 3/2
Електроустаткування
Количество електродвигателей на станке 8
Електродвигун приводу головного руху, кВт (об/мин) 7,5 (1450) 7,5
Электроприводы подачі по осям X, Y, Z, кВт 2,2 Шаговый
Электропривід наладочного переміщення консоли, кВт 2,2
Электропривід зажиму инструмента, кВт 0,18 -
Электропривід насоса охлаждения, кВт 0,12
Електродвигун насоса дзмазки, кВт 0,27
Суммарная мощность електродвигателей, кВт 16,87
Габарит верстата
Габарити верстата, мм 3450 х 3970 х 2965 3200 х 2500 х 2450
Масса верстата, кг 4450 6900


    Список литературы:

  1. Верстат фрезерный консольный вертикальний з ЧПУ 6Р13Ф3-37. Руководство по експлуатации 6Р13Ф3-37.00.000 РЭ, 1978
  2. Верстат фрезерный консольный вертикальний з ЧПУ 6Р13Ф3-37. Инструкция по программированию (Пристрій ЧПУ - Н33-2М з блоком расчета еквидистанты), 1978

  3. Аврутин С.В. Основы фрезерного дела, 1962
  4. Аврутин С.В. Фрезерне дело, 1963
  5. Ачеркан Н.С. Металлорежущие верстати, Том 1, 1965
  6. Барбашов Ф.А. Фрезерне дело 1973, с.141
  7. Барбашов Ф.А. Фрезерные роботи (Профтехобразование), 1986
  8. Блюмберг В.А. Справочник фрезеровщика, 1984
  9. Григорьев С.П. Практика координатно-расточных і фрезерных работ, 1980
  10. Копылов Р.Б. Работа на фрезерных верстатах,1971
  11. Косовский В.Л. Справочник молодого фрезеровщика, 1992, с.180
  12. Кувшинский В.В. Фрезерование,1977
  13. Ничков А.Г. Фрезерные верстати (Библиотека станочника), 1977
  14. Пикус М.Ю. Справочник слесаря по ремонту металлорежущих верстатів, 1987
  15. Плотицын В.Г. Расчёты настроек і наладок фрезерных верстатів, 1969
  16. Плотицын В.Г. Наладка фрезерных верстатів,1975
  17. Рябов С.А. Современные фрезерные верстати і их оснастка, 2006
  18. Схиртладзе А.Г., Новиков В.Ю. Технологическое обладнання машиностроительных производств, 1980
  19. Тепинкичиев В.К. Металлорежущие верстати, 1973
  20. Чернов Н.Н. Металлорежущие верстати, 1988
  21. Френкель С.Ш. Справочник молодого фрезеровщика (3-е изд.) (Профтехобразование), 1978