metalinstryment.com
Довідник по металорізальних верстатів та пресовому обладнанні

ВМ-130 Верстат фрезерный широкоуніверсальний
руководство, схеми, опис, характеристики

ВМ-130 Верстат фрезерный широкоуніверсальний







Відомості про виробника фрезерного верстата ВМ130

Універсальный фрезерный верстат ВМ130 выпускался на предприятии Воткинский машиностроительный завод, основанный в 1759 году.

Металлорежущие верстати на Воткинском машиностроительном заводе выпускаются начиная з 1956 г. Это вертикально-фрезерные верстати 6Н13, ВМ127, ВМ127М, универсально-фрезерные ВМ130, ВМ133, горизонтально-фрезерные верстати з ЧПУ ВМ500ПМФ4, ВМ501ПМФ4, а также токарний настільний верстат Універсал-В.





Верстати, выпускаемые Воткинским машиностроительным заводом



ВМ-130в Верстат фрезерный широкоуніверсальний високою точності. Назначение, область применения

Фрезерный широкоуніверсальний верстат ВМ-130 предназначен для фрезерування деталей цилиндрическими, дисковыми і фасонными фрезами при помощи горизонтального шпинделя, і торцовыми, кінцівыми і шпоночными фрезами при помощи поворотного вертикального шпинделя.

Фрезерный верстат ВМ-130 предназначен для фрезерування, растачивания і сверления поверхностей деталей типа корпусов, рычагов і фланцев из черных і цветных металлов і их сплавов в условиях мелкосерийного і серийного производства. Верстат рекомендуется использовать для выполнения точной і чистовой обробки.

На станке можно выполнять ряд фрезерных і расточных работ з високою точностью, которая може быть достигнута, если верстат установлен в помещении з постоянной температурой 20±2°С і влажностью 65±5%, если вблизи верстата нет источников тепла і вибрации. На станке можно выполнять, также, сверление і рассверливание, долбление, центрование, цекование, зенкерование, развертывание, растачивание.

Принцип роботи і особливості конструкції верстата

Наличие двух шпинделей горизонтального і поворотного вертикального, а также большого количества приладдя к верстату, делает его широкоуниверсальным і удобным для роботи в инструментальных цехах машиностроительных заводов при изготовлении пристосувань, инструмента, рельефных штампов і прочих изделий.

Широкий диапазон оборотів шпинделя і подач, наличие механических подач і быстрых перемещений обеспечивают економичную обработку различных деталей в оптимальных режимах.

Верстат применяется в единичном і мелкосерийном производстве в инструментальных і механических цехах машиностроительных предприятий.

Конструктивные особливості верстата при високою точності обробки обеспечивают широкие технологические возможности, простоту керування і обслуживания. Технологические возможности і еффективность роботи на станке достигаются наличием вертикального і горизонтального рабочих столов, горизонтального і вертикального шпинделей, бесступенчатой регулировкой швидкостей подач.

По заказу потребителя верстат комплектуется пневмомеханической системой зажиму инструмента, системой цифровой индикации фактического положения координат.

Патент № 39471.

Преимущества использования широкоуніверсального фрезерного верстата ВМ-130:


Аналоги універсального фрезерного верстата ВМ-130





ВМ-130 Загальний вигляд широкоуніверсального фрезерного верстата

Фото широкоуніверсального фрезерного верстата ВМ-130

Фото широкоуніверсального фрезерного верстата ВМ-130

Фото широкоуніверсального фрезерного верстата ВМ-130. Дивитись у збільшеному масштабі



Фото широкоуніверсального фрезерного верстата ВМ-130

Фото широкоуніверсального фрезерного верстата ВМ-130

Фото широкоуніверсального фрезерного верстата ВМ-130. Дивитись у збільшеному масштабі



Фото широкоуніверсального фрезерного верстата ВМ-130

Фото широкоуніверсального фрезерного верстата ВМ-130

Фото широкоуніверсального фрезерного верстата ВМ-130. Дивитись у збільшеному масштабі



Фото широкоуніверсального фрезерного верстата ВМ-130

Фото широкоуніверсального фрезерного верстата ВМ-130

Фото широкоуніверсального фрезерного верстата ВМ-130. Дивитись у збільшеному масштабі



Фото широкоуніверсального фрезерного верстата ВМ-130

Фото широкоуніверсального фрезерного верстата ВМ-130

Фото широкоуніверсального фрезерного верстата ВМ-130. Дивитись у збільшеному масштабі



Фото широкоуніверсального фрезерного верстата ВМ-130

Фото широкоуніверсального фрезерного верстата ВМ-130

Фото широкоуніверсального фрезерного верстата ВМ-130. Дивитись у збільшеному масштабі



ВМ-130 Загальний вигляд  расточного широкоуніверсального фрезерного верстата

Фото широкоуніверсального фрезерного верстата ВМ-130


ВМ-130 Розташування складових частин фрезерного верстата

ВМ-130 Список складових частин фрезерного верстата

Розташування основних вузлів фрезерного верстата ВМ-130


Список складових частин широкоуніверсального фрезерного верстата ВМ-130в

  1. Суппорт - ВМ130Н-61-03-000
  2. Стол основной - ВМ130Н-62-05-000
  3. Ограждение направляючих - ВМ130Н-61-08-000
  4. Головка фрезерно-расточная - ВМ130В-61Л-14-000
  5. Станина - ВМ130Н-61-01-000
  6. Бабка горизонтальная - ВМ130Н-61-02-000
  7. Кожух гвинта - ВМ130Н-61-07-000
  8. Коробка подач - ВМ130Н-61-04-000
  9. Електроустаткування - ВМ130Н-61-06-000
  10. Корито - ВМ130Н-61-09-000
  11. Головка сверлильно-фрезерна - ВМ130Н-61П-15-000

ВМ-130 Розташування органів керування фрезерным верстатом

Схема органів керування фрезерного верстата ВМ-130

Розташування органів керування фрезерным верстатом ВМ-130


Список органів керування консольно-фрезерным верстатом ВМ-130





Кінематична схема фрезерного верстата вм-130

Кінематична схема ВМ-130 cтанок широкоуніверсальний фрезерный

Кінематична схема фрезерного верстата ВМ-130

Кінематична схема фрезерного верстата ВМ-130. Дивитись у збільшеному масштабі




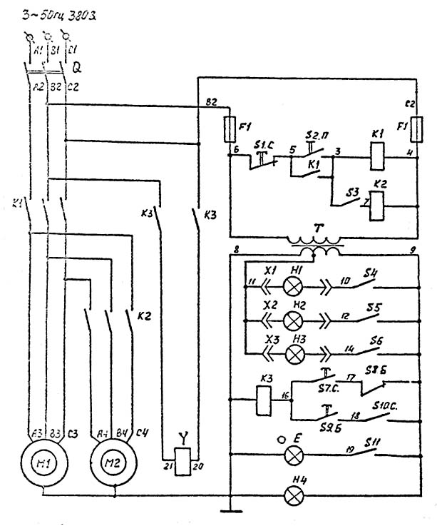
Електроустаткування фрезерного верстата вм-130

Верстат изготовляется і отправляется з електрообладнанням, рассчитанным на питание от сети 3-х фазного переменного тока частотой 50 Герц і рабочим напряжением 380В.

Напряжение ланцюгів керування 380В.

Напряжение ланцюгів блокировок, освещения і сигналізація 12В.

На верстат установлены:

Схема електрична фрезерного верстата ВМ-130в

Схема електрична фрезерного верстата ВМ-130

Електрична схема фрезерного верстата ВМ-130




Технічні характеристики фрезерного верстата ВМ-130В

Наименование параметра ВМ-130В ВМ-131ВФ1 ВМ-132
Основні параметри верстата
Класс точності по ГОСТ 8-82 В В В
Розміри рабочей поверхности горизонтального (углового) стола, мм 250 х 630 250 х 630 250 х 630
Розміри рабочей поверхности вертикального стола (основного), мм 160 х 500 160 х 500
Расстояние от оси горизонтального шпинделя до стола при ручном перемещении, мм 60..360 60..360 60..360
Рабочий стол
Максимальная нагрузка на стол (по центру), кг 140 140
Число Т-образных пазов Розміри Т-образных пазов 3 4 4
Наибольшее продольное перемещение стола (по си X), мм 250 250/ 245 250
Наибольшее вертикальное перемещение стола (ручное/ от механической подачі) (по си Z), мм 300 300/ 295 300
Наибольшее поперечное перемещение вертикальной головки (по си Y), мм 200 200 200
Перемещение стола на одно деление лимба (продольное, поперечное, вертикальное), мм 0,02 0,02 0,02
Скорость швидкого продольного ходу стола (по си X), мм/мин 800 2400
Скорость швидкого поперечного ходу головки (по си Y), мм/мин 800 2400
Скорость швидкого вертикального ходу стола (по си Z), мм/мин 800 2400
Число ступеней рабочих подач стола 9 Б/с Б/с
Число ступеней рабочих подач шпиндельной бабки 9 Б/с Б/с
Пределы продольных рабочих подач стола (по си X), мм/мин 10..400 12..1250 12..1250
Пределы поперечных рабочих подач шпиндельной бабки (по си Y), мм/мин 10..400 12..1250
Пределы вертикальних рабочих подач стола (по си Z), мм/мин 10..400 12..1250
Наибольшее усилие, допускаемое для поздовжньої подачі (по оси X), (кгс) 316
Наибольшее усилие, допускаемое для поперечної подачі (по оси Y), (кгс) 572
Наибольшее усилие, допускаемое для вертикальной подачі (по оси Z), (кгс) 498
Горизонтальный шпиндель
Частота обертання горизонтального шпинделя, об/мин 45..2000 45..2000 45..2000
Количество швидкостей горизонтального шпинделя 12 12 12
Внутренний конус горизонтального шпинделя. Морзе 4 40АТ5 ISO 40
Торможение шпинделя есть есть
Предохранение шпинделя от перегрузки (муфта) есть есть
Сверлильно-фрезерна поворотная головка
Частота обертання шпинделя сверлильно-фрезерной поворотной головки, об/мин 90..4000 90..4000
Количество швидкостей шпинделя сверлильно-фрезерной поворотной головки 12 12
Наибольшее перемещение гильзы (пиноли) вертикального шпинделя, мм 60
Механическая подача шпинделя сверлильно-фрезерной поворотной головки, мм/об 0,05
Расстояние от торца шпинделя сверлильно-фрезерной головки до стола, мм 335
Расстояние от оси шпинделя сверлильно-фрезерной головки до направляючих станины (вылет), мм
Внутренний конус шпинделя сверлильно-фрезерной головки. Морзе 2
Фрезерно-расточная поворотная головка
Частота обертання шпинделя фрезерно-расточной поворотной головки, об/мин 45..2000 45..2000
Количество швидкостей шпинделя фрезерно-расточной поворотной головки 12 12
Расстояние от торца шпинделя фрезерно-расточной головки до стола, мм 330
Расстояние от оси шпинделя фрезерно-расточной головки до направляючих станины (вылет), мм
Угол поворота фрезерно-расточной головки в вертикальной плоскости, мм ±90° ±45° ±45°
Внутренний конус шпинделя фрезерно-расточной поворотной головки. Морзе 4 40АТ5 ISO 40
Привод
Количество електродвигателей на станке 2 3 3
Електродвигун приводу головного руху, кВт (об/мин) 2,2 3,0 (1430) 3,0 (1430)
Електродвигун приводу подач, Н • м - 14
Електродвигун насоса охлаждающей жидкости, кВт 0,12 (2800) 0,12 (2800) 0,12 (2800)
Габарити і масса верстата
Габарити верстата (длина ширина высота), мм 1400 х 1000 х 1720 1380 х 1700 х 1820 1400 х 1100 х 1720
Масса верстата, кг 930 1040 980

    Список литературы:

  1. Верстат фрезерный специализированный високою точності ВМ130В. Руководство по експлуатации ВМ130В 61.00.000, 1977

  2. Аврутин С.В. Основы фрезерного дела, 1962
  3. Аврутин С.В. Фрезерне дело, 1963
  4. Ачеркан Н.С. Металлорежущие верстати, Том 1, 1965
  5. Барбашов Ф.А. Фрезерне дело 1973, с.141
  6. Барбашов Ф.А. Фрезерные роботи (Профтехобразование), 1986
  7. Блюмберг В.А. Справочник фрезеровщика, 1984
  8. Григорьев С.П. Практика координатно-расточных і фрезерных работ, 1980
  9. Копылов Р.Б. Работа на фрезерных верстатах,1971
  10. Косовский В.Л. Справочник молодого фрезеровщика, 1992, с.180
  11. Кувшинский В.В. Фрезерование,1977
  12. Ничков А.Г. Фрезерные верстати (Библиотека станочника), 1977
  13. Пикус М.Ю. Справочник слесаря по ремонту металлорежущих верстатів, 1987
  14. Плотицын В.Г. Расчёты настроек і наладок фрезерных верстатів, 1969
  15. Плотицын В.Г. Наладка фрезерных верстатів,1975
  16. Рябов С.А. Современные фрезерные верстати і их оснастка, 2006
  17. Схиртладзе А.Г., Новиков В.Ю. Технологическое обладнання машиностроительных производств, 1980
  18. Тепинкичиев В.К. Металлорежущие верстати, 1973
  19. Чернов Н.Н. Металлорежущие верстати, 1988
  20. Френкель С.Ш. Справочник молодого фрезеровщика (3-е изд.) (Профтехобразование), 1978








Заказать