metalinstryment.com
Довідник по металорізальних верстатів та пресовому обладнанні

6Р13 Верстат консольно-фрезерный вертикальний
Паспорт, руководство, схеми, опис, характеристики

6Р13, 6Р13Б Загальний вигляд  консольного фрезерного верстата



Відомості про виробника консольно-фрезерного верстата 6р13, 6р13Б

Производитель універсального фрезерного верстата 6р13, 6р13Б - Горьковский завод фрезерных верстатів, основанный в 1931 году.

Завод специализируется на выпуске широкой гаммы универсальных фрезерных верстатів, а, также, фрезерных верстатів з УЦИ і ЧПУ, і является одним из наиболее известных станкостроительных предприятий в России.

Начиная з 1932 года Горьковский завод фрезерных верстатів занимается выпуском верстатів і является експертом в разработке і производстве различного металлорежущего оборудования.

Універсальные фрезерные верстати серии Р выпускались Горьковским заводом фрезерных верстатів (ГЗФС) начиная з 1972 года. Верстати сходны между собой по конструкції, широко унифицированы і является дальнейшим усовершенствованием аналогичных верстатів серии М.

Верстат 6Р13Б отличается от верстата 6Р13Б установленной мощностью двигателей головного руху і подач, размерами рабочей поверхности стола і величинами переміщення стола. Быстроходные верстати 6Р13Б имеют, в отличие от верстатів 6Р13, повышенный диапазон чисел оборотів шпинделя і подач стола і повышенную мощность двигуна головного руху.

Сегодня консольно-фрезерный верстат 6р13, 6р13Б - выпускает:



Продукция Горьковского завода фрезерных верстатів ГЗФС


6Р13 Верстат вертикальний консольно-фрезерный. Назначение, область применения

фрезерный верстат 6Р13 производился з 1972 года і заменил в производстве устаревшую модель 6М13П і был заменен на более совершенную модель 6Т13.

Вертикальный консольно-фрезерный верстат 6Р13 предназначен для обробки всевозможных деталей из стали, чугуна, труднообрабатываемых і цветных металлов, головним образом торцовыми і кінцівыми фрезами. На станке можно обрабатывать вертикальные, горизонтальные і наклонные плоскости, пазы, углы, рамки, криволинейные поверхности.

На верстатах можно обрабатывать вертикальные, горизонтальные і наклонные плоскости, пазы, углы, рамки, зубчасті колеса і т. д.

Для обробки криволинейных поверхностей верстати оснащены специальным копировальным пристрійм. Обработка криволинейных поверхностей производится по копирам, контур которых ощупывается наконечником електроконтактного датчика переміщення стола.

На верстатах моделей 6Р12Б і 6Р13Б можно обрабатывать детали из легких сплавов.

Технологические возможности верстатів 6Р13 могут быть расширены з применением делительной головки, поворотного круглого стола і других пристосувань.

Консольно-фрезерные верстати 6Р13 предназначены для выполнения различных фрезерных работ в условиях индивидуального і серийного производства.

Технічна характеристика і жесткость верстатів позволяет полностью использовать возможности быстрорежущего і твердосплавного инструмента.

Налаштування верстата на различные напівавтоматические і автоматические циклы позволяет организовать многостаночное обслуговування.

Принцип роботи і особливості конструкції верстата

Фрезерный верстат 6Р13 з вертикальным пинольным шпинделем. Крестово перемещающийся в горизонтальной плоскости стол смонтирован на вертикально перемещающейся по направляющим стойки консоли.

Верстат 6Р13 широко унифицирован з другими верстатами своей серии і является дальнейшим усовершенствованием аналогичных верстатів серии М.

Быстроходный верстат 6Р13Б имеет, в отличие от верстата 6Р13, повышенный диапазон чисел оборотів шпинделя і подач стола і повышенную мощность двигуна головного руху.

Верстат 6Р13 отличается от верстата 6Р12 установленной мощностью двигателей головного руху і подач, размерами рабочей поверхности стола і величинами переміщення стола.

СОЖ подается двигателем центробежного вертикального насоса по трубопроводам через сопло к инструменту.

Поворотная шпиндельна головка верстатів оснащена механізмом ручного осьового переміщення гильзы шпинделя, что позволяет производить обработку отверстий, ось которых расположена под углом до ±45° к рабочей поверхности стола. Мощность приводов і высокая жесткость верстатів позволяют применять фрезы, изготовленные из быстрорежущей стали, а также инструмент, оснащенный пластинками из твердых і сверхтвердых синтетических материалов.

Верстати применяются в единичном і серийном производстве.

Класс точності верстата Н по ГОСТ 8—77.


Модифікації консольно-фрезерных верстатів серии 6Р

Серия 6М консольно-фрезерных верстатів - 6Р12, 6Р12Б, 6Р13, 6Р13Б, 6Р82, 6Р82Г, 6Р82ГБ, 6Р82Ш, 6Р83, 6Р83Г, 6Р83Ш, запущенна в 1961 году, включет в себя несколько модификаций:


История выпуска верстатів Горьковским заводом, ГЗФС

В 1937 году на Горьковском заводе фрезерных верстатів были изготовлены первые консольно-фрезерные верстати серии 6Б моделей 6Б12 і 6Б82 з рабочим столом 320 х 1250 мм (2-го типоразмера).

В 1951 году запущена в производство серия консольно-фрезерных верстатів собственной конструкції (Новые): 6Н12, 6Н13П, 6Н82, 6Н82Г. Верстат 6Н13ПР получил “Гран-При” на всемирной выставке в Брюсселе в 1956 году.

В 1960 году запущена в производство серия консольно-фрезерных верстатів: 6М12П, 6М13П, 6М82, 6М82Г, 6М83, 6М83Г, 6М82Ш.

В 1972 году запущена в производство серия консольно-фрезерных верстатів: 6Р12, 6Р12Б, 6Р13, 6Р13Б, 6Р13Ф3, 6Р82, 6Р82Г, 6Р82Ш, 6Р83, 6Р83Г, 6Р83Ш.

В 1975 году запущены в производство копировальные консольно-фрезерные верстати: 6Р13К.

В 1978 году запущены в производство копировальные консольно-фрезерные верстати 6Р12К-1, 6Р82К-1.

В 1985 году запущена в производство серия 6Т-1 консольно-фрезерных верстатів: 6Т12-1, 6Т13-1, 6Т82-1, 6Т83-1 і ГФ2171.

В 1991 году запущена в производство серия консольно-фрезерных верстатів: 6Т12, 6Т12Ф20, 6Т13, 6Т13Ф20, 6Т13Ф3, 6Т82, 6Т82Г, 6Т82ш, 6Т83, 6Т83Г, 6Т83Ш.






Посадочные і присоединительные базы фрезерного верстата 6Р13Б

6Р13Б Габаритные розміри робочого простору і присоединительные базы універсального горизонтального консольно-фрезерного верстата

Посадочные і присоединительные базы фрезерного верстата 6р13Б


Загальний вигляд вертикального консольно-фрезерного верстата 6Р13

6Р13 Загальний вигляд  консольно-фрезерного верстата

Фото консольно-фрезерного верстата 6р13


6Р13 Загальний вигляд  консольно-фрезерного верстата

Фото консольно-фрезерного верстата 6р13


Розташування складових частин консольно-фрезерного верстата 6Р13

6Р13 Список складових частин консольно-фрезерного верстата

Розташування складових частин фрезерного верстата 6р13

Розташування складових частин фрезерного верстата 6р13. Скачать в увеличенном масштабе



Список складових частин консольно-фрезерного верстата 6Р13

  1. Станина - 6Р13-1
  2. Поворотная головка - 6Р13-31
  3. Коробка швидкостей - 6М13-3
  4. Коробка подач - 6Р83-4
  5. Коробка переключения - 6Р83-5
  6. Консоль - 6Р13-6
  7. Стол і салазки - 6Р83Г-7
  8. Електроустаткування - 6Р13-8

Розташування органів керування консольно-фрезерным верстатом 6Р13

6Р13 Органы керування консольно-фрезерным верстатом

Розташування органів керування фрезерным верстатом 6р13

Органы керування консольно-фрезерным верстатом 6Р13. Скачать в увеличенном масштабе



Список органів керування консольно-фрезерным верстатом 6Р13

  1. Кнопка „Стоп" (дублирующая)
  2. Кнопка „Пуск шпинделя" (дублирующая)
  3. Стрелка-указатель швидкостей шпинделя
  4. Указатель швидкостей шпинделя
  5. Кнопка „Быстро стол" (дублирующая)
  6. Кнопка „Импульс шпинделя"
  7. Переключатель освещения
  8. Поворот головки
  9. Зажим гильзы шпинделя
  10. Звездочка механізма автоматичного цикла
  11. Рукоятка увімкнення продольных перемещений стола
  12. Зажимы стола
  13. Маховичок ручного продольного переміщення стола
  14. Кнопка „Быстро стол"
  15. Кнопка „Пуск шпинделя"
  16. Кнопка „Стоп"
  17. Переключатель ручного или автоматичного керування продольным переміщенням стола
  18. Маховик ручных поперечных перемещений стола
  19. Лимб механізма поперечных перемещений стола
  20. Кольцо-нониус
  21. Рукоятка ручного вертикального переміщення стола
  22. Кнопка фиксации грибка переключения подач
  23. Грибок переключения подач
  24. Указатель подач стола
  25. Стрелка-указатель подач стола
  26. Рукоятка увімкнення поперечної і вертикальной подач стола
  27. Зажим салазок на направляючих консоли
  28. Рукоятка увімкнення продольных перемещений стола (дублирующая)
  29. Рукоятка увімкнення поперечної і вертикальной подач стола (дублирующая)
  30. Маховичок ручного продольного переміщення стола (дублирующая)
  31. Переключатель направления обертання шпинделя „влево-вправо"
  32. Переключатель насоса охлаждения „включено выключено"
  33. Переключатель ввода „включено-выключено"
  34. Рукоятка переключения швидкостей шпинделя
  35. Переключатель автоматичного или ручного керування і роботи круглого стола
  36. Зажим консоли на станине
  37. Маховичок выруху гильзы шпинделя
  38. Зажим головки на станине

Графічні символы і условные обозначения на панелях консольно-фрезерного верстата 6Р13

Графічні символы і условные обозначения на панелях верстата 6р13

Графічні символы і условные обозначения на панелях консольно-фрезерного верстата 6Р13. Скачать в увеличенном масштабе







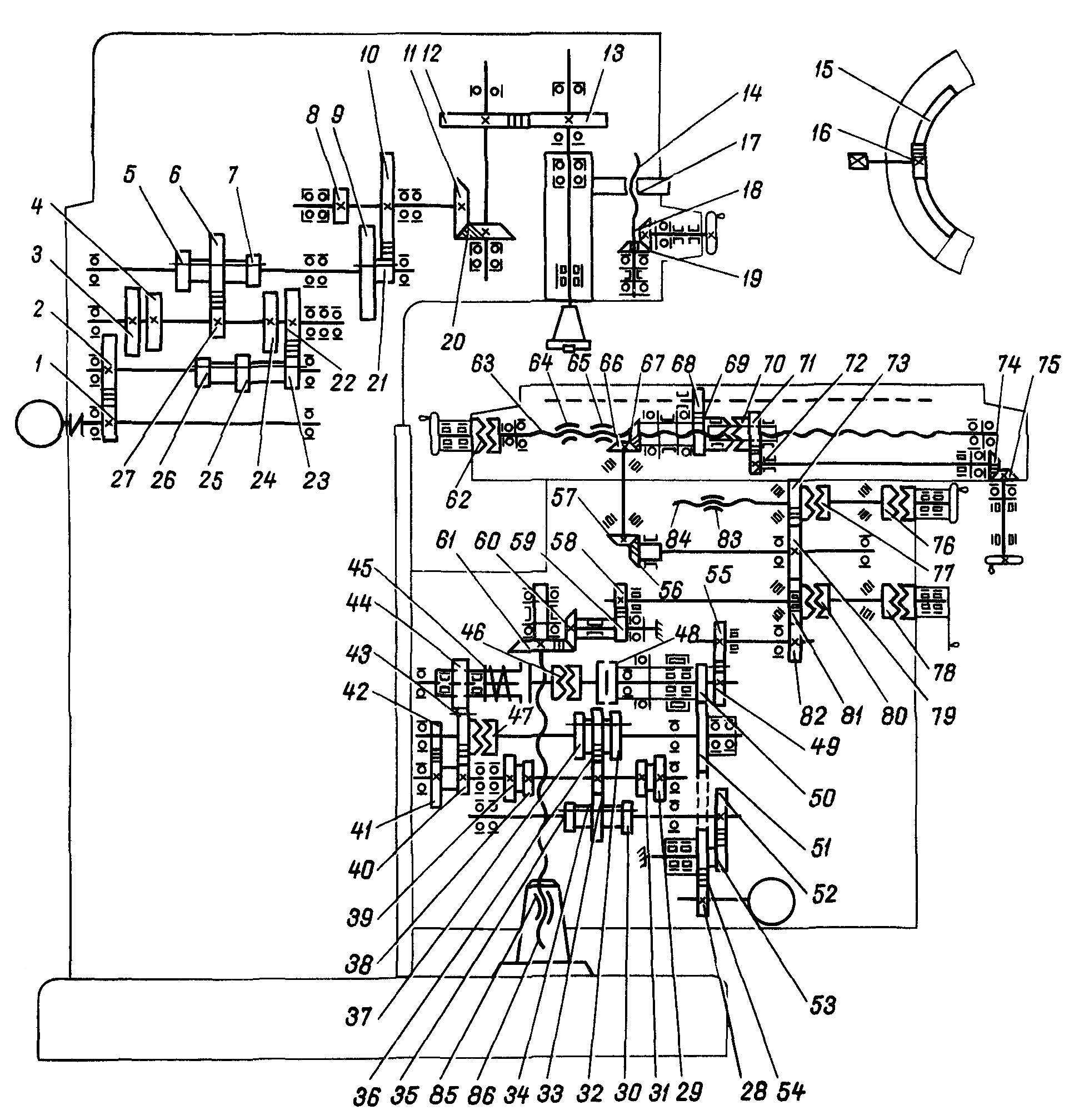
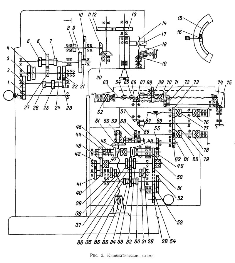
Схема кінематична консольно-фрезерного верстата 6Р13

6Р13 Схема кінематична консольно-фрезерного верстата

Кінематична схема консольно-фрезерного верстата 6р13

Схема кінематична консольно-фрезерного верстата 6Р13. Скачать в увеличенном масштабе



Кінематична схема приведена для понимания связей і взаимодействия основних елементів верстата. На выносках проставлены числа зубьев (г) шестерен (звездочкой обозначено число заходов червяка).

Привід головного руху осуществляется от фланцевого електродвигуна через упругую соединительную муфту.

Числа оборотів шпинделя изменяются передвижением трех зубчатых блоков по шлицевым валам.

Коробка швидкостей сообщает шпинделю 18 различных швидкостей.

Привід подач осуществляется от фланцевого електродвигуна, смонтированного в консоли. Посредством двух трехвенцовых блоков і передвижного зубчатого колеса з кулачковой муфтой коробка подач обеспечивает получение 18 различных подач, которые через шариковую предохранительную муфту передаются в консоль і далее при включении соответствующей кулачковой муфты к гвинтам продольного, поперечного і вертикального перемещений.

Ускоренные переміщення получаются при включении фрікциону швидкого ходу, вращение которого осуществляется через промежуточные зубчасті колеса непосредственно от електродвигуна подач.

Фрикцион сблокирован з муфтой рабочих подач, что устраняет возможность их одновременного увімкнення.

Графики, поясняющие структуру механізма подач верстата, приведены на рис. 6 і 7. Для верстатів моделей 6Р13Б (рис. 7) вертикальные подачі в 3 раза меньше продольных.

Схема установки підшибників консольно-фрезерного верстата 6Р13

Схема установки підшибників схема консольно-фрезерного верстата 6Р13

Схема установки підшибників консольно-фрезерного верстата 6Р13

Схема установки підшибників схема консольно-фрезерного верстата 6Р13. Дивитись у збільшеному масштабі



Список підшибників схема консольно-фрезерного верстата 6Р13

Список підшибників консольно-фрезерного верстата 6Р13

Список підшибників схема консольно-фрезерного верстата 6Р13. Дивитись у збільшеному масштабі



Підшипники шпинделя консольно-фрезерного верстата 6Р13

Шпиндель верстата 6Р13 смонтирован на 5-и підшипниках:


Технічні характеристики підшипника № 3182118

Подшипник 3182118 - ето двухрядный роликовый радиальный подшипник, з короткими цилиндрическими роликами, з безбортовым наружным кольцом, з коническим посадочным отверстием (1:12), канавкой і отверстиями для внесения смазочного материала. Комплект тел качения з внутренним кольцом способны перемещаться относительно наружного в обе стороны. Двухрядные підшипники способны обеспечивать высокую грузоподъемность і жесткость при относительно небольших габаритах. Этот типоразмер, как і большинство роликопідшибників етой серии производится в настоящее время только высокоточным, вторым или четвертым классом (ранее выпускался і 6-ым классом точності), поскольку основная область применения — прецизионные верстати, при работе которых недопустимо высокое биение, возникающее вследствие даже небольших отклонений от заданных размеров.

Основным производителем підшибників подобной конструкції всегда считался московский ГПЗ-1, сейчас же его производство перевели в город Волжский, на филиал Завода Авиационных Подшипников при 15 ГПЗ (все заводы объединены под егидой Европейской Подшипниковой Корпорации). В настоящее время изготавливается четыре разные модификации - 2-3182118К, 4-3182118К, 2-3182118КЕ, 4-3182118КЕ, которые отличаются по классу точності і материалу сепаратора (К — латунь, КЕ — полиамид, сама же буква К означает наличие проточки на внешнем кольце і отверстий для внесения смазочного материала). Широко распространена продажа неликвидных підшибників етого типа, произведенных в прошлом, ета продукция доступна в большем количестве модификаций і чаще всего значительно дешевле недавно произведенной заводской. Купить заводские підшипники з минимальными наценками можно у официальных представителей ЕПК (ориентировочная цена — около 5700 рублей, причем класс точності і материал сепаратора на нее почти не влияет), неликвидную продукцию і підшипники з хранения можно купить в фирмах, расположенных в крупных промышленных центрах прошлого.

Импортные підшипники етого типоразмера имеют обозначение NN3018K (наличие буквы К в номере обязательно, так как она указывает на коническую посадку). В России наиболее распространена продукция следующих производителей — FAG, SKF, NSK, IBC. Есть і дешевый варіант покупки импортных підшибників етого типа — продукция восточно-европейских производителей — ZKL (Чехия), URB (Румыния) і FLT (Польша), однако чаще всего она реализуется неликвидного качества, производства 80-ых годов прошлого века, когда они поставлялись в страну для нужд уже развалившихся уже промышленных предприятий. Она отличается большим разнообразием модификаций, так что иногда ето единственный варіант для ремонта оборудования. Ориентировочная цена наиболее качественных і дорогих импортных підшибників етого типа составляет около 500 евро при покупке без посредников. Цена же на підшипники марок FLT і ZKL зависит от их состояния і модификации, і може составлять 750 рублей і меньше.

Розміри і характеристики підшипника 3182118 (NN3018K)

Схема підшипника 3182118 фрезерного верстата 6Р13

Схема підшипника 3182118 фрезерного верстата 6Р13



Технічні характеристики підшипника 46117

Подшипник 46117 - ето шариковый радиально-упорный однорядный подшипник. Данный тип имеет дорожки качения на обоих кольцах, причем они смещены вдоль оси підшипника. Таким образом, они лучше всего приспособлены для восприятий комбинированных радиально-осевых нагрузок. Но поскольку осевую они могут воспринимать только в одном направлении, то их устанавливают попарно для фиксации вала.

Производство етого типа осуществляется на саратовском 3 ГПЗ (ОАО «СПЗ», маркировка SPZ) в следующих разновидностях: 46117Л, 6-46117Л, 4-46117Л. На самарском СПЗ-4 их выпускают по 6-му классу точності з полиамидным или латунным сепараторами. Также в продаже у многих фирм имеются підшипники етого типа, произведенные на 18 ГПЗ в Украине (Винница).

Отечественные підшипники производятся согласно ГОСТ 520-2002, импортные по ISO і имеют маркировку 7017A з дополнительными обозначениями конструктивных особенностей.

Розміри і характеристики підшипника 46117 (7017A):

Схема підшипника 46117 (7017A)

Схема підшипника 46117 (7017A)


Фото підшипника 46117 (7017A)

Фото підшипника 46117 (7017A)



Опис конструкції основних вузлів фрезерного верстата 6Р13


Станина

Станина является базовым узлом, на котором монтируются остальные вузли і механізмы верстата.

Станина жестко закреплена на основании і фиксирована штифтами.

Поворотная головка консольно-фрезерного верстата 6Р13

6Р13, 6Р13Б Поворотная головка консольно-фрезерного верстата

Креслення поворотной головки консольно-фрезерного верстата 6р13

Поворотная головка (рис. 8) центрируется в кольцевой выточке горловины станины і крепится к ней четырьмя болтами, входящими в 1-разный паз фланца станины.

Шпиндель представляет собой двухопорный вал, смонтированный в выдвижной гильзе. Регулювання осьового люфта в шпинделе осуществляется подшлифовкой колец 3 і 4. Повышенный люфт в переднем подшипнике устраняют подшлифовкой полуколец 5 і подтягиванием гайки.

Регулировку проводят в следующем порядке:

Для устранения радиального люфта в 0,01 мм полукольца необходимо подшлифовать примерно на 0,12 мм.

Вращение шпинделю передається от коробки швидкостей через пару конических і пару цилиндрических зубчатых колес, смонтированных в головке.

Смазка підшибників і шестерен поворотной головки осуществляется от насоса станины, а смазка підшибників шпинделя і механізма переміщення гильзы — шприцеванием.

Коробка швидкостей

Коробка швидкостей смонтирована непосредственно в корпусе станины. Соединение коробки з валом електродвигуна осуществляется упругой муфтой, допускающей несоосность в установці двигуна до 0,5—0,7 мм.

Осмотр коробки швидкостей можно произвести через окно з правой стороны.

Смазка коробки швидкостей осуществляется от плунжерного насоса (рис. 9), приводимого в действие ексцентриком. Производительность насоса около 2 л/мин. Масло к насосу подводится через фильтр. От насоса масло поступает к маслораспределителю, от которого по медной трубке отводится на глазок контроля роботи насоса і по гибкому шлангу в поворотную головку. Элементы коробки швидкостей смазываются разбрызгиванием масла, поступающего из отверстий трубки маслораспределителя, расположенного над коробкой швидкостей.

Коробка переключения швидкостей

Коробка переключения швидкостей позволяет выбирать требуемую скорость без послідовного прохождения промежуточных ступеней.

Рейка 19 (рис. 10), передвигаемая рукояткой переключения 18, посредством сектора 15 через вилку 22 (рис. 11) перемещает в осевом направлении главный валик 29 з диском переключения 21.

Диск переключения можно поворачивать указателем швидкостей 23 через конические шестерни 28 і 30. Диск имеет несколько рядов определенного размера отверстий, расположенных против штифтов реек 31 і 33.

Рейки попарно зацепляются з зубчатым колесом 32. На одной из каждой пары реек крепится вилка переключения. При перемещении диска нажимом на штифт одной из пары обеспечивается возвратно-поступательное перемещение реек.

При етом вилки в кінці ходу диска занимают положение, соответствующее зацеплению определенных пар шестерен. Для исключения возможности жесткого упора шестерен при переключении штифты 20 реек подпружинены.

Фиксация лимба при выборе скорости обеспечивается шариком 27, заскакивающим в паз звездочки 24.

Регулювання пружины 25 производится пробкой 26 з учетом четкой фиксации лимба і нормального зусилля при его повороте.

Рукоятка 18 (см. рис. 10) во включенном положении удерживается за счет пружины 17 і шарика 16. При етом шип рукоятки входит в паз фланца.

Соответствие швидкостей значениям, указанным на указателе, достигается определенным положением конических колес по зацеплению. Правильное зацепление устанавливается по кернам на торцах сопряженного зуба і впадины или при установці указателя в положение скорости 31,5 об/мин і диска з вилками в положение скорости 31,5 об/мин (для верстатів моделей 6Р13Б соответствующая скорость равна 50 об/мин). Зазор в зацеплении конической пары не должен быть больше 0,2 мм, так как диск за счет етого може повернуться до 1 мм.

Смазка коробки переключения осуществляется от системы змазки коробки швидкостей разбрызгиванием масла.





Коробка подач фрезерного верстата 6Р13, 6Р13Б

Коробка подач фрезерного верстата 6Р13, 6р13Б

Фото коробки подач фрезерного верстата 6р13, 6р13Б

Коробка подач фрезерного верстата 6Р13. Скачать в увеличенном масштабе



Разрез коробки подач консольно-фрезерного верстата 6р13

Разрез коробки подач консольно-фрезерного верстата 6р13

Разрез коробки подач консольно-фрезерного верстата 6р13. Скачать в увеличенном масштабе




Налаштування, наладка і режими роботи фрезерного верстата 6Р13

Керування верстатом — кнопочно-рукояточное. Основними рухуми в станке можно управлять з двух мест — спереди і сбоку.

Розташування органів керування см. на рис. 2 і в табл. 2.

Расшифровка принятых графических символів керування верстатом приведена в табл. 3.

Работающий на станке може пользоваться только переключателями, расположенными з наружной стороны дверок електрошкафов.

ОТКРЫВАТЬ ЭЛЕКТРОШКАФЫ РАЗРЕШАЕТСЯ ТОЛЬКО КВАЛИФИЦИРОВАННЫМ ЭЛЕКТРИКАМ.

Увімкнення верстата в сеть осуществляется переключателем 33. По окончании роботи или при продолжительном перерыве верстат необходимо отключить от сети.

Увімкнення шпинделя производится кнопками 2 или 15 „Пуск шпинделя" в зависимости от места керування верстатом. Кнопками 1 или 16 отключают вращение шпинделя. Изменение направления обертання шпинделя производится переключателем 31.

Торможение шпинделя происходит при нажатии кнопки 1 или 16 „Стоп". Время останова шпинделя для верстатів 6Р12 і 6Р13 при п=1600 об/мин составляет около 3,5 сек; для верстатів 6Р12Б і 6Р13Б при n = 2500 об/мин — около 6 сек.

Відключення шпинделя сблокировано з подачей. При отключении шпинделя отключается рух подачі. Хорошая робота шпиндельного вузла характеризуется соответствием люфта в підшипниках шпинделя установленному нормами точності і нормальным (не более 60—70° С) нагревом підшибників при обкатке на наибольшем числе оборотів в течение часа. Регулировку зазору в підшипниках шпинделя см. в разделе 1.3.6.

Увімкнення поздовжньої, поперечної і вертикальной подач осуществляется рукоятками. Направление поворота рукояток соответствует направлению переміщення вузлів. Увімкнення і вимкнення поздовжньої подачі производится рукояткой 11, имеющей три фиксированных положения: вправо, влево, среднее (нейтральное) или дублирующей рукояткой 28 в случае керування верстатом сбоку.

Керування поперечными і вертикальными переміщеннями производится рукояткой 26, имеющей п'ять фиксированных положений: среднее (нейтральное), к себе, от себя — перемещаются салазки, вниз, вверх — перемещается консоль. Рукоятке 26 соответствует дублирующая її рукоятка 29.

На станке електрической блокировкой исключается возможность одновременного увімкнення поздовжньої і поперечної или вертикальной подач. Одновременное увімкнення поперечної і вертикальной подач исключается конструкцией механізма.

Быстрое перемещение вузлів происходит при нажатии кнопок 5 или 14 „Быстро" при включенном положении рукоятки в направлении необходимого переміщення і прекращается, если отпустить кнопку.

При етом рух рабочей подачі продолжается до выведения рукоятки в нейтральное положение.

Ручні продольные, поперечные і вертикальные переміщення осуществляются соответственно маховичками 13, 30, 18 і рукояткой 21.

Установка лимбов отсчета перемещений в начальное для отсчета положение производится следующим образом: лимб 19 нажимом смещается „от себя" і в етом положении поворачивается до совмещения нулевой риски лимба з указателем начала отсчета перемещений на кольце 20. Точное совмещение рисок лимба і указателя достигается поворотом кольца 20.

Маховичок 30 блокирован от произвольного увімкнення его при механической подаче пружиной. Маховичок 18 і рукоятка 21 при включении механической подачі отключаются і предохраняются от произвольного увімкнення специальным блокирующим пристрійм (см. рис. 17).

Маховичок 13 отключается при включении рукоятки продольных механических перемещении стола.

В процессе експлуатации верстата следите за исправностью етих устройств, а также за состоянием поверхностей трения маховичков, рукоятки і шеек валов, на которые они посажены.

РАБОТА НА СТАНКЕ ПРИ НЕИСПРАВНЫХ БЛОКИРУЮЩИХ УСТРОЙСТВАХ НЕ ДОПУСКАЕТСЯ.

Зусилля при ручных переміщеннях вузлів в значительной степени зависят от правильности регулювання клиньєв. Неправильное регулювання (неравномерная затяжка клиньєв консоли, наличие люфта или перетяжка) вызывает увеличение зусилля переміщення.

Ввиду етого необходимо, особенно для консоли, периодически (раз в месяц) проверять регулировку клиньєв. При наличии неплавного или тугого ходу необходимо регулювання.

Крайние положения стола при поперечных і вертикальних переміщеннях ограничиваются з обеих сторон упорами, которые в процессе руху нажимают на соответствующие рычаги і выводят рукоятку в нейтральное положение. Продольные переміщення ограничиваются упорами, нажимающими на выступы рукоятки увімкнення продольных перемещений. Выключающие упоры могут перемещаться в пазах планок і стола і устанавливаются з расчетом виключення подачі в нужном месте.

Крайние положения упоров ограничены расположенными внутри паза гвинтами, не позволяющими перемещать упоры за пределы ходов, оговоренных в паспорте верстата.

РАБОТА НА СТАНКЕ СО СНЯТЫМИ УПОРАМИ ИЛИ НЕИСПРАВНЫМИ УСТРОЙСТВАМИ, ВЫКЛЮЧАЮЩИМИ ПОДАЧУ, НЕ ДОПУСКАЕТСЯ.

Поворот головки осуществляется вращением шестигранника 8. Необходимый угол поворота определяется по шкале на фланце поворотной головки і нулевой риске, нанесенной на горловине станины. Нулевое положение головки фиксируется штифтом.

После поворота головка надежно закрепляется. Вырух гильзы поворотной головки производится маховичком 37. Величина переміщення определяется по лимбу. За один оборот маховичка гильза выдвигается на 4 мм. Точную налаштування переміщення гильзы можно производить по индикатору, который устанавливается на кронштейне гильзы или за счет регулируемого упора.

Зажим вузлів з целью повышения жесткости системы осуществляется:

Зажим стола в направляючих салазок при работе поперечної подачей или некоторый поджим стола при силових режимах на поздовжньої подаче осуществляется гвинтами 12.

ВКЛЮЧАТЬ МЕХАНИЧЕСКИЙ ХОД УЗЛА ПРИ ЗАЖАТЫХ РУКОЯТКАХ ЗАПРЕЩАЕТСЯ.

Переключення чисел оборотів шпинделя осуществляется следующим образом:

В связи з перегрузкой двигуна от пусковых токов нельзя допускать слишком частого переключения швидкостей. Допускается производить два-три переключения подряд, а дальнейшие з промежутками 3..5 минут. Во избежание выхода из зацепления шестерен коробки швидкостей в процессе роботи следите за надежностью фиксации рукоятки в фиксирующем пазу.

ПЕРЕКЛЮЧЕНИЕ СКОРОСТЕЙ ШПИНДЕЛЯ НА ХОДУ ЗАПРЕЩАЕТСЯ.

Переключення подач осуществляется следующим образом:

ДОВЕДИТЕ ГРИБОК ДО КОНЦА И ПРОВЕРЬТЕ ФИКСАЦИЮ.

Несоблюдение етого правила приводит к неполному зацеплению зубчатых колес коробки подач і самопроизвольному включению подачі.

С целью исключения упора зубчатых колес при переключении на станке предусмотрено кратковременное увімкнення електродвигуна подачі при отводе грибка „на себя". При движении грибка вперед електродвигатель отключается і переключение происходит при проворачивающихся по инерции зубчатых колесах.

Електродвигун не може включаться при переключении подач, если какая-либо из рукояток увімкнення поздовжньої, поперечної или вертикальной подач выведена из нейтрального положения. Это исключает возможность переміщення вузлів в момент переключения подач.

Указанные на указателе подач значения относятся к поздовжньої і поперечної подачам.

Установка і крепление инструмента. Качество инструмента і оправок во многом определяет спокойную работу верстата, точность і чистоту обробки.

В зависимости от вида применяемых фрез крепление их може выполняться несколькими способами: на оправке при помощи фланца или шпонки, переходными втулками і др.

Оправка вставляется в конус шпинделя і надежно затягивается шомполом. Выступающий конец шомпола закрывается предохранительным колпаком.

Работа на станке

Работа на станке і подготовка его к работе в зависимости от налаштування механізмов і переключателей електроустаткування може выполняться:

В наладочном режиме при установці переключателя направления обертання шпинделя 31 в нулевое (отключенное) положение, а переключателя 35 в положение ручного керування. При етом допускается возможность увімкнення подач при выключенном шпинделе. Кнопки 1 і 16 „Стоп" в етом случае не работают. Відключення подачі возможно только посредством рукояток.

При управлении от рукояток подача верстата включается только після увімкнення шпинделя. Если какая-либо из рукояток увімкнення подачі (поздовжньої, поперечної или вертикальной) находятся во включенном положении, то з включением кнопок 2 или 15 „Пуск шпинделя" одновременно включается соответствующая подача. Кнопками 1 или 16 „Стоп" отключаются все руху в станке.

Відключення верстата кнопками „Стоп" в процессе різання производится в крайне необходимых случаях, так как ето може привести к поломке, чаще всего инструмента, из-за руху стола по инерции.

В обычных условиях сначала рукояткой отключается подача, затем кнопкой — вращение шпинделя. Кнопками 5 или 14 „Быстро" включается быстрое перемещение стола, салазок или консоли в направлении поворота рукоятки увімкнення подачі.

Возможность роботи продольного круглого стола з приводом его от механізма подач при нерухомому столе верстата обеспечивается включением переключателя 35. Увімкнення і выбор направления обертання осуществляется рукояткой, расположенной на круглом столе.

Шпиндель универсальной делительной головки получает вращение от ходового гвинта верстата, имеющего на правом торце шейку со шпонкой, закрытую съемным колпачком.

Для установки приводу круглого стола или гітари делительной головки кожух на правом торце стола верстатів необходимо снять.

В автоматическом цикле керування продольными переміщеннями осуществляется от кулачков, закрепленных в пазу стола, которые в процессе руху воздействуют на выступы рукоятки увімкнення поздовжньої подачі 11 і звездочку 10.

Стол може настраиваться на наступні автоматические циклы:

Для того, чтобы настроить верстат на автоматическую работу, необходимо:

При налаштуванні на автоматическую работу необходимо мати в виду, что переключение з подачі на быстрый ход или з швидкого ходу на подачу осуществимо в любом месте ходу і при любом направлении руху і ограничивается лишь возможностью установки кулачков в данной точке.

Установка переключателя 17 производится при нейтральном положении рукоятки продольного ходу нажатием на него отверткой до упора і поворотом в фиксированное положение „Автоматическое керування" Если переключатель не фиксируется, надо маховичком на торце стола немного провернуть винт продольного ходу.

Остановка руху стола вправо или влево производится кулачками № 5 или 6, которые воздействуют на выступы рукоятки продольного ходу. Кулачки № 1 і 2 никогда не должны сниматься со верстата, так как они ограничивают крайние положения стола.

Переключення з подачі на быстрый ход или з швидкого ходу на подачу (при движении стола вправо или влево) производится кулачками №3 і 4, которые воздействуют на звездочку.

Правый і левый кулачки различаются лишь положением рычага. При необходимости рычаг можно переставить в другую сторону.

При работе з ручным керуванням кулачки № 3 і 4 рекомендуется з целью предохранения механізма от неоправданного износа снимать или переставлять на неработающую часть стола.

При работе верстата в автоматическом цикле необходимо мати в виду следующее:

  1. Увімкнення цикла производится при включенном вращении шпинделя рукояткой продольного ходу в сторону подвода детали. Установка рукоятки в положение „Стоп" (нейтральное) дает увімкнення подачі или швидкого ходу во всех случаях независимо от налаштування верстата на автоматический цикл или ручное керування за исключением момента поворота звездочки кулачком. В етот момент стол можно остановить только кнопками 1 или 16 „Стоп". Перед включением стола після такой остановки необходимо проверить зафиксирована ли звездочка.
  2. В условиях автоматичного цикла кнопки 5 і 14 „Быстро" не работают.




Електроустаткування верстата 6Р13

Схема електрична принципова фрезерного верстата 6Р13

Схема електрична фрезерного верстата 6Р13, 6Р13Б

Електрична схема фрезерного верстата 6р13

Схема електрична принципова консольно-фрезерного верстата 6Р13. Скачать в увеличенном масштабе


Примечания


Питающая сеть: Напряжение 380 В, род тока переменный, частота 50 Гц

Ланцюги керування: Напряжение 110 В, род тока переменный

Ланцюги керування: Напряжение 65 В, род тока постоянный

Местное освещение: напряжение 24 В.

Номинальный ток (сумма номинальных токов одновременно работающих електродвигателей) 20 А.

Номинальный ток защитного аппарата (предохранителей, автоматичного выключателя) в пункте живлення електроенергией 63 А.

Електроустаткування выполнено по следующим документам: принципиальной схеме 6Р13.8.000Э3. схеме соединения вироби Р13.8.000Э4.





6Р13 Верстат фрезерный вертикальний консольный. Відеоролик.




Технічні характеристики консольного фрезерного верстата 6Р13, 6Р13Б

Наименование параметра 6Р12 6Р12Б 6Р13 6Р13Б
Основні параметри верстата
Розміри поверхности стола, мм 1250 х 320 1250 х 320 1600 х 400 1600 х 400
Расстояние от торца шпинделя до поверхности стола, мм 30..450 30..450 30..500 30..500
Расстояние от оси шпинделя до вертикальних направляючих (вылет), мм 350 350 420 420
Наибольшее ручное перемещение стола в продольном/ поперечном/ вертикальном направлении, мм 800/ 250/ 420 800/ 250/ 420 1000/ 320/ 420 1000/ 320/ 420
Наибольшее механическое перемещение стола в продольном/ поперечном/ вертикальном направлении, мм 800/ 240/ 410 800/ 240/ 410 1000/ 300/ 410 1000/ 300/ 410
Наибольшая масса обрабатываемой детали, кг 250 250 300 300
Шпиндель
Частота обертання шпинделя, об/мин 31,5..1600 31,5..2500 31,5..1600 31,5..2500
Количество швидкостей шпинделя 18 20 18 20
Наибольшее осевое перемещение пиноли шпинделя, мм 70 70 80 80
Перемещение пиноли на одно деление лимба, мм 0,05 0,05 0,05 0,05
Перемещение пиноли на один оборот лимба, мм 4 4 4 4
Кінець шпинделя по ГОСТ 836-62 3 3 3 3
Наибольший угол поворота шпиндельной головки, град ±45 ±45 ±45 ±45
Рабочий стол
Перемещение стола на одно деление лимба. Продольное, поперечное, вертикальное, мм 0,05 0,05 0,05 0,05
Перемещение стола на один оборот лимба. Продольное, поперечное/ вертикальное, мм 6/ 2 6/ 2 6/ 2 6/ 2
Пределы продольных і поперечных подач стола (X. Y), мм/мин 12.5..1250 40..2000 12.5-1250 40..2000
Пределы вертикальних подач стола (Z), мм/мин 8,3..416,6 13,3..666,6 8,3..416,6 13,3..666,6
Количество подач продольных/ поперечных/ вертикальних 18 18 18 18
Скорость быстрых перемещений X, Y/Z поперечных, м/мин 3/ 1 4,6/ 1,53 3/ 1 4,6/ 1,53
Механіка верстата
Наибольшее усилие різання, допускаемое механізмом подачі в продольном/ поперечном/ вертикальном направлении, кН 15/ 12/ 5 15/ 12/ 5 20/ 12/ 8 20/ 12/ 8
Наибольший допускаемый диаметр фрез при черновой обработке, мм 160 160 200 200
Выключающие упоры подачі (поздовжньої, поперечної, вертикальной) есть есть есть есть
Блокировка ручной і механической подачі (поздовжньої, поперечної, вертикальной) есть есть есть есть
Блокировка раздельного увімкнення подачі есть есть есть есть
Автоматическая прерывистая подача Продольная есть есть есть есть
Автоматическая прерывистая подача Поперечная і вертикальная нет нет нет нет
Торможение шпинделя есть есть есть есть
Предохранение от перегрузки (муфта) есть есть есть есть
Електроустаткування і привід верстата
Електродвигун приводу головного руху, кВт 7,5 10,0 10,0 13,0
Електродвигун приводу подач, кВт 2,2 2,2 3,0 3,0
Електродвигун насоса охлаждения, кВт 0,125 0,125 0,125 0,125
Габаритные розміри і масса верстата
Габаритные розміри (длина х ширина х высота), мм 2305 х 1950 х 2020 2340 х 1950 х 2020 2560 х 2260 х 2120 2600 х 2260 х 2120
Масса верстата, кг 3120 3180 4200 4270

    Список литературы:

  1. Вертикальные консольно-фрезерные верстати 6Р12, 6Р12Б, 6Р13, 6Р13Б. Руководство по експлуатации, 1977
  2. Консольно-фрезерные верстати 6Р82, 6Р83, 6Р82Г, 6Р83Г, 6Р82Ш, 6Р83Ш, 6Р12, 6Р13, 6Р12Б, 6Р13Б. Руководство по експлуатации електроустаткування 6Р82.ЭО.000 РЭ1,

  3. Аврутин С.В. Основы фрезерного дела, 1962
  4. Аврутин С.В. Фрезерне дело, 1963
  5. Ачеркан Н.С. Металлорежущие верстати, Том 1, 1965
  6. Барбашов Ф.А. Фрезерне дело 1973
  7. Барбашов Ф.А. Фрезерные роботи (Профтехобразование), 1986
  8. Блюмберг В.А. Справочник фрезеровщика, 1984
  9. Григорьев С.П. Практика координатно-расточных і фрезерных работ, 1980
  10. Копылов Работа на фрезерных верстатах,1971
  11. Косовский В.Л. Справочник молодого фрезеровщика, 1992
  12. Кувшинский В.В. Фрезерование,1977
  13. Ничков А.Г. Фрезерные верстати (Библиотека станочника), 1977
  14. Пикус М.Ю. Справочник слесаря по ремонту металлорежущих верстатів, 1987
  15. Плотицын В.Г. Расчёты настроек і наладок фрезерных верстатів, 1969
  16. Плотицын В.Г. Наладка фрезерных верстатів,1975
  17. Рябов С.А. Современные фрезерные верстати і их оснастка, 2006
  18. Схиртладзе А.Г., Новиков В.Ю. Технологическое обладнання машиностроительных производств, 1980
  19. Тепинкичиев В.К. Металлорежущие верстати, 1973
  20. Чернов Н.Н. Металлорежущие верстати, 1988
  21. Френкель С.Ш. Справочник молодого фрезеровщика (3-е изд.) (Профтехобразование), 1978






6Р13, 6Р13Б Паспорт консольно-фрезерного верстата, (djvu) 1,2 Мб, Скачать




Заказать

Кто владеет информацией - тот владеет миром.

Натан Ротшильд