Виробник токарно-револьверного верстата моделі 1365 - Алапаєвський верстатобудівний завод, АСЗ , заснований у 1942 році.
Верстат токарно-револьверний 1365 був замінений на більш досконалу модель 1П365 .
Універсальний токарно-револьверний верстат 1365 призначений для високопродуктивної обробки різноманітних деталей із чавуну, сталі та кольорових металів інструментом із твердих сплавів та швидкорізальної сталі деталей із штучних заготовок (поковок, штампувань, виливків тощо) із прутка діаметром до 65 мм.
Верстат 1365 призначений для обробки деталей з каліброваних прутків прутків 5-го класу точності з найбільшим діаметром обробки 65 мм, виготовлення яких вимагає виконання ряду послідовних переходів: обточування, свердління, розточування, розгортання, нарізування різьблення та ін. в умовах серійного виробництва.
На верстатах можна виконувати чорнове та чистове точення, розточування, свердління, зенкерування, розгортання та нарізування різьблення спеціальними пристроями.
Токарно-револьверні верстати 1365 мають револьверний супорт із шестигранною револьверною головкою з вертикальною віссю обертання. Поперечний супорт мостового типу з передньою чотиригранною головкою і заднім тримачом на один різець. У спеціальному різцетримачі можна встановлювати кілька різців.
Деталь, що обробляється, закріплюється в цанговому патроні. Весь необхідний для даної операції комплект різальних інструментів встановлюється в шестипозиційній револьверній головці та чотиристоронньому різцетримачі супорта.
На верстаті 1365 деталь може бути оброблена шести позиціях. Можлива паралельна робота інструментів, встановлених у револьверній головці, та інструментів, встановлених у різцетримачі супорта.
Інструмент та обмежувачі ходу супортів (упори) встановлюються з таким розрахунком, щоб оброблена деталь отримала після обробки задані розміри.
Компонування вузлів загальноприйняте для цього типорозміру універсальних револьверних верстатів. Все керування коробки швидкостей та коробки подач гідравлічне. Вибір чисел оборотів шпинделя та величин подач на всіх моделях преселективний.
Перемикання чисел оборотів шпинделя та величин подач відбувається при повільному повороті шестерень.
Станина верстата жорсткої конструкції з плоскими напрямними. Монтується на двох тумбах, на які встановлюється корито для збору стружки та рідини, що охолоджує. У корита є два баки: один для олії гідроприводу та мастила, інший для охолодної рідини. У лівій тумбі станини монтується електродвигун головного приводу верстата. Задня стінка станини має два вікна для вільного виходу стружки.

Габарит робочого простору токарно-револьверного верстата 1365
Габарит робочого простору токарно-револьверного верстата 1365. Дивитись у збільшеному масштабі

Шпиндель токарно-револьверного верстата 1365

Револьверна головка токарно-револьверного верстата 1365
Револьверна головка токарно-револьверного верстата 1365. Дивитись у збільшеному масштабі

Фото токарно-револьверного верстата 1365

Розташування основних вузлів токарно-револьверного верстата 1365
Розташування основних вузлів токарно-револьверного верстата 1365. Дивитись у збільшеному масштабі
Основні вузли верстата:

Структурна схема токарного верстата 1365

Кінематична схема револьверного верстата 1365
Кінематична схема токарно-револьверного верстата 1365. Дивитись у збільшеному масштабі

Розташування підшибників токарно-револьверного верстата 1365
Розташування підшибників токарно-револьверного верстата 1365. Дивитись у збільшеному масштабі
Движения в станке:
Коробка швидкостей сообщает шпинделю 12 прямых і 12 обратных швидкостей обертання (n = 34..1500 об/мин). Реверсирование шпинделя осуществляется двусторонней фрикционной муфтой М1.
Прямой ход токарно револьверного верстата 1365: передача 42/48 - М1, вправо;
При прямом вращении шпинделя шесть верхних швидкостей ряда получаются по схеме: вал I - 42/48 - вал III - 60/35 (при включенной муфте М2, і выключенной муфте М3) - вал V - передвижной трехвенцовый блок 21/42 или 26/37, или 31/32 - вал VI - передвижной двухвенцовый блок 55/46 или 30/71 - шпиндель.
Шесть нижних швидкостей ряда токарно револьверного верстата 1365 получаются по схеме: вал I - 42/48 - вал III - 18/72 (при включенной муфте М3, і выключенной муфте М2) - IV - (30/60)*(60/35) - вал V - передвижной трехвенцовый блок 21/42 или 26/37, или 31/32 - вал VI - передвижной двухвенцовый блок 55/46 или 30/71 - шпиндель.
обратный ход: передача 40/45 через паразитное зубчатое колесо 35 - М1, влево.
Продольный і поперечний суппорты револьверного верстата имеют каждый 18 продольных подач, которые получаются от шпинделя через коробку передач, коробку подач, ходовые валы XVI і XV, фартуки продольного і поперечного супортів і реечные передачи.
Ланцюг подач начинается постоянной передачей 58/58 = 1 і двухвенцовым блоком 26/52 = 1/2 или 39/39 = 1, за счет которого происходит удвоение числа (и величин) подач.
Далее расположены коробка передач з постоянным передаточным числом і = (30/60)*(26/62)*(62/65) = 0,2 і коробка подач, дающая девять переключений между валами XII і XV для поперечного суппорта при помощи двух трехвенцовых блоков: 56/20 или 20/56, или 38/38 і 42/30, или 30/42, или 36/36. Девять переключений для продольного суппорта между валами XII і XVI производятся двумя трехвенцовыми блоками з теми же передаточными отношениями.
Фартук поперечного суппорта токарно верстата обеспечивает передачу руху от ходового вала XV к валу ХХ реечной шестерни через реверсирующий механізм 30/46 или (30/30)*(30/46), червячную передачу 3/30 і зубчатую пару 21/60. Таким способом осуществляется продольная подача поперечного суппорта. Перемещение поперечных салазок суппорта (поперечная подача) обеспечивается передачей руху от ходового вала XV к поперечному ходовому винту XXIV (t = 10 мм) через реверсирующий механізм, червячную передачу, зубчатую пару 42/42 і зубчатую передачу (48/23)*(23/18). Таким способом осуществляется 18 поперечных подач.
Фартук продольного суппорта аналогичен фартуку поперечного суппорта. Продольная подача револьверного суппорта осуществляется по схеме: ходовой вал XVI - реверсирующий механізм (30/30)*(30/30)*(30/46) или (30/30)*(30/46) - вал XXVII - червячная передача 3/30 - зубчатая передача 21/60 - вал XXXI - реечное колесо (z = 12). Поперечной подачі продольный супорт не имеет.
Увімкнення поздовжньої і поперечної подач производится з помощью кулачковых муфт М4, M5, і М6, расположенных в фартуках супортів. Для швидкого подвода і відведення супортів служит механізм швидкого (ускоренного) ходу. Отдельный електродвигатель передает вращение валу швидкого ходу супортів по следующей схеме: електродвигатель - вал ХХХVІ - зубчатая передача 18/27 - вал ХХХVІІ - червячная передача 2/30 - вал ХХХVІІІ - цепная передача 15/16 - вал ХІV. В фартуках поперечного і продольного супортів имеются механізмы, передающие вращение от вала XIV соответствующим реечным колесам по схеме: вал XIV - зубчатая передача 38/38 - реверсирующий механізм 36/36 - зубчатая передача 42/60 - реечная шестерня (z = 12).
Револьверна головка токарного верстата 1365, поворачивается вручную і связана конической зубчатой передачей 24/24 з шестипозиционным барабаном, на котором крепятся упоры, обеспечивающие автоматическое вимкнення поздовжньої подачі продольного суппорта при достижении заданной величины ходу.
Токарний верстат из СССР имеет преселективное керування изменением швидкостей шпинделя і величин подач. Переключення кулачковых муфт і перемещение скользящих блоков зубчатых колес производятся гідроцилиндрами при медленном вращении валов коробок швидкостей і подач от специальных механізмов.
Узел торможения револьверного верстата представлен многодисковым фрикционным тормозом, управляемым гідроцилиндром. Механізми зажиму і подачі прутка также управляются гідравлически.

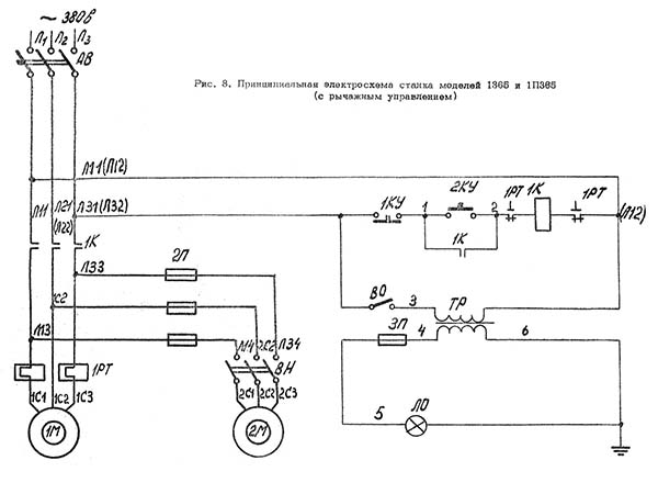
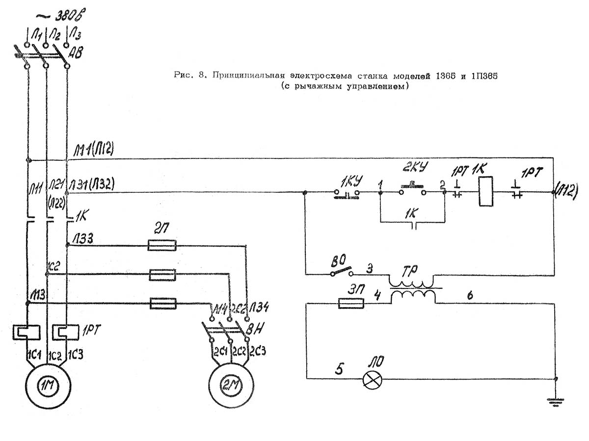
Електрична схема верстата 1365. Важільне керування
Електрична схема токарно-револьверного верстата 1365. Дивитись у збільшеному масштабі

Гідравлічна схема токарного верстата 1365
Схема преселективного гідравлічного керування верстатом моделі 1365. Дивитись у збільшеному масштабі

Точки змазки токарно-револьверного верстата 1365
Точки змазки токарно-револьверного верстата 1365. Дивитись у збільшеному масштабі
| Наименование параметра | 1М365 | 1П365 | 1365 |
|---|---|---|---|
| Основні параметри верстата | |||
| Наибольший диаметр обрабатываемого вироби над станиной, мм | 500 | 500 | 500 |
| Наибольший диаметр обрабатываемого прутка, мм | 80 | 80 | 80 |
| Наибольший диаметр обрабатываемого вироби над поперечным суппортом, мм | 320 | 320 | 320 |
| Наибольший диаметр обрабатываемого вироби над нижней частью поперечного суппорта, мм | 450 | 450 | 450 |
| Высота центров, мм | 250 | 250 | 250 |
| Расстояние от торца шпинделя до револьверної головки, мм | 275..1000 | 275..1000 | 275..1000 |
| Шпиндель | |||
| Диаметр отверстия в шпинделе, мм | 85 | 85 | 85 |
| Количество рабочих швидкостей шпинделя | 12 | 12 | 12 |
| Пределы чисел оборотів шпинделя, об/мин | 34..1500 | 34..1500 | 34..1500 |
| Пределы чисел оборотів шпинделя (обратное вращение), об/мин | 34..1500 | 34..1500 | 34..1500 |
| Кінець шпинделя фланцевый по ГОСТ 12595-75 | 1-8Ц | 1-8Ц | 1-8Ц |
| Наибольший крутящий момент на шпинделе не менее, Нм (кг*м) | 123 | ||
| Револьверний суппорт | |||
| Тип револьверної головки по ГОСТ 3859-72 | 2 шестигранная | 2 шестигранная | 2 шестигранная |
| Количество инструментов в револьверній головці | 6 | 6 | 6 |
| Диаметр отверстия под инструмент в револьверній головці, мм | 95Н7 | 95Н7 | 95Н7 |
| Наибольшее продольное перемещение револьверного суппорта, мм | 725 | 725 | 725 |
| Количество ступеней подач | 13 | 13 | 13 |
| Диапазон швидкостей продольных подач револьверного суппорта, I ряд, мм/об (количество ступеней) | 0,09..1,35 (9) | 0,09..1,35 (9) | 0,09..1,35 (9) |
| Диапазон швидкостей продольных подач револьверного суппорта, II ряд, мм/об (количество ступеней) | 0,18..2,70 (9) | 0,18..2,70 (9) | 0,18..2,70 (9) |
| Скорость швидкого продольного переміщення револьверного суппорта, м/мин (количество ступеней) | 6 | 6 | 6 |
| Число упоров револьверного суппорта | 6 | 6 | 6 |
| Продольное перемещение револьверного суппорта на одно деление лимба, мм | 0,2 | 0,2 | 0,2 |
| Продольное перемещение револьверного суппорта на один оборот лимба, мм | 45 | 45 | 45 |
| Поперечный суппорт | |||
| Количество резцов в резцедержателе | 4 | 4 | 4 |
| Количество резцов в заднем резцедержателе | 1 | 1 | 1 |
| Наибольшая ширина х длина резца, мм | 20 х 32 | 20 х 32 | 20 х 32 |
| Наибольшее перемещение поперечного суппорта продольное/поперечное, мм | 725/ 310 | 725/ 310 | 725/ 310 |
| Количество ступеней продольных подач поперечного суппорта | 13 | 13 | 13 |
| Диапазон швидкостей продольных подач поперечного суппорта, I ряд, мм/об (число ступеней) | 0,09..1,35 (9) | 0,09..1,35 (9) | 0,09..1,35 (9) |
| Диапазон швидкостей продольных подач поперечного суппорта, II ряд, мм/об (число ступеней) | 0,18..2,70 (9) | 0,18..2,70 (9) | 0,18..2,70 (9) |
| Кількість щаблів поперечних подач поперечного супорта | 12 | 12 | 12 |
| Діапазон швидкостей поперечних подач поперечного супорта, I ряд, мм/об (кількість ступенів) | 0,045..0,7 (9) | 0,045..0,7 (9) | 0,045..0,7 (9) |
| Діапазон швидкостей поперечних подач поперечного супорта, II ряд, мм/об (кількість ступенів) | 0,09..1,35 (9) | 0,09..1,35 (9) | 0,09..1,35 (9) |
| Швидкість швидкого поздовжнього переміщення супорту, м/хв. | 6 | 6 | 6 |
| Число упорів поздовжнього переміщення | 5 | 5 | 5 |
| Число упорів поперечного переміщення | 2 | 2 | 2 |
| Переміщення на один поділ лімба поздовжнє/поперечне, мм | 0,2/ 0,05 | 0,2/ 0,05 | 0,2/ 0,05 |
| Переміщення на один оберт лімба поздовжнє/поперечне, мм | 45/10 | 45/10 | 45/10 |
| Електроустаткування верстата | |||
| Кількість електродвигунів на верстаті, кВт | 2 | 2 | 2 |
| Електродвигун головного приводу, кВт (об/хв) | 15 (1450) | 13 (1450) | 13 (1450) |
| Електродвигун гідроприводу, кВт (об/хв) | - | - | - |
| Електродвигун насоса охолодження, кВт (об/хв) | 0,125 (2800) | 0,125 (2800) | 0,125 (2800) |
| Габарити та маса верстата | |||
| Габаритні розміри верстата (довжина, ширина, висота), мм | 3430 х 1500 х 1739 | 3430 х 1500 х 1655 | 5845 х 1500 х 1655 |
| Маса верстата, кг | 4150 | 3900 | 4250 |