Виробник токарно-револьверного верстата моделі 1П326 - Алапаєвський верстатобудівний завод, АСЗ , заснований у 1942 році.
Легкі токарно-револьверні пруткові верстати 1П326 і 1П318 з вертикальною віссю револьверної головки призначені для високопродуктивної обробки деталей діаметром до 25 мм і довжиною до 140 мм з каліброваних прутків 5-го класу точності, виготовлення яких вимагає виконання ряду послідовних переходів. , Розгортання, нарізування різьблення та ін. в умовах серійного виробництва.
На верстатах можна виконувати чорнове та чистове точення, розточування, свердління, зенкерування, розгортання та нарізування різьблення спеціальними пристроями.
Токарно-револьверні пруткові верстати 1П326 та 1П318 забезпечені програмним керуванням на базі переключачів.
Моделі 1П326 і 1П318 відрізняються лише максимальним діаметром оброблюваного прутка.
Верстат 1П326, оснащений системою програмного керування, призначений для обробки деталей револьверного типу за груповим методом.
Послідовність операцій, виконуваних супортами, задається схемою командоапарата і змінюється при переналагодженні верстата іншу деталь.
Налаштування верстата на обробку цієї деталі здійснюється згідно з технологічними картами. Швидкість обертання шпинделя і величина подачі на кожне робоче переміщення супортів визначається шляхом встановлення у відповідне положення перемикачів на командоапараті, а довжина робочих і швидких переміщень супортів - установкою регульованих упорів і кулачків.
Після налагодження верстат працює за автоматичним циклом, виконуючи задану програму. При необхідності верстат може працювати за режимом ручного керування.
Технологічні можливості верстата, оснащеного системою програмного керування майже повністю зберігаються. На ньому можна виконувати всі операції, за винятком операції з нарізування різьблення.
Верстати моделі 1П326 з програмним керуванням дозволяють ввести багатоверстатне обслуговування, що дає значний економічний ефект.
Передній кінець прутка заводиться в отвір шпинделя і закріплюється в цанговому патроні з таким розрахунком, щоб виходив з патрона відрізок прутка, достатній для виготовлення заданої деталі. Після закінчення обробки чергової деталі спеціальний механізм розтискає цанговий патрон і подає пруток вперед на необхідну довжину до упору, після чого знову затискає пруток у верстаті шпинделя.
Весь необхідний для даної операції різальний інструмент для обробки отворів, нарізання різьблення та поздовжнього точення закріплюється в шестипозиційній револьверній головці та двох різцетримачах поперечного супорта.
У передньому різцетримачі поперечного супорта закріплюються підрізні, канавкові, фасонні та інші різці, а в задньому різцетримачі зазвичай встановлюється відрізний різець.
Після закінчення кожного переходу револьверний супорт швидко відводиться назад, а револьверна головка автоматично встановлюється на нову позицію.

Загальний вигляд токарно-револьверного верстата 1П326
Загальний вигляд токарно-револьверного верстата 1П326. Дивитись у збільшеному масштабі

Загальний вигляд токарно-револьверного верстата 1П326
Загальний вигляд токарно-револьверного верстата 1П326. Дивитись у збільшеному масштабі

Фото револьверного верстата 1П326

Структурна схема токарного верстата 1П326

Кінематична схема револьверного верстата 1П326
Кінематична схема токарно-револьверного верстата 1П326. Дивитись у збільшеному масштабі
Кінематична схема токарно-револьверного верстата 1П326. Дивитись у збільшеному масштабі
Кінематична схема токарно-револьверного верстата 1П326. Дивитись у збільшеному масштабі
Рухи у верстаті:
Основні рухи
Допоміжні рухи
Особливістю верстата є автоматичне перемикання чисел оборотів шпинделя і величин подач поздовжнього і поперечного супортів при повороті шестигранної револьверної головки за допомогою електромагнітних муфт коробці швидкостей і коробці подач (фіг. 1). Всі ці перемикання проводяться без зупинки верстата.
На верстаті є командоапарат, що є механізмом для керування автоматичним перемиканням чисел оборотів шпинделя і подач поздовжнього і поперечного супортів шляхом відповідного перемикання електромагнітних муфт в коробці швидкостей і коробці подач.
Поздовжній супорт має швидке відведення, що здійснюється від індивідуального електродвигуна.
Подача та затискач прутка проводиться на верстаті автоматично, механізмом з індивідуальним електродвигуном, що включається електричною кнопкою, що знаходиться на панелі керування.
Від електродвигуна головного приводу обертання передається першому валу редуктора коробки швидкостей (фіг. 1). На цьому валу жорстко насаджені шестерні 1 і 2, з'єднані з двома шестернями 4 і 6 вільно обертаються на проміжному валу редуктора. За допомогою електромагнітних муфт шестерні 4 і 6 можуть по черзі з'єднуватися з проміжним валом, повідомляючи різні швидкості обертання. На проміжному валу жорстко закріплені три шестірні 3, 5 і 7, зчеплені відповідно з шестернями 8, 9 і 10. Шестерні 8, 9 і 10 насаджені на вихідний вал вільно і за допомогою трьох електромагнітних муфт можуть почергово зчіплюватись з вихідним валом. Отже, вихідний вал отримує шість різних швидкостей обертання.
Наприкінці вихідного валу є шківи Д-201 та Д-98. Зі шківа Д-201 за допомогою клинопасової передачі рух передається на шків Д-155, що сидить на шпинделі. Шпиндель верстата має шість швидкостей обертання: 200, 355, 630, 1060, 1900, 3350 об/хв.
З шківа Д-98 за допомогою клинопасової передачі рух повідомляється шківу Д-153, що сидить на кінці приводного валу коробки подач.
На приводном валу коробки подач жестко закреплены три шестерни 11, 13, 15, сцепленные соответственно з шестернями 12, 14, 16, насаженными на корпусы електромагнітних муфт. Последние свободно вращаются на промежуточном валу. При помощи етих муфт, попеременно включающих ту или иную пару шестерен, промежуточный вал получает три различные скорости обертання. Через шестерни 17—18 или 21—20—19 рух передається на ходовой валик коробки подач. Шестерни 18 і 19 сидят на корпусах двух електромагнітних муфт, которые поочередно сцепляют их з ходовым валиком коробки подач. Вращаясь в разные стороны, ети муфты сообщают ходовому валику прямое і обратное вращение.
От ходового валика коробки подач при помощи жесткой соединительной муфты вращение передається входному валу фартука поперечного суппорта. На етом валу находится червяк 22. От червяка 22, работающего в паре з червячным колесом 26, при помощи двух пар шестерен 23—24 і 25—27 вращение сообщается ходовому винту 28, связанному з гайкой 29 поперечного суппорта. Шестерня 23 сцепляется з червячным колесом 26 при помощи зубчатой муфты, управляемой падающим рычагом, расположенным на лицевой стороне фартука. При выключении зубчатой муфты червячное колесо 26 расцепляется з шестерней 23, отключая механическую подачу.
От входного вала фартука поперечного суппорта рух передається на входной вал фартука продольного суппорта. Шестерня 30, жестко сидящая на входном валу, через двойной блок шестерен 31—33, свободно вращающийся на левом кінці вала швидкого ходу, сообщает вращение шестерне 32. Шестерня 32 укреплена на корпусе електромагнитной муфты, которая свободно сидит на правом кінці входного вала. Вал червяка 37 расположен соосно з входным валом, но вращается независимо от него. На валу червяка 37 также свободно сидит електромагнитная муфта з шестерней 34. Шестерня 34 сцеплена з шестерней 35, жестко укрепленной на валу швидкого ходу. Вал швидкого ходу приводится в рух от индивидуального електродвигуна, соединенного з ним жесткой муфтой.
При включении одной из двух електромагнітних муфт вал червяка 37 получает вращение от ходового валика коробки подач через шестерни 30, 31, 32, 33 или от двигуна быстрых перемещений через шестерни 35—34. Последнее звено служит для осуществления швидкого відведення продольного суппорта в исходное положение.
Червяк 37, сцепляясь з червячным колесом 36, вращает шестерню 38. Шестерня 38 соединяется з червячным колесом 36 при помощи зубчатой муфты, управляемой штурвалом, расположенным на лицевой стороне фартука. Шестерня 38 через шестерню 39 і предохранительную муфту вращает вал, на кінці которого сидит реечная шестерня 42. Рейка 43 закреплена на продольном суппорте. При выключении зубчатой муфты вал реечной шестерни 42 може получить вращение от штурвала ручного керування через шестерни 45—40—41—44. Увімкнення механической і ручной подач сблокировано.
При помощи коробки подач і механізмов фартуков поперечного і продольного супортів можно получить три продольные подачі 0,05; 0,1; 0,2 мм/об, три поперечные подачі 0,025; 0,05; 0,1 мм/об і быстрый отвод продольного суппорта со скоростью 8,3 м/мин.
При отводе продольного суппорта в исходное положение происходит автоматический поворот револьверної головки на 60°. Вместе з ней при помощи пары конических шестерен 46, 47 поворачивается на 60° барабан упоров, смонтированный на продольном суппорте. Кроме того, через шестерни 48—49 і 50—51 осуществляется поворот кулачкового барабана командного аппарата верстата, который автоматически переключает скорости обертання шпинделя і величины подач. Налаштування командоаппарата производится при помощи установки кулачков в соответствующее положение.
С левой стороны расположен механізм подачі і зажиму прутка з индивидуальным електродвигуном. От електродвигуна вращение сообщается червяку 55 і через червячное колесо 56 распределительному валу, на котором жестко насажены два цилиндрических кулачка. Лівий кулачок через рычаг і специальную муфту управляет подающей цангой, а правый — зажимной цангой. Подача і зажим прутка осуществляются за один оборот распределительного вала.
Смазка всех вузлів верстата і подача охлаждающей жидкости производятся при помощи двух шестеренчатых насосов, приводимых в рух индивидуальным електродвигуном через шестерни 53—54 і 53—52.
При автоматизации верстата 1П326 в его кинематическую схему внесены наступні изменения.

Электромагнитная муфта поперечного суппорта верстата 1П326
На нерухомому валу 1 (фиг. 2), заменяющем ранее имевшийся вал червячного колеса, свободно насажена шлицевая втулка 3, связанная при помощи штифтов 4 з червячным колесом 2. Продольное смещение її ограничивается кольцом 11 і гайкой 12. На гладкой поверхности втулки 3 свободно сидит шестерня 5. Ступица її выполнена в виде поводка з тремя торцовыми пазами.
В расточку торца ступицы шестерни 5 входит диск 6, сидящий на шлицах втулки 3 і закрепленный на післядней гвинтами 7. Диск 6 имеет торцовые зубья, направленные навстречу торцовым зубьям диска 9, сцепленного тремя выступами з поводком шестерни 5. На шлицах втулки 3 помещен корпус електромагнитной муфты, который вместе з диском 9 може свободно перемещаться вдоль оси вала 1.Диск 9 постоянно отжимается от диска 6 пружинами 8.
При подаче напряжения через щетку 13 і токосъемное кольцо в катушку електромагнитной муфты 10 післядняя, смещаясь влево, прижимает диск 9 к диску 6, осуществляя сцепление их торцовых зубьев. Вращение червячного колеса передається через втулку 3 і диск 6 диску 9 і через поводок шестерне 5. Шестерня 5 передает рух на ходовой винт поперечного суппорта.
При выключении електромагнитной муфты 10 пружины 8 расцепляют диски 6 і 9 і шестерня 5 останавливается.
Узел електромагнитной муфты является самостоятельным і встроен в фартук поперечного суппорта.

Система упоров продольного суппорта верстата 1П326
Модернизация продольного суппорта (фиг. 3) передбачає установку дополнительного барабана 4, на поверхности которого закрепляются кулачки, ограничивающие быстрый ход продольного суппорта. В пазах барабана закрепляются шесть кулачков 5, которые могут быть установлены в требуемом положении. При движении суппорта соответствующий кулачок 5 воздействует на закрепленный на станке путевой выключатель 6, вызывая срабатывание післяднего.
В исходном (крайнем правом) положении продольного суппорта расстояние между роликом путевого выключателя 6 і кулачком 5 определяет величину швидкого подвода.
Барабан 2 з шестью резьбовыми отверстиями имеет шесть винтовых упоров 3, служащих для регулювання величин рабочих перемещений суппорта. Барабан 2 через вал 1 і коническую передачу соединяется з револьверною головкою і поворачивается вместе з барабаном 4 при отводе суппорта в исходное положение. Это положение суппорта контролируется путевым "выключателем 8, закрепленным на правом торце станины. Регулювання момента срабатывания путевого выключателя осуществляется при помощи упора 7, закрепленного в корпусе продольного суппорта.
Вузли регулювання і контроля величин рабочих перемещений продольного суппорта модернизации не подвергались.

Система упоров поперечного суппорта верстата 1П326
Для задания і контроля величин быстрых і рабочих перемещений передньої і задньої кареток поперечного суппорта установлены регулируемые винтовые упоры і путевые выключатели (фиг. 4).
На передньої каретке поперечного суппорта закрепляется кронштейн 1 з винтовыми упорами 9 і 10. Винт 9 предназначен для регулювання величины быстрых перемещений каретки, винт 10 — для регулювання величины рабочих перемещений. При перемещении передньої каретки винтовые упоры 9 і 10 нажимают на ролики двух путевых выключателей, собранных в одном блоке 3, і вызывают их срабатывание. Для повышения точності останова каретки в заданном положении служит жесткий упор 2.
Конструкція і назначение вузла регулируемых винтовых упоров 1) і 12, расположенных в кронштейне 6 блока конечных выключателей 5 і жесткого упора 4 для задньої каретки поперечного суппорта аналогичны рассмотренным.
Для останова поперечного суппорта в исходном (среднем) положении на левой плоскости фартука установлен путевой выключатель 7, который срабатывает от кулачка 8, укрепленного на подвижной частини передньої каретки.
При модернизации верстата електродвигатель ускоренных перемещений получил дополнительные функции: сообщение быстрых ходов продольному і поперечному суппорту; реверсирование быстрых ходов продольного і поперечного супортів. Поетому електродвигатель мощностью 0,25 кВт заменен електродвигуном мощностью 0,6 кВт. Установка его на фартуке продольного суппорта производится при помощи специального переходного фланца.

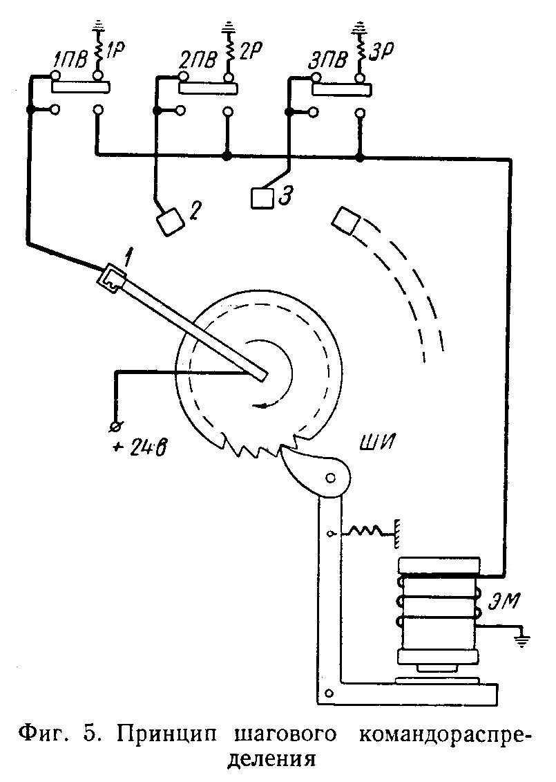
Принцип шагового командораспределения в станке 1П326
Система программного керування токарно-револьверним верстатом моделі 1П326 построена по принципу шагового распределения команд на увімкнення различных исполнительных органів. Команды на выполнение каждой післядующей операции робочого цикла (подвод, рабочий ход, отвод і т. д.) подаются по окончании предыдущей. Последовательное распределение команд осуществляется з помощью шагового искателя типа ШИ 25/8. Сигналы на переключение шагового искателя поступают з путевых выключателей, которые срабатывают в момент, когда рабочий орган верстата приходит в положение (позицию), соответствующее окончанию данной операции. На фиг. 5 показан принцип шагового командораспределения. Реле 1P, 2Р, ЗР і т. д., управляющие теми или иными переміщеннями рабочих органів верстата, подключаются через контакты путевых выключателей 1ПВ, 2ПВ, ЗПВ і т. д. шагового искателя. Щетка шагового искателя з помощью храпового механізма передвигается з ламели на ламель при срабатывании електромагнита. В начале цикла обробки детали щетка шагового искателя находится на первой ламели.
Реле 1P, управляющее подводом суппорта, включается по ланцюги: «плюс» 24в — щетка ШИ — ламель 1 — путевой выключатель 1ПВ — реле 1P — «минус».
В момент окончания подвода регулируемый кулачок нажимает на ролик путевого выключателя 1ПВ; післядний, сработав, обесточивает реле 1P і включает електромагнит шагового искателя.
Щетка шагового искателя переходит на ламель 2. Включается реле 2Р, управляющее рабочим ходом суппорта.
В кінці робочого ходу срабатывает путевой выключатель 2ПВ. Ланцюг реле 2Р разрывается, і включается електромагнит шагового искателя.
Щетка искателя переходит на следующую ламель і т. д.

Циклограмма переміщення супортів в станке 1П326
Из циклограммы (фиг. 6) видно, что полный цикл обробки детали состоит из ряда повторяющихся перемещений супортів: подвод, рабочий ход, отвод, причем переміщення продольного суппорта повторяются до шести раз по числу фиксированных положений револьверної головки. Система программного керування устанавливает післядовательность етих перемещений таким образом, что сначала работает продольный суппорт, а затем поперечний. После первого робочого ходу продольного суппорта происходят автоматическая подача до упора і зажим прутка.
Перемещения супортів выполняются автоматически.

Електрична схема верстата 1П326
Електрична схема токарно-револьверного верстата 1П326. Дивитись у збільшеному масштабі
Електрична схема верстата моделі 1П326 з программным керуванням показана на фиг. 7.
Кроме указанных елементів, в електрической схеме имеются кнопки керування, выключатели, сигнальные лампочки і предохранители.
Подвод продольного суппорта осуществляется в тот момент, когда щетки шагового искателя находятся на ламелях 1, 5, 8, 11, 14, 17. Напряжение подается на обмотку реле 1P, которое контактами 1Р1 і 1Р2 включает контактор КП електродвигуна ДБ і електромагнитную муфту МВО. В кінці швидкого подвода срабатывает путевой выключатель ПВР, который разрывает ланцюг живлення обмотки реле 1P і подает напряжение на обмотку реле 9Р. Реле 9Р, срабатывая, контактом 9Р1 подает питание на обмотку шагового искателя 1ШИ, который самопрерывающим контактом разрывает ланцюг реле 9Р. Последнее отпускает і контактом 9Р1 обесточивает обмотку 1ШИ. Происходит переброс щіток шагового искателя на наступні ламели (шаговый искатель 1ШИ обратного ходу, т.е. перерух щіток происходит при отпускании електромагнита).
Рабочее перемещение продольного суппорта осуществляется в тот момент, когда щетки шагового искателя 1ШИ находятся на ламелях 2, 6, 9, 12, 15, 18. Напряжение подается на обмотку реле 2Р, которое контактами 2Р1 і 2Р2 включает електромагнітні муфты МВП і МПВ. В кінці робочого переміщення срабатывает путевой выключатель ПВВ, разрывающий ланцюг живлення обмотки реле 2Р і подающий напряжение на обмотку реле 9Р. Щетки шагового искателя переходят на наступні ламели.
Продольный супорт отводится в тот момент, когда щетки шагового искателя находятся на ламелях 4, 7, 10, 13, 16, 19. Напряжение подается на обмотку реле 4Р, которое контактами 4P1 і 4Р2 включает контактор КО електродвигуна ДБ і електромагнитную муфту МВО. Срабатывает путевой выключатель ПВУ (он остается включенным до окончания відведення) і отключается електродвигатель ДБ. При окончании відведення срабатывает путевой выключатель ПВН, разрывающий ланцюг живлення обмотки реле 4Р і подающий напряжение на обмотку реле 9Р. Щетки шагового искателя переходят на наступні ламели.
Передня каретка поперечного суппорта подводится в тот момент, когда щетка шагового искателя находится на ламели 20. Напряжение подается на обмотку реле 5Р, которое контактами 5Р1 і 5Р2 включает контактор КП електродвигуна ДБ і електромагнитную муфту ММС. При окончании подвода срабатываетпутевой выключатель ПВС1 , разрывающий ланцюг живлення обмотки реле 5Р і подающий напряжение на обмотку реле 9Р. Щетки шагового искателя переходят на наступні ламели.
Рабочее перемещение передньої каретки поперечного суппорта осуществляется в тот момент, когда щетки шагового искателя находятся на ламели 21. Напряжение подается ка обмотку реле 6Р, которое контактами 6Р1 і 6Р2 включает електромагнітні муфты МПВ і ММС. При окончании робочого переміщення срабатывает путевой выключатель ПВО1 разрывающий ланцюг живлення обмотки реле 6Р і подающий напряжение на обмотку реле 9Р. Щетки шагового искателя переходят на наступні ламели.
Подвод задньої каретки поперечного суппорта одновременно является отводом передньої каретки і осуществляется в тот момент, когда щетки шагового искателя находятся на ламелях 22. Напряжение подается на обмотку реле 7Р, которое контактами 7Р1 і 7Р2 включает контактор КП електродвигуна ДБ і електромагнитную муфту ММС. При окончании подвода срабатывает путевой выключатель ПВС2, который разрывает ланцюг живлення обмотки реле 7Р і подает напряжение на обмотку реле 9Р. Щетки шагового искателя переходят на наступні ламели.
Рабочее перемещение задньої каретки поперечного суппорта осуществляется в тот момент, когда щетки шагового искателя находятся на ламелях 23. Напряжение подается на обмотку реле 8Р, которое контактами 8Р1 і 8Р2 включает електромагнітні муфты МРВ і ММС. По окончании переміщення срабатывает выключатель ПВО2, разрывающий ланцюг живлення обмотки реле 8Р і подающий напряжение на обмотку реле 9Р. Щетки шагового искателя переходят на наступні ламели.
Отвод поперечного суппорта в исходное (среднее) положение осуществляется тогда, когда щетки шагового искателя находятся на ламелях 24. Напряжение подается на обмотку реле 5Р (робота реле 5Р рассмотрена выше). По окончании відведення срабатывает путевой выключатель ПВП, разрывающий ланцюг живлення обмотки реле 5Р і подающий напряжение на обмотку реле 9Р. Щетки. шагового искателя автоматически приходят в исходное положение, т. е. на первые ламели контактных полей.
Операция подачі і зажиму материала происходит в два етапа.
1. С ламели 2 шестого контактного поля шагового искателя 1ШИ подается напряжение на обмотку реле ЗР, которое контактами ЗР1 і ЗР2 включает контактор КЗ. Контактор КЗ включает електромагнитную муфту МТЗ і пускает електродвигатель ДЗ, который приводит во вращение кулачок, освобождающий путевой выключатель ПВЗ, обесточивая обмотку реле ЗР. На етом подготовка увімкнення механізма подачі і зажиму материала заканчивается.
2. С ламели 3 первого контактного поля шагового искателя 1ШИ подается напряжение на обмотку реле ЗР. Происходит цодача і зажим материала. По окончании зажиму материала кулачок, совершив один оборот, возвращается в исходное положение і нажимает на путевой выключатель ПВЗ, который, срабатывая, разрывает ланцюг живлення реле ЗР і подает напряжение на обмотку реле 9Р через ламель 3 пятого контактного поля. Щетки шагового искателя переходят на наступні ламели.
Для набора программы швидкостей обертання шпинделя применяются семь двухплатных галетных переключателей I..VII, каждый из них имеет шесть фиксированных положений. На первых платах переключателей контакты 1, 2, 3 соединены з електромагнитной муфтой МС1, включающей низшую группу швидкостей, а контакты 4, 5, 6 соединены з електромагнитной муфтой МС2, включающей высшую группу швидкостей.
На второй плате переключателей контакты 1, 4; 2, 5; 3, 6 соединены соответственно з електромагнитными муфтами МСЗ, МС4, МС5, включающими одну из трех возможных швидкостей высшей или низшей группы. Для набора программы швидкостей переключатели I..VII устанавливаются в заданные положения 1..6, каждое из которых соответствует определенной скорости обертання шпинделя.
В ланцюги живлення електромагнитной муфты высшей группы швидкостей МС2 находится нормальнозакрытый контакт КГН контактора КГН. В случае реверса електродвигуна ДГ контакт КГН разрывает ланцюг електромагнитной муфты МС2, что предохраняет шестерни в редукторе от возможных поломок.
Для набора программы подач применяются семь одноплатных галетных переключателей I'..VII', каждый из них имеет три фиксированных положения. Контакты 1, 2, 3 переключателей соединены соответственно з електромагнитными муфтами МП1, МП2 і МПЗ, включающими одну из трех возможных подач. Для набора программы подач переключатели I'..VII' устанавливаются в заданные положения.
С целью облегчения условий коммутации ланцюгів живлення електромагнітних муфт в момент перехода щіток з ламели на ламель напряжение з контактных полей III, IV, VII шагового искателя 1ШИ снимается при помощи контакта 9Р2 реле 9Р.
Задание і подсчет количества обработанных деталей осуществляется при помощи специального електромеханического пристроя (счетчика), состоящего из двух шаговых искателей 2ШИ і ЗШИ, двух галетных переключателей П1, і П2, одного електромагнитного реле ЮР, кнопки 6КУ і сигнальной лампочки Л5.
Переключатель П1 предназначен для задания единиц, переключатель П2 — для задания десятков.
Обмотка шагового искателя 2ШИ соединена з ламелью 25 второго контактного поля шагового искателя 1ШИ. Обмотка шагового искателя ЗШИ соединена з ламелью 10 первого контактного поля шагового искателя 2ШИ.
Перемикачами встановлюється кількість деталей, що підлягають обробці. Після обробки заданої кількості деталей через ламелі контактних полів крокових шукачів 2ШІ та ЗШІ та контакти перемикачів П1 та П2 створюється ланцюг для включення реле ЮР, яке контактом 10Р1 розриває ланцюг живлення контактора електродвигуна ДГ, верстат зупиняється та одночасно включається сигналізація. Крокові шукачі лічильника автоматично встановлюються у вихідне положення, сигнальна лампочка Л5 спалахує.

Панель керування командоапарата верстата 1П326
Командоапарат токарно-револьверного верстата 1П326. Дивитись у збільшеному масштабі
На панелі (фіг. 8) верстата 1П326 з програмним керуванням розташовані шість кнопок, три перемикачі типу «Тумблер», п'ять сигнальних лампочок та шістнадцять галетних перемикачів.
Кнопки 1КУ «Пуск» (фіг. 7) та 2КУ «Реверс» призначені для пуску та реверсу електродвигуна головного приводу ДГ та включення електродвигуна емульсійного та масляного насосів ДН.
Схемою передбачено одностороннє обертання електродвигуна ДН незалежно від реверсу електродвигуна ДГ.
Кнопка ЗКУ «Стоп» призначена для зупинки верстата; кнопка 4КУ «Подача та затискач матеріалу» - для включення механізму подачі та затиску матеріалу при налагодженні верстата; кнопка 5КУ «Встановлення положення головного шукача» - для встановлення щіток крокового шукача 1ШІ у вихідне положення; кнопка 6КУ «Встановлення положення шукача лічильника» — для встановлення щіток крокових шукачів 2ШІ та ЗШІ у вихідне положення.
Перемикач Т1 "Загальний" подає напругу на командоапарат; перемикач Т2 "Автомат" включає верстат на автоматичний цикл роботи; перемикач Т3 «Наладка» застосовується при налагодженні верстата для відключення механізму подачі та затискання матеріалу.
Сигнальними лампочками Л1..Л4 контролюється подача напруги на командоапарат, вихідні положення щіток крокових шукачів та робота колійних вимикачів.
На панелі керування є також перемикачі величин подач I'..VII', перемикачі швидкостей I.VII і перемикачі лічильника деталей П1, П2.