Виробник універсального токарно-гвинторізного верстата 1617 - Лубенський верстатобудівний завод на даний час ВАТ «Шліфверст».
Завод "Фенікс" заснований в 1915 році і в 1918 отримав назву "Комунар".
З 1957 завод спеціалізується на виробництві універсальних і спеціальних круглошліфувальних верстатів з різним рівнем автоматизації, від верстатів з ручним керуванням до верстатів з сучасними ЧПУ.
Початок серійного виробництва токарно-гвинторізного верстата 1617 – 1952 рік.
Токарно-гвинторізний верстат 1617 призначений для токарної обробки порівняно невеликих деталей з різних матеріалів як швидкорізальними, так і твердосплавними інструментами в умовах індивідуального та серійного виробництва. На верстаті можна нарізати різцем метричні та дюймові різьблення.
Найбільший діаметр деталі типу Диск , що обробляється над станиною, становить Ø 350 мм, а максимальний діаметр деталі типу Вал , що закріплюється в центрах над верхньою частининою супорта - Ø 200 мм. Відстань між центрами 750 мм.
Шпиндель верстата 1617 отримує 8 швидкостей обертання (31..720 об/хв) у прямому та зворотному напрямку (50..720) від коробки швидкостей через перебірні шестерні. Для керування перебором служать ручки на передній бабці.
Дві фрикційні муфти в коробці швидкостей керують пуском, зупинкою та реверсуванням шпинделя при увімкненому двигуні.
Коробка подач забезпечує нарізання метричної, дюймової та модульної різьби без застосування змінних шестерень. Для нарізування точного різьблення ходовий гвинт може бути прямо включений, минаючи коробку подач.
Механізм коробки подач дає можливість отримати через гвинт наступні різьблення:
Від шпинделя рух передається на гітару і від неї на вхідний вал коробки подач.
Оброблювана деталь встановлюється у центрах чи патроні. Привід верстата здійснюється від одного електродвигуна через ремінну передачу із прогумованої тканини. Наявність ремінної передачі оберігає механізми коробки швидкостей та шпиндельної бабки від динамічних ударів при пуску, реверсуванні та гальмуванні.
Вимикаючі упори не передбачені.
Коробка подач забезпечує, нарізання метричного та дюймового різьблення.

Габарит робочого простору верстата 1617

Ескіз шпинделя токарно-гвинторізного верстата 1617

Профіль направляючих станини токарного верстата 1617

Фото токарно-гвинторізного верстата 1617

Фото токарно-гвинторізного верстата 1617

Опора поворотно-обмоткового розриву 1617

Передня бабка токарно-гвинторізного верстата 1617

Гітара токарно-гвинторізного верстата 1617

Розміщення органів керування токарним верстатом 1617

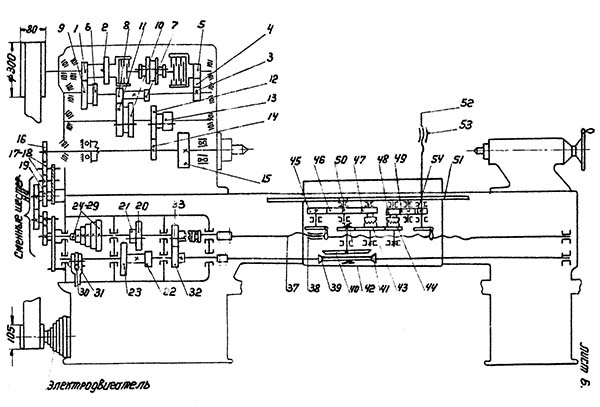
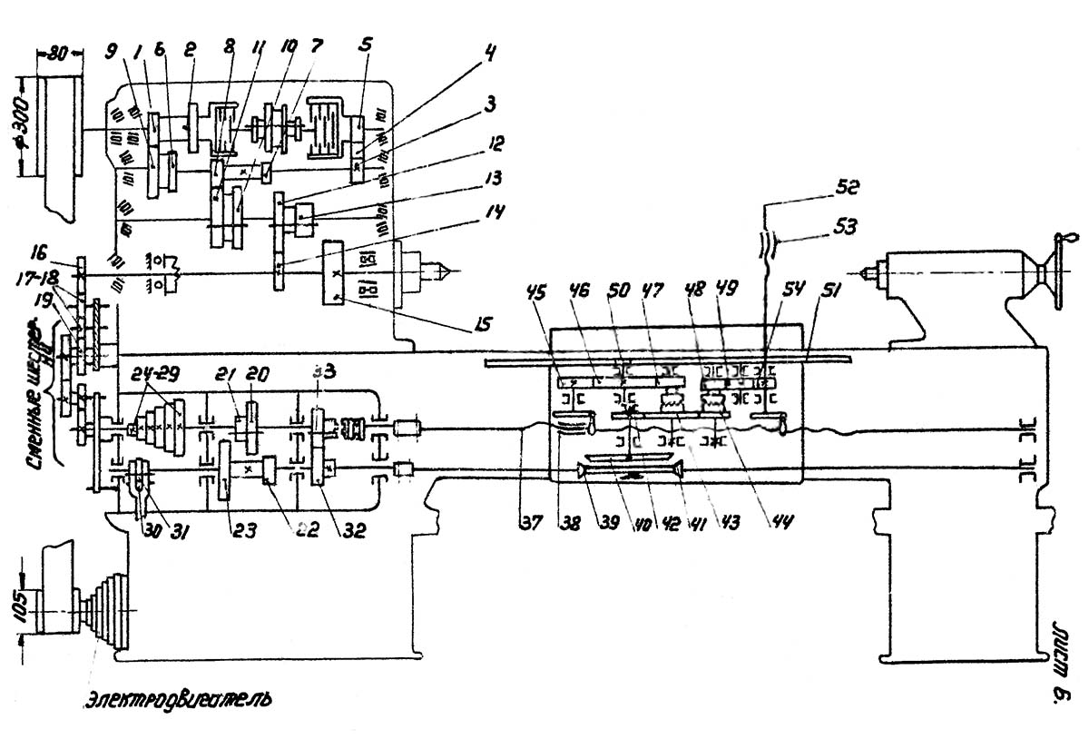
Кінематична схема токарного верстата 1617
Схема кінематична токарно-гвинторізного верстата 1617. Дивитись у збільшеному масштабі

Фрикционная муфта токарного верстата 1617

Шпиндель токарного верстата 1617

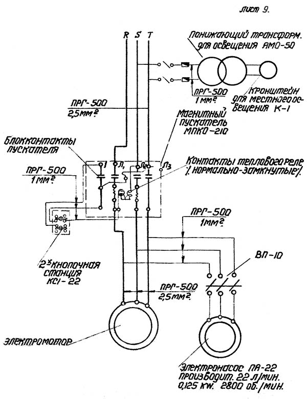
Електрична схема токарного верстата 1617
| Наименование параметра | 1617 | ||
|---|---|---|---|
| Основні параметри | |||
| Класс точності | Н | ||
| Наибольший диаметр заготовки, обрабатываемой над станиной, мм | 350 | ||
| Наибольший диаметр заготовки, обрабатываемой над суппортом, мм | 200 | ||
| Высота оси центров над плоскими направляющими станины (высота центров), мм | 180 | ||
| Наибольшая длина заготовки, обрабатываемой в центрах (РМЦ), мм | 750 | ||
| Наибольшая длина обтачивания, мм | 750 | ||
| Высота от опорной поверхности резца до линии центров, мм | 20 | ||
| Наибольшее расстояние от оси центров до кромки резцедержателя, мм | 180 | ||
| Наибольшая масса заготовки, обрабатываемой в патроне, кг | |||
| Наибольшая масса заготовки, обрабатываемой в центрах, кг | |||
| Шпиндель | |||
| Диаметр сквозного отверстия в шпинделе, мм | 38 | ||
| Наибольший диаметр прутка, проходящий через отверстие в шпинделе, мм | 36 | ||
| Частота прямого обертання шпинделя, об/мин | 31..720 | ||
| Число ступеней частот прямого обертання шпинделя | 8 | ||
| Частота обратного обертання шпинделя, об/мин | 50..720 | ||
| Число ступеней частот обратного обертання шпинделя | 4 | ||
| Размер внутреннего конуса в шпинделе, М | Морзе 5 | ||
| Кінець шпинделя | М68х6 | ||
| Торможение шпинделя | есть | ||
| Блокировка рукояток | |||
| Суппорт. Подачи | |||
| Наибольшее перемещение поздовжньої каретки суппорта от руки, по валику, по винту, мм | 750 | ||
| Наибольшее перемещение поперечної каретки суппорта от руки, по винту, мм | 180 | ||
| Цена деления лимба продольного переміщення суппорта, мм | - | ||
| Цена деления лимба поперечного переміщення суппорта, мм | 0,05 | ||
| Число ступеней продольных подач | |||
| Пределы продольных рабочих подач, мм/об | 0,140..4,740 | ||
| Пределы поперечных рабочих подач, мм/об | 0,125..4,200 | ||
| Скорость быстрых перемещений суппорта, продольных, м/мин | нет | ||
| Скорость быстрых перемещений суппорта, поперечных, м/мин | нет | ||
| Количество нарезаемых різьб метрических | |||
| Пределы шагов нарезаемых різьб метрических, мм | 0,5..10 | ||
| Количество нарезаемых різьб дюймовых | |||
| Пределы шагов нарезаемых різьб дюймовых | 2..24 | ||
| Количество нарезаемых різьб модульных | нет | ||
| Пределы шагов нарезаемых різьб питчевых | нет | ||
| Выключающие упоры | нет | ||
| Наибольшее усилие, допускаемое механізмом подач (Продольное / поперечное), кг | 500 / 680 | ||
| Резцовые салазки | |||
| Наибольшее перемещение резцовых салазок, мм | 95 | ||
| Перемещение резцовых салазок на одно деление лимба, мм | 0,05 | ||
| Перемещение резцовых салазок на один оборот лимба, мм | 0,05 | ||
| Наибольший угол поворота резцовых салазок, град | +60°-45° | ||
| Цена деления шкалы поворота резцовых салазок, град | 1° | ||
| Наибольшее сечение державки резца (ширина х высота), мм | 25 х 35 | ||
| Число резцов в резцовой головке | 4 | ||
| Задня бабка | |||
| Диаметр пиноли задньої бабки, мм | |||
| Конус отверстия в пиноли задньої бабки | Морзе 4 | ||
| Наибольшее перемещение пиноли, мм | 100 | ||
| Переміщення пінолі на один поділ лімба, мм | ні | ||
| Розмір поперечного зміщення корпусу бабки, мм | ±10 | ||
| Електроустаткування | |||
| Кількість електродвигунів на верстаті | |||
| Потужність електродвигуна головного приводу, кВт | 3 | ||
| Потужність електродвигуна насоса охолодження, кВт | 0,1 | ||
| Габарити та маса верстата | |||
| Габарити верстата (довжина ширина висота), мм | 2100 х 920 х 1260 | ||
| Маса верстата, кг | 1250 |