Виробником токарно-гвинторізного верстата 16Б05А був Одеський верстатобудівний завод .
Токарно-гвинторізний верстат особливо високої точності 16Б05А з найбільшим діаметром обробки над станиною 250мм, призначений для виконання різних токарних робіт високої точності, що виконуються в центрах, цангу, патроні та планшайбі, а також для нарізування метричних, дюймових та модульних різьблень.
Токарний верстат 16Б05А забезпечує якість оброблюваної поверхні та точності роботи (точність розмірів та геометричних форм) високого класу.
Верстат 16Б05А застосовується на підприємствах приладобудівної, радіотехнічної, інструментальної промисловості та точного машинобудування.
Основна особливість токарного верстата 16Б05А – гідростатичні опори шпинделя , які задіяні від агрегату гідростатики верстата.
Друга особливість – привід тонких подач у коробці подач верстата. При чистовій обробці коробка подач наводиться ременной передачею від варіатора до шківа коробки подач. Блокування в механізмі керування забезпечується неможливість одночасного включення подачі від ременного приводу і від гітари.
В іншому конструкція верстата 16Б05А ідентична конструкції верстата 16Б05П підвищеної точності.
Установка варіатора на спеціальній плиті, що не має контакту з тумбою, а також незалежна підвіска фартуха верстата забезпечують зниження рівня вібрації при обробці та підвищують якість поверхні, що обробляється.
Коробка подач забезпечує можливість нарізання великої кількості метричних, модульних різьблень та отримання широкого діапазону поздовжніх та поперечних подач без зміни шестерень гітари. Шпиндель встановлений в оригінальних радіальних та завзятих гідростатичних підшипниках, що у поєднанні з жорсткою конструкцією верстата дозволяє робити унікальну за точністю токарну обробку.
Верстат призначений для використання в кліматичних умовах УХЛ4.1 згідно з ГОСТ 15150-69.
В автоматичну лінію не вбудовується.
Клас точності верстата - А за ГОСТ 8-82Е (особливо високої точності).
Розробник - Одеське СКБ спеціальних верстатів.
Виробник – Одеський верстатобудівний завод.
Читайте також: Електроустаткування верстата 16Б05А
Літери наприкінці позначення моделі:

Габарит робочого простору токарного верстата 16Б05а

Посадочні та приєднувальні бази токарно-гвинторізного верстата 16Б05а

Фото токарно-гвинторізного верстата 16Б05а
Фото токарно-гвинторізного верстата 16Б05а. Завантажити у збільшеному масштабі

Фото токарно-гвинторізного верстата 16Б05а

Фото токарно-гвинторізного верстата 16Б05а
Фото токарно-гвинторізного верстата 16Б05а. Завантажити у збільшеному масштабі

Фото токарно-гвинторізного верстата 16Б05а
Фото токарно-гвинторізного верстата 16Б05а. Завантажити у збільшеному масштабі

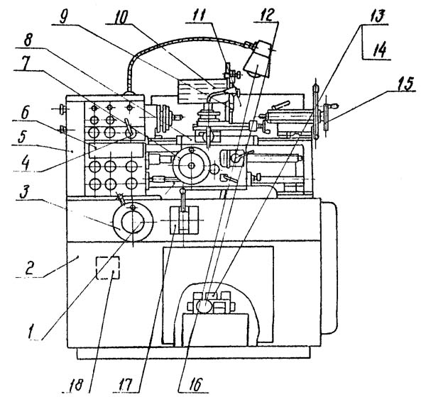
Розташування основних вузлів токарно-гвинторізного верстата 16Б05а

Розташування органів керування токарно-гвинторізним верстатом 16Б05а

Кінематична схема токарно-гвинторізного верстата 16Б05а
1. Схема кінематична токарно-гвинторізного верстата 16Б05а. Скачать в увеличенном масштабе
Кінематична схема верстата позволяет осуществлять наступні операции:

Варіатор токарно-гвинторізного верстата 16Б05а
Варіатор (бесступенчатая коробка швидкостей)
Варіатор состоит из собственно варіатора і двухступенчатой коробки швидкостей (коробки переключения диапазонов).
Первый (ведущий) вал 2 варіатора приводится во вращение фланцевым електродвигуном через зубчатую полумуфту. Вторая половина муфты выполнена заодно з валом 2, на котором установлены нерухомий (в осевом направлении) диск 4 і подпружиненный скользящий диск 3, образующие ведущий шкив варіатора. От етого шкива вращение посредством широкого клинового ремня передається валу 7 через ведомый шкив варіатора, состоящий из нерухомого диска 5 і управляемого скользящего диска 6.
Кроме ведомого шкива, на валу 7 расположены зубчасті колеса 8 і 9. Зубчатое колесо 9 снабжено наружным і внутренним зубчатым венцом полумуфтой. Зубчатое колесо 8, перемещаясь по шлицам вдоль вала 7, переключает диапазоны швидкостей выходного вала варіатора. На етом валу посажен ведущий шкив клиноременной передачи, связывающей вариатор з передньої бабкой. Для натяжения передачи корпус 11 коробки швидкостей варіатора може поворачиваться на стакане 10, закрепленном на корпусе 1 варіатора. Поворот корпуса 11 производится при помощи стяжной гайки 21, після чего корпус закрепляется гвинтами на стакане 10.
Механізм керування вариатором і коробкой швидкостей расположен сверху на корпусе варіатора. Маховичок 12 управляет переміщенням скользящего диска 6, рукоятка 16 служит для переключения шестерен в коробке швидкостей. Планетарная передача 20—19—18—17 связывает маховичок 12 з диском 13, на котором установлено кольцо 14 з лимбом 15. На лимбе нанесены две шкалы скорости обертання шпинделя, одна — для прямого увімкнення шпинделя, вторая — для увімкнення шпинделя через перебор.
Для отсчета показаний шкал служат две пары указательных штрихов, нанесенных на прозрачном щитке, расположенном над лимбом. При переключении швидкостей варіатора щиток перемещается вместе з рукояткой 16. Для отсчета следует пользоваться той парой указательных штрихов, которая в данный момент находится в верхнем положении.

Шпиндельная бабка токарно-гвинторізного верстата 16Б05а
Шпиндельная бабка токарно-гвинторізного верстата 16Б05а. Скачать в увеличенном масштабе
В корпусе передньої бабки собраны:
Передаточное отношение перебора передньої бабки равно 1/8 Керування перебором 6, 7 і муфтой 10 прямого увімкнення осуществляется одной рукояткой. Рядом з шестерней перебора 11 на шпинделе 4 расположено зубчатое колесо 3 приводу різьб і подач. Зубчатое колесо 1, расположенное на первом валу 12 приводу різьб і подач, може соединяться либо з зубчатым колесом перебора 11, либо з зубчатым колесом 3, сидящим на шпинделе. Это дает возможность при включенном переборе получить увеличение шага резьб
Изменение направления подачі или нарезаемой різьби осуществляется трензелем, состоящим из двойного зубчатого колеса 13, скользящего зубчатого колеса 15 і паразитного колеса 16. Колеса 15 посажено на шлицы выходного вала 14, на конец которого надевается одно из сменных колес гітари.
Рукоятки керування механізмами передньої бабки расположены на передньої стенке бабки. Спереди к корпусу бабки 5 прикреплен литой кожух, в котором установлены кнопки керування головним електродвигуном.
Смазка механізмов передньої бабки — централизованная, от смазочного агрегата.

Коробка подач токарно-гвинторізного верстата 16Б05а
Коробка подач токарно-гвинторізного верстата 16Б05А. Скачать в увеличенном масштабе
Коробка подач верстата (рис. 6.6) в сочетании з гітарою позволяет устанавливать требуемые передаточные отношения для нарізання різьб з различным шагом і получения различных продольных і поперечных подач.
В коробке подач имеются наступні механізмы:
Механізм основного ряда дает возможность получить четыре передаточных отношения, пропорциональные четырем шагам метрических или модульных резьб.
Умножая ети передаточные отношения на передаточные отношения множительного механізма (1/4, 1/2, 1, 2) і на передаточные отношения механізма смещения ряда (1,1 1/4), можно нарезать метрические і модульные різьби при постоянной налаштуванні гітари.
Механізми переключения расположены на плите под крышкой коробки подач. Рукоятки переключения находятся на крышке спереди.
Давление масла от агрегата подается к переднему і заднему опорным підшипникам і регулируется двумя гідроклапанами давления.
Агрегат гідростатики обеспечивает, также, централизованную смазку шестерен і підшибників шпиндельной бабки, коробки подач і варіатора.
Гідросистема в станке осуществляет:
Гідросистема верстата 16Б05А состоит из следующих вузлів і группы:
В группу "Агрегат гідростатики" входят вузли:
Группа "Агрегат гідростатики" представляет собой комплектную установку, включающую насосную установку, аппаратуру фильтрации, регулювання і контроля давления.

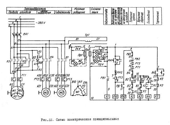
Електрична схема токарно-гвинторізного верстата 16Б05а
Читайте также: Електроустаткування верстата 16Б05А

Стальной шар, полностью изготовленный на токарному станке 16Б05а
На фотографии показан стальной шар, полностью изготовленный на токарному станке.
Из цельной заготовки з помощью набора инструментов возможно выточить шар в шаре, куб в кубе в кубе і в кубе, куб в додекаедре, который в свою очередь в шаре, кольцо в кольце.
| Наименование параметра | 16М05А | 16Б05А | 16Б05АФ10 |
|---|---|---|---|
| Основні параметри верстата | |||
| Класс точності | А | А | А |
| Наибольший диаметр заготовки обрабатываемой над станиной, мм | 250 | 250 | 250 |
| Наибольший диаметр заготовки устанавливаемой над станиной, мм | 270 | 270 | |
| Наибольший диаметр заготовки устанавливаемой над суппортом, мм | 139 | 145 | 139 |
| Наибольшая длина заготовки в центрах (РМЦ), мм | 500 | 500 | 500 |
| Высота центров над плоскими направляющими станины, мм | 135 | 135 | |
| Наибольшее расстояние от оси центров до кромки резцедержателя, мм | 135 | 135 | |
| Диаметр заготовки, устанавливаемой в патроне, мм | 5..160 | 5..160 | 5..160 |
| Диаметр заготовки, устанавливаемой в цанге, мм | 4..28 | 4..17 | |
| Диаметр заготовки, устанавливаемой в люнете, мм | 5..50 | 5..50 | |
| Наибольшая масса заготовки, устанавливаемой в центрах/ в патроне, мм | 120/ 80 | ||
| Показатели точності обробки образцов: круглость, мкм | 1,2 | ||
| Показатели шероховатости обробки образцов цветных металлов, мкм | 0,04 | ||
| Показатели шероховатости обробки образцов стали, мкм | 0,63 | 0,63 | |
| Дискретность задания продольных перемещений суппорта по лимбу/ по УЦИ (ось Z), мм | 0,1 | 0,1 | 0,1/ 0,002 |
| Дискретность задания продольных перемещений суппорта по лимбу/ по УЦИ (ось X), мм | 0,02 | 0,02 | 0,02/ 0,002 |
| Точность позиционирования, мм | 0,010 | ||
| Количество управляемых осей/ одновременно управляемых | - | - | 2/ 2 |
| Тип УЦИ | - | - | Люмо-11, К-525 |
| Тип датчиков | - | - | TGM-011 |
| Длина датчиков, мм | - | - | 620/ 170 |
| Шпиндель | |||
| Диаметр отверстия в шпинделе, мм | 32 | 26,5 | |
| Наибольший диаметр прутка, проходящий через отверстие в шпинделе, мм | 26 | 26 | |
| Центр шпинделя по ГОСТ 13214-67 | Морзе 4 | Морзе 4 | Морзе 4 |
| Кінець шпинделя по ГОСТ 12593-72 | 4К | 4К | 4К |
| Число ступеней частот прямого обертання шпинделя | б/с регулювання | б/с регулювання | б/с регулювання |
| Частота прямого обертання шпинделя, об/мин | 25..2500 | 25..2500 | 25..2500 |
| Торможение шпинделя | есть | есть | есть |
| Наибольший крутящий момент на шпинделе, кНм | 0,1 | 0,1 | 0,1 |
| Суппорт. Подачи | |||
| Наибольшее продольное перемещение суппорта (ось Z), мм | 520 | 520 | 520 |
| Наибольшее поперечное перемещение суппорта (ось Х), мм | 160 | 160 | 160 |
| Перемещение суппорта поперечное на одно деление лимба, мм | 0,02 | 0,02 | 0,02 |
| Количество подач суппорта продольных | 28 | 28 | 28 |
| Количество подач суппорта поперечных | 28 | 28 | 28 |
| Пределы подач суппорта продольных (в скобках - при использовании звена увеличения шага), мм/об | 0,01..0,35 (0,01..2,8) | 0,01..0,35 (0,01..2,8) | 0,01..0,35 (0,01..2,8) |
| Пределы подач суппорта поперечных (в скобках - при использовании звена увеличения шага), мм/об | 0,005..0,175 (0,005..1,4) | 0,005..0,175 (0,005..1,4) | 0,005..0,175 (0,005..1,4) |
| Шаги нарезаемых метрических резьб, мм | 0,2..28 | 0,2..28 | 0,2..28 |
| Шаги нарезаемых модульных резьб, мод | 0,1..14 | 0,1..14 | 0,1..14 |
| Шаги нарезаемых дюймовых резьб, ниток на дюйм | 5..96 | 5..96 | 5..96 |
| Скорость быстрых перемещений, мм/мин | нет | нет | нет |
| Резцовые салазки | |||
| Наибольшая длина переміщення резцовых салазок, мм | 150 | 150 | 150 |
| Перемещение резцовых салазок на одно деление лимба, мм | 0,02 | 0,02 | 0,02 |
| Наибольший угол поворота резцовых салазок, град | ±45° | ±45° | ±45° |
| Цена деления шкалы поворота резцовых салазок, град | 1° | 1° | 1° |
| Наибольшее сечение державки резца, мм | 16 х 16 | 16 х 16 | 16 х 16 |
| Высота от опорной поверхности резца до оси центров (высота резца), мм | 16 | 16 | 16 |
| Число резцов в резцовой головке | 4 | 4 | 4 |
| Задня бабка | |||
| Диаметр пиноли, мм | |||
| Конус отверстия пиноли задньої бабки по ГОСТ 2847-67 | Морзе 3 | Морзе 3 | Морзе 3 |
| Наибольшее перемещение пиноли, мм | 85 | 85 | 85 |
| Перемещение пиноли на одно деление лимба, мм | 0,02 | 0,02 | 0,02 |
| Перемещение пиноли на одно линейки, мм | 1 | 1 | 1 |
| Величина поперечного смещения корпуса бабки, мм | ±10 | ±10 | ±10 |
| Електроустаткування | |||
| Количество електродвигателей, установленных на станке | 3 | 3 | 3 |
| Електродвигун головного привода, кВт | 1,5 | 1,5 | 1,5 |
| Електродвигун насоса гідростанції, кВт | 2,2 | 0,75 | |
| Електродвигун насоса охолоджувальної рідини, кВт | 0,12 | 0,12 | 0,12 |
| Насосна установка мастильної системи | BG12-41 | ||
| Сумарна потужність електродвигунів, встановлених на верстаті, кВт | 3,82 | 2,37 | 2,375 |
| Габарити та маса верстата | |||
| Габарити верстата (довжина ширина висота), мм | 1550 х 1350 х 1400 | 1530 х 910 х 1385 | 1460 х 940 х 1600 |
| Маса верстата, кг | 1400 | 1365 | 1375 |