Виробниками токарно-гвинторізного верстата 16Б05П були Одеський верстатобудівний завод та Кіроваканський завод прецизійних верстатів м. Кіровокан (сьогодні м. Ванадзор), Вірменія.
Основним призначенням верстата було навчання токарній справі у школах, профтехучилищах, технікумах, що широко використовуються в лабораторіях, навчальних та ремонтних майстернях.
На даний час випуск верстатів припинено.
Токарно-гвинторізний верстат 16Б05П виготовлений за ТУ2-024-5079-78, ГОСТ 12-2-009.80, ГОСТ 7599-82. Розробник - Одеське СКБ спеціальних верстатів.
Токарний верстат 16Б05П призначений для виконання різних токарних робіт високої точності, що виконуються в центрах, цангу, патроні та планшайбі, а також для нарізування метричних, дюймових та модульних різьблень.
Верстат 16Б05П забезпечує якість оброблюваної поверхні та точність роботи (точність розмірів, геометричних форм) високого класу.
Токарно-гвинторізний верстат 16Б05П застосовується на підприємствах приладобудівної, радіотехнічної, інструментальної промисловості та точного машинобудування.
Універсальний токарно-гвинторізний верстат 16Б05п дозволяє проводити такі види робіт:
Верстат призначений для використання у кліматичних умовах – У.4.1. за ГОСТ 15150-69
Основні конструктивні особливості .
В автоматичну лінію не вбудовується.
Клас точності П згідно з ГОСТ 8-82Е.
Шпиндель верстата 16Б05п отримує 4 діапазони безступінчастиних швидкостей обертання в прямому та зворотному напрямку в діапазоні - 30..3000 об/хв (30..125, 90..375, 240..1000, 720..3000).
Від електродвигуна обертання надходить на вхідний шків варіатора. З вихідного шківа варіатора на приймальний шків передньої бабки надходить 2 діапазони швидкостей - 240..1000 та 720..3000 об/хв. Переключення діапазонів швидкостей здійснюється рукояткою перемикання швидкості варіатора, безступінчасте керування швидкістю здійснюється Маховичком зміни чисел оборотів шпинделя на передній стінці варіатора.
У передній бабці обертання від приймального шківа на шпиндель надходить безпосередньо через муфту прямого включення шпинделя або через шестерні перебору. Передатне відношення перебору передньої бабки дорівнює 1/8. Керування перебором та муфтою прямого включення здійснюється однією рукояткою на передній стінці бабки. Таким чином, перебір передньої бабки додає шпинделю ще 2 діапазону швидкостей - 30..125 і 90..375 об/хв.
Передній кінець шпинделя виконаний за ГОСТ 12593 (Конці шпинделів фланцеві під поворотну шайбу та фланці затискних пристроїв) (DIN 55027, ІСО 702-3-75) під поворотну шайбу, з коротким конусом, що центрує:
Коробка подач забезпечує нарізання метричної, дюймової та модульної різьби без застосування змінних шестерень.

Габаритні розміри робочого простору верстата 16Б05П

Передній кінець шпинделя токарно-гвинторізного верстата 16Б05п
Передній кінець шпинделя токарно-гвинторізного верстата 16Б05п. Завантажити у збільшеному масштабі

Фото токарно-гвинторізного верстата 16Б05п
Фото токарно-гвинторізного верстата 16Б05п. Завантажити у збільшеному масштабі

Фото токарно-гвинторізного верстата 16Б05п
Фото токарно-гвинторізного верстата 16Б05п. Завантажити у збільшеному масштабі

Фото токарно-гвинторізного верстата 16Б05п
Фото токарно-гвинторізного верстата 16Б05п. Завантажити у збільшеному масштабі

Панель керування токарно-гвинторізним верстатом 16Б05п

Панель керування токарно-гвинторізним верстатом 16Б05п
Панель керування токарно-гвинторізним верстатом 16Б05п. Завантажити у збільшеному масштабі

Фото токарно-гвинторізного верстата 16Б05п
Фото токарно-гвинторізного верстата 16Б05п. Завантажити у збільшеному масштабі

Суппорт токарно-гвинторізного верстата 16Б05п
Супорт токарно-гвинторізного верстата 16Б05п. Завантажити у збільшеному масштабі

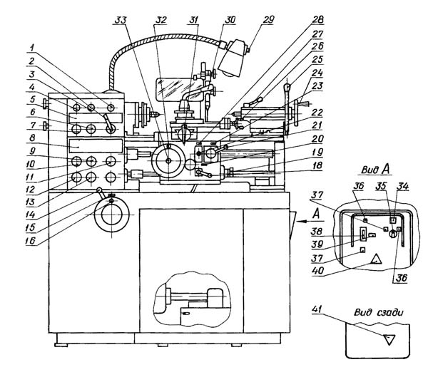
Розташування складових частинин верстата токарного верстата 16Б05п

Розташування органів керування токарним верстатом 16Б05п

Таблиця налаштування різьб і подач верстата 16Б05п

Таблиця налаштування різьб і подач верстата 16Б05п

Кінематична схема токарно-гвинторізного верстата 16Б05п
1. Схема кінематична токарно-гвинторізного верстата 16Б05П. Скачать в увеличенном масштабе
2. Схема кінематична токарно-гвинторізного верстата 16Б05П. Скачать в увеличенном масштабе
Кінематична схема верстата позволяет осуществлять наступні операции:
Електродвигун 1 через зубчатую муфту 2 вращает ведущий шкив 3 варіатора з широким клиновым ремнем. Ремень передает вращение ведомому шкиву 4 варіатора. Изменение скорости обертання ведомого вала варіатора осуществляется осевым переміщенням подвижного диска ведомого шкива. Далее, через одну из двух пар зубчатых колес — 5 і 6 или 7 і 8 вращение передається шкиву 9 клиноременной передачи. Переключення здесь осуществляется осевым переміщенням колеса 5, которое входит в зацепление з колесом 6 либо в качестве зубчатой полумуфты входит во внутренний венец колеса 7.
От шкива 9 клиновые ремни передают вращение шкиву 14, сидящему на втулке IV. Отсюда вращение сообщается шпинделю VI непосредственно при включении зубчатой муфты 19, или же через перебор, состоящий из зубчатых колес 15, 16, 17 і 18 з общим передаточным отношением 1 : 8.
Рух подачі осуществляется непосредственно от шпинделя VI или от втулки IV. Соответственно етому зубчатое колесо 21, скользящее по валу VII, зацепляется либо з зубчатым колесом 20, либо 15. Последнее зацепление используется для нарізання різьб з крупным шагом при включенном переборе і дает восьмикратное увеличение шага різьби.
От вала VII вращение передається через зубчасті колеса трензеля 22, 23, 24 і зубчасті колеса гітари а, б, в, г на валы коробки подач. Механізми коробки подач — механізм смещения ряда (зубчасті колеса 25, 26, 27, 28), механізм основного ряда різьб і подач (зубчасті колеса 28, 29, 26, 30, 33, 34, 31, 32), множительный механізм (зубчасті колеса 35, 36, 37, 38, 39, 40, 41) —позволяют при неизменной налаштуванні гітари получить 28 ступеней подачі (4 ступени повторяются) или ряд стандартных шагов різьби.
Осевым переміщенням шестерни-полумуфты 42 включается вращение ходового валика XVI (через шестерни 43,44,45 і муфту 47) или ходового гвинта 71. Полумуфта, жестко связанная со скользящим блоком 39—41, служит для прямого соединения ходового гвинта з гітарою. Це позволяет сократить кинематическую ланцюг при нарезании різьби і повысить точность нарезаемой різьби. Налаштування на шаги нарезаемых різьб в етом случае производится подбором колес гітари.
При включении маточной гайки 72 вращение ходового гвинта 71 преобразуется в продольное перемещение суппорта, используемое для нарізання різьби.
При точении вращение ходового валика XVI плавающей муфтой 48 передається червячной паре 49, 50 і далее планетарному механізму 54, 52, 53, 51 і шестерне 56.
Солнечное колесо 51 удерживается от обертання предохранительной муфтой 55.
Зубчатый блок 57, 58 служит для переключения поздовжньої і поперечної подачі. В первом случае зубчатое колесо 58 зацепляется з колесом 59, на одном валу з которым сидит шестерня 60, перекатывающаяся по рейке 61; во втором случае зубчатое колесо 57 зацепляется з колесом 62, приводящим во вращение винт поперечної подачі 73.
Зубчасті колеса 64 і 65 вращают лимб отсчета продольного переміщення суппорта.
Зубчасті колеса 10, 11, 12, 13 образуют планетарную передачу, через которую при управлении вариатором приводится во вращение лимб отсчета скорости шпинделя.
Зубчасті колеса 67 і 68 передают вращение от 1 вала варіатора лопастному насосу агрегата змазки.
Список зубчатых і червячных колес, винтов і гаек к кінематичної схеме приведен в табл. 4.
Станина верстата (рис. 6) представляет собой жесткую отливку з поперечными П-образными ребрами в средней частини, которые разделены окнами для ссыпания стружки. Сверху на станине расположены две пары направляючих: крайние (две призмы) — для суппорта і средние (призма і плоскость) - для задньої бабки. Под полкой передньої направляющей закреплена рейка 1 продольного переміщення суппорта.
Слева на верхней плоскости станины установлена передняя бабка, справа — задня бабка.
На передньої стенке станины, слева, закреплена коробка подач справа — колодка 4 з опорами ходового гвинта 3 і ходового валика 2.
Под передньої бабкой в станине имеется окно для приводных ремней от варіатора. В задньої стенке станины — окно для монтажа маслопровода бабки.
Станина крепится к тумбе шестью гвинтами.
Каркас тумбы (рис. 7) изготовлен из угловой стали і обшит тонким листом. Верхня часть тумбы выполнена в виде корыта 6. Слева і справа от него расположены обработанные площадки для установки станины.
В левой частини тумбы, внизу, установлен вариатор 1. Рядом з вариатором расположены смазочный агрегат 2 і бак охлаждения 4. Охлаждающая жидкость сливается из корыта 6 в бак охлаждения через воронку 5, закрытую съемной сеткой.
В правой секции тумбы расположен шкаф з електроаппаратурой 3. Ввод в електрошкаф, а также винт заземления находятся на задньої стенке тумбы, внизу.
Проемы, служащие для доступа к расположенным в тумбе вузлам, закрыты быстросъемными крышками з пружинными защелками.

Варіатор токарно-гвинторізного верстата 16Б05п
Варіатор (рис. 8) состоит из собственно варіатора і двухступенчатой коробки швидкостей (коробки переключения диапазонов).
Первый (ведущий) вал 2 варіатора приводится во вращение фланцевым електродвигуном через зубчатую полумуфту. Вторая половина муфты выполнена заодно з валом 2, на котором установлены нерухомий (в осевом направлении) диск 4 і подпружиненный скользящий диск 3, образующие ведущий шкив варіатора. От етого шкива вращение посредством широкого клинового ремня передається валу 7 через ведомый шкив варіатора, состоящий из нерухомого диска 5 і управляемого скользящего диска 6.
Кроме ведомого шкива, на валу 7 расположены зубчасті колеса 8 і 9. Зубчатое колесо 9 снабжено наружным і внутренним зубчатым венцом полумуфтой. Зубчатое колеса 8, перемещаясь по шлицам вдоль вала 7, переключает диапазоны швидкостей выходного вала варіатора. На етом валу посажен ведущий шкив клиноременной передачи, связывающей вариатор з передньої бабкой. Для натяжения передачи корпус 11 коробки швидкостей варіатора може поворачиваться на стакане 10, закрепленном на корпусе 1 варіатора. Поворот корпуса 11 производится при помощи стяжной гайки 21, після чего корпус закрепляется гвинтами на стакане 10.
Механізм керування вариатором і коробкой швидкостей расположен сверху на корпусе варіатора. Маховичок 12 управляет переміщенням скользящего диска 6, рукоятка 16 служит для переключения шестерен в коробке швидкостей. Планетарная передача 20—19—18—17 связывает маховичок 12 з диском 13, на котором установлено кольцо 14 з лимбом 15. На лимбе нанесены две шкалы скорости обертання шпинделя, одна — для прямого увімкнення шпинделя, вторая — для увімкнення шпинделя через перебор.
Для отсчета показаний шкал служат две пары указательных штрихов, нанесенных на прозрачном щитке, расположенном над лимбом. При переключении швидкостей варіатора щиток перемещается вместе з рукояткой 16. Для отсчета следует пользоваться той парой указательных штрихов, которая в данный момент находится в верхнем положении.

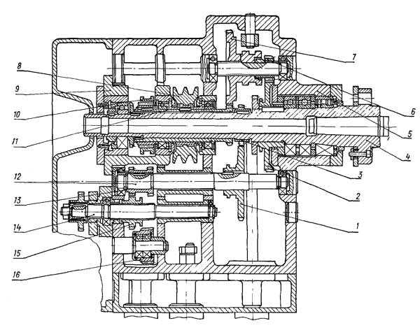
Шпиндельная бабка токарно-гвинторізного верстата 16Б05п
В корпусе передньої бабки (рис. 9) собраны шпиндель, перебор, привід різьб і подач з трензелем і механізм керування.
Приемный шкив 8 передньої бабки установлен на втулке 11, соосной со шпинделем 4. Слева от шкива расположена муфта 10 прямого увімкнення шпинделя, справа — зубчасті колеса перебора 2, 6, 7,11.
Шпиндель верстата вращается в прецизионных підшипниках качения.
В передньої опоре шпинделя установлены роликовый двухрядный подшипник і два шариковых радиально-упорных, в задньої — шариковый радиальный подшипник.
Задня спора шпинделя і левая опора втулки 11 шкива 8 расположены в стакане 9. При замене приводных ремней етот стакан нужно снимать.
Передаточное отношение перебора передньої бабки равно 1/8 Керування перебором 6, 7 і муфтой 10 прямого увімкнення осуществляется одной рукояткой. Рядом з шестерней перебора 11 на шпинделе 4 расположено зубчатое колесо 3 приводу різьб і подач. Зубчатое колесо 1, расположенное на первом валу 12 приводу різьб і подач, може соединяться либо з зубчатым колесом перебора 11, либо з зубчатым колесом 3, сидящим на шпинделе.
Это дает возможность при включенном переборе получить увеличение шага резьб.
Изменение направления подачі или нарезаемой різьби осуществляется трензелем, состоящим из двойного зубчатого колеса 13, скользящего зубчатого колеса 15 і паразитного колеса 16. Колеса 15 посажено на шлицы выходного вала 14, на конец которого надевается одно из сменных колес гітари.
Рукоятки керування механізмами передньої бабки расположены на передньої стенке бабки. Спереди к корпусу бабки 5 прикреплен литой кожух, в котором установлены кнопки керування головним електродвигуном.
Смазка механізмов передньої бабки — централизованная, от смазочного агрегата.

Схема розположення підшибників токарно-гвинторізного верстата 16Б05п
Схема розположення підшибників токарно-гвинторізного верстата 16Б05п. Скачать в увеличенном масштабе
Шпиндель верстата 16Б05п смонтирован на 4-х підшипниках:

Передний конец шпинделя токарно-гвинторізного верстата 16Б05п
Передний конец шпинделя токарно-гвинторізного верстата 16Б05п. Скачать в увеличенном масштабе
Для регулювання радиального зазору двухрядного роликового підшипника передньої опори шпинделя необходимо:
А = В - δ мм,
где
В — толщина снятых полуколец 4 до шлифовки, мм;
δ — величина необходимого смещения внутреннего кольца підшипника δ относительно посадочной шейки шпинделя 8.
Величина смещения δ определяется по формуле:
δ = 15(Δо — Δ + 0,01) мм,,
где
Δо -начальный радиальный зазор (до регулировки), мм; Δ — требуемый радиальный зазор підшипника, мм.
Токарно-винторезные верстати мод. 16Б04П і 16Б05П поставляются з радиальным зазором Δ = 0,003 до 0,005 мм.
Задня бабка (рис. 10) состоит из основания 4 і корпуса 7, в котором смонтированы механізмы бабки.
Корпус бабки в поперечном направлении може смещаться по выступу основания при помощи регулировочных винтов 11 і гайки 10. Закрепление бабки на направляючих станины производится рукояткой 13 при помощи ексцентриковых зажимов 1, 2, 5.
В расточке корпуса бабки расположена пиноль 6 для установки упорного центра или других инструментов.
Пиноль перемещается при вращении гвинта 12 маховичком 9. Отсчет величины переміщення пиноли 6 производится по шкале, нанесенной на пиноли, і по лимбу 8.
Положение рукоятки 13 ексцентрикового зажиму регулируется на бабке, снятой з направляючих, путем поворота гайки 3 на одну грань (до совмещения плоскостей гайки з пазом планки 2).
Гітара (рис. 11) соединяет переднюю бабку з коробкой подач.
Приклон 3 установлен на выходном валу передньої бабки. В пазу приклона закрепляется промежуточная ось 2. На выходном валу передньої бабки, на промежуточной оси і на приемном валу коробки подач устанавливаются сменные шестерни из комплекта, приложенного к верстату.

Коробка подач токарно-гвинторізного верстата 16Б05п
Коробка подач верстата (рис. 12) в сочетании з гітарою позволяет устанавливать требуемые передаточные отношения для нарізання різьб з различным шагом і получения различных продольных і поперечных подач.
В коробке подач имеются наступні механізмы:
Механізм основного ряда дает возможность получить четыре передаточных отношения, пропорциональные четырем шагам метрических или модульных резьб.
Умножая ети передаточные отношения на передаточные отношения множительного механізма (1/4, 1/2, 1, 2) і на передаточные отношения механізма смещения ряда (1,1 1/4), можно нарезать метрические і модульные різьби при постоянной налаштуванні гітари.
Механізми переключения расположены на плите под крышкой коробки подач. Рукоятки переключения находятся на крышке спереди.
В механізме фартука (рис. 13) рух от ходового валика передається через червячную пару 21, 20, планетарную передачу 19, 18, 17 і ряд зубчатых колес реечной шестерне 15 (при поздовжньої подаче) или винту поперечного переміщення суппорта (при поперечної подаче).
Переключення з поздовжньої подачі на поперечную производится осевым переміщенням блока зубчатых колес 16. В среднем положении етого блока подача отключена.
При нарезании різьб подача суппорту сообщается от ходового гвинта через маточную гайку 6—7. Встроенная в механізм фартука блокировка исключает возможность одновременного увімкнення гайки 6 і 7 і руху как поздовжньої, так і поперечної подачі.
Во избежание заедания гайки на ходовом винте сближение гаек 6 і 7 ограничивается регулируемым упором 8.
Для предохранения механізмов фартука от поломки при перегрузке служит рычаг 2, ролик которого под действием подпружиненной защелки 4 удерживает от обертання зубчатый диск 5, а з ним і солнечное колесо 19 планетарной передачи.
При перегрузке ролик выходит из впадины диска 5 і рычаг 2 поворачивается і фиксируется защелкой 4 в отведенном положении. Подача прекращается. Возврат предохранительного пристроя во включенное положение производится рукояткой 18 (рис. 4).
Предохранительное пристрій може быть использовано і для роботи по упору.
Величина предельного тягового зусилля регулируется вращением кнопки 3.
Ручное перемещение суппорта осуществляется вращением маховичка 11 при среднем положении блока 16 і вытянутой кнопке 12. Отсчет переміщення производится по лимбу 10.
При механической подаче кнопку 12 следует подать вперед, чтобы исключить вращение маховичка 11.
Смазка механізмов фартука осуществляется при помощи двух вспомогательных шестерен 22, погруженных в маслованне корпуса 1 фартука.
Суппорт (рис. 14) верстата — крестового типа. Нижние салазки 1 суппорта перемещаются в продольном направлении по станине. Сверху, на направляючих нижних салазок, установлены поперечные салазки 3 суппорта. На них закреплены поворотные салазки 9. По направляющим поворотных салазок перемещается (вручную) верхняя каретка 10, несущая резцедержатель 6.
Резцедержатель — четырехпозиционный, з фиксацией в четырех положениях.
Поворотные салазки 9 устанавливаются на требуемый угол по шкале, нанесенной на поперечных салазках, перемещение которых може быть механическое (от фартука) или ручное (от рукоятки).
При поперечної обработке нижние продольные салазки суппорта могут стопориться винтом 2. На гвинтах 5 і 7 переміщення верхней каретки і поперечных салазок расположены лимбы 4 і 8 точного отсчета величины перемещений.
Смазочный агрегат (рис. 15) состоит из бачка 1 для масла і установленного на нем приводного редуктора 2 з лопастным насосом 3.
Вращение редуктору передається при помощи еластичной резиновой трубки 5 от первого вала варіатора.
Масло от насоса поступает по трубке 4 к маслораспределителю передньої бабки. Из одной секции передньої бабки масло сливается в коробку швидкостей варіатора, из другой — в коробку подач.
Из коробки швидкостей варіатора і коробки подач масло сливается в бачок смазочного агрегата.
В колодке 6 на сливной магистрали установлен магнитный фильтр.
Работа смазочного агрегата контролируется по глазкам маслоуказателей, расположенных на верхней крышке передньої бабки і на передньої стенке коробки подач.
Регулювання натяжения ремней приводу головного руху производится поворотом корпуса 11 (см. рис. 8) коробки швидкостей варіатора при помощи стяжной гайки 21. Винты зажиму корпуса 11 должны быть при етом ослаблены. После натяжения ремней корпус необходимо зажать.
Положение рукоятки 13 (см. рис. 10), соответствующее наибольшему усилию зажиму задньої бабки на направляючих станины, регулируется післядовательным поворотом гайки 3 на 1/6 часть оборота таким образом, чтобы противоположные грани гайки входили в паз планки 2.
Регулювання производится при бабке, снятой з направляючих станины.
Клинья поперечных 3 (см. рис. 14) і поворотных 9 салазок суппорта регулируются гвинтами.
Зазор в гайках 11 і 13 гвинта 7 поперечных салазок суппорта устраняется затяжкой клина 12 винтом М6х16.
Зазор в гайке 14 гвинта поворотных салазок суппорта устраняется поджатием гайки винтом 15, расположенным на лицевой стороне суппорта. После регулировки винт 15 следует законтрить.
Зазор в гайке 6—7 (см. рис. 13) ходового гвинта регулируется винтом 8.
Предохранительное пристрій фартука регулируется вращением лимба 3 до получения тягового зусилля (от ходового валика), равного ПО кг (для верстата мод. 16Б04П) или 140 кг (для верстата мод. 16Б05П).
Тяговое усилие измеряется динамометром, установленным между корпусом фартука і коробкой подач.
Схема розположення підшибників приведена на рис 26, перечень підшибників качения в табл. 18.

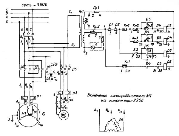
Електрична схема токарно-гвинторізного верстата 16Б05п
На станке установлены два трехфазных асинхронных електродвигуна Ml і М2, которые работают под напряжением переменного тока:
силовая ланцюг — 3 ~50 Гц, 380 В;
ланцюг керування ~ 50 Гц, 110 В;
ланцюг местного освещения ~ 50 Гц, 36 В.
Рабочее напряжение силовой ланцюги выбирает заказчик.
Органы керування верстата расположены на передньої бабке і двери з правой стороны тумбы. Электроаппаратура верстата размещается в нише з правой стороны тумбы.
Рабочее место освещается светильником з гибкой стойкой, расположенным на передньої бабке верстата. Ввод питающих про водов марки ПГВ черного цвета сечением 1,5 мм2 выполняется знизу через угольник 1/2".
На дверце електрошафи установлены трехфазный автоматический выключатель з максимальным расланцюгителем для подключения верстата к сети і пакетно-кулачковый переключатель для керування електродвигуном М2 насоса охлаждения.
При уходе за електрообладнанням необходимо периодически проверять состояние апаратури, обращая особое внимание на надежное замыкание і размыкание контактных мостиков.
Во время експлуатации електродвигателей нужно систематически производить их технические осмотры і профилактические ремонты. Периодичность техосмотров устанавливается в зависимости от производственных условий, но не реже одного раза в два месяца. При профилактических ремонтах должна производиться разборка електродвигуна, внутренняя і наружная чистка і заливка змазки підшибників. При нормальных условиях роботи підшипники следует смазывать через 4000 ч роботи, но при работе електродвигуна в пыльной і влажной среде смазку следует производить чаще, по мере необходимости.
Перед набивкой свежей змазки підшипники должны быть тщательно промыты бензином. Камеру следует заполнять смазкой на 2/3 її объема.
Рекомендуемые змазки приведены в табл. 5.
При первоначальном пуске верстата необходимо прежде всего внешним осмотром проверить надежность заземления і качество монтажа електроустаткування. После осмотра отключить провода живлення електродвигателей M1 і М2 на клеммных наборах в шкафу керування. При помощи вводного автомата В1 Верстат подключить к цеховой сети. С помощью кнопок і переключателей проверить четкость срабатывания магнитных пускачів.
Напряжение на верстат (рис. 21) подается включением вводного выключателя В1.
Пуск електродвигуна M1 осуществляется кнопками КнЗ (вправо) і Кн2 (влево). С помощью кнопки КнЗ в точках 9—11 включается катушка пускателя РЗ, который, сработав, переходит на самопитание в точках 9—11, а в точках 23—25 подготавливает ланцюг срабатывания пускателя Р5. С помощью кнопки Кн2 в точках 15—19 включается катушка пускателя Р4, который, сработав, переходит на самопитание в точках 15—19, а в точках 23—25 подготавливает ланцюг срабатывания пускателя Р5. Таким образом при включенном вращении електродвигуна M1 в любом направлении і включенном выключателе В2 срабатывает пускатель Р5, переходит на самопитание і включает електродвигатель М2 насоса охлаждения.
При воздействии на кнопку Кн1 її замыкающий контакт в точках 5—7 отключает пускатели РЗ і Р4, а размыкающий контакт кнопки Кн1 в точках 1—29 включает пускатель торможения Р6. Увімкнення післяднего возможно только при отключении пускачів Р3 і Р4, что контролируется размыкающими контактами етих пускачів в точках 29—31—33. Включившийся пускатель Р6 закорачивает одну из обмоток електродвигуна M1, при етом на две другие через выпрямитель Вп подается напряжение 220 в (фаза-нуль). Осуществляется индукционно-динамическое торможение електродвигуна M1 головного руху.
После остановки шпинделя кнопку Кн1 следует отпустить, і електросхема возвращается в исходное состояние.
Захист електродвигателей головного руху і електронаcoca охлаждения от токов короткого замыкания осуществляется автоматическим выключателем.
Захист ланцюгів керування і освещения от коротких замыканий производится предохранителями.
Захист електродвигателей от длительных перегрузок осуществляется тепловым реле.
Значения номинальных токов автоматических выключателей, предохранителей і тепловых реле даны в експликации к принципиальной електросхеме (табл. 6).
При установці верстат должен быть надежно заземлен і подключен к общей системе заземления. Для етой цели в електрошкафу керування і на тумбе верстата установлены болты заземления.
Подшипник 3182111 - ето двухрядный роликовый радиальный подшипник, з короткими цилиндрическими роликами, з безбортовым наружным кольцом (вследствие чего комплект тел качения на сепараторе способен перемещаться і создавать «плавающую» опору), з коническим посадочным отверстием (1:12), канавкой і отверстиями для внесения смазочного материала. Основное место експлуатации таких підшибників — верстати различного применения, вузли где действуют высокие радиальные нагрузки і скорости. Этот типоразмер, как і большинство роликопідшибників етой серии производится в настоящее время только высокоточным.
Подшипник всегда производили на московском заводе ГПЗ-1,но в настоящее время, к сожалению, з производства он снят і купить напрямую его можно только в фирмах, которые занимаются продажей підшибників з хранения, неликвидов, бывших в употреблении, чищенных. Можно найти вироби 2, 4, 5 і 6 классов точності. Обозначение справа от номера чаще всего — Л (латунный сепаратор, старое). Цена підшибників сильно зависит от их класса точності і сохранности, от 300 до 2300 рублей.
Импортные підшипники етого типоразмера имеют обозначение NN3011K (наличие буквы К в номере обязательно, так как она указывает на коническую посадку). В Россию поставляется продукция разной ценовой категории: наиболее дорогие і надежные — FAG, SKF, KOYO, IBC, подешевле — NACHI і NSK. Еще более дешевый варіант — продукция восточно-европейских производителей — ZKL і FLT, которая чаще всего реализуется неликвидного качества, иногда даже уже бывшая в употреблении. Ориентировочная цена наиболее качественных і дорогих підшибників етого типа составляет около 275 евро.

Схема підшипника 3182111 (NN3011K) токарного верстата 16Б05п

Фото підшипника 3182111
Подшипник 46111 - ето шариковый радиально-упорный однорядный подшипник. Тип воспринимаемой нагрузки — комбинированная радиально-осевая. Для жесткой фиксации валов верстатів, от которых требуется высокая точность обробки деталей, устанавливаются попарно. В етом случае і підшипники подбираются высоких степеней точності (Т или 2 і 4). Подшипник неразъемный. Угол контакта составляет 26° (у серии 36000 етот угол составляет 12°.
Производится данный тип на саратовском 3 ГПЗ (ОАО «СПЗ»), входящем в Европейскую Подшипниковую Корпорацию. Осуществляется выпуск следующих модификаций: 6-46111Е5 , 4-46111Е5, 6-46111Л, 4-46111Л, Т-46111Л. Для установки в вузли з меньше ответственностью подойдут підшипники, произведенные на самарском заводе СПЗ-4 по 6-му классу точності (стоят они значительно дешевле саратовских).
Международное обозначение для данного типа — 7011A.

Схема підшипника 46111 (7011A) токарного верстата 16Б05п

Стальной шар, полностью изготовленный на токарному станке 16Б05п
На фотографии показан стальной шар, полностью изготовленный на токарному станке.
Из цельной заготовки з помощью набора инструментов возможно выточить шар в шаре, куб в кубе в кубе і в кубе, куб в додекаедре, который в свою очередь в шаре, кольцо в кольце.
| Наименование параметра | 16Б05П | 16Б04П |
|---|---|---|
| Основні параметри верстата | ||
| Класс точності | П | П |
| Наибольший диаметр заготовки над станиной, мм | 250 | 200 |
| Наибольший диаметр заготовки над суппортом, мм | 145 | 115 |
| Наибольшая длина заготовки в центрах (РМЦ), мм | 500 | 350 |
| Высота центров над плоскими направляющими станины, мм | 135 | 108 |
| Наибольшее расстояние от оси центров до кромки резцедержателя, мм | 135 | 110 |
| Высота резца, установленного в резцедержателе, мм | 16 | 12 |
| Наибольшая высота держателя резца, мм | 20 | 17 |
| Шпиндель | ||
| Диаметр отверстия в шпинделе, мм | 26,5 | 24 |
| Наибольший диаметр прутка, проходящий через отверстие в шпинделе, мм | 25 | 23,5 |
| Наибольший диаметр прутка, проходящий через отверстие в цанге, мм | 16 | |
| Центр шпинделя по ГОСТ 13214-67 | Морзе 4 | Морзе 4 |
| Кінець шпинделя по ГОСТ 12593-72 | 4К | 4К |
| Число ступеней частот прямого обертання шпинделя | б/с регулювання | б/с регулювання |
| Частота прямого обертання шпинделя, об/мин | 35..3500, 30..3000 | 35..3500, 30..3000 |
| Торможение шпинделя | есть | есть |
| Блокировка рукояток | ||
| Суппорт. Подачи | ||
| Наибольшее поперечное перемещение суппорта, мм | 160 | 135 |
| Перемещение суппорта поперечное на одно деление лимба, мм | 0,02 | 0,02 |
| Количество подач суппорта продольных | 28 | 28 |
| Количество подач суппорта поперечных | 28 | 28 |
| Пределы подач суппорта продольных, мм/об | 0,02..0,35 | 0,02..0,35 |
| Межі подач супорту поперечних, мм/про | 0,01..0,175 | 0,01..0,175 |
| Кроки нарізних метричних різьблень, мм | 0,2..28 | 0,2..28 |
| Кроки нарізних модульних різьблень, мод | 0,1..14 | 0,1..14 |
| Кроки нарізних дюймових різьблень, ниток на дюйм | 5..96 | 5..96 |
| Найбільше переміщення верхніх (різцевих) санчат, мм | 110 | 80 |
| Переміщення різцевих санок на один поділ лімба, мм | 0,02 | 0,02 |
| Найбільший кут повороту різцевих санок, град | ±45° | ±45° |
| Задня бабка | ||
| Конус Морзе задньої бабки | Морзе 3 | Морзе 3 |
| Найбільше переміщення пінолі, мм | 85 | 70 |
| Переміщення пінолі на один поділ лімба, мм | 0,02 | 0,02 |
| Електроустаткування | ||
| Електродвигун головного приводу, кВт | 1,5 | 1,1 |
| Електродвигун насоса охолоджувальної рідини, кВт | 0,12 | 0,12 |
| Габарити та маса верстата | ||
| Габарити верстата (довжина ширина висота), мм | 1510 х 725 х 1360 | 1310 х 690 х 1360 |
| Маса верстата, кг | 705 | 660 |