Виробником токарно-гвинторізного верстата 16М05А був Одеський верстатобудівний завод .
Токарно-гвинторізний верстат особливо високої точності моделі 16М05А з найбільшим діаметром обробки над станиною 250 мм, призначений для виконання різних токарних робіт високої точності, що виконуються в центрах, цангу, патроні та планшайбі, а також для нарізування метричних, дюймових та модульних різьблень.
Верстат токарний моделі 16М05А забезпечує якість оброблюваної поверхні та точності роботи (точність розмірів та геометричних форм) високого класу.
Застосовується на підприємствах приладобудівної, радіотехнічної, інструментальної промисловості та точного машинобудування.
Токарно-гвинторізний верстат особливо високої точності 16М05А виготовлений на базі токарно-гвинторізного верстата підвищеної точності 16Б04П.
Основні конструктивні особливості. Установка варіатора на спеціальній плиті, що не має контакту з тумбою, а також незалежна підвіска фартуха верстата забезпечують зниження рівня вібрації при обробці та підвищують якість поверхні, що обробляється.
Коробка подач забезпечує можливість нарізання великої кількості метричних, модульних різьблень та отримання широкого діапазону поздовжніх та поперечних подач без зміни шестерень гітари. Шпиндель встановлений в оригінальних радіальних та завзятих гідростатичних підшипниках, що у поєднанні з жорсткою конструкцією верстата дозволяє робити унікальну за точністю токарну обробку.
Верстат призначений для використання в кліматичних умовах УХЛ4.1 згідно з ГОСТ 15150-69.
В автоматичну лінію не вбудовується.
Клас точності верстата - А за ГОСТ 8-82Е (особливо високої точності).
Розробник - Одеське СКБ спеціальних верстатів.
Виробник – Одеський верстатобудівний завод.
Читайте також: Електроустаткування верстата 16М05А
Читайте також: Гідроустаткування верстата 16М05А
1 - токарний верстат (номер групи за класифікацією ЕНІМС)
6 – номер підгрупи (1, 2, 3, 4, 5, 6, 7, 8, 9) за класифікацією ЕНІМС (6 – токарно-гвинторізний)
М - покоління верстата (А, Б, В, Д, К, Л, М, Р) або позначення заводу - виробника
05 – висота центрів над станиною
Літери наприкінці позначення моделі:
Г – виконання верстата з виїмкою у станині
К – виконання верстата з гідрокопіювальним пристроєм
М – виконання верстата для серійного виробництва з гідрокопіювальним пристроєм
П – виконання верстата з підвищеною точністю за ГОСТ 8-82
В - виконання верстата з високою точністю за ГОСТ 8-82
Ф1 – виконання верстата із пристроєм цифрової індикації УЦІ
Ф3 – виконання верстата із системою ЧПУ

Габаритні розміри робочого простору токарного верстата 16м05а

Посадочні та приєднувальні бази токарного верстата 16м05а

Фото токарно-гвинторізного верстата 16м05а

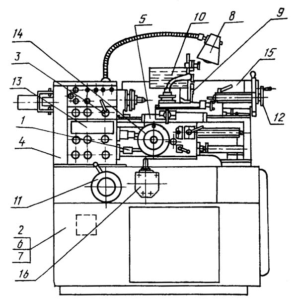
Розташування складових частинин токарно-гвинторізного верстата 16м05а

Розташування органів керування токарно-гвинторізним верстатом 16м05а

Кінематична схема токарно-гвинторізного верстата 16м05а
Схема кінематична токарно-гвинторізного верстата 16М05А. Дивитись у збільшеному масштабі
Кінематична схема верстата позволяет осуществлять наступні операции:
Електродвигун 1 при помощи муфты 2 вращает вал 1 з ведущим шкивом варіатора 3. Вращение от ведущего шкива ведомому 4 передаётся широким клиновым ремнем. Изменение частоти обертання ведомого вала II обеспечивается изменением рабочих диаметров шкивов варіатора при перемещении управляемой частини ведомого шкива і соответствующего переміщення подпружиненной частини ведущего шкива.
Вращение валу III, шкиву 9 передається при помощи зубчатого блока 5, 7 і зубчатых колёс 6, 8. Шкив 9 соединён со шкивом 17 клиновыми ремнями. Вращение от втулки V передаётся шпинделю VII либо непосредственно при включении муфты 22, либо через перебор, состоящий из зубчатого колеса 18, соединенного со втулкой V зубчатых колёс 19, 20, установленных на валу VI, зубчатого колеса 21, установленного на шпинделе.
При нарезании різьб вращение от шпинделя VII передаётся на вал VIII при помощи зубчатых колёс 23, 24 либо, при включённом переборе (зубчасті колёса 18, 19, 20, 21), при помощи зубчатых колёс 18,24.
Вал IX получает вращение в прямом направлении при помощи зубчатых колёс 25, 27, в обратном направлении при помощи зубчатых колёс 25, 26, 27. Сменные шестерни гітари а, б, в, г передают вращение валу XI коробки подач. Коробка подач содержит наступні механізмы:
После указанных механізмов, вращение передаётся либо ходовому винту 81 для нарізання різьб при отключении кулачковой муфты на зубчатом колесе 47 і на валу ХVI, либо ходовому валику XIX при помощи зубчатых колёс 47, 48, 49, 51.
От ходового валика вращение при помощи муфты 54 передається червяку 55 фартука верстата. Далее вращение при помощи червячного колеса 56, планетарного редуктора, состоящего из зубчатых колёс 57, 58, 59, 60 і зубчатых колёс 61, 62 передаётся валу XXI. От вала XXI вращение передаётся либо реечной шестерне 65 при помощи зубчатых колёс 63,64 (продольное перемещение резца), либо винту 83 при помощи зубчатых колёс 62, 70 (поперечное перемещение резца)
Вращение механізма коробки подач передаётся от вала III варіатора при помощи зубчатых колёс 10, 11, клиноременной передачи, шкивы 12, 28, на вал ХХV коробки подач і далее зубчатое колесо 28 передает вращение зубчатому колесу 33 механізма изменения шага коробки подач.
Изменение направления поздовжньої или поперечної подачі обеспечивается передачей обертання ходовому валу XIX от вала ХV коробки подач через трензель, состоящий из зубчатых колёс 49, 50, 51 при переключении зубчатого колеса 49.
Зубчасті колеса 13, 14, 15, 16 образуют планетарный механізм, обеспечивающий при переналаштуванні частоти обертання варіатора поворот шкалы отсчёта частот обертання шпинделя.
Читайте также: Електроустаткування верстата 16М05А
Читайте также: Гідрообладнання верстата 16М05А

Настановне креслення токарно-гвинторізного верстата 16м05а

Возможности токарно-гвинторізного верстата 16м05а
На фотографии показан стальной шар, полностью изготовленный на токарному станке.
Из цельной заготовки з помощью набора инструментов возможно выточить шар в шаре, куб в кубе в кубе і в кубе, куб в додекаедре, который в свою очередь в шаре, кольцо в кольце.
| Наименование параметра | 16М05А | 16Б05А |
|---|---|---|
| Основні параметри верстата | ||
| Класс точності | А | А |
| Наибольший диаметр заготовки обрабатываемой над станиной, мм | 250 | 250 |
| Наибольший диаметр заготовки устанавливаемой над станиной, мм | 270 | |
| Наибольший диаметр заготовки устанавливаемой над суппортом, мм | 139 | 145 |
| Наибольшая длина заготовки в центрах (РМЦ), мм | 500 | 500 |
| Высота центров над плоскими направляющими станины, мм | 135 | 135 |
| Наибольшее расстояние от оси центров до кромки резцедержателя, мм | 135 | 135 |
| Диаметр заготовки, устанавливаемой в патроне, мм | 5..160 | |
| Диаметр заготовки, устанавливаемой в цанге, мм | 4..28 | |
| Диаметр заготовки, устанавливаемой в люнете, мм | 5..50 | |
| Показатели точності обробки образцов: круглость, мкм | 1,2 | |
| Показатели шероховатости обробки образцов цветных металлов, мкм | 0,04 | |
| Показатели шероховатости обробки образцов стали, мкм | 0,63 | |
| Коеффициент повышения производительности по сравнению со верстатом моделі 16Б05А | 1,2 | |
| Шпиндель | ||
| Диаметр отверстия в шпинделе, мм | 32 | 26,5 |
| Наибольший диаметр прутка, проходящий через отверстие в шпинделе, мм | 26 | |
| Центр шпинделя по ГОСТ 13214-67 | Морзе 5 | Морзе 4 |
| Кінець шпинделя по ГОСТ 12593-72 | 4К | 4К |
| Число ступеней частот прямого обертання шпинделя | б/с регулювання | б/с регулювання |
| Частота прямого обертання шпинделя, об/мин | 25..2500 | 25..2500 |
| Торможение шпинделя | есть | есть |
| Блокировка рукояток | ||
| Суппорт. Подачи | ||
| Наибольшее продольное перемещение суппорта, мм | 520 | 520 |
| Наибольшее поперечное перемещение суппорта, мм | 160 | 160 |
| Перемещение суппорта поперечное на одно деление лимба, мм | 0,02 | 0,02 |
| Количество подач суппорта продольных | 28 | 28 |
| Количество подач суппорта поперечных | 28 | 28 |
| Пределы подач суппорта продольных (в скобках - при использовании звена увеличения шага), мм/об | 0,01..0,35 (0,01..2,8) | 0,01..0,35 (0,01..2,8) |
| Пределы подач суппорта поперечных (в скобках - при использовании звена увеличения шага), мм/об | 0,005..0,175 (0,005..1,4) | 0,005..0,175 (0,005..1,4) |
| Шаги нарезаемых метрических резьб, мм | 0,2..28 | 0,2..28 |
| Шаги нарезаемых модульных резьб, мод | 0,1..14 | 0,1..14 |
| Шаги нарезаемых дюймовых резьб, ниток на дюйм | 5..96 | 5..96 |
| Скорость быстрых перемещений, мм/мин | нет | нет |
| Резцовые салазки | ||
| Наибольшая длина переміщення резцовых салазок, мм | 150 | 150 |
| Перемещение резцовых салазок на одно деление лимба, мм | 0,02 | 0,02 |
| Наибольший угол поворота резцовых салазок, град | ±45° | ±45° |
| Цена деления шкалы поворота резцовых салазок, град | 1° | 1° |
| Наибольшее сечение державки резца, мм | 16 х 16 | 16 х 16 |
| Высота от опорной поверхности резца до оси центров (высота резца), мм | 16 | 16 |
| Число резцов в резцовой головке | 4 | 4 |
| Задня бабка | ||
| Диаметр пиноли, мм | ||
| Конус отверстия пиноли задньої бабки по ГОСТ 2847-67 | Морзе 3 | Морзе 3 |
| Наибольшее перемещение пиноли, мм | 85 | 85 |
| Перемещение пиноли на одно деление лимба, мм | 0,02 | 0,02 |
| Перемещение пиноли на одно линейки, мм | 1 | 1 |
| Величина поперечного смещения корпуса бабки, мм | ±10 | ±10 |
| Електроустаткування | ||
| Количество електродвигателей, установленных на станке | 3 | 3 |
| Електродвигун головного привода, кВт | 1,5 | 1,5 |
| Електродвигун насоса гідростанції, кВт | 2,2 | 0,75 |
| Електродвигун насоса охлаждающей жидкости, кВт | 0,12 | 0,12 |
| Суммарная мощность електродвигателей, установленных на станке, кВт | 3,82 | 2,37 |
| Габарити і масса верстата | ||
| Габарити верстата (длина ширина высота), мм | 1550 х 1350 х 1400 | 1530 х 910 х 1385 |
| Масса верстата, кг | 1400 | 1365 |