metalinstryment.com
Довідник по металорізальних верстатів та пресовому обладнанні

8Г663 Верстат автомат отрезной круглопильный - Пила Геллера
опис, характеристики, схеми

Фото отрезного верстата 8Г663







Відомості про виробника отрезного круглопильного верстата 8Г663

Разработчиком і изготовителем отрезного круглопильного верстата 8Г663 является Станкостроительный завод имени С.М.Кирова, основанный в 1881 году.





Верстати, выпускаемые Минским станкостроительным заводом имени С.М.Кирова


8Г663 Верстат отрезной круглопильный автомат - пила Геллера. Назначение і область применения

Отрезной круглопильный верстат автомат 8Г663 (Пила Геллера) предназначен для разрезки дисковыми пилами черных металлов з временным сопротивлением до 1200 Н/мм², а также некоторых металлов, резание которых обеспечивается технической характеристикой автомата.

Разрезка производится под углом 90° к оси разрезаемой заготовки, наибольший диаметр разрезаемой заготовки – 80..285 мм, длина отрезаемых заготовок 20..1500 мм.

Верстат 8Г663 може експлуатироваться в заготовительных цехах машиностроительных і ремонтных предприятий.

Принцип роботи і особливості конструкції верстата

Верстат - Автомат 8Г663 оснащен механизированным пристрійм для складирования і поштучной выдачи круглых заготовок і труб, а также автоматическим столом выгрузки.

В качестве режущего инструмента на отрезном круглопильном станке по металлу етой моделі используется круглая цельная пила диаметром 800 мм.

Отрезной верстат 8Г663 имеет компоновку, при которой бабка пильного диска перемещается по горизонтальным направляющим станины от гідравлічного цилиндра.

Привід пильного диска осуществляется от индивидуального асинхронного двигуна через многоступенчатую коробку швидкостей з таким направлением обертання, при котором сила різання направлена знизу в вверх.

Зажим і разжим разрезаемого материала, а также его перерух на мерную длину на отрезном станке 8Г663 осуществляются з помощью гідравлических устройств. Для поддержания кінця длинных заготовок верстат снабжен подвижной тележкой.

Удаление отрезанных заготовок из зоны різання проводится столом выгрузки і специальным сбрасывающим пристрійм.

Механизированное пристрій позволяет одновременно укладывать на него от 5 до 18 заготовок в зависимости от их диаметра в диапазоне технической характеристики. Наибольшая длина укладываемого материала 6 м., наименьшая — 2,5 м. Применение механизированного пристроя (стеллажа-накопителя) і автоматичного стола для выгрузки заготовок длиной до 1500 мм, позволяет полностью автоматизировать цикл разрезки заготовок, повышает производительность автомата за счет сокращения вспомогательного часу на обслуговування верстата.

В автомате применена новая более надежная конструкция механізмов зажиму і подачі материала.

Широкий диапазон швидкостей шпинделя і бесступенчатое регулювання рабочей подачі пильного диска позволяет подбирать оптимальные режими різання.

Адаптивный гідравлический привод рабочей подачі способствует получению наибольшей производительности разрізання материала і економии режущего инструмента.

В гідроприводе автомата 8Г663 применена притычная і модульна аппаратура з международными присоединительными размерами, размещенная как і електрична аппаратура в окремих шкафах, что облегчает її обслуговування і увеличивает срок службы.

Автомат 8Г663 оснащен шнековым транспортером для удаления стружки, счетчиком числа резов.

Блокировка і защитные пристроя обеспечивают безопасность роботи.

Автомат 8Г663 поставляется налаженным на разрезку круглого материала. Резка производится под углом 90° к оси разрезаемой заготовки.

Автомат 8Г663 должен експлуатироваться в производственных помещениях з исскуственным климатом, что соответствует категории розміщення по ГОСТ 15150-69 (СТ СЭВ 458-77; СТ СЭВ 460-77).

Для разрезки профильных материалов (квадрат, швеллер, двутавр, уголок), а также для патентной разрезки прутков малого диаметра (от 20 мм) необходимо производить переналадку. Комплекты переналаживаемых сборочных единиц поставляются по требованию заказчика за отдельную плату.

Класс точності автомата Н по ГОСТ—82Е.

Разработчик — Минское специальное конструкторское бюро протяжных верстатів.

Год принятия к серийному производству - 1985.


Автомат 8Г663 выпускается в следующих модификациях:

  1. 8Г663 — з механизированным пристрійм для складирования і поштучной выдачи заготовок в верстат і з автоматическим столом выгрузки
  2. 8Г663-100 - з автоматическим столом выгрузки (без механизированного пристроя) для отрезки круглых і профильных материалов длиной 20 ... 1500 мм
  3. 8Г663-200 - автомат предназначен для разрезки сегментным пильным диском круглых заготовок из легких цветных металлов і сплавов (алюминий, латунь і др.).
  4. 8Г663-400 - верстат напівавтомат, который може еффективно использоваться в индивидуальном і мелкосерийном производстве;
  5. 8Г663-700 - автомат з автоматическим столом выгрузки (без стеллажа-накопителя);




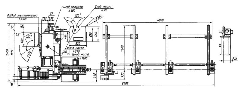
8Г663 Габарит робочого простору отрезного верстата

Габарит робочого простору отрезного верстата 8Г663

Габаритные розміри робочого простору верстата 8г663


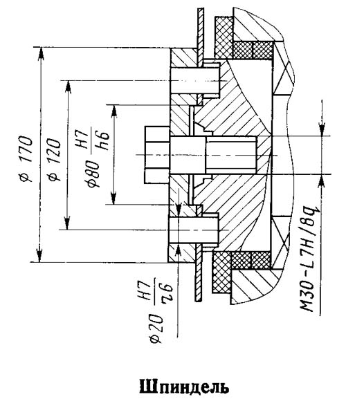
8Г663 Посадочные і присоединительные базы отрезного верстата. Шпиндель пилы

Посадочные і присоединительные базы отрезного верстата 8Г663

Посадочные і присоединительные базы верстата 8г663


8Г663 Загальний вигляд отрезного верстата

Загальний вигляд  і органы керування отрезного верстата 8Г663

Фото отрезного верстата 8г663


Загальний вигляд  і органы керування отрезного верстата 8Г663

Фото отрезного верстата 8г663


8Г663 основні вузли отрезного верстата





8Г663 Настановне креслення отрезного верстата

8Г663 Настановне креслення отрезного верстата

Настановне креслення отрезного верстата 8г663


8Г663 Технічні характеристики отрезного верстата

Наименование параметра 8Г663 8Г662
Основні параметри верстата
Класс точності верстата Н Н
Диаметр пилы, устанавливаемой на станке по ГОСТ 4047-82, мм 800 710, 800
Диаметр устанавливаемой заготовки, мм 80..285 80..240, 80..280
Наибольший размер поперечного сечения квадрата по ГОСТ 2591-71, мм 250 200, 250
Наибольший размер поперечного сечения швеллера №33 по ГОСТ 8240-72, мм 33 30, 33
Наибольший размер поперечного сечения двутавра №33 по ГОСТ 8239-72, мм 33 30, 33
Наибольший размер поперечного сечения уголка по ГОСТ 8509-72, мм №16 №16
Длина отрезаемой заготовки при Ø80..200, мм 20..1500 20..1500
Длина отрезаемой заготовки при Ø200..280, мм 20..500
Наибольшая длина заготовки, мм 6000
Угол отрезки, град 90 90
Диаметр шпинделя под круглую пилу, мм 80h6
Диаметр отверстий под поводковые пальцы, мм 20H7 20,5
Смещение осей отверстий под поводковые пальцы от номинального розположення, мм, не более 0,35
Расстояние от основания верстата до опорной поверхности заготовки, мм 800 800
Наибольшее перемещение бабки пильного диска, мм 320 360
Регулювання подачі бабки пильного диска бесступ бесступ
Наибольшая скорость подачі бабки пильного диска, м/мин 0,8..650 0,8..650
Наибольшая скорость відведення бабки пильного диска, м/мин 3,5 2,5
Частота обертання шпинделя (50 Гц), об/мин 2,99..16,85 2,99..16,85
Количество швидкостей шпинделя 6 6
Скорость подачі заготовки, м/мин 5 5
Наибольший крутящий момент, Н/м 7000
Електроустаткування. Привод
Количество електродвигателей на станке автомате 5 5
Електродвигун приводу головного руху, кВт 7,5 7,5
Електродвигун приводу гідронасоса гідростанції, кВт 3,0 2,2
Електродвигун приводу механізма стружкоудаления, кВт 0,37 0,37
Електродвигун насоса охлаждения, кВт 0,12 0,12
Електродвигун приводу вентилятора охлаждения гідростанції, кВт 0,12 0,12
Суммарная мощность електродвигателей установленных на станке, кВт 11,11
Габарити і масса верстата
Габарити верстата (длина ширина высота), мм 2640 х 2400 1585
Масса верстата, кг 3760

    Список литературы:

  1. Веселовский С.И. Разрезка материалов, 1973
  2. Дроздов Ф., Лебедевич В., Рубежин В. Справочное пособие по отрезным верстатам, 1967