metalinstryment.com
Довідник по металорізальних верстатів та пресовому обладнанні

8В66 Верстат отрезной круглопильный - Пила Геллера
опис, характеристики, схеми

Фото отрезного верстата 8В66







Відомості про виробника отрезного круглопильного верстата 8В66

Разработчиком і изготовителем отрезного круглопильного верстата 8В66 является Станкостроительный завод имени С.М.Кирова, основанный в 1881 году.





Верстати, выпускаемые Минским станкостроительным заводом имени С.М.Кирова


8В66 Верстат отрезной круглопильный автомат - пила Геллера. Назначение і область применения

Верстат отрезной 8В66 запущен в серийное производство в 1966 году і заменил устаревшую модель 8Б66, выпускавшуюся з 1955 года. В 1974 году верстат 8В66 был модернизирован і получил индекс 8В66а. В 1974 году верстат 8В66А был заменен на более совершенную модель 8Г662.

Отрезной круглопильный верстат 8В66 (фрезерно-отрезной верстат - Пила Геллера) предназначен для разрізання на мерные длины проката черных металлов различного профиля (круглого, прямоугольного, двутавра, швеллера і др.) з временным сопротивлением разрыву до 1200 Н/мм², а также некоторых металлов, резание которых обеспечивается технической характеристикой верстата. Режущим инструментом є пильные диски, оснащенные сегментами из быстрорежущей стали.

Разрезка производится под углом 90° к оси разрезаемой заготовки, наибольший диаметр разрезаемой заготовки – Ø 80..240 мм, длина отрезаемых заготовок по упору 480 мм. Разрезка небольших сечений проката различного профиля може производиться пакетами.

Отрезной верстат 8В66 може експлуатироваться в заготовительных цехах машиностроительных і ремонтных предприятий.

Основні вузли верстата і их назначение. Принцип роботи верстата 8В66

Верстат состоит из следующих вузлів:

Последовательность операции, производимых рабочим, і робота механізмов верстата 8В66 осуществляется в следующем порядке:

В исходном положении верстата 8В66 бабка пильного диска находится в отведенном положении, механізм зажиму разжат, разрезаемый материал приподнят роликом механізма подъема над призмой.

Подача режущего инструмента — гідравлическая, бесступенчатая, зажим і разжим разрезаемого материала — гідравлический.

Бабка пильного диска обеспечивает резание на шести скоростях. Привід бабки пильного диска осуществляется от индивидуального електродвигуна.

  1. Поворотом маховичка механізма проруху заготовки производится подача материала до упора;
  2. Отводится вручную упор материала;
  3. Нажатием кнопки «Пуск» производится зажим заготовки і увімкнення бабки пильного диска.
  4. По окончании разрезки заготовки бабка пильного диска автоматически отводится в исходное положение, і заготовка разжимается, подъемный ролик поднимает разрезаемый материал над призмой.
  5. После удаления отрезанной заготовки з вспомогательной призмы подводится упор материала, і далее операции повторяются.

В конструкції бабки пильного диска предусмотрено предохранительное звено.

Автомат 8В66 должен експлуатироваться в производственных помещениях з исскуственным климатом, что соответствует категории розміщення по ГОСТ 15150-69 (СТ СЭВ 458-77; СТ СЭВ 460-77).

Для разрезки профильных материалов (квадрат, швеллер, двутавр, уголок), а также для патентной разрезки прутков малого диаметра (от 20 мм) необходимо производить переналадку. Комплекты переналаживаемых сборочных единиц поставляются по требованию заказчика за отдельную плату.

Класс точності автомата Н по ГОСТ—82Е.

Разработчик — Минское специальное конструкторское бюро протяжных верстатів.





8В66 Габарит робочого простору отрезного верстата

Габарит робочого простору отрезного верстата 8В66

Габаритные розміри робочого простору верстата 8в66

Габарит робочого простору отрезного верстата 8В66. Дивитись у збільшеному масштабі



8В66 Фото отрезного верстата

Фото отрезного верстата 8В66

Фото отрезного верстата 8В66


8В66 Розташування органів керування отрезным верстатом

Розташування органів керування отрезным верстатом 8В66

Розташування органів керування отрезным верстатом 8в66

Розташування органів керування отрезным верстатом 8В66. Дивитись у збільшеному масштабі



Пульт керування керування отрезным верстатом 8В66

Пульт керування керування отрезным верстатом 8в66


Керування верстатом, его наладка і регулировка

Керування верстатом производится при помощи пульта керування і рукояток (рис. 5). Все основні органы керування расположены со стороны робочого места.

Перед началом роботи верстата следует все механізмы і рукоятки керування установить в исходное положение. Пильная бабка должна быть отведена, механізм зажиму разжат.

Наладку верстата рекомендуется начинать після укладки разрезаемого материала на верстат і на тележку. При етом опорную скобу тележки при помощи маховика установить так, чтобы разрезаемый материал лежал в горизонтальном положении. Наладка проводится в такой післядовательности:

  1. Установить подающий ролик при помощи маховика 3 по высоте так, чтобы он приподнимал заготовку над опорной призмой на 2—3 мм.
  2. Установить губу вертикального зажиму поворотом маховика 5 так, чтобы между губой і заготовкой (післядняя лежит на призме) был зазор 5—8 мм.
  3. Установить упор на нужную длину. Упор закрепить.
  4. При помощи рукояток 7, расположенных на передньої стенке пильной бабки, установить необходимую скорость різання.
  5. Установить рабочую подачу пильной бабки. Установка производится поворотом ручки дросселя 1 на гідропанелі до совмещения указательной стрелки з делением, соответствующим выбранной подаче.
  6. Установить длину робочого ходу пильной бабки. Для етого линейку 9, установленную на нижней планке корпуса бабки, переместить до совмещения деления, соответствующего размеру разрезаемого материала, з указателем, укрепленным на корпусе бабки. Линейку закрепить.

Затем по линейке переместить кулачок 10 до совмещения риски кулачка з делением в нижней частини линейки, соответствующим размеру разрезаемого материала, і закрепить его.

Правильность налагодження і давление в гідросистеме проверяют при первоначальном пуске верстата.

Режими різання (скорость різання, рабочая подача) выбираются согласно примерным режимам різання черных металлов на отрезных верстатах, приведенным в разделе «Режими різання».

Две післядние скорости рекомендуется применять при наличии сегментных пил, рассчитанных для разрізання на высоких скоростях.

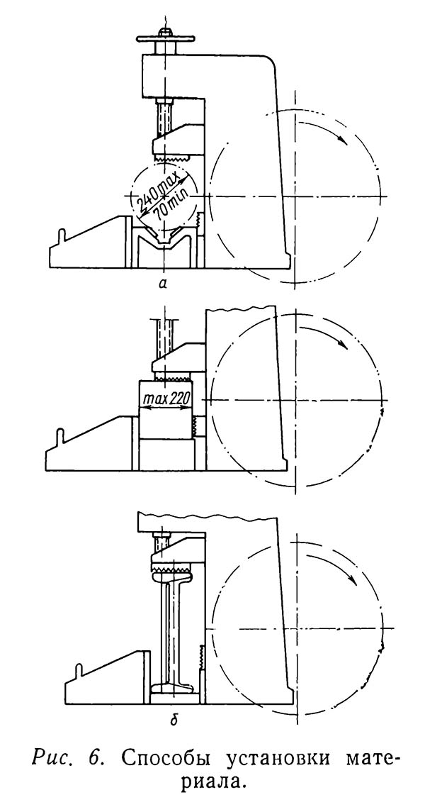
Круглые материалы при разрезании укладываются на призму (рис. 6,а). При разрезании квадратного или другого профиля материала призма снимается і материал укладывается на прокладки, как показано на рис. 6,б. Толщину прокладок рекомендуется выбирать такой, чтобы ось материала совпадала з осью сегментной пилы.

Заготовки небольших размеров при разрезании могут быть уложены пакетами, как показано на рис. 7. Величина пакета не должна превышать наибольшего размера заготовки соответствующего профиля.

При длительной експлуатации верстата може возникнуть необходимость в регулировке его вузлів і механізмов.

Верстат поставляется заводом з налаштуванням предохранительного клапана на давление 25 кГ/см2. Если в процессе експлуатации предохранительный клапан разрегулируется, его налаштування осуществляется следующим образом. Переключатель циклов ставится на наладочный цикл, на зажимную призму устанавливается заготовка і зажимается. Вращением регулировочного гвинта предохранительного клапана достигается требуемое давление. Величина давления определяется по манометру, установленному на зажимной колонне.

Напорный золотник 3H1 (см. рис. 3 і 5) настраивается на давление 17 кг/см2, а золотник ЗН2 — на 3..4 кг/см2. Налаштування осуществляется следующим образом. Переключателем циклов устанавливается «Полный цикл», регулировочные винты золотників 3H1 і ЗН2 отпускаются так, чтобы при ускоренном подводе пильной бабки манометр показывал 6—8 кГ/см2. Затем необходимо установить дроссель так, чтобы бабка на рабочем ходу была нерухомою. Регулировочный винт золотника ЗН2 отпускают до тех пор, пока бабка не сдвинется при закрытом дросселе. Регулировочный винт следует медленно вращать в обратную сторону до остановки бабки, повернуть винт еще на один оборот і зафиксировать его в етом положении. После етого вращают регулировочный винт напорного золотника 3H1 до тех пор, пока при ускоренном подводе пильной бабки манометр не будет показывать 17 кг/см2. Регулировочный винт золотника 3H1 зафиксировать.

В случае нарушения налаштування предохранительной муфты в процессе експлуатации регулировка производится следующим образом:

Редукционный клапан Г57-12 предварительно настраивается на давление 8..10 кГ/см2. Затем включается верстат і дается команда на рабочий ход. При срабатывании муфты (пильная бабка вернется в исходное положение) давление повышается до 12 кГ/см2 і повторно дается команда на рабочий ход. Повышение давления производится до тех пор, пока не обеспечится полное разрезание заготовки, після чего регулировочный винт редукционного клапана фиксируется контргайкой. При етом по манометру следят, чтобы не нарушилось настроенное давление. По окончании регулировки манометр снимается, а присоединительное отверстие глушится пробкой.

При необходимости регулировки підшибників качения нужно подтянуть внутренние кольца підшибників регулировочными гайками, а наружные кольца — путем подбора регулировочных прокладок. Регулювання уплотнений в цилиндрах подачі, вертикального і горизонтального зажиму производится при помощи фланцев. Зазор в направляючих между пильной бабкой і станиной регулируется клином.





8В66 Кінематична схема отрезного верстата

Кінематична схема отрезного верстата 8В66

Кінематична схема отрезного верстата 8в66

Кінематична схема отрезного верстата 8В66. Дивитись у збільшеному масштабі



Для осуществления головного і вспомогательных движений во фрезерно-отрезном станке используется следующая кинематика (рис. 2).

Привід сегментной пилы

Шпиндель пильной бабки имеет шесть швидкостей, которые можно получить различными комбинациями положений двух блоков шестерен. Рух от фланцевого електродвигуна мощностью" 7,5 кВт через муфту M1 передається на вал I. От вала I через зубчатую передачу 1 і 2 рух получает вал II, на котором свободно посажен двухступенчатый блок-шестерня 3, 4. В зависимости от положения блока передача обертання на вал III може осуществляться через шестерни 3, 6 или 4, 5. Таким образом, вал III получает две скорости обертання. Вал IV получает вращение от вала III посредством зацепления трехступінчастого блока 7, 8, 9 поочередно з шестернями 10, 15 і 16. Следовательно, вал IV имеет шесть швидкостей обертання. Далее рух передається на вал V через шестерни 12 і 13, з вала V на вал VI, косозубую пару 11, 14 і пару шестерен 17, 18 на шпиндель VII, на кінці которого установлена сегментная пила. Для предохранения от перегрузок на валу IV установлена предохранительная кулачковая муфта М2.

Привід вспомогательных движений

Привід механізма зажима, механізма подъема і проруху материала ocyщecтвляeтcя при помощи гідравлики (см. раздел «Опис гідравлической схеми»).

Рух на винтовой шнек стружковыгрузки передається от електродвигуна мощностью 0,4 кВт через червячную пару 19, 20 і зубчатую пару 21, 22.

Опис конструкції основних вузлів отрезного верстата 8в66

Станина

Станина чугунная коробчатой формы имеет сплошное дно і внутренние перегородки, которые образуют резервуары для масла гідроприводу і охлаждающей жидкости. У основания станины расположены отверстия для спуска масла і охлаждающей жидкости. Для закрепления верстата на фундаменте в станине имеются ниши, в которых размещаются фундаментные болты. В боковых стенках станины предусмотрены литые отверстия, предназначенные для транспортировки верстата. В боковой і торцевой нишах размещаются електрошкаф і пульт керування.




Пильная бабка

Бабка пильного диска отрезного верстата 8В66

Бабка пильного диска отрезного верстата 8в66

Бабка пильного диска отрезного верстата 8В66. Дивитись у збільшеному масштабі



Пильная бабка представляет собой семиваловой зубчатый редуктор. Последний вал редуктора служит шпинделем, несущим на себе сегментную пилу. Все валы монтируются на підшипниках качения.

Шпиндель имеет шесть швидкостей обертання, изменение которых производится з помощью рукояток, расположенных на передньої частини корпуса бабки пильного диска.

Смазка направляючих

Смазка направляючих осуществляется принудительно от смазочной коробки, установленной на задньої стенке корпуса пильной бабки. Смазочная коробка подает масло на направляющие дозами, а количество подаваемого масла зависит от ходу плунжера.

Перемещение плунжера осуществляется от специального кулачка.

Перед началом роботи верстата следует вручную нажать несколько раз на плунжер смазочной коробки, чтобы предварительно смазать направляющие.

Для предохранения пильной бабки от поломки при передаче наибольшего крутящего момента предусмотрена гідравлічна муфта, которая дает команду на отвод пильной бабки при возрастании крутящего момента на 20% против допустимого.

Регулювання підшибників осуществляется гайками і прокладками.

Величина зазору между направляющими пильной бабки і станины регулируется посредством клина.

Для очистки зубьев сегментной пилы от стружки на бабке установлен ролик з пальцами, которые входят во впадины сегментной пилы при его вращении і выталкивают стружку.

Механізм зажиму материала

Механізм зажиму материала состоит из колонны, цилиндра зажима, рычага, гвинта з гайкой, подвижной губы і штурвала. Зажим заготовки осуществляется при помощи гідроцилиндра через рычажную систему. Рычаг одним концом соединен со штоком цилиндра, а вторым — з гайкой, которая в свою очередь через винт связана з подвижной губой. Подвижная губа устанавливается на необходимую высоту при помощи штурвала в зависимости от размера разрезаемого материала.

В цилиндре зажиму предусмотрено блокировочное отверстие, благодаря которому исключается подача пильной бабки при неправильной налаштуванні подвижной губы на размер разрезаемого материала.

Механізм подъема і проруху материала

Механізм подъема і проруху материала смонтирован на боковой стенке станины і служит для подъема материала над опорной призмой і проруху его до упора.

Механізм представляет собой чугунный корпус, на котором смонтирован вращающийся ролик. Корпус имеет вертикальное перемещение по призматическим направляющим і устанавливается по высоте в зависимости от размера і профиля разрезаемого материала при помощи винтовой пары і штурвала. Корпус через винтовую пару соединен з гідроцилиндром, нерухомо установленным на станине. Разрезаемый материал укладывается на рифленый ролик, который, вращаясь при помощи штурвала, подает материал до упора в зону різання.

Гідравлический привід верстата

Гідравлический привід верстата обеспечивает быстрый подвод, рабочий і обратный ход бабки пильного диска, зажим і разжим материала, а также подъем материала над опорной призмой.

При полном цикле все руху верстата совершаются післядовательно автоматически вплоть до разжима заготовки після відведення диска.

Гідравлический привід верстата состоит из лопастного насоса типа Г12-22 производительностью 18 л/мин, реверсивного золотника БГ73-44, трех напорных золотників ПГ54-12, четырехходового золотника БГ73-51, дросселя Г77-11, редукционного клапана з регулятором Г57-12, пластинчатого фильтра Г41-42, манометра, цилиндра подачі пильного диска (диаметром 125 мм, диаметр штока 105 мм), цилиндров горизонтального і вертикального зажимов (диаметром 90 мм, диаметр штока 45 мм), цилиндра подъема материала і системы маслопроводов.

Упор материала

Упор материала служит для установки определенной длины отрезаемой заготовки. Упор состоит из фланца, оси, откидного кронштейна і штанги, на которой имеется миллиметровая шкала. На кінці штанги установлен закаленный упор, в который упирается разрезаемый материал. Штанга расположена относительно опорной призмы таким образом, что не требуется переналагодження упора при разрезании различных профилей.

Максимальная длина мерной заготовки, которую можно отрезать по упору, равна 480 мм. При необходимости отрезать заготовку большей длины пользуются мерительной линейкой.

Охлаждение

Подача охлаждающей жидкости на пильный диск при резании осуществляется лопастным насосом ПА-22 через нагнетательный трубопровод, резиновый шланг і перепускной кран к распределителю. Распределитель з двумя трубками закреплен на кожухе сегментной пилы і може устанавливаться в необходимое положение для лучшего попадания жидкости на зубья пилы. Подача жидкости регулируется краном.

Тележка

При разрезании материала большой длины для поддержания свободного кінця его применяется тележка.

Материал укладывается на скобу, которая при помощи маховика може устанавливаться на любую высоту в зависимости от размера материала. Тележка легко перемещается на колесах по рельсам, которые укладываются після установки верстата на фундамент.





8В66 Гідравлічна схема отрезного верстата

Гідравлічна схема отрезного верстата 8В66

Гідравлічна схема отрезного верстата 8в66

Гідравлічна схема отрезного верстата 8В66. Дивитись у збільшеному масштабі



Опис гідравлической схеми

Верстат имеет два цикла роботи: полный і наладочный.

Полный цикл. Последовательность і связь руху рабочих органів при полном цикле следующая:

  1. Пуск верстата
  2. Разжим-стоп
  3. Пуск цикла
  4. Зажим заготовки
  5. Ускоренный подвод диска к заготовке
  6. Рабочий ход - отпиливание заготовки
  7. Отвод диска (обратный ход)
  8. Разжим заготовки - стоп.

Ниже приводится опис роботи гідравлической схеми (рис.3).

При пуске верстата одновременно включаются електродвигатели гідронасоса і пильной бабки, а также електромагнит 2Э. Включенный електромагнит 2Э сжимает пружину і опускает вниз золотник З2, соединяются трубопроводы 5 з 8 і 6 з 14. При етом поток масла от лопастного насоса НЛ распределяется следующим образом:

Из нижней полости ЦВ3 масло сливается в бак по трубопроводу 7, дросселю Д2, трубопроводам 6 і 14, из левой полости ЦГ3 — по трубопроводам 9, 6 і 14, из верхней полости ЦПМ — по трубопроводам 12 і 13.

Дроссель Д2, включенный в линию 7 — Д2 — 6, не позволяет двигаться поршню ЦВ3 так же быстро, как поршню ЦГ3. Поетому вертикальний разжим і зажим происходят несколько медленнее горизонтального.

После того как поршни ЦВЗ, ЦГЗ і ЦПМ дошли до упора, давление в системе возрастает до величины налаштування напорного золотника ПК, который открывается, і весь объем масла по трубопроводам 4 і 15 идет на слив.

При подаче команды на виконання цикла нажимают кнопку «Пуск цикла» (отключается електромагнит 2Э і включается електромагнит 1Э).

Поток масла от насоса распределяется следующим образом. Поскольку електромагнит 2Э отключен, золотник З2 поднимается вверх і разъединяет трубопроводы 5 з 8 і 6 з 14, а трубопроводы 5 з 6 і 8 з 14 соединяет. Масло по трубопроводам 1, 2, 5 через золотник З2 і по трубопроводам 6 і 9 поступает в левую полость ЦГЗ. Поршень идет вправо, происходит зажим. Из правой полости ЦГЗ масло по трубопроводам 10, 8, 14 сливается в бак. Далее масло по трубопроводам 1, 2, 5, 6 через дроссель Д2, трубопровод 7 поступает в нижнюю полость ЦВЗ. Поршень идет вверх, происходит зажим. Из верхней полости ЦВЗ масло по трубопроводам 8, 14 сливается в бак. Поскольку нижняя полость ЦПМ через трубопроводы 11, 8 і 14 соединена со сливом, то поршень вместе з корпусом под действием собственного веса і веса лежащего на ролике разрезаемого материала опускается вниз.

После доведения поршней ЦВЗ і ЦГЗ до упора давление в гідросхеме достигает величины налаштування напорного золотника 3H1 і масло, поступая по трубопроводу 16 в нижнюю полость золотника, перемещает его вверх. При етом трубопроводы 2 і 3 сообщаются между собой.

Если под зажимной губой разрезаемый материал отсутствует или губа установлена слишком высоко от материала, поршень ЦВЗ идет вверх і открывает сливной трубопровод 13. Весь объем подаваемого насосом НЛ масла поступает на слив. При етом в гідросистеме недостаточно давления для переміщення золотника 3H1 вверх, следовательно, трубопровод 3 остается перекрытым.

Сливной трубопровод 13 является блокировочным і исключает подачу пильной бабки при ненадежно зажатом разрезаемом материале. При открытом золотнике 3H1 масло одновременно поступает по трубопроводам 1, 2, 3 в штоковую полость цилиндра подачі диска ЦПД і по трубопроводам 17 і 18 под торец напорного золотника ЗН2, который соединяет трубопроводы 3 і 19.

Как указано выше, при подаче команды на виконання цикла включается електромагнит 1Э. Он, преодолевая усилие пружины, сдвигает влево управляющий золотник, соединяя каналы 21 з 22 і 23 з 24.

Масло по трубопроводам 19 і 20 через каналы 21 і 22 поступает под правый торец золотника 31 і сдвигает его влево. Из-под левого торца масло по каналам 23, 24 і трубопроводам 27, 25 сливается в бак. Когда золотник 31 приходит в крайнее левое положение, соединяются трубопроводы 20 і 26. Масло по трубопроводам 1, 2, 5, 19, 20 через реверсивный золотник 31 і трубопровод 26 поступает в бесштоковую і одновременно в штоковую полости цилиндра подачі диска. Следовательно, имеет место диференціальная схема подключения цилиндра подачі диска.

Ввиду разности площадей штоковой і бесштоковой полостей усилие, действующее на поршень ЦПД справа, больше. Оно перемещает поршень і связанную з ним пильную бабку по направлению к разрезаемому материалу. Таким образом, происходит ускоренный подвод пильной бабки.

Расходом масла, поступающего в бесштоковую полость через дроссель Д1, можно пренебречь ввиду его незначительного объема. Когда установленная на движущейся бабке линейка своим скосом нажмет на шток путевого пилота П і опустит его вниз, трубопроводы 17 і 18 разъединятся. При етом подача масла в нижнюю полость напорного золотника ЗН2 прекращается і он под действием пружины опускается вниз. Трубопроводы 3 і 19 разъединяются. Из нижней полости ЗН2 масло по трубопроводу 18 через путевой пилот і по трубопроводу 28 сливается в бак.

В бесштоковую полость ЦПД масло теперь поступает только по трубопроводам 7, 2, 5, дроссель Д1 трубопроводам 20, 26.

Поскольку гідравлическое сопротивление дросселя Д1 велико, расход масла, поступающего в бесштоковую полость ЦПД, резко уменьшается. Происходит рабочая подача пилы, величину которой регулируют изменением величины щели дросселя. Дроссель обеспечивает автоматическое изменение подачі в зависимости от сечения разрезаемого материала. Избыточный объем масла сливается через напорный золотник ПК.

По окончании робочого ходу кулачок, установленный на бабке пильного диска, нажмет на рычаг путевого выключателя 2ПВ, который размыкает ланцюг електромагнита 1Э і отключает его.

Под действием пружины управляющий золотник перемещается вправо, соединяя каналы 21 з 23 і 22 з 24. Масло из трубопровода 20 через золотник 31 по каналам 21 і 23 поступает под левый торец золотника З1 а из-под правого торца сливается через каналы 22, 24 і трубопровод 25. Золотник 31 сдвигается вправо, соединяя трубопроводы 25 і 26. Трубопровод 20 запирается. Масло из бесштоковой полости цилиндра подачі диска по трубопроводам 25 і 26 начинает сливаться в бак, а по трубопроводам 1, 2, 3 продолжает поступать в штоковую полость ЦПД.

Под давлением масла, поступающего в штоковую полость, поршень ЦПД і связанная з ним пильная бабка получают обратный ход.

Когда пильная бабка подходит к крайнему заднему положению, кулачок, установленный на ней, нажимает на рычаг путевого выключателя ЗПВ. Выключатель замыкает ланцюг електромагнита 2Э і выключает его. Происходит разжим разрезаемого материала.

Верстат приводится в исходное положение.

Наладочный цикл

Наладочный цикл предусмотрен для налаштування давления в гідросистеме і налагодження механізма зажиму разрезаемого материала. В него входят наступні руху:

  1. Пуск верстата
  2. Разжим-стоп
  3. Зажим-стоп

Первые два руху осуществляются так же, как і при полном цикле. Дается команда на зажим, как і при полном цикле, однако електромагнит 1Э не включается, так как его ланцюг разрывается переключателем циклов. Поетому після окончания зажиму цикл прекращается. Насос продолжает работать, і масло сливается через ПК. Для разжима разрезаемого материала включается електромагнит 2Э. При необходимости руху зажим-стоп і разжим-стоп могут повторяться неоднократно.





8В66 Електрична схема отрезного верстата

Електрична схема отрезного верстата 8В66

Електрична схема отрезного верстата 8в66

Електрична схема отрезного верстата 8В66. Дивитись у збільшеному масштабі



Електроустаткування верстата

Електроустаткування верстата состоит из електродвигуна головного руху типа АО2-51-4 мощностью 7,5 кВт і п = 1440 об/мин, електродвигуна стружковыгрузки типа АОЛ22-4 мощностью 0,4 кВт і п = 1400 об/мин, електродвигуна гідроприводу типа АО2-31-6 мощностью 1,5 кВт і п = 950 об/мин, електронасоса охлаждения типа ПА-22 мощностью 0,125 кВт і п =2800 об/мин, а также пусковой і предохранительной апаратури.

Питание ланцюгів керування производится напряжением 127 В, освещения — 36 В, а електроустаткування верстата — напряжением 380 В.

Пусковая і предохранительная електроаппаратура размещена в специальной нише станины. На передньої частини станины смонтирована електропанель, на которой размещены пусковые кнопки, выключатели охлаждения і местного освещения.

Максимальная защита електродвигателей обеспечивается автоматическими выключателями, защита от перегрузки — тепловыми реле.

Керування верстатом осуществляется при помощи пульта, установленного на передньої стенке станины.

Принцип роботи фрезерно-отрезного верстата заключается в следующем. Разрезаемый материал одним концом укладывается на рифленый ролик механізма подъема і проруху материала, а вторым — на скобу тележки, перемещающейся по рельсам. При помощи штурвала механізма подъема материал вручную подается до настроенного на определенную длину упора. Нажатием кнопки на пульті ролик механізма подъема опускается, материал укладывается на опорную призму і зажимается губой механізма зажима, настроенной на соответствующий размер і профиль разрезаемого материала. Затем дается команда на ускоренный подвод і рабочий ход пильной бабки. После разрізання материала пильная бабка автоматически ускоренно возвращается в исходное положение. Отрезанная заготовка удаляется из зоны різання, снова подается разрезаемый материал і цикл повторяется.


Смазка верстата

Правильное применение смазочных масел снижает потери мощности на трение, защищает трущиеся поверхности от коррозии, значительно увеличивает надежность і долговечность деталей, вузлів, механізмов і верстата в целом. Избыток масла, так же как і недостаток, нарушает правильную експлуатацию верстата. Поетому необходимо пользоваться рекомендациями по смазке верстата. Розташування точок змазки фрезерно-отрезного верстата показано на рис. 4.

В качестве смазочных материалов применяется жидкое минеральное масло Индустриальное 20 (ГОСТ 1707—51) і универсальная среднеплавкая смазка УС-2 (ГОСТ 1033—51). Масло Индустриальное 20 перед заливкой должно быть тщательно профильтровано.

Способ і периодичность змазки, а также применяемые смазочные материалы при обслуживании фрезерно-отрезных верстатів приведены в табл. 3.

В процессе експлуатации необходимо следить за состоянием системы змазки і за уровнем масла в резервуарах. Не допускается снижение уровня масла ниже 7з верхней риски маслоуказателя.


Проверка верстата по нормам точності

Фрезерно-отрезной верстат після изготовления или ремонта проверяют по нормам точності согласно ГОСТ 28—40. Проверкой определяют точность изготовления или ремонта, взаимоположения і переміщення рабочих органів (табл. 4). Измерение на верстатах осуществляется з помощью индикаторов часового типа, контрольных линеек і оправок. Средства измерения, применяемые для проверки точності верстатів, должны быть аттестованы і мати соответствующий паспорт.

Перед проверкой на точность верстат должен быть установлен согласно установочному чертежу, приведенному в руководстве верстата.





Эксплуатация верстата 8в66

Надежная робота фрезерно-отрезного верстата, а также срок его службы во многом зависят от правильной експлуатации, соблюдения правил ухода і обслуживания і своевременного планово-предупредительного ремонта. Перед первоначальным пуском верстата необходимо:ег7гпп лоткпмач

После подготовки верстата производится предварительный пуск з целью проверки работоспособности вузлів і механізмов. Убедившись в том, что пила вращается знизу вверх і смазочная система работает нормально, можно приступить к работе на станке. Запуск верстата і осуществление движений, предусмотренных конструкцией верстата, производится включением і вимкненням соответствующих кнопок і рукояток керування, назначение которых описано в разделе «Керування верстатом, его наладка і регулировка».

В гідроприводе верстата применяется масло Индустриальное 20 (ГОСТ 1707—51), вязкость которого 2,8—3,2 условных градуса Энглера при 50° С.

В случае нарушения нормальной роботи гідроприводу в первую очередь необходимо выяснить, не вызваны ли ети нарушения попаданием воздуха в систему или загрязнением масла. Наличие воздуха в системе вызовет появление пены і пузырей на поверхности масла. В етом случае следует проверить плотность з'єднань труб і аппаратов. Загрязнение масла може вызвать заедание золотников.

Если принятые меры не устраняют нарушений, следует проверить исправность гідроапаратури, фильтра.

При тугом ходе золотників керування необходимо прочистить демпферные отверстия і сливы утечек.

В случае просачивания масла через стыки нужно затянуть крепежные винты, а если масло продолжает просачиваться, — заменить уплотняющие прокладки.

Если золотники керування при отключении електромагнитов не возвращаются в исходное положение, следует проверить целость пружин. Поломанные пружины заменить.

При наличии задиров во втулке золотника аппарат подлежит замене.

При експлуатации верстата необходимо систематически наблюдать за уровнем масла в резервуаре. При понижении уровня ниже риски маслоуказателя следует дополнительно залить масло. Замена масла в резервуаре приурочивается к текущему ремонту верстата. Очистка пластинчатого фильтра Г41-42 производится не реже одного раза в 2—3 месяца путем пропускания под давлением в обратном направлении сначала керосина, а затем масла.

Для нормальной роботи гідросистемы верстата рекомендуется не реже одного раза в неделю очищать пластинчатый фильтр путем обертання его рукоятки.

Установленный на фундаменте верстат должен быть правильно і надежно заземлен.

При експлуатации електрообладнання верстата необходимо периодически очищать от пыли і грязи, не реже одного раза в год разбирать і промывать бензином детали двигуна, смазывать підшипники качения смазкой УТВ-1-13 или тавотом. Температура нагрева підшибників не должна превышать 70° С, а сопротивление изоляции в нагретом состоянии должно быть не менее 0,5 мегОм.

При уходе за релейно-контакторной аппаратурой необходимо: а) периодически очищать аппаратуру от пыли і грязи, особенно контакты аппаратов (лучше всего пользоваться для етой цели пылесосом); б) износившиеся детали своевременно заменять; в) периодически смазывать легким слоем технического вазелина трущиеся поверхности якоря і сердечника, після змазки места стыка вытереть насухо.

При работе електромагнитов допускается небольшое гудение, свойственное магнитным системам переменного тока.

Способ установки материала

Способ установки материала

Схема крепления материала в пакетах

Схема крепления материала в пакетах

Схема крепления материала в пакетах. Дивитись у збільшеному масштабі





8В66 Технічні характеристики отрезного верстата 8В66

Наименование параметра 8В66 8В66а 8Г663 8Г662
Основні параметри верстата
Класс точності верстата Н Н Н Н
Диаметр пилы, устанавливаемой на станке по ГОСТ 4047-82, мм 710 710 800 710, 800
Толщина пилы по режущим зубъям, мм 6,5 6,5 6,5
Диаметр устанавливаемой заготовки, мм 70..240 70..240 80..285 80..240, 80..280
Наибольший размер поперечного сечения квадрата по ГОСТ 2591-71, мм 220 220 250 200, 250
Наибольший размер поперечного сечения швеллера по ГОСТ 8240-72, мм №40 №30 33 30, 33
Наибольший размер поперечного сечения двутавра по ГОСТ 8239-72, мм №40 №30 33 30, 33
Наибольший размер поперечного сечения уголка по ГОСТ 8509-72, мм №16 №16
Длина отрезаемой заготовки по упору при Ø80..200 в автоматическом цикле, мм 480 20..400 20..500 20..500
Длина отрезаемой заготовки при Ø200..280 в простом цикле, мм 480 400..1500 20..1500 20..1500
Наибольшая длина заготовки, мм 5000 5000 6000
Угол отрезки, град 90° 90° 90° 90°
Диаметр шпинделя под круглую пилу, мм 80h6
Диаметр отверстий под поводковые пальцы, мм 20H7 20,5
Смещение осей отверстий под поводковые пальцы от номинального розположення, мм, не более 0,35
Расстояние от основания верстата до опорной поверхности заготовки, мм 800 800
Наибольшее перемещение бабки пильного диска, мм 360 360 320 360
Регулювання подачі бабки пильного диска бесступ бесступ
Наибольшая скорость подачі бабки пильного диска, мм/мин 12..500 12..500 0,8..650 0,8..650
Наибольшая скорость відведення бабки пильного диска, м/мин 3,5 2,5
Частота обертання шпинделя (50 Гц), об/мин (Количество швидкостей шпинделя) 3,3..25,5 (6) 3,3..25,5 (6) 2,99..16,85 (6) 2,99..16,85 (6)
Скорость подачі заготовки, м/мин 5 5
Наибольший крутящий момент, Н/м 7000
Електроустаткування. Привод
Количество електродвигателей на станке автомате 4 4 5 5
Електродвигун приводу головного руху, кВт (об/мин) 7,5 (1460) 7,5 (1460) 7,5 7,5
Електродвигун приводу гідронасоса гідростанції, кВт (об/мин) 1,5 (950) 1,5 (950) 3,0 2,2
Електродвигун приводу механізма стружкоудаления, кВт (об/мин) 0,4 (1400) 0,4 (1400) 0,37 0,37
Електродвигун насоса охлаждения, кВт (об/мин) 0,12 (2800) 0,12 (2800) 0,12 0,12
Електродвигун приводу вентилятора охлаждения гідростанції, кВт (об/мин) 0,12 0,12
Суммарная мощность електродвигателей установленных на станке, кВт 11,11
Габарити і масса верстата
Габарити верстата (длина ширина высота), мм 2550 х 1260 х 1775 2570 х 1600 х 1725 2640 х 2400 х 1585
Масса верстата, кг 3650 3980 3760

    Список литературы:

  1. Веселовский С.И. Разрезка материалов, 1973
  2. Дроздов Ф., Лебедевич В., Рубежин В. Справочное пособие по отрезным верстатам, 1967