Настільний фрезерний верстат МС-51 виробляв Луганський верстатобудівний завод .
Луганський верстатобудівний завод одним із перших у колишньому Радянському Союзі освоїв великосерійне виробництво фрезерних верстатів із цикловою та числовою системами програмного керування. Заводом були розроблені та запущені у виробництво особливо складні високопродуктивні верстати з автоматичною зміною інструменту та числовим програмним керуванням моделей СВМ1Ф4 та СФ68Ф3П.
На заводі освоєно випуск малогабаритних токарних МС-03 та МС-04, фрезерних МС-51, МС-54, СВФ-1 та свердлильних верстатів СВС1-010.
Фрезерний верстат МС-51 призначений для фрезерування різноманітних деталей із сталі, чавуну та кольорових металів торцевими, циліндричними, кінцевими, радіусними фрезами в умовах індивідуального виробництва.

Шпиндель настільного фрезерного верстата МС-51
Шпиндель настільного фрезерного верстата МС-51 Дивитись у збільшеному масштабі

Фото настільного фрезерного верстата МС-51

Фото настільного фрезерного верстата МС-51
Фото настільного фрезерного верстата МС-51. Дивитись у збільшеному масштабі

Фото настільного фрезерного верстата МС-51
Фото настільного фрезерного верстата МС-51. Дивитись у збільшеному масштабі

Фото настільного фрезерного верстата МС-51
Фото настільного фрезерного верстата МС-51. Дивитись у збільшеному масштабі

Фото настільного фрезерного верстата МС-51
Фото настільного фрезерного верстата МС-51. Дивитись у збільшеному масштабі

Фото настільного фрезерного верстата МС-51

Розташування органів керування фрезерним верстатом МС-51
Розташування органів керування фрезерним верстатом МС-51. Дивитись у збільшеному масштабі

Кінематична схема фрезерного верстата МС-51
Схема кінематична фрезерного верстата МС-51. Дивитись у збільшеному масштабі

Шпиндельная головка фрезерного верстата МС-51

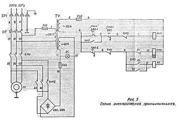
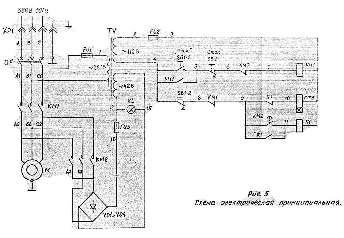
Електрична схема настільного фрезерного верстата МС-51
Електрична схема настільного фрезерного верстата МС-51. Дивитись у збільшеному масштабі

Настановне креслення настільного фрезерного верстата МС-51
Настановне креслення настільного фрезерного верстата МС-51. Дивитись у збільшеному масштабі
| Наименование параметра | МС-51 | ||
|---|---|---|---|
| Основні параметри верстата | |||
| Розміри поверхности стола, мм | 200 х 500 | ||
| Диапазон диаметров сверления, мм | 1..13 | ||
| Наибольший диаметр фреза з цилиндрическим хвостовиком, мм | 12 | ||
| Расстояние от торца шпинделя до стола, мм | 315 | ||
| Расстояние от оси шпинделя до вертикальних направляючих станины (вылет), мм | |||
| Рабочий стол | |||
| Наибольший продольный ход стола (X), мм | 280 | ||
| Наибольший поперечний ход салазок стола (Y), мм | 230 | ||
| Наибольший вертикальний ход шпиндельной бабки (Z), мм | 250 | ||
| Перемещение стола на одно деление лимба продольное (X), поперечное (Y), мм | |||
| Перемещение шпиндельной бабки на одно деление лимба вертикальное (Z), мм | |||
| Шпиндель | |||
| Частота обертання шпинделя, об/мин (число ступеней) | 125..3600 (6) | ||
| Количество швидкостей шпинделя | 6 | ||
| Перемещение пиноли шпинделя, мм | |||
| Конус фрезерного шпинделя по ГОСТ 15945-82 | 30АТ5 | ||
| Електроустаткування, привод | |||
| Количество електродвигателей на станке | 1 | ||
| Електродвигун приводу головного руху, кВт (об/мин) | 1,2 (1500) | ||
| Габарит і масса верстата | |||
| Габарити верстата (длина ширина высота), мм | 1350 х 1300 х 1220 | ||
| Масса верстата, кг | 480 |
Замовити
Хто володіє інформацією – той володіє світом.
Натан Ротшильд