metalinstryment.com
Довідник по металорізальних верстатів та пресовому обладнанні

СФ-35 Верстат консольно-фрезерный вертикальний з поворотной головкой
схеми, опис, характеристики

СФ-35 Верстат консольно-фрезерный вертикальний з поворотной головкой







Відомості про виробника консольно-фрезерного верстата СФ-35

Вертикальный консольно-фрезерный верстат СФ-35 производил Луганский станкостроительный завод.

Луганский станкостроительный завод одним из первых в бывшем Советском Союзе освоил крупносерийное производство фрезерных верстатів з цикловой і числовой системами программного керування. Заводом были разработаны і запущены в производство особо сложные высокопроизводительные верстати з автоматичною сменой инструмента і числовым программным керуванням моделей СВМ1Ф4 і СФ68Ф3П. На заводе освоен выпуск малогабаритных токарных МС-03 і МС-04, фрезерных МС-51, МС-54, СВФ1 і сверлильных верстатів СВС1-010.





Верстати, выпускаемые Луганским станкостроительным заводом


СФ-35 (СФ35) верстат консольно-фрезерный вертикальний. Назначение, область применения

Фрезерный верстат СФ-35 предназначен для фрезерування всевозможных деталей из стали, чугуна і цветных металлов торцевыми, цилиндрическими, кінцівыми, радиусными фрезами в условиях индивидуального і серийного производства. В серийном производстве, благодаря наличию напівавтоматических і автоматических циклов, верстати могут успешно использоваться на работах операционного характера в поточных і автоматических лініях.

Принцип роботи і особливості конструкції верстата СФ-35

Вертикальные консольно-фрезерные верстати моделей СФ-35 представляют собой електрифицированные верстати, обладающие високою точностью і жесткостью.

На верстатах можно обрабатывать вертикальные і горизонтальные плоскости, пазы, углы, нарезать зубчасті колеса і прочее.

Фрезерование зубчатых колес, разверток, спиралей, контура кулачков і прочих деталей, требующих периодического или непрерывного поворота вокруг своей оси, производятся на данных верстатах о применением делительной головки или накладного круглого стола.

Благодаря наличию механізма выборки люфта в винтовой паре поздовжньої подачі стола, на станке можно производить встречное і попутное фрезерование, как в простых режимах, так і в режимах з автоматическими циклами.

Наиболее еффективное использование верстата СФ-35 достигается при обработке деталей методом скоростного фрезерування.

Применение верстата в автоматическом цикле при обработке различных ступенчатых деталей, фрезеровании внутренних і наружных рамок і т. д. в условиях мелко і крупносерийного производства, позволяет решать задачи роста его еффективности.

Работа верстата СФ35 обеспечивает высокую точность фрезерування. Это достигается введением в привід подач вузла замедления, сводящего до минимума инерционные перебеги стола і обеспечивающего высокую стабильность размеров при повторении циклов. На станке предусмотрен автоматический отвод детали от инструмента при ускоренных переміщеннях стола і возврат її в исходное положение при переходе на рабочую подачу, что предохраняет обработанную поверхность от повреждений инструментом і сокращает машинное время.

Гідравлический механізм выбора люфта в паре винт-гайка способствует сохранению постоянного натяжения независимо от степени износа гайки. Благодаря етому можно широко применять на станке прогрессивный метод попутного фрезерування. Наличие на станке поворотной шпиндельной головки і возможность переміщення шпинделя в осевом направлении позволяют производить фрезерование под различными углами.

Кнопками одновременно можно осуществлять рух стола в 2-х—3-х направлениях, а также толчковый режим (рух стола только при нажатой кнопке).

В зависимости от потребностей возможны наступні варіанти керування:

На станке СФ-35 могут быть установлены поворотный стол, делительная головка і ряд других пристосувань, расширяющих технологические возможности верстатів.

Класс точності верстатів Н.





Посадочные і присоединительные базы консольно-фрезерного верстата СФ-35

Посадочные і присоединительные базы консольно-фрезерного верстата СФ-35

Посадочные і присоединительные базы консольно-фрезерного верстата сф-35


Загальний вигляд вертикального консольно-фрезерного верстата СФ-35

СФ-35 Загальний вигляд консольно-фрезерного верстата

Фото вертикального консольно-фрезерного верстата сф-35


СФ-35 Загальний вигляд консольно-фрезерного верстата

Фото вертикального консольно-фрезерного верстата сф-35


Розташування основних вузлів консольно-фрезерного верстата СФ-35

Розташування основних вузлів консольно-фрезерного верстата СФ-35

Розташування основних вузлів консольно-фрезерного верстата СФ-35

Розташування основних вузлів консольно-фрезерного верстата СФ-35. Дивитись у збільшеному масштабі




Список складових частин консольно-фрезерного верстата СФ-35


Розташування органів керування консольно-фрезерным верстатом СФ-35

СФ-35 Розташування складових частин і органів керування консольно-фрезерного верстата

Розташування органів керування консольно-фрезерным верстатом сф-35

Розташування органів керування консольно-фрезерным верстатом СФ-35. Дивитись у збільшеному масштабі



СФ-35 Розташування складових частин і органів керування консольно-фрезерного верстата

Розташування органів керування консольно-фрезерным верстатом сф-35

Розташування органів керування консольно-фрезерным верстатом СФ-35. Дивитись у збільшеному масштабі



Лівий пульт керування консольно-фрезерным верстатом сф-35

Лівий пульт керування консольно-фрезерным верстатом сф-35


Правый пульт керування консольно-фрезерным верстатом сф-35

Правый пульт керування консольно-фрезерным верстатом сф-35

Список органів керування консольно-фрезерным верстатом СФ-35





Схема кінематична консольно-фрезерного верстата СФ-35

СФ-35 Схема кінематична консольно-фрезерного верстата

Правый пульт керування консольно-фрезерным верстатом сф-35

Схема кінематична консольно-фрезерного верстата СФ-35. Дивитись у збільшеному масштабі




Пристрій, робота верстата і его складових частин

Станина з коробкой швидкостей (рис.5)

Станина представляет собой сложную отливку трапецеидального сечения, обладающую високою жесткостью і виброустойчивостью.

Коробка швидкостей смонтирована в расточках верхней частини станины. Она обеспечивает 18 частот обертання шпинделя. Нужная частота обертання устанавливается переключением трех блоков шестерен.

Торможение шпинделя осуществляется електромагнитной муфтой.

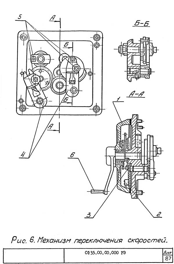
Механізм переключения швидкостей (рис.6)

Механізм переключения швидкостей консольно-фрезерного верстата сф-35

Механізм переключения швидкостей консольно-фрезерного верстата сф-35

Механізм переключения швидкостей консольно-фрезерного верстата сф-35. Дивитись у збільшеному масштабі



Механізм переключения швидкостей - кулисный з одной рукояткой. Перемещение кулис осуществляется зубчатым секторным механізмом. Заданные переміщення от кулис передаются вилкам, переключающим блоки шестерен.

Нужная частота обертання шпинделя устанавливается вращением рукоятки в любую сторону з отсчетом по лимбу 1. Во избежание самопроизвольного увімкнення механізм имеет фиксатор. От нефиксированного положения рукоятки предусмотрена електрична блокировка микровыключателем 3.

Микровыключатель 2 позволяет включить вращение шпинделя при смене инструмента кнопками "зажим" или "разжим" только при установці лимба на 40 об/мин.

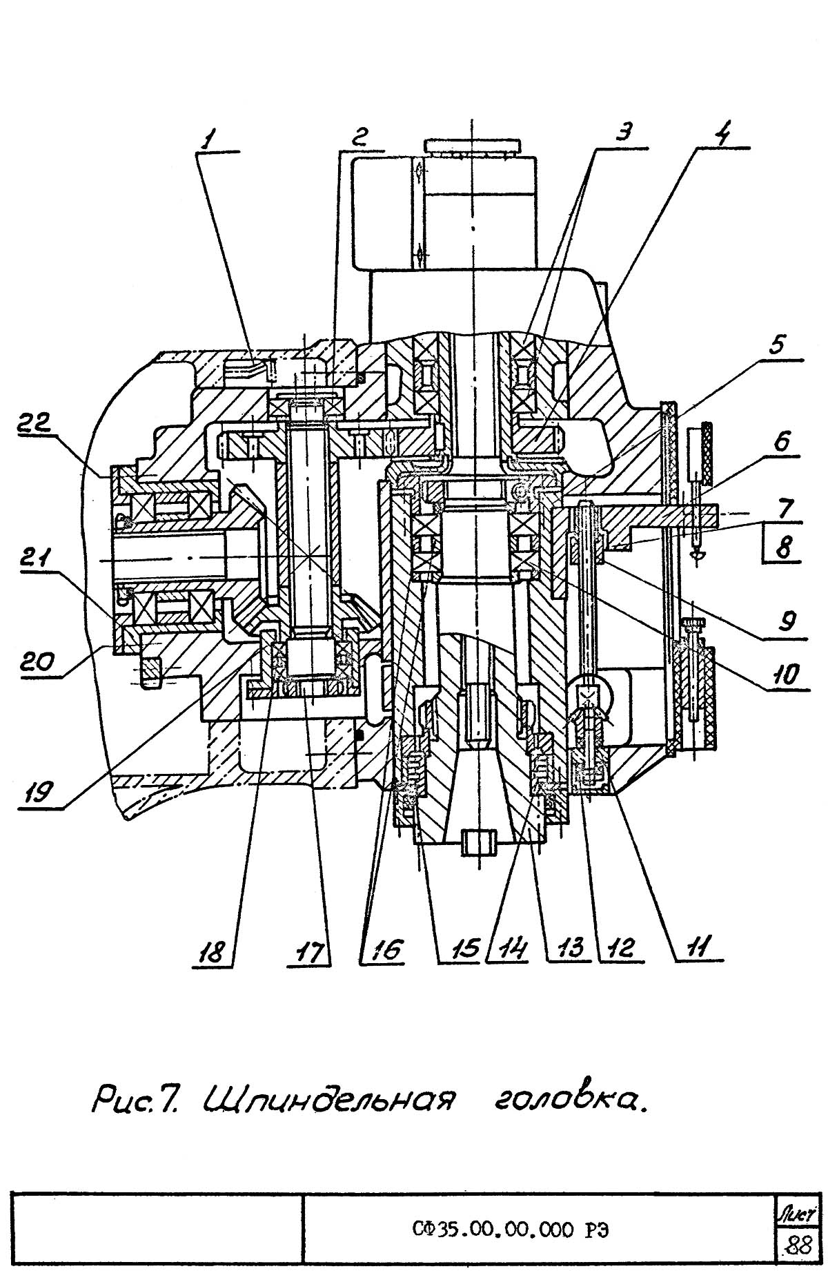
Шпиндельная головка консольно-фрезерного верстата СФ-35 (рис.7,8)

СФ-35 Шпиндельная головка консольно-фрезерного верстата

Шпиндельная головка консольно-фрезерного верстата сф-35

Шпиндельная головка консольно-фрезерного верстата СФ-35. Дивитись у збільшеному масштабі



Шпиндельная головка (рис.7) представляет собой фасонную чугунную отливку, в расточках которой смонтированы: подвижная пиноль 5, шпиндель 13 і промежуточный вал 17 з зубчатой передачей.

Натяжение підшибників 10 задньої опори шпинделя осуществляется подшлифовкой колец 16, а підшипника 14 передньої опори – полуколец 15.

Шпиндель разгружен. Осевые і радиальные нагрузки, возникающие на шестерне 4, воспринимаются непосредственно корпусом через підшипники.

Пристрій механизированной смены инструмента

Пристрій механизированной смены инструмента

Пристрій механизированной смены инструмента. Дивитись у збільшеному масштабі



В верхней частини шпиндельной головки смонтировано пристрій механизированной смены инструмента (рис.8). Пристрій состоит из гайки 8, навернутой на верхний конец шпинделя 9, механізма блокировки 12, упорного підшипника 7, на который опирается шариковая предохранительная муфта 3, удерживающая от обертання шомпол 4 через кулачковую полумуфту 5.

Консоль.(рис.9,10)

Чугунный корпус консоли имеет прямоугольные направляющие под станину і перпендикулярные к ним направляющие под салазки.

В консоли размещаются коробка подач, електродвигатели коробки подач і механізма опускания і подъема консоли.

Внутри консоли расположены три горизонтальных вала (2,18,19) продольного ходу стола, вертикального ходу консоли і поперечного ходу салазок. На концах валов имеются кулачки для передачи обертання от рукояток.

На каждом валу расположено по две електромагнітні муфты 3, посредством которых осуществляются руху: консоли вверх-вниз, стола влево-вправо, салазок назад-вперед.

В консоли имеется шариковая предохранительная муфта, соединенная з валом коробки подач.

На промежуточной опоре смонтированы три блокировки механической подачі 11.

По бокам і сверху консоли имеются окна, через которые осуществляется регулировка електромагнітних муфт. С правой стороны консоли расположено окно з крышкой для монтажа механізма опускания і подъема консоли.

Коробка подач (рис.11)

Коробка подач верстата обеспечивает 18 рабочих і ускоренную подачі.

К корпусу коробки подач прифланцован механізм переключения подач. Переключения осуществляется тройными блоками на II і I валах і переборной шестерней (z=40). Для переключения подачі рукоятку лимба следует повернуть на один оборот.

Стол-салазки (рис. 14,15)

Стол является післядним елементом в ланцюги продольных подач, За счет салазок стол получает возможность поперечных перемещений. На салазках расположена рукоятка увімкнення поздовжньої і круговой подач 6 (рис.15). При тяжелом силовом режиме на поздовжньої подаче жесткость салазок може быть увеличена за счет рукояток 13 (рис. 14) зажиму салазок на консоли.

Винты 3 і 5 предназначены для выбора люфта в скосах стола при тяжелом фрезеровании, если оно ведется кратковременно по длине.

Механізм выбора люфта в паре винт-гайка продольного ходу (рис. 16, 17)

Механізм выбора люфта (рис.16) состоит из корпуса 2, к торцу которого крепится шестеренчатый маслонасос 1.

В цилиндре корпуса механізма имеется поршень двустороннего дії. Давление в обеих полостях цилиндра регулируется клапанами. Шестеренчатым насосом масло нагнетается в одну из полостей цилиндра, заставляя перемещаться поршень 3 со штоком 4. Шток поршня шарнирно соединен со штангой 2, на которой крепится вилка I (рис.17). Вилка непосредственно воздействует на одну из полугаек, з помощью которой выбирается люфт в ВИНТОВОЙ паре.

Механізм выбора люфта включается автоматически при работе верстата в УСЛОВИЯХ попутного фрезерування (тумблер поставить в положение "включено"). При движении стола ротор електродвигуна механізма должен вращаться по часовий стрелке, если смотреть на двигатель со стороны крыльчатки.

Муфта електромагнитная (рис.18)

Многодискова електромагнитная муфта предназначена для передачи крутящего момента величиной до 68,6 Нм ( 7кгм). Обмотка електромагнита рассчитана на напряжение 24 В, провод обмотки ПЭС-1-0,45, число витков 1150.

Муфта состоит из електромагнита 1, якоря 3, дисков, регулировочной гайки 6, нажимной тарельчатой пружины 10 і пружин, разжимающих диски після того, как муфта обесточена.

Якорь і ярмо електромагнита выполнены из електротехнической стали, ведущие фрикционные диски 8 - стальные, ведомые 7 - из стали з металлокерамической обкладкой. Электромагнитная муфта работает в масляной среде.

Питание к електромагниту муфты подводится через щеткодержатель 2. Магнитный поток, создаваемый находящейся на ярме катушкой, замыкаясь через якорь, притягивает его к електромагниту. Якорь тремя гвинтами связан з крестовиной, которая посредством тарельчатой пружины сжимает наружные і внутренние фрикционные диски, передающие крутящий момент.




СФ-35 Верстат консольно-фрезерный вертикальний з поворотной головкой. Відеоролик.




Технічні характеристики консольного фрезерного верстата СФ-35

Наименование параметра СФ-15 СФ-35 6Р12 6Т12
Основні параметри верстата
Розміри поверхности стола, мм 1250 х 320 1250 х 320 1250 х 320 1250 х 320
Наибольшая масса обрабатываемой детали, кг 250 400
Расстояние от торца шпинделя до стола, мм 460 40..450 30..450 30..450
Расстояние от оси шпинделя до вертикальних направляючих станины (вылет), мм 400 400 350 380
Рабочий стол
Наибольший продольный ход стола (X), мм 950 900 800 800
Наибольший поперечний ход стола (Y), мм 300 300 250 320
Наибольший вертикальний ход стола (Z), мм 410 410 420 420
Перемещение стола на одно деление лимба продольное (X), поперечное (Y), мм 0,05 0,05 0,05
Перемещение стола на одно деление лимба вертикальное (Z), мм 0,01 0,01 0,01 0,01
Пределы продольных і поперечных подач стола (X, Y), мм/мин 20..2500 20..1000 12,5..1600 12,5..1600
Пределы вертикальних подач стола (Z), мм/мин 8..400 8..400 4,1..530 4,1..530
Количество подач продольных/ поперечных/ вертикальних 18 18 22 22
Скорость быстрых перемещений продольных (X), поперечных (Y), м/мин 2,5 3 4 4
Скорость быстрых перемещений вертикальних (Z), м/мин 1 1,2 1,330 1,330
Усилие, допускаемое механізмом подач для поздовжньої подачі (X), кг 1400
Усилие, допускаемое механізмом подач для поперечної подачі (Y), кг 410
Усилие, допускаемое механізмом подач для вертикальной подачі (Z), кг 740
Шпиндель
Частота обертання шпинделя, об/мин 31,5..1600 31,5..1600 40..2000 31,5..1600
Количество швидкостей шпинделя 18 18 18 18
Перемещение пиноли шпинделя, мм 80 80 70 70
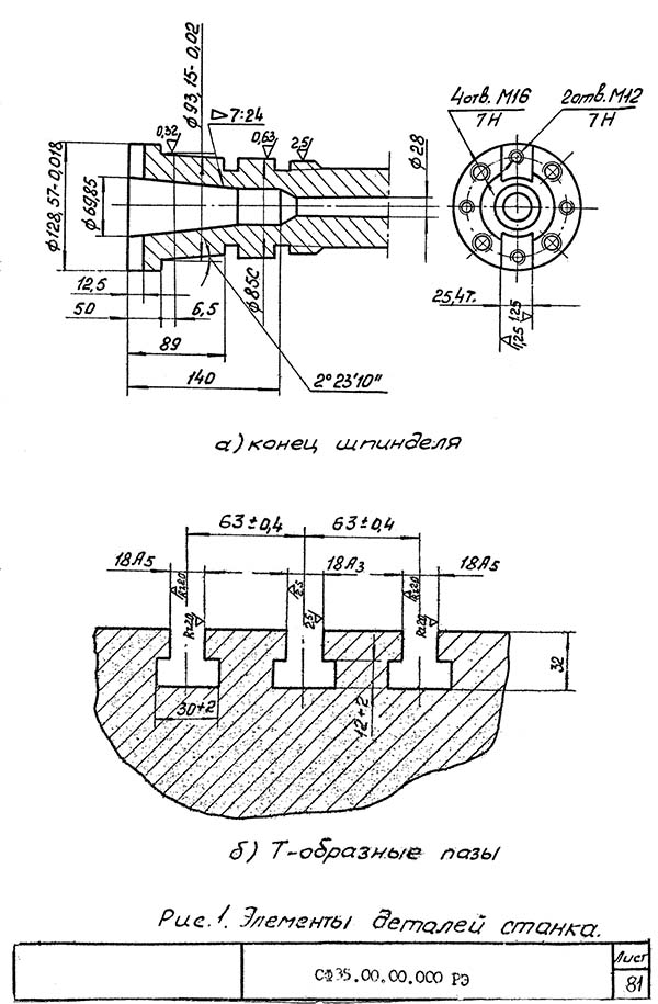
Кінець шпинделя. Конус фрезерного шпинделя 50 ГОСТ 15945-70 50 ГОСТ 24644-81 № 3 ГОСТ 836-62
Поворот шпиндельной головки вправо і влево, град ±45° ±45° ±45° ±45°
Механіка верстата
Выключающие упоры подачі (поздовжньої, поперечної, вертикальной) Есть Есть Есть Есть
Блокировка ручной і механической подач (поздовжньої, поперечної, вертикальной) Есть Есть Есть Есть
Блокировка раздельного увімкнення подач Есть Есть Есть Есть
Торможение шпинделя Есть Есть Есть Есть
Предохранительная муфта от перегрузок Есть Есть Есть Есть
Автоматическая прерывистая подача Есть Есть Есть Есть
Електроустаткування, привод
Количество електродвигателей на станке 4 4 3 4
Електродвигун приводу головного руху, кВт (об/мин) 5,5 5,5 (1500) 7,5 7,5
Електродвигун приводу подач, кВт (об/мин) 1,5 1,5 (1500) 2,2 3
Електродвигун приводу подъема і опускания консоли, кВт (об/мин) - 0,12 (1400) - -
Електродвигун насоса механізма выбора люфта, кВт (об/мин) 0,08 0,09 (1500) - -
Електродвигун зажиму инструмента, кВт - - - 0,25
Електродвигун насоса охлаждающей жидкости, кВт (об/мин) 0,125 0,125 (3000) 0,12 0,12
Суммарная мощность всех електродвигателей, кВт 7,21 9,825 10,87
Габарит і масса верстата
Габарити верстата (длина ширина высота), мм 2000 х 2230 х 2030 2100 х 2250 х 2090 2305 х 1950 х 2020 2280 х 1965 х 2265
Масса верстата, кг 3000 3050 3120 3250

    Список литературы:

  1. Верстат специализированный вертикально-фрезерный моделі СФ-35. Руководство по експлуатации. Луганский станкостроительный завод им. Ленина, 1982

  2. Аврутин С.В. Основы фрезерного дела, 1962
  3. Аврутин С.В. Фрезерне дело, 1963
  4. Ачеркан Н.С. Металлорежущие верстати, Том 1, 1965
  5. Барбашов Ф.А. Фрезерне дело 1973, с.141
  6. Барбашов Ф.А. Фрезерные роботи (Профтехобразование), 1986
  7. Блюмберг В.А. Справочник фрезеровщика, 1984
  8. Григорьев С.П. Практика координатно-расточных і фрезерных работ, 1980
  9. Копылов Р.Б. Работа на фрезерных верстатах,1971
  10. Косовский В.Л. Справочник молодого фрезеровщика, 1992, с.180
  11. Кувшинский В.В. Фрезерование,1977
  12. Ничков А.Г. Фрезерные верстати (Библиотека станочника), 1977
  13. Пикус М.Ю. Справочник слесаря по ремонту металлорежущих верстатів, 1987
  14. Плотицын В.Г. Расчёты настроек і наладок фрезерных верстатів, 1969
  15. Плотицын В.Г. Наладка фрезерных верстатів,1975
  16. Рябов С.А. Современные фрезерные верстати і их оснастка, 2006
  17. Схиртладзе А.Г., Новиков В.Ю. Технологическое обладнання машиностроительных производств, 1980
  18. Тепинкичиев В.К. Металлорежущие верстати, 1973
  19. Чернов Н.Н. Металлорежущие верстати, 1988
  20. Френкель С.Ш. Справочник молодого фрезеровщика (3-е изд.) (Профтехобразование), 1978








Заказать

Кто владеет информацией - тот владеет миром.

Натан Ротшильд