Виробник токарно-гвинторізного верстата Луганський верстатобудівний завод .
Луганський верстатобудівний завод одним із перших у колишньому Радянському Союзі освоїв великосерійне виробництво фрезерних верстатів із цикловою та числовою системами програмного керування. Заводом були розроблені та запущені у виробництво особливо складні високопродуктивні верстати з автоматичною зміною інструменту та числовим програмним керуванням моделей СВМ1Ф4 та СФ68Ф3П. На заводі освоєно випуск малогабаритних токарних МС-03 та МС-04, фрезерних МС-51, МС-54, СВФ1 та свердлильних верстатів СВС1-010.
Токарно-гвинторізний малогабаритний верстат МС-03 є навчальним універсальним токарно-гвинторізним верстатом і призначається для всіляких токарних робіт у майстернях шкіл для політехнічного навчання та холодної обробки металів різанням.
Токарний верстат МС-03 випускався як товар народного споживання для виконання як професійних, так і аматорських робіт.
Верстат МС-03 дозволяє проводити такі види токарних робіт:
Крім того, верстат МС-03 комплектується додатковими пристроями, що дозволяють виконувати операції фрезерування, шліфування тоцю, розточування.
Передній кінець шпинделя верстата МС-03 має різьблення М52 для встановлення проміжного фланця з патроном (див. статтю Токарні патрони ).
Шпиндель токарного верстата МС-03 отримує 13 ступенів (швидкостей) обертання (45, 63, 90, 125, 180, 315, 250, 450, 630, 900, 1250, 1800, 2800 об/хв).
Привід верстата здійснюється від асинхронного електродвигуна ~380В. Через клинопасову передачу рух передається на вхідний вал коробки швидкостей. Усередині коробки швидкостей рух через шестерні передається на шпиндель. Шпіндель, залежно від положення рукояток на передній бабці, обертається з однією з шести швидкостей. Напрямок обертання шпинделя визначається двигуном.
Дві швидкості надходять від триступінчастого шківа (Ø 101, Ø 82 мм) електродвигуна на шківи (Ø 132, Ø 150 мм) вхідного валу коробки швидкостей. Третій ступінь шківа електродвигуна (Ø 150 мм) може бути підключений безпосередньо на шків шпинделя (Ø 75 мм), швидкість обертання шпинделя при цьому 2800 об/хв.
Дві швидкості, проходячи через 6-ступінчастиний пербор коробки швидкостей дозволяють отримати 12 швидкостей обертання шпинделя.
Коробка швидкостей за рахунок перемикання шестерень дозволяє знизити частоту обертання шпинделя, необхідну для різьблення мітчиками, а також для важких робіт, що вимагають підвищеного крутного моменту. Підвищена швидкість шпинделя використовується для чистових робіт.
Від шпинделя рух передається на вихідний вал коробки швидкостей, потім на гітару і від неї на вхідний вал коробки подач.
Коробка подач забезпечує швидкості подачі супорта і може нарізати різьблення без перестановки шестерень у гітарі.
На виході коробки є ходовий вал і ходовий гвинт, які обертаються поперемінно.
Ходовий гвинт включається при нарізанні різьблення. Швидкість ходового ггвинта задається рукоятками на коробці подач і визначає одну з різб (ходовий гвинт можна використовувати в режимі поздовжньої подачі, але не використовується, щоб не зношувати його). Напрямок обертання ходового ггвинта задається лівою рукояткою на передній бабці.
Ходовий вал дозволяє отримати одну з поздовжніх подач супорта. Швидкість подачі визначається рукоятками на передній стінці коробки подач.
Ходовий гвинт та ходовий вал проходять крізь фартух супорта , який перетворює обертальний рух ходового ггвинта або ходового валика в поступальний поздовжній та поперечний механічний рух супорта.
Мастило коробки швидкостей - розбригуванням шестернями олії з масляної ванни на дні передньої бабки. Змащення коробки подач - ґноти з лотка, який заповнюється маслом раз на зміну. Фартух, супорт, гітара, задня бабка та станина змащуються вручну раз на зміну.
Виробник – Луганський верстатобудівний завод м. Луганськ, Україна.
Основні параметри верстата - відповідно до ГОСТ 18097-93 . Верстати токарно-гвинторізні та токарні. Основні розміри. Норми точності.

Фото токарно-гвинторізного верстата мс-03
Фото токарно-гвинторізного верстата МС-03. Дивитись у збільшеному масштабі

Фото токарно-гвинторізного верстата мс-03
Фото токарно-гвинторізного верстата МС-03. Дивитись у збільшеному масштабі

Фото токарно-гвинторізного верстата мс-03

Фото токарно-гвинторізного верстата мс-03

Фото токарно-гвинторізного верстата мс-03

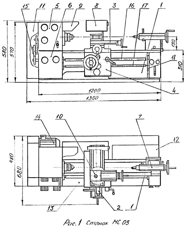
Розташування складових частинин токарного верстата МС-03

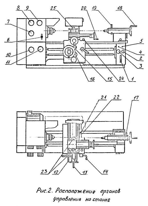
Розташування органів керування токарним верстатом мс-03

Схема кінематична токарно-гвинторізного верстата мс-03
Кінематична схема токарно-гвинторізного верстата МС-03. Дивитись у збільшеному масштабі
Cхема розположення підшибників токарно-гвинторізного верстата МС-03. Дивитись у збільшеному масштабі

Ланцюг приводу головного руху токарного верстата мс-03

Шлифовальное пристрій токарного верстата мс-03

Наладка для фрезерной роботи на токарному станке мс-03

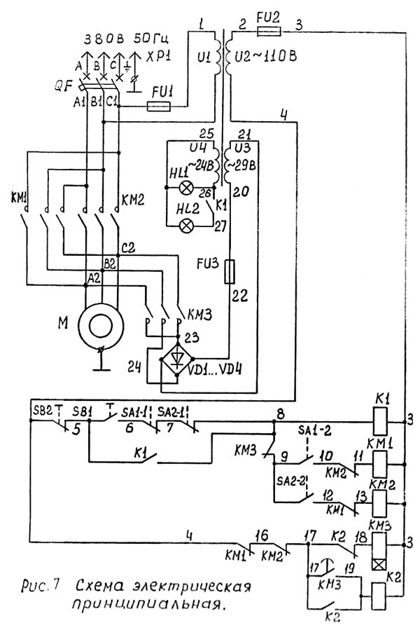
Електрична схема токарно-гвинторізного верстата мс-03
К електрооборудованию верстата относятся:
Щиток електроустаткування і магнитный пускатель установлены в правой тумбе верстата, електродвигатель і кнопочная станція — в левой тумбе.
| Наименование параметра | МС-03 | ТВ-4 | ТВ-6 | ТВ-7 |
|---|---|---|---|---|
| Основні параметри верстата | ||||
| Класс точності | Н | Н | Н | Н |
| Наибольший диаметр заготовки над станиной, мм | 270 | 200 | 200 | 220 |
| Наибольший диаметр заготовки над суппортом, мм | 120 | 125 | 80 | 100 |
| Высота центров над плоскими направляющими станины, мм | 130 | 108 | 108 | 120 |
| Наибольшая длина заготовки в центрах (РМЦ), мм | 500 | 350 | 350 | 330 |
| Наибольшая длина заготовки в патроне, мм | 310 | |||
| Наибольшая длина обтачивания, мм | 500 | 300 | 300 | 300 |
| Наибольшая высота держателя резца, мм | 20 | 10 х 12 | 12 х 12 | 16 х 16 |
| Высота от опорной поверхности резца до линии центров, мм | 12 | 12 | ||
| Наибольшее расстояние от оси центров до кромки резцедержателя, мм | 78 | 78 | ||
| Шпиндель | ||||
| Резьбовой конец шпинделя, мм | М52 | М36 х 4 | М36 х 4 | М45 х 4 |
| Диаметр стандартного патрона, мм | 100 | 100 | 125 | |
| Диаметр сквозного отверстия в шпинделе, мм | 25 | 16 | 18 | |
| Наибольший диаметр прутка, мм | 23 | 15 | 12 | |
| Конус Морзе шпинделя | №4 | №2 | №3 | №3 |
| Число ступеней частот прямого обертання шпинделя | 13 | 6 | 6 | 8 |
| Частота прямого обертання шпинделя, об/мин | 45..2800 | 120, 160, 230, 375, 500, 710 | 130, 170, 235, 385, 510, 700 | 60..1000 |
| Торможение шпинделя | есть | нет | нет | нет |
| Блокировка рукояток | нет | нет | нет | |
| Суппорт. Подачи | ||||
| Наибольшее продольное перемещение суппорта, мм | 500 | 300 | 300 | 260 |
| Перемещение суппорта продольное на одно деление лимба, мм | 0,5 | 0,25 | 0,25 | |
| Наибольшее поперечное перемещение суппорта, мм | 190 | 100 | 100 | |
| Перемещение суппорта поперечное на одно деление лимба, мм | 0,025 | 0,025 | 0,025 | |
| Наибольшее перемещение резцовых салазок, мм | 160 | 50 | 85 | 85 |
| Перемещение резцовых салазок на одно деление лимба, мм | 0,025 | 0,025 | 0,025 | |
| Угол поворота резцовых салазок, град | ±45° | ±45° | ±40° | |
| Число ступеней продольных подач суппорта | 30 | 3 | 3 | 8 |
| Пределы продольных рабочих подач суппорта, мм/об | 0,018..0,7 | 0,08; 0,1; 0,12 | 0,08; 0,1; 0,12 | 0,1; 0,12; 0,15; 0,16; 0,18; 0,20; 0,24; 0,32 |
| Пределы рабочих поперечных подач суппорта, мм/об | 0,005..0,2 | нет | нет | нет |
| Количество нарезаемых різьб метрических | 3 | 3 | 6 | |
| Пределы шагов нарезаемых різьб метрических, мм | 0,125..10 | 0,8; 1,0; 1,25 | 0,8; 1,0; 1,25 | 0,8; 1,0; 1,25; 1,5; 2,0; 2,5 |
| Пределы шагов нарезаемых різьб дюймовых, ниток на дюйм | 24..4 | нет | нет | нет |
| Пределы шагов нарезаемых різьб модульных, мм | 0,25..2,5 | нет | нет | нет |
| Пределы шагов нарезаемых різьб питчевых | нет | нет | нет | нет |
| Задня бабка | ||||
| Конус Морзе задньої бабки | №3 | №2 | №2 | №2 |
| Наибольшее перемещение пиноли, мм | 80 | 65 | 65 | 65 |
| Електроустаткування | ||||
| Напряжение питающей сети, В | ~380 | ~380 | ~380 | ~380 |
| Електродвигун головного привода, кВт (об/мин) | 1,5 (1500) | 1,0 | 1,1 | 1,1 |
| Габарити і масса верстата | ||||
| Габарити верстата (длина ширина высота), мм | 1500 х 680 х 580 | 1440 х 470 х 1020 | 1100 х 470 х 110 | 1050 х 535 х 1200 |
| Масса верстата, кг | 210 | 280 | 300 | 400 |