Виробник токарно-гвинторізного верстата С8С - підприємство ЗММ Слівен АТ (ZMM-Sliven AD) , яке входить до верстатобудівного холдингу Болгарські виробники металообробних верстатів .
Токарно-гвинторізний верстат С8С призначений для виконання різних токарних робіт і нарізування метричної, модульної, дюймової та різьб. Оброблювані деталі встановлюються у центрах чи патроні.
Універсальний токарний верстат С8С оснащений 12 швидкісними ступенями частоти обертання шпинделя.
Токарний верстат С8С можна налаштувати для нарізування метричної, дюймової, модульної та різьби, як це зазначено на лицьовій табличці верстата.
Шпиндельна система, зубчасті трансмісії та інші механізми в коробці швидкостей змащуються автоматично через масляний зубчастиний насос і шляхом розбризкування.
Виробник - Завод металорізальних машин "Металік", м. Пазарджик, ЗММ - Слівен АТ.

Габарити робочого простору токарного верстата c8c

Фото токарного верстата c8c

Фото токарного верстата c8c

Фото коробки передач токарного верстата c8c

Фото коробки подач токарного верстата c8c

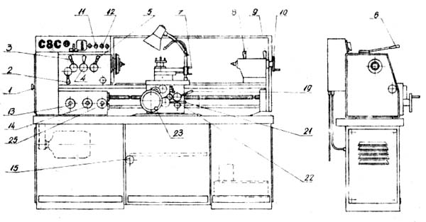
Розташування складових частинин та органів керування токарним верстатом c8c

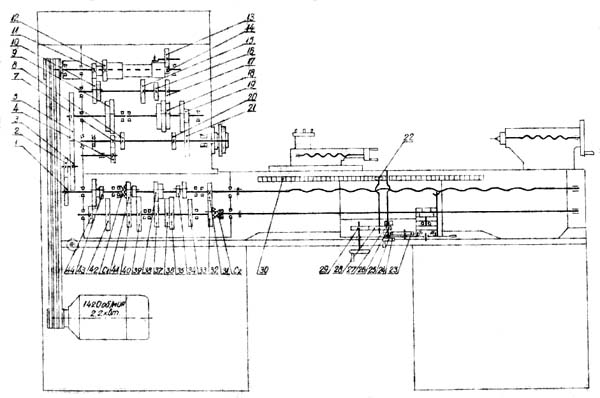
Кінематична схема токарного верстата c8c
Схема кінематична токарно-гвинторізного верстата С8С. Дивитись у збільшеному масштабі
Ліва багатодискова фрикційна муфта на приймальному валу коробки швидкостей - для прямого обертання шпинделя, права муфта для зворотного обертання.

Шпиндель токарно-гвинторізного верстата с8с

Електрична схема токарного верстата c8c
Схема електрична принципова токарно-гвинторізного верстата С8С. Дивитись у збільшеному масштабі
| Найменування параметру | 16K20 | SU400 | C8C |
|---|---|---|---|
| Основні параметри верстата | |||
| Клас точності згідно з ГОСТ 8-82 | Н | Н | Н |
| Найбільший діаметр заготовки, що встановлюється над станиною, мм. | 400 | 440 | 300 |
| Висота осі центрів над плоскими напрямними станини, мм | 215 | 210 | 150 |
| Найбільший діаметр заготовки оброблюваної над супортом, мм | 220 | 230 | 165 |
| Найбільша довжина заготівлі, що встановлюється в центрах (РМЦ), мм | 710, 1000, 1400, 2000 |
1000, 1500, 2000 | 762 |
| Найбільша довжина заготовки, що обробляється, мм | 690 | ||
| Ширина направляючих, мм | 360 | 200 | |
| Найбільша відстань від осі центрів до кромки різцетримача, мм | 225 | 135 | |
| Найбільший діаметр свердла при свердлінні сталевих деталей, мм | 25 | ||
| Найбільша маса заготівлі, що обробляється в центрах, кг | 460..1300 | ||
| Найбільша маса заготівлі, що обробляється в патроні, кг | 200 | ||
| Шпиндель | |||
| Діаметр отвору в шпинделі, мм | 52 | 62 | 32 |
| Найбільший діаметр прутка, що проходить через отвір у шпинделі, мм | 50 | 60 | 30 |
| Частота обертання шпинделя у прямому напрямку, об/хв | 12,5..1600 | 20..100; 80..400; 400..2000 | 85..2000 |
| Частота обертання шпинделя у зворотному напрямку, об/хв | 19..1900 | 20..100; 80..400; 400..2000 | 85..2000 |
| Кількість прямих швидкостей шпинделя | 22 | 21 | 12 |
| Кількість зворотних швидкостей шпинделя | 11 | 11 | 12 |
| Кінець шпинделя за ГОСТ 12593-72 | 6K | 5 | |
| Конічний отвір шпинделя за ГОСТ 2847-67 | Морзе 6 | 80 | |
| Діаметр фланця шпинделя, мм | 170 | ||
| Діаметр патрона, мм | 250 | ||
| Найбільший крутний момент на шпинделі, Нм | 1000 | 100 | |
| Супорт. Подання | |||
| Найбільша довжина поздовжнього переміщення, мм | 645, 935, 1335, 1935 | 690 | |
| Найбільша довжина поперечного переміщення, мм | 300 | 250/260 | |
| Швидкість швидких поздовжніх переміщень, мм/хв. | 3800 | 3800 | ні |
| Швидкість швидких поперечних переміщень, мм/хв. | 1900 рік | 1900 рік | ні |
| Максимально допустима швидкість переміщень при роботі за упорами, мм/хв. | 250 | ||
| Мінімально допустима швидкість переміщення каретки (супорта), мм/хв. | 10 | ||
| Ціна поділу лімба поздовжнього переміщення, мм | 1 | ||
| Ціна поділу лімба поперечного переміщення, мм | 0,05 | ||
| Діапазон поздовжніх подач, мм/про | 0,05..2,8 | 0,04..12 | 0,006..1,77 |
| Діапазон поперечних подач, мм/про | 0,025..1,4 | 0,02..6 | 0,008..0,885 |
| Кількість подач поздовжніх | 42 | 120 | 48 |
| Кількість подач поперечних | 21 | 60 | 48 |
| Кількість нарізних різьблень - метричних | 64 | 43 | |
| Кількість нарізних різьблень - модульних | 64 | 19 | |
| Кількість нарізних різьблень - дюймових | 64 | 53 | |
| Кількість нарізних різьблень - питчових | 64 | 19 | |
| Межі кроків метричних різьблень, мм | 0,5..112 | 0,5..120 | 0,1..28 |
| Межі кроків дюймових різьблень, ниток/дюйм | 56..0,5 | 60..1/4 | 75..2,5 |
| Межі кроків модульних різьблень, модуль | 0,5..112 | 0,125..30 | |
| Межі кроків різьб, питч діаметральний | 56..0,5 | 240..1 | 70..4 |
| Найбільше зусилля, яке допускається механізмом подач на різці - поздовжнє, Н | 5884 | ||
| Найбільше зусилля, яке допускається механізмом подач на різці - поперечне, Н | 3530 | ||
| Різцеві санки | |||
| Найбільше переміщення різцевих санчат, мм | 150 | 140 | |
| Переміщення різцевих санок на один поділ лімба, мм | 0,05 | ||
| Найбільший кут повороту різцевих санок, град | ±90° | ±90° | ±90° |
| Ціна поділу шкали повороту різцевих санчат, град | 1° | 1° | |
| Найбільший переріз державки різця, мм | 25 х 25 | 25 х 25 | 20 х 25 |
| Висота від опорної поверхні різця до осі центрів (висота різця), мм | 25 | 30 | 20 |
| Число різців у різцевій головці | 4 | 4 | 4 |
| Задня бабка | |||
| Діаметр пінолі задньої бабки, мм | 70 | 40 | |
| Конус отвору в пінолі задньої бабки за ГОСТ 2847-67 | Морзе 5 | Морзе 5 | |
| Найбільше переміщення пінолі, мм | 150 | 180 | 100 |
| Переміщення пінолі на один поділ лімба, мм | 0,1 | ||
| Розмір поперечного зміщення корпусу бабки, мм | ±15 | ±10 | ±10 |
| Електроустаткування | |||
| Електродвигун головного приводу, кВт | 11 | 7,5; 11 | 2,2 |
| Електродвигун приводу швидких переміщень, кВт | 0,12 | 0,55 | немає |
| Електродвигун насоса СОЖ, кВт | 0,125 | 0,09 | 0,18 |
| Габарити та маса верстата | |||
| Габарити верстата (довжина ширина висота) РМЦ = 1000 мм | 2795 х 1190 х 1500 | 2435 х 1185 х 1286 | 1884 х 717 х 1262 |
| Маса верстата, кг | 3010 | 2210 | 680 |