Розробником та виробником токарно-карусельного верстата 1516Ф3 є Краснодарський верстатобудівний завод Сєдіна , заснований у 1911 році.
У 1915 році було випущено перший токарний верстат. У 1922 році підприємство отримало свою сучасну назву — на честь токаря Сєдіна Г. М.
У 1935 році був випущений перший токарно-карусельний верстат моделі 152, а до 1937 р. визначився пріоритетний профіль заводу - верстатобудування, і в першу чергу виробництво токарно-карусельних верстатів.
Одностоєчні токарно-карусельні верстати моделей 1512Ф3 та 1516Ф3 є універсальними верстатами та призначені для обробки різноманітних виробів з чорних та кольорових металів в умовах дрібносерійного та серійного виробництва.
На токарно-карусельному верстаті 1516Ф3 можна проводити циліндричне та конічне обточування та розточування, проточування площин, свердління, зенкерування та розгортання отворів, а також напівчистове та чистове обточування плоских торцевих поверхонь.
Верстат 1516Ф3 має два супорти:
Верстати 1516Ф3 призначені для обробки різних заготовок із чорних та кольорових металів в умовах одиничного, дрібносерійного та серійного виробництва.
Верстати оснащені пристроєм числового програмного керування типу Н55-2, що забезпечує автоматичне керування за заданою програмою верхнім супортом та коробкою швидкостей приводу головного руху.
На верстатах можна проводити обточування та розточування поверхонь з прямолінійними та криволінійними утворюючими, свердління, зенкерування та розгортання центральних отворів, прорізування кільцевих канавок, а також обробку торцевих поверхонь.
Верстати 1516Ф3 виконуються з одним верхнім супортом, п'ятипозиційною револьверною головкою та автоматизованим поворотом та фіксацією на кожній позиції.
Значна потужність приводу головного руху, висока жорсткість базових деталей, достатня міцність всіх елементів кінематичних ланцюгів, широкі діапазони регулювання частот обертання планшайби та величин подач супорта у поєднанні з автоматичним керуванням дозволяють здійснювати на верстаті високопродуктивну обробку заготовок складної конфігурації.
Технологічні можливості верстата значно розширюються за допомогою самоцентруючої планшайби, що поставляються за особливим замовленням, пристосувань (для різьбонарізання, обробки конічних поверхонь, обточування фасонних поверхонь тіл обертання по копіру, обробки деталей за упорами) і пристрої для обробки з охолодженням.
На верстатах можна виконувати такі операції:
Крім того, вертикальним супортом можна проводити обточування плоских торцевих поверхонь з підтримкою ступінчасто-постійної швидкості різання на чистових та напівчистових режимах; свердління, зенкерування та розгортання; прорізання канавок та відрізку.
При застосуванні спеціальних пристроїв та пристроїв, що поставляються разом із верстатами за особливим замовленням за окрему плату, на верстатах можна виготовляти:
У звичайному виконанні верстати поставляються з вертикальним револьверним супортом, що має механічний поворот і затискач револьверної головки, і бічним супортом.
Крім цього, за особливим замовленням за окрему плату може бути поставлений верстат із самоцентруючою планшайбою з ручним затиском виробу.
На верстаті одночасно можуть бути змонтовані всі пристрій, за винятком охолодження, яке не може бути встановлене одночасно з самоцентруючою планшайбою.
У зв'язку з тим, що установка пристроїв вимагає значних змін і доробок у верстаті, замовлення на виготовлення пристроїв до раніше поставлених верстатів не можуть бути виконані. Пристрої поставляються лише разом із верстатом.
Проектна організація - Краснодарський верстатобудівний завод ім. Г. М. Сєдіна.
Токарно-карусельні верстати застосовують для обробки важких деталей великого діаметра та порівняно невеликої довжини. На цих верстатах можна виконувати майже всі токарні операції.
Горизонтальне розташування площини круглого столу (планшайби), на якому закріплюється заготовка, значно полегшує її встановлення та вивіряння. Крім того, шпиндель розвантажений від згинальних сил, що забезпечує більш високу точність обробки деталей. Токарно-карусельні верстати виготовляють два типи; одностоєчні та двостоєчні. Верстати з планшайбою діаметром до 1600 мм зазвичай одностоєчні, а верстати з планшайбами більшого діаметра - двостоєчні.
Як керуючі пристрої токарно-карусельних верстатів з позиційними системами ЧПУ найбільшого поширення набули пристрої П32-3М, а для безперервних систем - пристрої Н55-2.
ЧПУ типу Н55-2, призначене для автоматизованого керування багатокоординатними верстатами:
Пристрій виконаний за структурою спеціалізованої ЕОМ з мікропрограмним керуванням, що дозволяє забезпечити виконання функцій вправи як універсальними, так і спеціальними багатокоординатними верстатами, що виконують обробку складних площинних та об'ємних поверхонь.
Верстати можуть бути оснащені іншими моделями вітчизняних та зарубіжних керуючих пристроїв, наприклад фірм Алкатель (Франція), Бош (ФРН) та ін.
При обробці деталей на токарно-карусельному верстаті з ЧПУ точність оброблюваних поверхонь, що отримується, в основному залежить від точності позиціонування робочих органів верстата в заданому положенні, а тому поле розсіювання абсолютних розмірів мало змінюється зі зміною розмірів оброблюваних деталей. Як показують результати статистичної обробки даних багаторазових контрольних визначень розмірів деталей, оброблених на токарно-карусельних верстатах з ЧПУ у виробничих умовах, усереднення величини полів розсіювання розмірів для верстатів 1512Ф2, 1516Ф2 та 1525Ф2 лежить у межах 0,12-0,1 введення додаткових корекцій та знижується до 0,08-0,10 мм при виконанні проміжних вимірювань та введення корекції.
У верстатів підвищеної точності з контурними системами 1512Ф3, 1516Ф3 та 1525Ф3 ці дані відповідно становлять 0,10..0,12 мм та 0,04..0,06 мм. Практично при обробці можуть бути отримані і вищі дані, але такі результати стабільно гарантовані не можуть.
1516.000, 1516-1, 1516-2, 1516.300, 1516.400 - верстат токарно-карусельний універсальний одностоєчний
1516Ф1, 1516ПФ1, 1516Ф1.041, 1516Ф1.300, 1516Ф1.323, 1516Ф1.400, 1516Ф1.423 - верстат токарно-карусельний з УЦІ - пристроєм цифровий
1516Ф2, 1516Ф3, 1516Ф3.271, 1516Ф3.471, 1516МФ4 - верстат токарно-карусельний з УЧПУ - пристроєм числового програмного керування

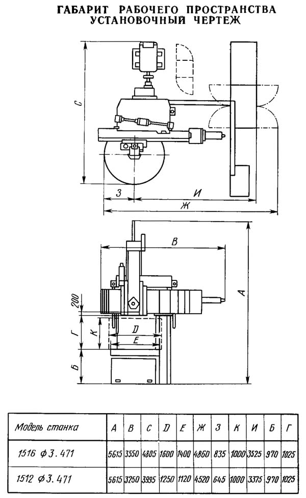
Габарит робочого простору верстата 1516ф3

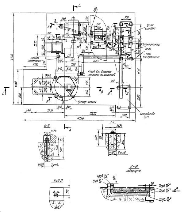
Посадочні та приєднувальні бази верстата 1516ф3

Фото токарно-карусельного верстата 1516ф3

Кінематична схема карусельного верстата 1516ф3
Схема кінематична токарно-карусельного верстата 1516Ф3. Дивитись у збільшеному масштабі
Головний рух - обертання планшайби - здійснюється від електродвигуна M1 (рис. 106) через клинопасову передачу зі шківами Ф233 і Ф266, коробку швидкостей, вал V, конічні зубчасті колеса 48/36 і зубчасті колеса 25/125. Рівняння кінематичного балансу має вигляд:
1460 х (230/266)ηi v (48/36) х (25/125) = n ,
де i v - Передатне відношення коробки швидкостей.
Від валу V коробки швидкостей конічні зубчасті колеса 36/48, вал IX, зубчасті колеса 36/54 обертання передається на вал X, конічні зубчасті колеса 17/17, вал XI, конічні зубчасті колеса 23/23 обертання передається на вал XII коробки подач , Перемикання електромагнітних муфт якої встановлюється необхідна подача. Рівняння кінематичного балансу ланцюга подач має вигляд:
1об.пл. х (125/25) х (36/48) х (36/48) х (36/54) х (17/17) х (23/23)isic = S мм,
где is — передаточное отношение коробки подач;
ic — передаточное отношение ланцюги от коробки подач до соответствующего суппорта.
Горизонтальная подача револьверного суппорта осуществляется от выходного вала XX коробки подач через зубчатую передачу 22/22 і ходовой винт з шагом 8 мм, а для бокового суппорта через зубчасті передачи (21/37), (37/37), (37/21) і ходовой винт з шагом 8 мм. Вертикальная подача осуществляется от выходного вала XXI коробки подач для револьверного суппорта через зубчасті передачи (22/22)(22/22)(22/22) і ходовой винт з шагом 8 мм, а для бокового суппорта через зубчасті передачи (20/23)(20/20) і ходовой винт з шагом 8 мм.
Ускоренные переміщення суппорта получают от отдельного електродвигуна М2. Подъем і опускание траверсы осуществляется при вращении двух ходовых винтов з шагом 8 мм. Поворот револьверного суппорта осуществляется от електродвигуна M3 через зубчасті колеса (18/34)(34/45) і червячную передачу 1/25. Перемещение револьверного суппорта вручную осуществляется при вращении маховичков 3 і 4, а бокового суппорта — маховичков 1 і 2.
Для повышения производительности і точності обробки применяют приспособления для установки заготовок на планшайбу верстата без выверки (базовые планшайби), приспособления для обробки конических і фасонных поверхностей, а также для закрепления і точной установки режущего инструмента.
Верстат 1516ФЗ оснащен пристрійм ЧПУ типа Н55-22, осуществляющим автоматическое керування верхним (вертикальным) револьверним суппортом і приводом головного руху по заданной программе, вводимой з восьмидорожечной перфоленты. Керування исполнительными органами верстата може осуществляться также в режиме предварительного набора (ручного ввода данных) з помощью переключателей і кнопок, расположенных на панелі керування ЧПУ, і в режиме налагодження (от подвесного пульта).
УЧПУ обеспечивает работу верстата в следующих режимах:
Параметри УЧПУ:

Настановне креслення карусельного верстата 1516ф3

Настановне креслення карусельного верстата 1516ф3
| Наименование параметра | 1512Ф3 | 1516Ф3 |
|---|---|---|
| Основні параметри | ||
| Наибольший диаметр вироби, мм | 1250 | 1600 |
| Наибольшая высота обрабатываемого вироби, мм | 1000 | 1000 |
| Диаметр планшайби, мм | 1120 | 1400 |
| Диаметр центрирующего отверстия в планшайбе, мм | 150Н7 | 260Н7 |
| Наибольшая масса устанавливаемого вироби, кг | 4000 | 6300 |
| при 5-80 оборотах планшайби за хвилину | 3200 | 6300 |
| при 100 оборотах планшайби за хвилину | 3000 | |
| при 125 оборотах планшайби за хвилину | 2700 | |
| при 160 оборотах планшайби за хвилину | 1900 рік | |
| при 200 оборотах планшайби за хвилину | 1300 | 2400 |
| при 250 оборотах планшайби за хвилину | 1000 | |
| Вертикальний супорт | ||
| Найбільше горизонтальне переміщення, мм | 775 | 950 |
| Найбільше вертикальне переміщення, мм | 700 | 700 |
| Найбільший кут повороту повзуна супорта, град | 45 | 45 |
| Ціна поділу лімба повороту повзуна супорта, хв | 1 | 1 |
| Ціна поділу шкали повороту повзуна супорта, град | 1 | 1 |
| Діаметр отворів револьверної головки супорта, мм | 70А | 70А |
| Найбільші розміри перерізу державки різця (ширина х висота), мм | 25 х 40 | 25 х 40 |
| Поперечина | ||
| Найбільше переміщення, мм | 660 | 660 |
| Швидкість переміщення, мм/хв | 400 | 400 |
| Механіка верстата | ||
| Число швидкостей планшайби | 18 | 18 |
| Число оборотів планшайби за хвилину | 5..250 | 5..250 |
| Кількість подач супортів | 18 | 18 |
| Швидкість робочої подачі супорта, мм/про | 0,01..40 | 0,01..40 |
| Найбільше можливе зусилля різання супортом, кгс | 4500 | 4500 |
| Швидкість настановних переміщень вертикального супорта, мм/хв. | 3000 | 3000 |
| Найбільший допустимий момент, що крутить, на планшайбі, Н*м | 11000 | 11000 |
| Привід та електроустаткування верстата | ||
| Рід струму живильної електромережі | Змінний трифазний | Змінний трифазний |
| Електродвигун приводу головного руху, кВт | 30 | 30 |
| Електродвигун настановних переміщень супорта, кВт | 3 | 3 |
| Електродвигун переміщення поперечки, кВт | 2 | 2 |
| Електродвигун мастила, кВт | 1,5 | 1,5 |
| Електродвигун повороту та затиску револьверної головки, кВт | 0,8 | 0,8 |
| Сумарна потужність всіх електродвигунів на верстаті, кВт | 38 | 38 |
| Габарит та маса верстата | ||
| Габарит верстата (довжина х ширина х висота), мм | 2920 х 3610 х 5615 | 3170 х 3810 х 5615 |
| Маса верстата, кг | 15500 | 19000 |
Каталог справочник токарно-карусельных верстатів
Паспорти та керівництва токарно-карусельних верстатів
Купити каталог, довідник, базу даних: Прайс-лист інформаційних видань