Розробником та виробником токарно-карусельного верстата 1541 та 1531М є Краснодарський верстатобудівний завод Сєдіна , заснований у 1911 році.
У 1915 році було випущено перший токарний верстат. У 1922 році підприємство отримало свою сучасну назву — на честь токаря Сєдіна Г. М.
У 1935 році був випущений перший токарно-карусельний верстат моделі 152, а до 1937 р. визначився пріоритетний профіль заводу - верстатобудування, і в першу чергу виробництво токарно-карусельних верстатів.
Одностоєчні токарно-карусельні верстати моделей 1541 та 1531М є універсальними верстатами та призначені для обробки різноманітних виробів з чорних та кольорових металів в умовах дрібносерійного та серійного виробництва.
На токарно-карусельному верстаті 1541 можна проводити циліндричне та конічне обточування та розточування, проточування площин, свердління, зенкерування та розгортання отворів, а також напівчистове та чистове обточування плоских торцевих поверхонь.
Верстат 1541 має два супорти: вертикальний з п'ятипозиційною револьверною головкою з автоматичним поворотом і фіксацією на кожній позиції та горизонтальний (бічний) з чотирипозиційним різцетримачом.
Технологічні можливості верстата значно розширюються за допомогою самоцентруючої планшайби, що поставляються за особливим замовленням, пристосувань (для різьбонарізання, обробки конічних поверхонь, обточування фасонних поверхонь тіл обертання по копіру, обробки деталей за упорами) і пристрої для обробки з охолодженням.
На верстатах 1541 можна виконувати такі операції:
Крім того, вертикальним супортом можна проводити обточування плоских торцевих поверхонь з підтримкою ступінчасто-постійної швидкості різання на чистових та напівчистових режимах; свердління, зенкерування та розгортання; прорізання канавок та відрізку.
При застосуванні спеціальних пристроїв та пристроїв, що поставляються разом із верстатами за особливим замовленням за окрему плату, на верстатах можна виготовляти:
У звичайному виконанні верстати поставляються з вертикальним револьверним супортом, що має механічний поворот і затискач револьверної головки, і бічним супортом.
Крім цього, за особливим замовленням за окрему плату може бути поставлений верстат із самоцентруючою планшайбою з ручним затиском виробу.
На верстаті одночасно можуть бути змонтовані всі пристрій, за винятком охолодження, яке не може бути встановлене одночасно з самоцентруючою планшайбою.
У зв'язку з тим, що установка пристроїв вимагає значних змін і доробок у верстаті, замовлення на виготовлення пристроїв до раніше поставлених верстатів не можуть бути виконані. Пристрої поставляються лише разом із верстатом.
Значна потужність електродвигуна головного приводу, висока жорсткість базових деталей і достатня міцність всіх елементів кінематичного ланцюга у поєднанні з широкими діапазонами регулювання чисел оборотів планшайби та величин подач дозволяють вести на верстатах високопродуктивну роботу на швидкісних режимах різання.

Габарит робочого простору токарно-карусельного верстата 1541

Габаритні розміри токарно-карусельного верстата 1541

Посадочні та приєднувальні бази карусельного верстата 1541

Розташування складових частинин токарно-карусельного верстата 1541
Розташування складових частинин токарно-карусельного верстата 1541. Дивитись у збільшеному масштабі

Розташування органів керування токарно-карусельним верстатом 1541
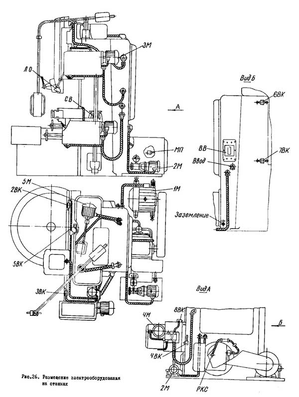
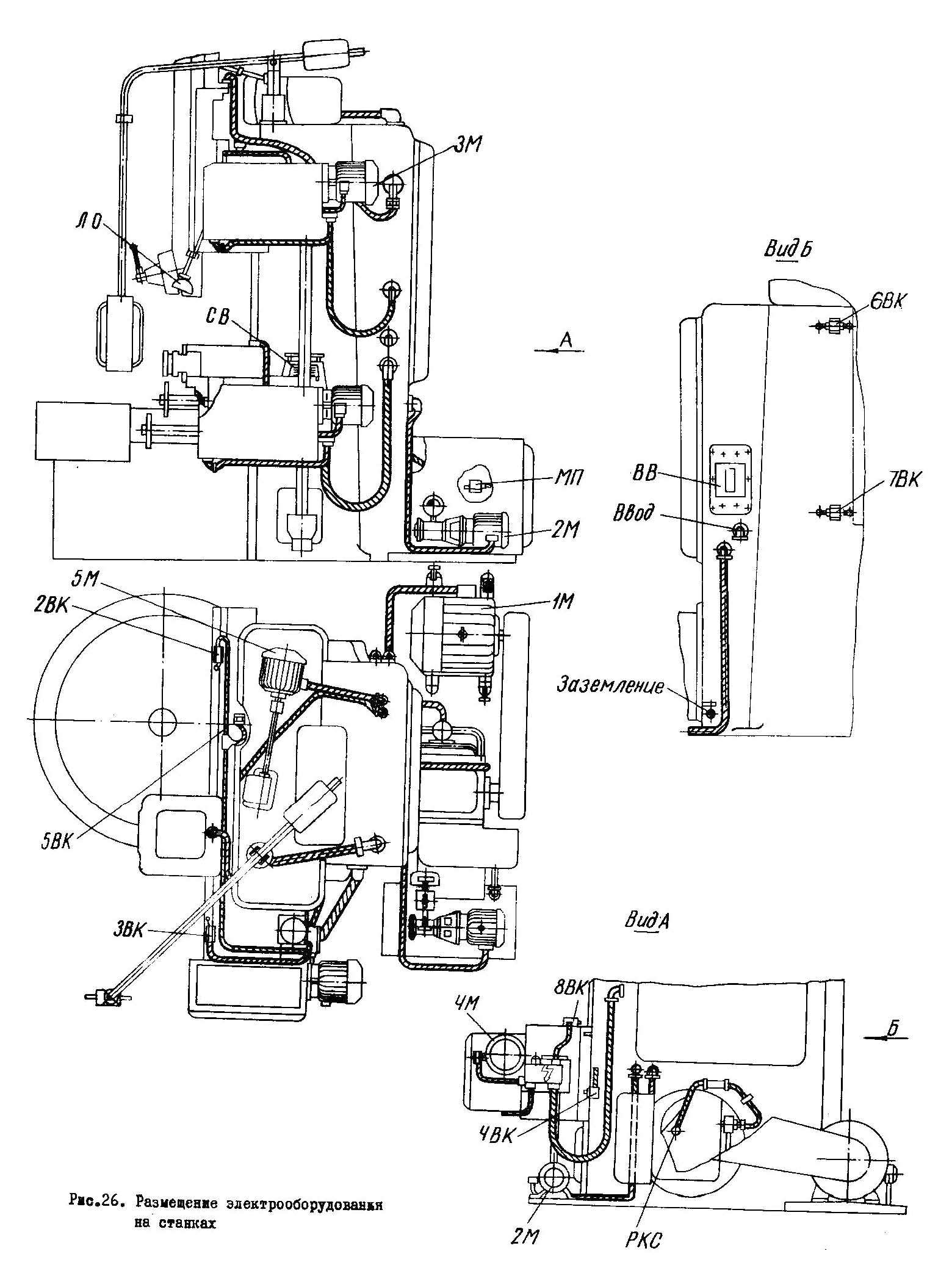
Електроустаткування верстатів складається з електродвигунів, електричних органів керування верстатом, кінцевих вимикачів для обмеження переміщень рухомих вузлів верстата та апаратури керування.
На верстатах 1531м та 1541 встановлено п'ять трифазних короткозамкнених асинхронних електродвигунів:
Все електрические органы керування і контроля - кнопки, переключатели, лампочки і т.п. - расположены на підвісному кнопочном пульті верстата, что централизует керування і тем самым значительно облегчает работу оператора на станке.
Аппаратура керування (панель верстата) размещается в нише станины, в задньої верхней її частини.
Електрична схема верстатів передбачає выполнение следующих циклов роботи:
Верстати випускаються з електрообладнанням на напругу.
На прохання замовника станок може бути виконаний і поставлений з електрообладнанням на необхідну напругу.
Підключення станка до електромережі здійснюється включенням вступного вимикача ВР, при цьому вся командна та пускова апаратура готується до роботи.
При натисканні на кнопку 2КУ "Пуск" подається напруга на котушки контакторів 1К і 2К і реле 1РВ. Контактор 1К увімкне електродвигун головного приводу 1М. Контактор 2К увімкне електродвигун насоса гідросистеми 2М.
Реле години 1РВ налаштовано на 2..3 хв. Якщо після закінчення години налаштування реле не буде включена планшайба, розімкнеться розмикаючий контакт реле години, і контактор 1К відключить електродвигун головного приводу. Одночасно відключиться і двигун насоса гідросистеми 2М. Для повторного увімкнення потрібно знову натиснути кнопку 2КУ.
Відключення електродвигателей головного приводу і насоса гідросистемы осуществляется нажатием на кнопку 1КУ "Стоп" головного привода.
Опис робота гідросхеми приведено в разделе "Гідрообладнання верстатів".
Перемикання чисел оборотів планшайби провадиться перемикачем У11, який має 18 позицій - за кількістю щаблів чисел оборотів планшайби. При установці перемикача у положення обраного ступеня готуються ланцюги проміжних реле 2РП, 5РП, 6РП та електромагнітів IIC, IIIC, IVС, VС, VІС чотириходових золотників Г73-21Н-II, III, IV, V, VI; потім при натисканні кнопки 2КУ одночасно з включенням двигуна головного приводу і двигуна насоса гідросистеми згідно з діаграмою ступенів включаються електромагніти. Гідравлічною системою здійснюється переміщення блоків шестерень коробки швидкостей у необхідне положення.
При натисканні на кнопку 4КУ "Пуск" планшайби вмикається реле 1РП, яке своїми контактами включить електромагніт 1С золотника Г73-21Н-І.
У момент розгону планшайби реле блокування РБ відключиться і своїми контактами, що розмикають, заблокує вмикаючи відповідно до встановленої діаграми реле, минаючи перемикач УП, і планшайба включиться на вибраному ступені чисел оборотів. Команду на увімкнення електромагнітів IIIC, IVС, відключення блокування реле та переведення схеми комутації реле на живлення через перемикач 7П для вибору нового ступеня подає реле контролю швидкості РКС, яке кінематично пов'язане з планшайбою. Реле блокування РБ і реле контролю швидкості РКС введені в електросхему верстата з метою предотобертання можливості перемикання швидкостей при планшайбі, що обертається.
Потрійний блок коробки швидкостей 5-6-7 (рис.12) може займати три положення: два крайні і одне середнє. В електросхемі передбачено блокувальне пристрій з мікроперемикачем МП, призначення якого запобігати можливості увімкнення планшайби, якщо фіксатор гідросистеми внаслідок неправильного регулювання "ловить" потрійний блок у середньому положенні при переході його з одного крайнього положення до іншого. Якщо переміщення потрійного блоку відбулося правильно і обороти планшайби відповідає обраним, то при відпусканні кнопки 4КУ електромагніт 1С залишиться включеним, і планшайба обертатиметься. При цьому має місце один із таких випадків:
Якщо один з електромагнітів 111C, 1УС знеструмлений, а кінцевий вимикач МП натиснутий, що буває при неправильному перемиканні потрійного блоку, електромагніт 1С не буде блокуватися (при відпусканні кнопки 4КУ знеструмиться). Внаслідок цього планшайба не включиться і для увімкнення її потрібно повторно натиснути на кнопку 4КУ.
Зупинка планшайбі здійснюється натисканням на кнопку 3КУ "Стоп" планшайби.
Різкий пуск та зупинка планшайби виробляються на двох нижніх щаблях чисел оборотів. Першим натисканням на кнопку 4КУ вмикається планшайба у нормальному режимі. Потім після відключення планшайби кнопкою 3КУ і наступним включенням кнопкою 4КУ отримаємо різкий пуск планшайби за рахунок відключення електромагніту УIIС.
При натисканні на кнопку 3КУ відбуватиметься різка зупинка планшайби.
Увімкнення і вимкнення рабочих подач супортів. Для увімкнення рабочей подачі необходимо прежде всего включить двигатель головного приводу і вращение планшайби (кнопки 2КУ і 4КУ); затем, після установки требуемой величины подачі рукоятками керування на коробке подач (см. раздел "Налаштування і наладка верстатів і режими різання"), нажать одну из кнопок направления руху - 7КУ, 8КУ, 9КУ, 10КУ для вертикального суппорта і 13КУ, 14КУ, 15КУ, 16КУ для бокового суппорта. При етом произойдет самоблокировка реле направления (P-I, Р-2, Р-3, Р-4, Р-5, Р-6, Р-7, Р-8) і включится одна из рабочих електромагнітних муфт (ЭM-1, ЭМ-2, ЭМ-3, ЭМ-4, ЭМ-5, ЭМ-6, ЭМ-7, ЭМ-8) при растормаживании тормозных муфт (MT-1, МТ-2, МТ-3, МТ-4).
Вимкнення робочої подачі здійснюється натисканням кнопки "Стоп" - 6КУ для вертикального супорту та 12КУ для бічного супорту.
Керування швидкими установочними переміщеннями супортів осуществляется кнопками 5КУ, 7КУ, 8КУ, 9КУ, 10КУ для вертикального суппорта 11КУ, 13КУ, 14КУ, 15КУ, 16КУ для бокового суппорта.
Кнопка 5КУ включає електродвигун швидких переміщень вертикального супорта 3М, кнопка 11КУ електродвигун швидких переміщень бокового супорта 4М. Для забезпечення швидкого ходу необхідно одночасно натискати дві кнопки - кнопку швидкого ходу (5КУ, 11КУ) і кнопку напрямку руху. Рух триває доти, доки натиснуті обидві кнопки. У разі відпускання однієї з кнопок швидке переміщення припиниться.
У разі звільнення обох кнопок швидке переміщення припиниться з короткочасним гальмуванням через реле години (3РВ, 4РВ). Реле години налаштовано на час 3 сек, після якого відбудеться розгальмовування гальмівних електромагнітних муфт, що необхідно для ручних переміщень супортів.
При горизонтальному переміщенні вертикального супорта обмеження переміщень супортів здійснюється кінцевими вимикачами 2BK, 3ВК, при переміщенні бокового супорта вниз - кінцевим вимикачем 4ВК, при переміщенні вгору - кінцевим вимикачем зближення бокового супорта з поперечкою 8ВК. Переміщення повзуна вертикального супорта обмежене кінцевими вимикачами 9ВК, 10ВК; повзуна бокового супорта - кінцевими вимикачами 11BK, 12BK.
Переміщення поперечки здійснюється електродвигуном підйому та опускання поперечки 5М. При натисканні на кнопку 17КУ "Вгору" включиться електродвигун насоса гідросистеми та електромагніт звільнення поперечини ЕМ. Після звільнення поперечини спрацьовує кінцевий вимикач 5ВК, тобто. його контакти, що розмикають, відкриті при затиснутій поперечці, закриваються і включається контактор 5КВ, що здійснює переміщення поперечини вгору. При відпусканні кнопки 17КУ відключається контактор 5КВ, і переміщення поперечини припиняється, після чого відбувається автоматичний затискач поперечини.
При натисканні на кнопку 18КУ "Вниз" спрацьовує контактор 5КН і поперечина отримує переміщення вниз. Цикл спрацьовування апаратів повторюється у порядку, зазначеному для підйому.
Обмеження переміщень поперечини здійснюється кінцевими вимикачами: при переміщенні вгору - кінцевим вимикачем 6ВК, при переміщенні вниз - 7ВК або 8ВК кінцевим вимикачем зближення поперечини з бічним супортом.
Захист електроустаткування верстатів від струмів короткого замикання та перевантаження забезпечується автоматичним вимикачем ВВ, плавкими запобіжниками 2П, 6П, 7П, 8П та тепловими реле 1РТ, 2РТ, 25РТ.
Мінімальний захист електродвигунів забезпечується магнітними пускачами.
Забарвлення дротів або поліхлорвінілових трубочок на кінцях дротів:
Монтаж електроустаткування може производиться одновременно з монтажом верстата или після него. Порядок монтажа следущий:
Експлуатація електроустаткування верстатів повинна проводитись відповідно до вимог "Правил пристроїв електроустановок міністерства електростанцій СРСР" (Енерговидав, останнє видання) та "Правил технічної експлуатації електроустановок промислових підприємств Державної інспекції з променергетики та енергонагляду при ЇХ СРСР" (Енерговидав).
При експлуатации верстата следует регулярно производить очистку електродвигателей і електро-

Схема розміщення електроустаткування на токарно-карусельном верстате 1531м і 1541
| Найменування параметру | 1531 м. вул | 1541 рік |
|---|---|---|
| Основні параметри | ||
| Найбільший діаметр виробу, що обробляється вертикальним супортами, мм. | 1250 | 1600 |
| Найбільший діаметр виробу, що обробляється бічними супортами, мм. | 1120 | 1400 |
| Найбільша висота виробу, що обробляється, мм | 1000 | 1000 |
| Діаметр планшайбі, мм | 1120 | 1400 |
| Найбільша маса виробу, що встановлюється, при 6,3..160 оборотах планшайбі за хвилину. | 3200 | - |
| Найбільша маса виробу, що встановлюється, при 4..63 оборотах планшайбі за хвилину. | - | 5000 |
| Вертикальний супорт | ||
| Найбільше горизонтальне переміщення, мм | 825 | 1000 |
| Найбільше вертикальне переміщення, мм | 700 | 700 |
| Цена деления лимба горизонтального і вертикального переміщення, мм | 0,05 | 0,05 |
| Горизонтальне та вертикальне переміщення за один оберт лімба, мм | 6 | 6 |
| Швидкість швидкого горизонтального та вертикального переміщення (Швидкість настановних переміщень), м/хв | 2,2 | 2,2 |
| Найбільший кут повороту повзуна супорта, град | 45 | 45 |
| Ціна поділу лімба повороту повзуна супорта, хв | 1 | 1 |
| Ціна поділу шкали повороту повзуна супорта, град | 1 | 1 |
| Діаметр отворів револьверної головки супорта, мм | 70А | 70А |
| Найбільші розміри перерізу державки різця (ширина х висота), мм | 25 х 40 | 25 х 40 |
| Кількість позицій револьверної головки | 5 | 5 |
| Наличие выключающих упоров горизонтального і вертикального переміщення, мм | Є | Є |
| Горизонтальний суппорт (бічний) | ||
| Найбільше горизонтальне переміщення, мм | 630 | 630 |
| Найбільше вертикальне переміщення, мм | 970 | 970 |
| Цена деления лимба горизонтального і вертикального переміщення, мм | 0,05 | 0,05 |
| Горизонтальное і вертикальное переміщення за один оборот лимба, мм | 2,5 | 2,5 |
| Швидкість швидкого горизонтального та вертикального переміщення (Швидкість настановних переміщень), м/хв | 2,2 | 2,2 |
| Наличие выключающих упоров горизонтального і вертикального переміщення, мм | Є | Є |
| Найбільші розміри державки різця, мм | 25 х 40 | 25 х 40 |
| Кількість різців одночасно встановлюються в різцетримач бічного супорта | 4 | 4 |
| Поперечина | ||
| Найбільше переміщення, мм | 620 | 620 |
| Швидкість настановних переміщень, м/хв | 4 | 4 |
| Вимикаючі упори | Є | Є |
| Блокування переміщення у процесі різання | Є | Є |
| Механіка верстата | ||
| Число швидкостей планшайби | 18 | 18 |
| Число оборотів планшайби в минуту | 6,3..315 | 4..200 |
| Число подач супортів | 18 | 18 |
| Вертикальные і горизонтальные подачі супортів, мм/об | 0,04..16 | 0,04..16 |
| Найбільше можливе зусилля різання вертикальним супортом, кгс | 2800 | 2800 |
| Найбільше можливе зусилля різання горизонтальним супортом, кгс | 2240 | 2240 |
| Найбільше можливе зусилля різання двома супортами, кгс | 4500 | 4500 |
| Привід і електрообладнання верстата | ||
| Кількість електродвигунів на машину | 5 | 5 |
| Електродвигун приводу головного руху, кВт | ||
| Електродвигун настановних переміщень вертикального супорта, кВт | ||
| Електродвигун настановних переміщень горизонтального супорта, кВт | ||
| Електродвигун переміщення поперечки, кВт | ||
| Електродвигун насоса гідросистеми, кВт | ||
| Габарит та маса верстата | ||
| Габарит верстата (довжина х ширина х висота), мм | 3050 х 3117 х 4140 | 3380 х 3240 х 4140 |
| Маса верстата, кг | 14150 | 17800 |