Виробником радіально-свердлильного верстата 2М58 є Іванівський завод важкого верстатобудування , заснований у 1953 році.
21 листопада 1958 року введено в експлуатацію першу чергу Іванівського заводу розточувальних верстатів. У 1958 році було налагоджено випуск вузлів та комплектуючих для ленінградського верстатобудівного Заводу імені Свердлова. Згодом, на заводі було розпочато випуск простих горизонтально-розточувальних верстатів за кресленнями того самого заводу. Оснастивши виробництво необхідною базою, верстатобудівники перейшли на виробництво складнішої продукції - обробних центрів (ОЦ).
Радіально-свердлильний верстат моделі 2М58 (рік прийняття до серійного виробництва 1975 р.) замінив застарілу модель верстата цієї ж серії 2К58.
Свердлильний верстат 2М58 розрахований на свердління сталі отворів діаметром до 50 мм свердлами середньої твердості (межа міцності при розтягуванні σ = 55..65 кг/мм²).
Верстат 2М58 призначений для обробки отворів у великих корпусних деталях і використовується в одиничному, дрібносерійному та середньосерійному виробництві.
На верстаті 2М58 можна проводити: свердління в суцільному матеріалі, зенкерування, розгортання, нарізання різьблення мітчиками, розточування отворів, підрізування торців.
При оснащенні верстата 2М58 пристроями та спеціальними інструментами його можна використовувати як вертикально-розточувальний для обробки отворів у корпусних деталях.
Підставою верстата 2М58 є фундаментна плита, на якій кріпиться внутрішня нерухома колона. На останній обертається поворотна частинина верстата, що складається із зовнішньої гільзи і рукава з свердлильною головкою, що переміщається по його напрямним. Рукав переміщається зовнішньою гільзою за допомогою механізму підйому.
Затискання рукава на колоні проводиться автоматично після закінчення його підйому або опускання.
Затискання гільзи на колоні здійснюється гідравлічним механізмом.
Встановлена на рукаві головка свердлильна є самостійним силовим агрегатом і може переміщатися вздовж рукава вручну або механічно. Свердлильна головка містить коробку швидкостей і подач, механізм подачі, свердлильний шпиндель.
Особливістю верстата є наявність у ньому преселективного гідравлічного керування швидкостями та подачами.
Коригований рівень звукової потужності LpA не перевищує 102 дБА.
Клас точності верстата - Н за ГОСТ 8-77.
Категорія якостей верстата — 1.
Рік прийняття верстата до серійного виробництва - 1975.
Проектна організація - Спеціальне конструкторське бюро розточувальних верстатів, м. Іваново.
Синоніми: radial drilling machine.
Переміщення по площині столу великогабаритних та важких деталей викликає великі незручності та втрату часу. Тому при обробці великої кількості отворів у таких деталях застосовують радіально-свердлувальні верстати. При роботі на них деталь залишається нерухомою, а шпиндель зі свердлом переміщається щодо деталі та встановлюється у потрібне положення.
Свердлильні верстати призначені для свердління, зенкування, зенкерування, розгортання отворів, для підрізання торців виробів та нарізування різьблення мітчиками. Застосовуються вони в основному в одиничному та дрібносерійному виробництві, а деякі модифікації цих верстатів – в умовах масового та великосерійного виробництва.
Основними формоутворюючими рухами при свердлильних операціях є:
Кінематичні ланцюги, що здійснюють ці рухи, мають самостійні органи налаштування i v і i s за допомогою яких встановлюється необхідна швидкість обертання інструменту і його подача.
До допоміжних рухів відносяться:
Основними вузлами радіально-свердлильних верстатів є:
Основними параметрами верстата є найбільший діаметр свердління отвору сталі, виліт і максимальний хід шпинделя.

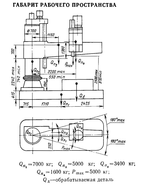
Габарит робочого простору радіально-свердлувального верстата 2М58-1.

Посадочні місця та приєднувальні розміри свердлильного верстата 2М58-1

Фото радіально-свердлувального верстата 2М58-1.

Фото радіально-свердлувального верстата 2М58-1.

Фото радіально-свердлувального верстата 2М58-1.

Настановне креслення радіально-свердлувального верстата 2М58

Габаритне креслення радіально-свердлувального верстата 2М58
| Найменування параметру | 2М58-1 | |
|---|---|---|
| Основні параметри верстата | ||
| Клас точності верстата | Н | |
| Найбільший умовний діаметр свердління сталі 45, мм | 100 | |
| Найбільший умовний діаметр свердління в чавуні, мм | ||
| Діапазон нарізання різьблення в сталі 45, мм | ||
| Відстань від осі шпинделя до напрямної колони (виліт шпинделя), мм | 500..3150 | |
| Найбільше горизонтальне переміщення свердлильної головки по рукаву, мм | 2650 | |
| Найменша та найбільша відстань від торця шпинделя до плити, мм | ||
| Найбільше вертикальне переміщення рукава по колоні (настановне), мм | 1500 | |
| Найбільше осьове переміщення пінолі шпинделя (хід шпинделя), мм | 630 | |
| Кут повороту рукава навколо колони, град | 360 | |
| Розмір поверхні плити (ширина довжина), мм | ||
| Найбільша маса інструменту, що встановлюється на верстаті, кг | ||
| Шпиндель | ||
| Діаметр гільзи шпинделя, мм | ||
| Позначення кінця шпинделя за ГОСТ 24644-81 | Морзе 6 | |
| Частота прямого обертання шпинделя, об/хв | 12; 12; 15; 16; 20; 25; 31,5; 40; 50; 63; 80; 100; 125; 160; 200; 250; 315; 400; 500; 630; 800; 1000; 1250 | |
| Кількість швидкостей шпинделя прямого обертання | 22 | |
| Частота зворотного обертання шпинделя, об/хв | ||
| Кількість швидкостей шпинделя зворотного обертання | ||
| Межі робочих подач на один оборот шпинделя, мм/об | 0,063; 0,08; 0,10; 0,125; 0,16; 0,20; 0,25; 0,315; 0,40; 0,50; 0,63; 0,80; 1,25; 1,60; 2,00; 2,5; 3,15 | |
| Число ступенів робочих подач | 18 | |
| Межі робочих подач на один оборот шпинделя при нарізанні різьблення, мм | ||
| Переміщення шпинделя на один поділ лімба, мм | ||
| Переміщення шпинделя на оборот лімба, мм | ||
| Найбільший допустимий момент, що крутить, кгс * см | 280 | |
| Найбільше зусилля подачі, кгс | 5000 | |
| Затискач обертання колони | Гідр | |
| Затискач рукава на колоні | Електричний | |
| Затискач головки на рукаві | Гідр | |
| Електроустаткування. Привід | ||
| Кількість електродвигунів на верстаті | ||
| Електродвигун приводу головного руху, кВт | 13 | |
| Електродвигун приводу переміщення рукава, кВт | 3,0 | |
| Електродвигун гідронасосу колони, кВт | 0,75 | |
| Сумарна потужність встановлених електродвигунів, кВт | ||
| Габарити та маса верстата | ||
| Габарити верстата (довжина ширина висота), мм | 4850 х 1830 х 4885 | |
| Маса верстата, кг | 18000 |