metalinstryment.com
Довідник по металорізальних верстатів та пресовому обладнанні

ИР-500 Верстат горизонтальный фрезерный многоцелевой (горизонтальный обрабатывающий центр)
схеми, опис, характеристики

ИР-500 Верстат фрезерный горизонтальный многоцелевой з ЧПУ







Відомості про виробника горизонтального обрабатывающего центра ИР-500

Изготовителями сверлильно-фрезерно-расточных верстатів - горизонтальных обрабатывающих центров з инструментальным магазином барабанного (револьверного) типа ИР-500 (ИР-500МФ4, ИР-500ПМФ4) были Ивановский завод тяжелого станкостроения і Гомельский станкостроительный завод им. С. М. Кирова, СтанкоГомель.

Сегодня Ивановский завод тяжелого станкостроения выпускает і предлагает к продаже более совершенные высокоточные обрабатывающие центры ИС-500 (ИС-500ПМФ4, ИСБ500ПМФ4), а также высокоскоростные, тяжелые обрабатывающие центры з грузоподъемностью стола до 25 тонн.

Гомельский станкостроительный завод в 80-е годы завод освоил производство многооперационных верстатів з ЧПУ вертикального і горизонтального исполнения. Основная специализация завода: вертикальные і горизонтальные обрабатывающие центры з базовыми размерами стола 500х500 мм.

Сегодня Гомельский станкостроительный завод выпускает обрабатывающие центры ГДН-500, ГДН-630 з инструментальным магазином барабанного (револьверного) типа.





Верстати производства Ивановского завода тяжелого станкостроения ИЗТС


ИР-500 Верстат многоцелевой горизонтально-фрезерный обрабатывающий центр. Назначение, область применения

ИР-500 сверлильно-фрезерно-расточной верстат з числовым программным керуванням (ЧПУ), автоматичною сменой инструмента (АСИ) і сменой обрабатываемых деталей предназначен для высокопроизводительной обробки корпусных деталей массой до 700 кг из конструкционных материалов от легких сплавов до высокопрочных сталей.

Широкий диапазон частоти обертання шпинделя і швидкостей подач позволяет производить сверление, зенкерование, развертывание, растачивание точных отверстий, связанных координатами, фрезерование по контуру з линейной і круговой интерполяцией, нарезание різьби метчиками.

Принцип роботи і особливості конструкції верстата ИР-500

Наличие поворотного стола, устанавливаемого з високою точностью (±5 з через 5°), расширяет технологические возможности верстата, позволяет обрабатывать соосные отверстия консольным инструментом.

Повышенная степень точності верстата ИР-500 - (класс П), обеспечивает обработку отверстий по 7, 8 квалитетам точності з шероховатостью поверхности Ra 2,5 мкм.

Высокая степень автоматизации вспомогательных функций верстата ИР-500 включает автоматическую смену инструмента і обрабатываемых деталей, позволяет встраивать его в автоматическую линию з керуванням от ЭВМ.

Все вузли верстата ИР-500 смонтированы на жесткой Т-образной станине, которая является общим основанием.

Лобовая бесконсольная шпиндельна бабка расположена внутри портальной стойки.

Пристрій автоматичною смены инструмента з инструментальным магазином барабанного типа монтируется на верхнем торце стойки.

Все базовые детали имеют обребренную конструкцию і обеспечивают максимальную жесткость і виброустойчивость при высокопроизводительной обработке, гарантируют длительное сохранение точності.

Жесткий шпиндель з диаметром под передним подшипником 105 мм і конусом № 50 изготовлен из цементированной стали з високою поверхностной твердостью (HRC 62). Шпиндель монтируется в отдельном корпусе на прецизионных роликовых і упорно-радиальном шариковом підшипниках, что обеспечивает оптимальную точность, жесткость і виброустойчивость.

Гідромеханическое пристрій зажиму инструмента в шпинделе гарантирует надежность і быстродействие крепления режущего инструмента з усилием 1250 кг.

Привід шпинделя верстата осуществляется двухступенчатой коробкой швидкостей от електродвигуна постоянного тока мощностью 14 кВт. В диапазоне 21 — 174 об/мин на шпинделе обеспечивается постоянный момент, а в диапазоне 182...3000 об/мин — постоянная мощность.

Автоматическая ориентация шпинделя з керуванням от ЧПУ і механической фиксацией расширяет технологические возможности верстата, позволяет производить целую серию технологических циклов, в которых необходимо отвести різець от рабочей поверхности, не повреждая изделие.

Перемещение подвижных вузлів по осям X, У, Z осуществляется от высокомоментных електродвигателей з постоянными магнитами, которые через упругие муфты високою жесткости непосредственно соединены з прецизионными шариковыми винтовыми парами, обладающими нагрузочной способностью, жесткостью і долговечностью.

Силовое удержание вузлів при резании осуществляется следящим приводом, что исключает необходимость применения зажимных устройств.

Совершенные електроприводы подач обеспечивают постоянное (до 0,2 с) время разгона і торможения, а, следовательно, і минимальное время обробки запрограммированных перемещений.

Позиционирование осуществляется одновременно по трем координатным осям X, Y, Z.

В подвижных вузлах верстата применена система комбинированных направляючих, состоящих из прецизионных роликовых опор качения, установленных з предварительным натягом, і антифрикционного полимерного материала, обладающего низким коеффициентом трения і високою демпфирующей способностью, что гарантирует высокую точность позиционирования, устойчивость верстата при резании на максимальных режимах обробки. Направляющие изготовлены из высококачественной закаленной стали і отшлифованы з високою точностью і чистотой поверхности.

Телескопическая защита, установленная на всех координатных переміщеннях, надежно защищает направляющие і шариковые винтовые пары от попадания стружки і смазочно-охлаждающей жидкости і обеспечивает длительное сохранение точності верстата. Непосредственно шариковые винты і накладные направляющие снабжены специальными средствами для защиты их от попадания стружки і грязи.

Встроенный поворотный индексируемый стол перемещается по отдельной станине, которая крепится на общем основании (станине верстата).

Поворотный стол имеет 72 позиции через 5°. Установка стола происходит в автоматическом режиме.

Применение в качестве индексирующего елемента специальной муфты з торцовыми зубьями в сочетании з гідравлическим пристрійм зажиму стола гарантирует точность поворота і надежность фиксации.

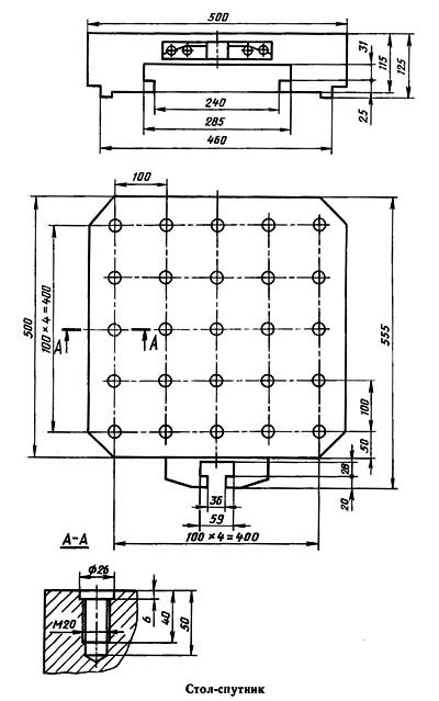
Для установки і крепления деталей на поверхности плиты-спутника имеется сетка для резьбовых отверстий.

Пристрій автоматичною смены инструментов, расположенное вне рабочей зоны, состоит из вращающегося инструментального магазина барабанного типа з кодированными гнездами емкостью на 30 инструментов і манипулятора.

Выбор инструмента в любой післядовательности з післядующей гідромеханической фиксацией инструментального магазина осуществляется во время механической обробки.

Цикл смены инструмента происходит в следующем порядке:

  1. Магазин поворачивается для поиска инструмента
  2. Манипулятор делает рух вверх, захватывает инструмент за оправку и, выдвигаясь вдоль оси, вытаскивает оправку из гнезда, затем перемещается вниз і назад вдоль оси
  3. Шпиндельная бабка движется вверх в позицию смены инструмента, автооператор в кінці ходу захватывает отработавший инструмент
  4. Происходит смена инструмента, для етого оператор совершает ход вперед, поворот на 180°, ход назад
  5. Шпиндельная бабка опускается в рабочую позицию, а автооператор переносит отработавший инструмент в свое гнездо магазина
  6. Автооператор опускается, чтобы не мешать повороту магазина при поиске следующего инструмента

Так как основная часть перечисленных действий происходит во время обробки, то непосредственно на смену инструмента в шпинделе затрачивается 6 с.

Магазин получает вращение от высокомоментного електродвигуна М4 (N=2,8 кВт, n = 1500 мин-1) з возбуждением от постоянных магнитов через зубчатую пару.

Номера гнезд магазина закодированы; в корпусе магазина установлены упоры, воздействующие на конечные выключатели, осуществляющие отсчет поворота при поиске необходимого гнезда.

Двухзахватный автооператор имеет механізмы поворота, вертикального переміщення і выруху, работающие от гідросистемы верстата (соответствующие гідроциліндри на схеме не показаны). Поворот происходит от реечной передачи m=3 мм. Контроль крайних положений сборочных единиц і керування циклом автоматичною смены инструментов осуществляется бесконтактными конечными выключателями.

Пристрій смены стола-спутника. Автоматическая смена плит-спутников обеспечивает работу верстатів в автоматическом режиме, исключая из технологического цикла обробки время на установку і снятие деталей.

Накопитель столов-спутников. Отдельно стоящее гідромеханическое поворотное (на 180°) пристрій, установленное у верстата справа, служит для загрузки-розвантаження, ориентации і фиксации плиты-спутника на поворотном столе верстата.

Работа гідравлических механізмов на станке обеспечивается аксиально-поршневым насосом переменной производительности з автоматическим регулюванням расхода масла (Qmax=46 л/мин, Рmax = 60 кг/см²), что гарантирует быстродействие исполнительных органів (автоматичною смены инструментов) і уменьшает нагрев рабочей жидкости.

Керування гідроцилиндрами всех рабочих органів вспомогательных движений производится при помощи блочной гідроапаратури.

В гідросистеме верстата встроен гадроаккумулятор з еластичным мешком, что обеспечивает уравновешивание шпиндельной бабки. Масло гідросистемы охлаждается в теплообменнике з воздушным охолодженням.

Пневмоистема верстата предназначена для обдува воздухом конусов, шпинделя і инструмента, базовых платиков поворотного стола і базовых поверхностей столов-спутников при их автоматичною смене. Работа пневмосистемы осуществляется автоматически з керуванням от системы ЧПУ переключением воздухораспределителей.

Смазка всех трущихся деталей верстата і підшибників шпинделя — автоматическая централизованная дозированная от отдельной установки; шестерен і підшибників головного приводу — непрерывная циркуляционная от отдельного насоса, расположенного в гідростанції.

В станке предусмотрены подача жидкой і распыленной смазочно-охлаждающей жидкости в зону різання і сток в отдельно стоящий бак по сигналу з ЧПУ. Зона різання имеет ограждение для защиты оператора і окружающей среды от разбрызгивания емульсии.

Пристрій автоматичною уборки стружки исключает затраты робочого часу на уборку стружки вручную і облегчает условия труда робочого-станочника.

По особому заказу за отдельную плату верстати изготовляются по классу точності А ОСТ2 Н72-6— 81.

Категория качества — высшая.

Разработчик — Ивановское СКБ расточных верстатів.


Основні характеристики многоцелевого горизонтально-фрезерного обрабатывающего центра ир-500

Производитель: Ивановский завод тяжелого станкостроения.


Модифікації горизонтального обрабатывающего центра ИР-500

ИР-500МФ4 – Верстат фрезерный горизонтальный многоцелевой з ЧПУ і АСИ, класс точності Н

ИР-500ПМФ4 – Верстат фрезерный горизонтальный многоцелевой з ЧПУ і АСИ, класс точності П

ИР-500ПМ1Ф4 — Верстат фрезерный горизонтальный многоцелевой з индексируемым столом і многоместным накопителем столов-спутников і пристрійм автоматичною установки их на стол верстата.

ИР-500ПМ1Ф4-01 — Верстат фрезерный горизонтальный многоцелевой з непрерывной круговой подачей стола і многоместным накопителем столов-спутников і пристрійм автоматичною установки их на стол верстата.

ИР-500ПМФ4-29 — Верстат фрезерный горизонтальный многоцелевой з двухместным накопителем столов-спутников і з верхним пределом оборотів шпинделя до 5300...7000 об/мин;

ИР-500ПМ1Ф4-29 — Верстат фрезерный горизонтальный многоцелевой з восьмиместным накопителем столов-спутников і верхним пределом оборотів шпинделя до 5300...7000 об/мин.


Верстати многоцелевые - обрабатывающие центры. Загальні відомості

Синонимы: многоцелевой верстат, многооперационный верстат, обрабатывающий центр, сверлильно-фрезерно-расточной верстат з ЧПУ і АСИ, фрезерный горизонтальный обрабатывающий центр, верстат горизонтально-фрезерный з ЧПУ і АСИ, Machining Center, Horizontal boring and milling center for cubical workpieces, Special purpose machining center, High speed machining center (HSC)

Многоцелевой (многооперационный) верстат — ето верстат для комплексной обробки заготовок з числовым программным керуванням і автоматичною сменой инструментов.

Многим специалистам нравится название — обрабатывающий центр (ОЦ). Аналогичные термины используют за рубежом.

Кроме многоцелевых, существуют і другие верстати з ЧПУ з автоматичною сменой режущих инструментов, которые не называют многооперационными. В чем же различие между ними.

Многооперационные верстати отличаются особо високою кінцінтрацией обробки. На них производят черновую, получистовую і чистовую обработку сложных корпусных заготовок, содержащих десятки обрабатываемых поверхностей, выполняют самые разнообразные технологические переходы: фрезерование плоскостей, уступов, канавок, окон, колодцев; сверление, зенкерование, развертывание, растачивание гладких і ступенчатых отверстий; растачивание отверстий инструментами з тонким регулюванням на размер; обработку наружных і внутренних поверхностей і др. Для осуществления етих операций на станке необходимо мати большой запас металлорежущих инструментов. У верстатів з ЧПУ і автоматичною сменой инструментов запас инструментов создается обычно в револьверних головках. Среди них фрезерные і сверлильные верстати, предназначенные для изготовления головним образом таких корпусных і плоскостных деталей, для обробки которых достаточно мати 5—10 различных инструментов. Многооперационные верстати имеют инструментальные магазины з запасом в 15-30, а при необходимости в 50—100 і более инструментов.

Еще одна важная особенность большинства многооперационных верстатів — наличие поворотного стола или делительного приспособления з периодическим или непрерывным (по программе) делением. Это обязательное условие для обробки заготовки з нескольких сторон без переустановки. МС новых конструкций оснащают дополнительными столами і пристроями для автоматичною смены заготовок. Заготовки предварительно закрепляют на столе-спутнике, і вместе з ним они попадают з дополнительного стола на основной. Установку заготовки в спутник і снятие обработанной детали производят во время роботи верстата. Таким образом, вспомогательное время, затрачиваемое на загрузку — разгрузку верстата, сводится к минимуму.

Многооперационные верстати имеют чаще всего контурную или универсальную систему керування, позволяющую обрабатывать разнообразные криволинейные поверхности, фрезеровать отверстия і т.д. МС отличаются широким диапазоном бесступінчастого регулювання частоти обертання шпинделя (заготовки) і подач, высокими (8—12 м/мин) скоростями быстрых (вспомогательных) ходов, особо високою жесткостью і надежностью.

В связи з високою стоимостью многооперационных верстатів их используют для обробки наиболее технологически сложных заготовок. В етих случаях один многоцелевой верстат може заменить три — п'ять верстатів з ЧПУ или п'ять — десять универсальных верстатів.


Габарит робочого простору верстата ИР-500

Габарит робочого простору многоцелевого верстата з ЧПУ і АСИ ИР-500

Габаритные розміри робочого простору верстата ир-500


Посадочные і присоединительные базы верстата ИР-500. Шпиндель

Габарит робочого простору многоцелевого верстата ИР-500

Кінець шпинделя многоцелевого верстата ир-500


Посадочные і присоединительные базы верстата ИР-500. Стол-спутник

Стол-спутник. Посадочные і присоединительные базы сверлильно-фрезерно-расточного верстата ИР-500

Стол-спутник многоцелевого верстата ир-500


Загальний вигляд многоцелевого верстата з ЧПУ ИР-500

ИР-500 Загальний вигляд  многоцелевого обрабатывающего центра з ЧПУ і АСИ

Фото многоцелевого верстата ир-500

Фото многоцелевого верстата ир-500 (ИР-500ПМФ4, ИР500ВМФ4)). Дивитись у збільшеному масштабі



ИР-500 Загальний вигляд  многоцелевого обрабатывающего центра з ЧПУ і АСИ

Фото многоцелевого верстата ир-500


ИР-500 Загальний вигляд  многоцелевого обрабатывающего центра з ЧПУ і АСИ

Фото многоцелевого верстата ир-500


Инструментальный магазин і манипулятор многоцелевого верстата з ЧПУ ИР-500

ИР-500 Инструментальный магазин і манипулятор многоцелевого верстата

Инструментальный магазин і манипулятор многоцелевого верстата ир-500


Розташування складових частин многоцелевого горизонтального фрезерного центра ИР-500

ИР 500 Розташування складових частин сверлильно-фрезерно-расточного верстата з ЧПУ і АСИ

Розташування складових частин фрезерного центра ир-500


Список складових частин горизонтального фрезерного центра ИР-500

  1. Пристрій автоматичною смены столов-спутников - 500МФ4.602.001
  2. Шпиндельная бабка - 500МФ4.201.001
  3. Стол - 500МФ4.401.001
  4. Манипулятор (автооператор) - 500МФ4.501.001
  5. Инструментальный магазин - 500МФ4.502.001
  6. Стойка - 500МФ4.301.001
  7. Станина - 500MФ4.101.001




Гідравлическое обладнання горизонтального фрезерного центра ИР-500

Гідравлическое обладнання. Гідростанція, гідродвигатели, распределительная і регулирующая аппаратура верстата ИР-500МФ4 выполняют наступні функции:

В гідростанції имеются насос для живлення гідродвигателей (поршневых гідроцилиндров), насос для циркуляционной змазки головного привода, агрегатная установка для автоматичного централизованного смазывания направляючих, теплообменник для охлаждения масла, циркулирующего в гідросистеме.


Пульт керування горизонтального фрезерного центра ИР-500

ИР 500 Пульт керування сверлильно-фрезерно-расточного верстата з ЧПУ і АСИ

Пульт керування горизонтального фрезерного центра ир-500


Пульт керування многооперационного центра ИР-500

Пульт керування представляет собой выносную панель, функционально разделенную на две частини:

В верхней частини пульта ЧПУ расположен дисплей, используемый для отображения информации. Основная часть пульта ЧПУ отведена под клавиатуру, которая служит для составления і редактирования управляющих программ і подпрограмм, задания координат, ввода системных параметров, значений корректоров, выбора режима і керування дисплеем. Назначение кнопок "СПЕЦ" і "ПС" оговорено особо в разделах "Редактор УП" і "Перфолента".

В нижней частини пульта ЧПУ расположены 8 кнопок керування "Редактором", а также кнопки "Индикация" - для керування индикацией і "Режим" - для керування режимами роботи верстата.

Станочный пульт керування многооперационного центра ИР-500

В правой частини станочного пульта ЧПУ расположены переключатели коррекции:

Кнопки і переключатели станочного пульта имеют следующее назначение:

Список органів керування панелі головного пульта

  1. переключатель "увімкнення верстата"
  2. переключатель з ключом "шунтирование аварийных конечных выключателей"
  3. переключатель з ключом "блокировка независимого расланцюгителя"
  4. кнопка "аварийный останов"
  5. кнопка "запрет редактирования" (5)




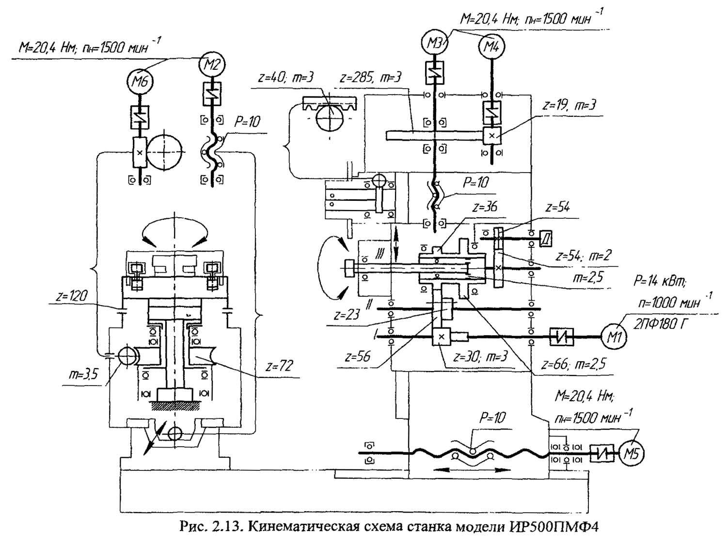
Кінематична схема многоцелевого верстата ИР-500ПМФ4 (ИР500ВМФ4)

ИР-500ПМФ4 (ИР500ВМФ4) Кінематична схема многоцелевого верстата з ЧПУ і АСИ

Кінематична схема горизонтального фрезерного центра ир-500

Схема кінематична многоцелевого верстата ИР-500ПМФ4 (ИР500ВМФ4). Дивитись у збільшеному масштабі



ИР-500ПМФ4 (ИР500ВМФ4) Кінематична схема многоцелевого верстата з ЧПУ і АСИ

Кінематична схема горизонтального фрезерного центра ир-500

Схема кінематична многоцелевого верстата ИР-500ПМФ4 (ИР500ВМФ4). Дивитись у збільшеному масштабі



Шпиндельная бабка з мощным шпинделем размещена не сбоку, как у горизонтально-расточного верстата, а в проеме стойки. Бабка перемещается вертикально по направляющим, охватывающим її з двух боковых сторон. Такая компоновка, сочетающаяся з массивной, усиленной ребрами жесткости стойкой портального типа, обеспечивает высокую жесткость шпиндельного вузла і точность его линейных перемещений. Вращение шпинделя осуществляется от електродвигуна M1 постоянного тока. Изменение частоти обертання шпинделя обеспечивается регулюванням двигуна і двухступенчатой коробкой швидкостей. Для переключения механических диапазонов служит подвижный блок зубчатых колес z=23 і z=56, который може входить в зацепление з шестернями z=36 или z=66, закрепленными на общей ступице і связанными со шпинделем зубчатой муфтой, размещенной в отверстии ступицы. Подвижный блок може занимать два положения, соответствующие первому і второму диапазонам. Блок перемещается гідроцилиндром. При включении первого механического диапазона возможно получение частоти обертання шпинделя в пределах 21,2...1000 мин'1 при большом постоянном крутящем моменте 700 Нм. Второй диапазон обеспечивает частоту обертання шпинделя 1000...3150 мин-1 при постоянной мощности 14 кВт. Изменение направления обертання достигается реверсированием електродвигуна.

Движения подач і поворот стола осуществляются от высокомоментных електродвигателей постоянного тока М2, МЗ, М4, М5, М6.

На поворотный стол верстата можно устанавливать заготовку массой 700 кг. Поворачивая стол, можно изменять угловое положение заготовки по отношению к шпинделю і производить обработку з четырех сторон при одном установе. Для сокращения вспомогательного часу на установку і снятие заготовок имеется двухпозиционный поворотный стол. Обработка заготовок ведется з закреплением их в приспособлениях-спутниках. Один из спутников находится на основном поворотном столе верстата вместе з обрабатываемой заготовкой. На другом спутнике в ето время устанавливают следующую заготовку. После окончания обробки первой заготовки она автоматически передвигается вместе со спутником вправо, на двухпозиционный стол. После етого стол поворачивается на 180°, і спутник со "своей" заготовкой поступает на стол в рабочую зону верстата, где начинается обработка заготовки. Обработанная деталь снимается со спутника, і вместо нее устанавливают і закрепляют следующую заготовку.

Режущие инструменты, закрепленные вне верстата в унифицированных инструментальных оправках, размещаются при наладке в гнездах инструментального магазина, расположенного сверху на стойке верстата. Над каждым гнездом имеется номер (в станке принята система кодирования гнезд магазина). Для передачи инструментов из магазина в шпиндель і обратно служит двухзахватный автооператор.

Движения в станке. Главное движение — вращение шпинделя з закрепленным в нем инструментом. Вращение шпинделя обеспечивается електродвигуном M1 постоянного тока типа 2ПФ-80Г мощностью 14 кВт (номинальная частота обертання 1000 об/мин, номинальное напряжение 220 В). Изменение частоти обертання шпинделя обеспечивается регулюванням двигуна і двухступенчатой коробкой швидкостей. Для переключения механических диапазонов служит подвижный блок зубчатых колес 23 — 56, который може входить в зацепление з шестернями z = 33 или 2= 66, закрепленными на общей ступице і связанными со шпинделем зубчатой муфтой, размещенной в отверстии ступицы. Подвижный блок може занимать два положения, соответствующие первому і второму диапазону. Блок перемещается гідроцилиндром і вилкой (на схеме не показаны) . При включении первого механического диапазона возможно получение частоти обертання шпинделя в пределах 21,2 — 1000 об/мин при большом постоянном крутящем моменте 700 Нм. Второй диапазон обеспечивает частоту обертання шпинделя 1000 - 3150 об/мин при постоянной мощности 14 кВт. Изменение направления обертання достигается реверсированием електродвигуна.

Движения подачі в станке

Перемещение шпиндельной бабки (по оси Y ), стойки (по оси Z) і стола (по оси X) обеспечивается одинаковыми высокомоментными електродвигунами М2 — М4 з возбуждением от постоянных магнитов. Мощность каждого двигуна 2,8 кВт (при n = 1000об/мин)

Установленные електродвигатели позволяют без применения коробки подач получать рабочую подачу по любой из координат в пределах 1 — 2000 мм/мин і быстрые установочные переміщення со скоростью 8000 или 10 000 мм/мин (післядняя зависит от принятой системы ЧПУ).

Наибольшая сила подачі стола і стойки 8 кН, шпиндельной бабки 4 кН. Такие же електродвигатели использованы для обертання поворотного стола 1 (двигатель М5) инструментального магазина 3 (двигатель М6).


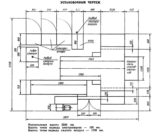
Настановне креслення многоцелевого фрезерного центра ИР-500

ИР500 Настановне креслення многоцелевого горизонтального фрезерного центра з ЧПУ і АСИ

Настановне креслення горизонтального фрезерного центра ир-500




ИР-500 Верстат фрезерный многоцелевой (горизонтальный обрабатывающий центр). Відеоролик.





Технічні характеристики верстата ИР-500

Наименование параметра ИР-500ПМФ4 ИР-800ПМФ4
Основні параметри верстата
Класс точності по ГОСТ 8-82 П П
Розміри рабочей поверхности стола (длина х ширина), мм 500 х 500 800 х 800
Перемещение поперечное стола (ось X), мм 800 1000
Перемещение вертикальное шпиндельной бабки (ось Y), мм 500 710
Перемещение продольное стойки (ось Z), мм 500 800
Вращение индексируемого поворотного стола (ось B), град 5° 72 поз. 3° 120 поз.
Наибольший диаметр сверления в стали, мм 40 40
Наибольший диаметр растачиваемого отверстия, мм 160 160
Наибольший диаметр торцовой фрезы, мм 160 160
Точность позиционирования по осям X/ Y, мм 0.018/ 0.015
Точность позиционирования по осям Z, мм 0.022
Рабочая подача по осям X, Y, Z, мм/мин 1..2000 1..3200
Скорость быстрых установочных перемещений по осям X, Y, Z, м/мин 8..10 10
Наибольшее допустимое усилие подачі стола і стойки по осям X, Z, Н 8000 10000
Наибольшее допустимое усилие подачі шпиндельной бабки (вертикальное) по оси Y, Н 4000 8000
Расстояние от оси шпинделя до стола, мм 50..550 50..760
Модель пристроя ЧПУ 2С45-65 2С45-65
Количество управляемых координат 3 3
Количество одновременно управляемых координат при линейной/ круговой интерполяции 3/3 3/3
Рабочий стол
Максимальная нагрузка на стол (по центру), кг 700 150
Количество резьбовых отверстий на поверхности стола 25 45
Диаметр резьбовых отверстий на поверхности стола, мм М20 М20
Усилие зажиму поворотного стола, кН 40
Шпиндель
Частота обертання шпинделя, об/мин 21.2..3000 21.2..3000
Количество швидкостей шпинделя 89 89
Наибольший крутящий момент, Нм 700 630
Конус шпинделя для крепления инструмента 7:24 50 50
Магазин инструмента
Количество инструмента в магазине 30 30
Время смены инструмента, с 6 6
Время смены инструмента от стружки к стружке, с 16,2..21,2 16,2..21,2
Максимальный диаметр рядом стоящего инструмента, мм 125 125
Максимальный диаметр свободно стоящего инструмента, мм 160 160
Максимальная длина инструмента от торца шпинделя, мм 300 300
Масса инструментальной оправки з инструментом, кг 20 20
Пристрій смены столов-спутников
Время смены столов-спутников, с 45 50..70
Електроустаткування і привод
Количество електродвигателей на станке 12 12
Електродвигун постоянного тока приводу головного руху, кВт 14 18
Электродвигатели приводу подач (X, Y, Z, B) і магазина, кВт 2,8 2,8
Електродвигун насоса гідростанції, кВт 5,5 5,5
Електродвигун вентилятора гідростанції, кВт 0,12 0,12
Електродвигун вентилятора шпинделя, кВт 0,12 0,12
Електродвигун насоса змазки шпиндельной бабки, кВт 1,1 1,1
Електродвигун насоса змазки направляючих, кВт 0,02 0,02
Электронасос охлаждающей жидкости Мощность, кВт 0,12 0,12
Суммарная мощность всех електродвигателей на станке, кВт 35 43,18
Габарити і масса верстата
Габарити верстата (длина ширина), мм 4450 х 4655 5388 х 4635
Габарити верстата (высота), мм 3100 3455
Масса верстата, кг 11370 10050

    Список литературы:

  1. Аврутин С.В. Основы фрезерного дела, 1962
  2. Аврутин С.В. Фрезерне дело, 1963
  3. Ачеркан Н.С. Металлорежущие верстати, Том 1, 1965
  4. Барбашов Ф.А. Фрезерне дело 1973, с.141
  5. Барбашов Ф.А. Фрезерные роботи (Профтехобразование), 1986
  6. Блюмберг В.А. Справочник фрезеровщика, 1984
  7. Григорьев С.П. Практика координатно-расточных і фрезерных работ, 1980
  8. Копылов Р.Б. Работа на фрезерных верстатах,1971
  9. Косовский В.Л. Справочник молодого фрезеровщика, 1992, с.180
  10. Кувшинский В.В. Фрезерование,1977
  11. Ничков А.Г. Фрезерные верстати (Библиотека станочника), 1977
  12. Пикус М.Ю. Справочник слесаря по ремонту металлорежущих верстатів, 1987
  13. Плотицын В.Г. Расчёты настроек і наладок фрезерных верстатів, 1969
  14. Плотицын В.Г. Наладка фрезерных верстатів,1975
  15. Рябов С.А. Современные фрезерные верстати і их оснастка, 2006
  16. Схиртладзе А.Г., Новиков В.Ю. Технологическое обладнання машиностроительных производств, 1980
  17. Тепинкичиев В.К. Металлорежущие верстати, 1973
  18. Чернов Н.Н. Металлорежущие верстати, 1988
  19. Френкель С.Ш. Справочник молодого фрезеровщика (3-е изд.) (Профтехобразование), 1978