Виробник універсального круглошліфувального верстата 3М131 - Лубенський верстатобудівний завод "Комунар"
Завод "Фенікс" заснований в 1915 році і в 1918 отримав назву "Комунар". З 1957 завод спеціалізується на виробництві універсальних і спеціальних круглошліфувальних верстатів з різним рівнем автоматизації, від верстатів з ручним керуванням до верстатів з сучасними ЧПУ.
Розробник верстата 3М131 Досвідчено-конструкторське бюро шліфувальних верстатів (ОКБ ШС), Харківського верстатобудівного заводу ім. С. В. Косіора, заснованого у 1936 році.
Верстат круглошліфувальний 3М131 замінив у виробництві застарілу модель 3А130 і був замінений на більш досконалу модель 3У131 .
Напівавтомат круглошліфувальний 3М131 призначений для зовнішнього та внутрішнього циліндричного шліфування (діаметром до 280 мм і довжиною до 700 мм), конічних і фасонних поверхонь, а також плоских фланцевих поверхонь виробів, в умовах одиничного і серійного виробництва.
Шліфування на верстаті 3М131 може проводитись у нерухомих центрах або патроні.
Обробка виробу на напівавтоматі 3М131 може проводитися поздовжнім або врізним шліфуванням у ручному або напівавтоматичному циклі. За особливим замовленням на напівавтоматі може встановлюватися прилад для автоматичного виправлення кола з компенсацією його зносу та прилад активного контролю.
Механізм поперечних подач верстата 3М131 шліфувальної бабки забезпечує ручні та автоматичні поперечні подачі, дозволяє проводити налаштування на загальну величину припуска, що знімається, і величину припуска, що знімається при чистовому шліфуванні. Механізм забезпечує автоматичне перемикання з чорнової подачі на чистову за допомогою командоапарата, розміщеного в корпусі механізму.
Верхня частинина столу, шліфувальна та передня бабки напівавтомата виконані поворотними.
Гідравлічний привід поздовжнього переміщення столу забезпечує плавне регулювання швидкості переміщення та зміну величини затримок у крайніх положеннях столу.
Є механізм ручного переміщення столу.
Шпиндель шліфувальної бабки змонтований в самовстановлюваних гідродинамічних підшипниках, які забезпечують стійке положення шпинделя при великих навантаженнях.
Шліфувальна бабка переміщається на роликових направляючих. У механізмі подач шліфувального кола застосовано гвинтову пару кочення, що забезпечує високу точність подачі.
Пуск переміщення столу, включення обертання виробу, охолодження та швидке підведення шліфувального кола до виробу проводиться однією рукояткою.
Відведення пінолі задньої бабки здійснюється від гідравліки за допомогою педалі.
Забезпечується швидке настановне переміщення шліфувальної бабки.
Виріб приводиться в обертання електродвигуном постійного струму через клинопасові передачі, що дає можливість безступінчасто регулювати обертання виробу.
Велика жорсткість конструкції напівавтомата, достатні розміри шліфувального кола та потужний привід забезпечують високу продуктивність.
Забезпечується тонке очищення олії та охолоджуючої рідини. Надійне блокування виключає включення приводів обертання шпинделя шліфувального круга та переміщення столу за відсутності мастила.
Резервуари для олії та охолоджуючої рідини винесені за межі станини для усунення теплових деформацій.
Напівавтомат комплектується механізмом балансування шліфувального кола на ходу та приладом для вимірювання величини вібрації.
Напівавтомат комплектується швидкісним точним внутрішньошліфувальним шпинделем.
Напівавтомат комплектується навісною індикаторною скобою для вимірювання діаметра виробу, що шліфується.
Шпиндель шліфувальної бабки встановлений у двох підшипниках ковзання спеціальної конструкції. Підшипники мають по три однакові вкладиші, що є окремими сегментами.
Сферичними лунками вкладиші спираються на гвинти зі сферичними головками, у результаті вкладиші самовстановлюються по шийках шпинделя.
Конструкція забезпечує масляний клин між вкладишами та шийкою шпинделя, що запобігає їх нагріванню та зносу.
Примусове проточне мастило шпинделя проводиться з окремого бачка, розташованого за межами верстата, що зменшує температуру нагрівання шліфувальної бабки.
Автоматичний контроль наявності мастила в підшипниках шпинделя шліфувальної бабки гарантує довговічність їхньої роботи.
Безступінчасте регулювання частоти обертання виробу, швидкості різання та поздовжніх подач дозволяє проводити обробку на оптимальних режимах.
Реле перевантаження приводу шліфувального кола при швидкому підведенні шліфувальної бабки дозволяє автоматично переходити на чорнову подачу, що значно підвищує продуктивність.
Компенсація зносу шліфувального кола здійснюється як вручну, і автоматично.
Правку шліфувального кола можна проводити правильним гідрофікованим приладом з автоматичним включенням в циклі роботи напівавтомата. Частоту правки можна змінювати в залежності від необхідної чистоти виробу, що шліфується, і стійкості шліфувального круга.
Правку шліфувального кола по радіусу можна робити правильним приладом, закріпленим на столі напівавтомата.
Напівавтомати оснащені пристроєм балансування шліфувального кола під час роботи, що складається з механізму балансування кола та електронного індикатора розмаху коливань. Пристрій відрізняється швидкодією, надійністю роботи, простотою керування, зручністю обслуговування, що сприяє підвищенню продуктивності та чистоти шліфування.
Напівавтомати оснащені індикаторним пристроєм, який забезпечує можливість вимірювання малих поздовжніх переміщень столу. Пристрій дозволяє здійснювати розмірне підшліфування торців деталей торцем шліфувального кола.
Індикаторний пристрій для контролю повороту верхнього столу в поєднанні з номограмою для визначення величини корекції положення верхнього столу різко скорочує час отримання конусності деталей, що шліфуються.
На напівавтоматах передбачена можливість встановлення приладів активного контролю з навісною та настільною скобами.
Прилади активного контролю дозволяють: підвищити точність виміру; збільшити швидкість налаштування на розмір за рахунок швидкодії циліндра та вільного переміщення рухомих частинин приладу під дією постійних зусиль незалежно один від одного на всій довжині ходу; ліквідувати можливі помилки, зумовлені вібраціями верхнього вимірювального щупа при обертанні деталі.
Клас точності напівавтомата П згідно з ГОСТ 11654-65.
Шорсткість обробленої поверхні за ГОСТ 2789-59:

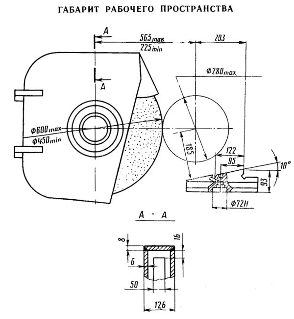
Креслення робочого простору шліфувального верстата 3М131

Приєднувальні та посадкові бази шліфувального верстата 3М131

Фото шліфувального верстата 3М131

Фото шліфувального верстата 3М131

Фото шліфувального верстата 3М131

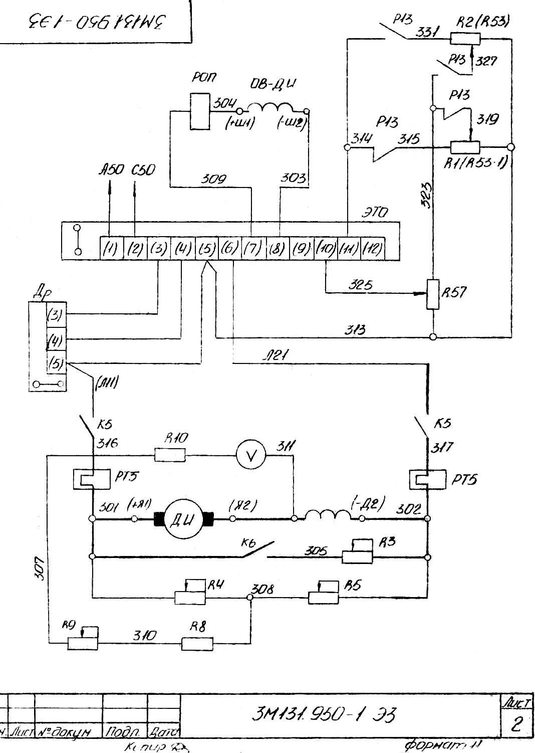
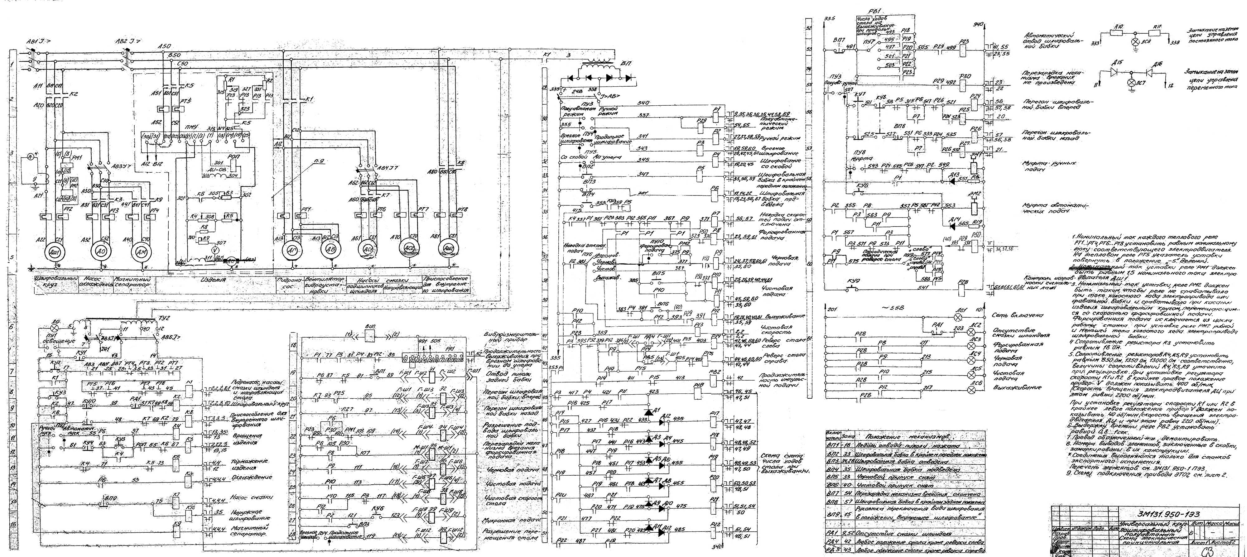
Електрична схема круглошліфувального верстата 3М131
Схема електрична круглошліфувального верстата 3М131. Дивитись у збільшеному масштабі
Схема дійсна для верстатів 3М131 та 3М132.
Схема забезпечує такі режими роботи на верстаті:
Налагодження швидкостей подач:
Напівавтоматичний режим роботи до упору:
Для здійснення цього режиму роботи перемикачі необхідно встановити наступні положення:
ПУ3 - "Ручний режим" (контакти 335-341, 335-507 замкнуті);
ПУ6 - "Налагодження швидкостей подач вимкнено" (контакти 371-381 замкнуті);
ПУ8 - "Муфта ручних подач включена" (контакти 507-543 замкнуті);
Перемикачі Пу5, ПУ7, ПУ9 можуть бути в будь-якому положенні, оскільки перемикання ланцюгів керування контактами цих перемикачів в даному режимі роботи не здійснюються.
Для пуску верстата необхідно увімкнути автоматичний вимикач АВ1. При цьому спалахують сигнальні лампи ЛС1, ЛС2.
Місцеве освітлення вмикається та вимикається перемикачем ПУ1, розташованому на світильнику.
Пуск гідронасоса здійснюється натисканням кнопки КУ2.
При етом произойдет увімкнення електродвигателей гідронасоса ДГ, насоса змазки підшибників шпинделя ДС1, насоса змазки направляючих стола ДС2, електромагнитной муфты ручных подач ЭМ1 і електромагнита Э4, обеспечивающего возможность подвода шлифовальной бабки.
При выключенном електромагните Э4 подвод шлифовальной бабки невозможен.
Когда появится поток масла в системе змазки підшибників шпинделя, микровыключатель реле контроля расхода РД1 освобождается, при етом гаснет сигнальная лампа ЛС2 і появляется возможность увімкнення контактора К2, т.е. пуска шлифовального круга.
Пуск шлифовального круга осуществляется нажатием на кнопку КУ3. При етом произойдет увімкнення електродвигателей шлифовального круга ДШ1 і магнитного сепаратора ДМ.
Остановка електродвигателей ДШ1 і ДМ осуществляется нажатием на кнопку КУ10.
Пуск і зупинка обертання вироби осуществляется нажатием на кнопки КУ5 і КУ4 соответственно, если переключатель ПУ2 установлен в положение "Ручной пуск вироби" (контакт 17-61 замкнуты).
Необходимая скорость обертання вироби выбирается регулятором скорости R1 і контролируется по прибору V, по шкале которого считывается скорость обертання вироби в пределах от 40 до 400 об/мин.
Автоматический пуск і зупинка обертання вироби осуществляются при установці переключателя ПУ2 в положение "Автоматический пуск вироби" (контакты 17-55 замкнуты). В етом случае при подводе шлифовальной бабки (путевой выключатель ВП3 освобождается) включаются електродвигатели вироби ДИ і насоса охлаждения ДО; при отводе шлифовальной бабки (путевой выключатель ВП3 освобождается) включаются електродвигатели вироби і насоса охлаждения ДО; при отводе шлифовальной бабки (путевой выключатель ВП3 нажимается) електродвигатели ДИ і ДО выключаются.
Остановка електродвигуна ДИ происходит в режиме динамического торможения.
Відключення всех електродвигателей производится нажатием на кнопку "Загальний стоп" КУ1.
Перегон шлифовальной бабки вперед происходит при нажатой кнопке КУ7. При етом електромагнитная муфта ЭМ1 включается, а електромагнит Э2 включается. Останавливается шлифовальная бабка при опущенной кнопке КУ7 или в крайнем переднем положении (путевой выключатель ВП2 нажат).
При етом выключается електромагнит Э2 і включается електромагнитная муфта ЭМ1.
Перегон шлифовальной бабки назад происходит при нажатой кнопке КУ8. При етом електромагнитная муфта ЭМ1 выключается, а електромагнит Э3 включается.
Останавливается шлифовальная бабка при отпущенной кнопке КУ8 или в крайнем заднем положении (путевой выключатель ВП8 нажат). При етом выключается електромагнит Э3 і включается електромагнитная муфта ЭМ1.
Микронная подача происходит при каждом нажатии на КУ6. При етом включается електромагнитная муфта ЭМ2 і електромагнит Э9; при отпускании кнопки ЭМ2 і Э9 выключаются.
Відключення і увімкнення муфты ручных подач ЭМ1 производится при наладке на размер шлифования посредством переключателя ПУ8, имеющего два положения:
Отвод пиноли задньої бабки возможен только тогда, когда шлифовальная бабка отведена і двигатель вироби ДИ выключен. Для відведення пиноли задньої бабки необходимо нажать ногой педаль, рычаг которой нажимает при етом путевой выключатель ВП1 - електромагнит Э1 включается, і пиноль отводится. При отпускании педали електромагнит Э1 выключается, пиноль подводится.
Перегон стола при отведенной шлифовальной бабке во время врезного і продольного шлифования обеспечивается включением електромагнита Э12.
Перемещение стола со скоростью шлифования или со скоростью правки возможно только при установці переключателя ПУ4 в положение "Продольное шлифование". При етом включается електромагнит Э12.
Контроль исправности ланцюгів сигнализации производится нажатием на кнопку КУ9. При етом должны загораться сигнальные лампы ЛС2...ЛС6.
Для осуществлении етого режима роботи необходимо переключатели установить в наступні положения:
Переключатели ПУ5, ПУ7, ПУ9 могут находиться в любом положении.
После пуска гідронасоса і подвода шлифовальной бабки рукоятку переключателя вида шлифования необходимо установить в положение внутреннее шлифования. При етом путевой выключатель ВП9 нажат.
Пуск і зупинка електродвигуна ДШ2 приспособления для внутреннего шлифования осуществляется нажатием на кнопки КУ3 і КУ10 соответственно. При етом пуск електродвигуна ДШ1 не происходит.
При внутреннем шлифовании перегон шлифовальной бабки вперед і назад исключен.
Чтобы осуществить наладку швидкостей подач для врезного шлифования "До упора" переключатели необходимо установить в наступні положения:
Устанавливается заводом - изготовителем і изменять її не рекомендуется.
Скорость чистовой подачі настраивается как в случае 3.3.
При етом робота схеми отличается тем, что добавляется увімкнення електромагнита Э8, і что електромагнитная муфта ЭМ2 включается только в момент реверса стола, как при налаштуванні скорости черновой подачі. Увімкненням електромагнита Э8 изменяется скорость переміщення стола.
Переключатель ПУ6 необходимо установить в положение "Выхаживание". При етом робота схеми происходит как в случае 3.3 (Наладка швидкостей подач) за исключением того, что добавляется увімкнення електромагнита Э8.
Чтобы осуществить етот режим роботи переключатели необходимо установить в следующее положение:
Переключатели ПУ7, ПУ8, ПУ9 могут находиться в любом положении.
Переключенням реле часу РВ1 задают необходимое время на выхаживание.
При таких положениях переключателей і произведенном пуске гідронасоса включаются електромагнітні муфты ЭМ1 і ЭМ2 і регулятор скорости R1.
Чтобы произвести шлифование в етом режиме роботи необходимо установить изделие і подвести шлифовальную бабку. Шлифование производится автоматически.
В начале подвода шлифовальной бабки (путевой выключатель ВП3 освобождается) включаются електродвигатели вироби ДИ і насоса СОЖ ДО.
В кінці подвода шлифовальной бабки (путевой выключатель ВП4 нажимается) включаются електромагнит Э5 і сигнальная лампа ЛС3. Происходит форсированная подача.
В момент касания вироби шлифовальным кругом выключаются по команде реле РМ2, електромагнит Э5, сигнальная лампа ЛС3 і включаются електромагнит Э і сигнальная лампа ЛС4. Происходит черновая подача.
В процессе шлифования вращаются лимб і диски механізма поперечных подач.
В определенный момент рычаг механізма подач нажимает путевой выключатель ВП5. При етом выключаются електромагнит Э6, сигнальная лампа ЛС4, регулятор скорости R1 і включаются електромагнит Э7, сигнальная лампа ЛС5, регулятор скорости R2. Происходит чистовая подача.
Далее другой рычаг механізма подач нажимает путевой выключатель ВП6. При етом выключаются електромагнит Э7, сигнальная лампа ЛС5, електромагнитная муфта ЭМ2 і включаются сигнальная лампа ЛС6 і реле часу РВ1. Происходит выхаживание.
По истечении выдержки часу реле РВ1 - выключается електромагнит Э4, сигнальная лампа ЛС6 і включается електромагнитная муфта ЭМ2. Происходит автоматический отвод шлифовальной бабки.
В начале відведення шлифовальной бабки освобождается путевой выключатель ВП4, а в кінці відведення нажимается путевой выключатель ВП3 і при етом включаются електродвигатели вироби ДИ і насоса СОЖ ДО і включается електромагнит Э5. Происходит перезарядка механізма подач до нажатия рычагом путевого выключателя ВП7. При етом выключаются електромагнит Э5, регулятор скорости R2 і включаются електромагнит Э4 і регулятор скорости R1. На етом цикл врезного шлифования "До упора" окончен.
Если в процессе шлифования будет произведен вручную отвод шлифовальной бабки, то після відведення произойдет перезарядка механізма подач, как і при автоматическом отводе шлифовальной бабки.
Пуск гідронасоса (увімкнення контактора К1) возможен при включенных автоматических выключателях: АВ3, АВ4, АВ7.
Увімкнення електроаппаратов ланцюгів керування возможно только після пуска гідронасоса.
Пуск електродвигуна шлифовального круга ДШ1 (увімкнення контактора К2) возможен при наличии змазки підшибників шпинделя, т.е. при освобожденном микропереключателе реле контроля расхода РД1, і установленной рукоятке переключения вида шлифования в положение "Наружное шлифование".
Отвод пиноли задньої бабки (увімкнення електромагнита Э1) возможен при выключенном електродвигателе вироби ДИ (выключен контактор К5) і отведенной шлифовальной бабке (путевой выключатель ВП3 нажат і реле Р6 выключено).
Перегон шлифовальной бабки вперед і назад возможен только в ручном режиме, когда переключатель ПУБ установлен в положение "Наладка швидкостей подач отключена"
Схемой верстата предусмотрена сигналізація включенного положения вводного автоматичного выключателя АВ1, на пульті загорается лампа ЛС1 - цвет плафона белый.
При отсутствии змазки підшибників шпинделя на пульті загорается лампа ЛС2 - цвет плафона красный.
Лампы ЛС3, ЛС5 з плафонами желтого цвета сигнализируют о ходе подач - форсированной, черновой, чистовой
Лампа ЛС6 з плафоном желтого цвета сигнализирует о процессе выхаживания.
Захист електроустаткування верстата 3М131 от
Захист електроустаткування верстата от токов короткого замыкания осуществляется автоматическими выключателями АВ1...АВ7.
Захист електродвигателей от перегрузки осуществляется тепловыми реле РТ1...РТ8, имеющими ручной возврат.
Захист електродвигуна вироби ДИ от чрезмерного повышения скорости обертання при обрыве ланцюги обмотки возбуждения осуществляется реле РОП.
Уставки тепловых реле, реле максимального тока, реле часу і резисторов указаны в перечне елементів і схеме електрической принципиальной.
Амперметр служит для визуального контроля величины нагрузки приводу шлифовального круга і имеет отметку номинального значения.
Показания вольтметра должны быть 40..400 об/мин -10+15%. Указанные пределы необходимо устанавливать з помощью резисторов і регуляторов оборотів резисторов R1 і R2.

Електрична схема круглошлифовального верстата 3М131
Схема електрична круглошлифовального верстата 3М131. Дивитись у збільшеному масштабі

Електрична схема круглошлифовального верстата 3М131
Схема електрична круглошлифовального верстата 3М131. Дивитись у збільшеному масштабі

Список елементів круглошлифовального верстата 3М131
Список елементів круглошлифовального верстата 3М131. Дивитись у збільшеному масштабі

Список елементів круглошлифовального верстата 3М131
Список елементів круглошлифовального верстата 3М131. Дивитись у збільшеному масштабі

Список елементів круглошлифовального верстата 3М131
Список елементів круглошлифовального верстата 3М131. Дивитись у збільшеному масштабі

Список елементів круглошлифовального верстата 3М131
Список елементів круглошлифовального верстата 3М131. Дивитись у збільшеному масштабі

Список елементів круглошлифовального верстата 3М131
Список елементів круглошлифовального верстата 3М131. Дивитись у збільшеному масштабі

Список елементів круглошлифовального верстата 3М131
Список елементів круглошлифовального верстата 3М131. Дивитись у збільшеному масштабі

Список елементів круглошлифовального верстата 3М131
Список елементів круглошлифовального верстата 3М131. Дивитись у збільшеному масштабі

Список елементів круглошлифовального верстата 3М131
Список елементів круглошлифовального верстата 3М131. Дивитись у збільшеному масштабі

Список елементів круглошлифовального верстата 3М131
Список елементів круглошлифовального верстата 3М131. Дивитись у збільшеному масштабі

Список елементів круглошлифовального верстата 3М131
Список елементів круглошлифовального верстата 3М131. Дивитись у збільшеному масштабі
| Наименование параметра | 3У131 | 3М131 | 3М132В |
|---|---|---|---|
| Основні параметри | |||
| Класс точності по ГОСТ 8-82 | П/В | П | В |
| Наибольший диаметр обрабатываемого вироби, мм | 280 | 280 | 280 |
| Наибольшая длина обрабатываемого вироби, мм | 710 | 700 | 1000 |
| Наибольший диаметр шлифования без люнета, мм | 280 | 280 | 280 |
| Наибольший диаметр шлифования в люнете, мм | 60 | 60 | 60 |
| Наименьший диаметр шлифования при изношенном круге, мм | - | - | - |
| Наибольшая длина шлифования, мм | 710 | 700 | |
| Расстояние от оси шпинделя передньої бабки до зеркала стола (высота центров), мм | 185 | 185 | 185 |
| Наибольшая масса обрабатываемого вироби, кг | 55 | 55 | 55 |
| Конус шпинделя передньої бабки і пиноли задньої бабки по ГОСТ 2847-67 | |||
| Кінець шлифовального шпинделя по ГОСТ 2323-67 (конусность 1:5, номинальный диаметр), мм | |||
| Станина і столы верстата | |||
| Наибольшее продольное перемещение стола, мм | 710 | 710 | 995 |
| Наименьший ход стола между упорами, мм | 4 | 4 | |
| Ручное замедленное/ ускоренное переміщення стола за один оборот маховика, мм | 3,1/ 20,5 | 2 | |
| Скорость переміщення стола от гідросистемы, м/мин | 0,05..5 | 0,05..5 | 0,05..5 |
| Наибольший угол поворота верхнего стола по часовий стрелке, град | 3 | 3 | 8 |
| Наибольший угол поворота верхнего стола против часовий стрелки, град | 10 | 8 | 8 |
| Цена деления шкалы поворота верхнего стола, град | 0°20′ | 0°20′ | 0°20′ |
| Шлифовальная бабка | |||
| Диаметр шлифовального круга - наибольший/ наименьший, мм | 600/ 450 | 600/ 450 | 600/ 450 |
| Диаметр шлифовального круга - посадочный, мм | 305 | 305 | 305 |
| Наибольшая высота устанавливаемого круга, мм | 50 | 63 | 80 |
| Частота обертання шпинделя шлифовальной бабки (круг = Ø600мм), об/мин | 1111 | 1590 | |
| Наибольший угол поворота шлифовальной бабки, град | ±30° | ±30° | ±30° |
| Механізм поперечных подач шлифовальной бабки | |||
| Наибольшее перемещение шлифовальной бабки по винту, мм | 290 | 290 | 290 |
| Величина швидкого подвода шлифовальной бабки, мм | 50 | 50 | |
| Время швидкого подвода шлифовальной бабки, с | 2 | 2 | |
| Толчковая подача - периодическая подача з реверсированием стола, мм | 0,0025..0,025 | 0,0025..0,025 | 0,001..0,05 |
| Величина тонкой подачі, мм | 0,05 | 0,05 | |
| Величина тонкой толчковой подачі, мм | 0,001 | 0,001 | 0,001 |
| Величина врезной подачі на диаметр вироби, мм | 0,9 | 0,9 | |
| Непрерывная подача для врезного шлифования (бесступенчатое регулювання), мм/мин | 0,1..1 | 0,1..1 | |
| Цена деления лимба поперечної подачі, мм | 0,005 | 0,005 | 0,005 |
| Величина поперечного переміщення шлифовальной бабки за один оборот маховика, мм | 0,5 | 0,5 | 0,5 |
| Скорость швидкого установочного переміщення шлифовальной бабки, мм/мин | 240 | 200 | |
| Приспособление для внутреннего шлифования | |||
| Наибольший диаметр заготовки, устанавливаемой в патроне, мм | 200 | 200 | 200 |
| Наибольшая длина шлифуемого отверстия, мм | 125 | 125 | 125 |
| Диаметр шлифуемого отверстия, мм | 30..100 | 30..100 | 15..125 |
| Диаметр внутиришлифовальной головки, мм | 25..32 | 25..32 | |
| Число оборотів внутришлифовального шпинделя | 1690 | 1690 | |
| Передня бабка | |||
| Частота обертання вироби (бесступенчатое регулювання), об/мин | 40..400 | 40..400 | 40..800 |
| Конус центра по ГОСТ 13211-67 | Морзе 4 | Морзе 4 | Морзе 4 |
| Наибольший угол поворота передньої бабки к шлифовальному кругу, град | 90 | 90 | 90 |
| Наибольший угол поворота передньої бабки от шлифовального круга, град | 30 | 30 | 30 |
| Задня бабка | |||
| Величина відведення пиноли задньої бабки от руки, мм | 35 | 35 | 35 |
| Конус центра задньої бабки по ГОСТ 13211-67 | Морзе 4 | Морзе 4 | Морзе 4 |
| Привід і електрообладнання верстата | |||
| Количество електродвигателей на станке | 9 | 9 | |
| Електродвигун шпинделя шлифовальной бабки, кВт | 5,5 | 7,5 | |
| Електродвигун переміщення шлифовальной бабки, кВт | 0,18 | 0,18 | |
| Електродвигун внутришлифовального шпинделя, кВт | 1,1 | 1,1 | |
| Електродвигун приводу вироби, кВт | 0,75 | 0,85 | |
| Електродвигун насоса гідросистемы, кВт | 1,5 | 1,5 | |
| Електродвигун насоса системы змазки шпинделя, кВт | 0,27 | 0,27 | 0,27 |
| Електродвигун насоса системы змазки направляючих стола, кВт | 0,08 | 0,08 | |
| Електродвигун насоса системы охлаждения, кВт | 0,15 | 0,15 | |
| Електродвигун магнитного сепаратора, кВт | 0,12 | 0,12 | |
| Електродвигун вентилятора гідроагрегата, кВт | 0,12 | 0,12 | |
| Електродвигун фильтра-транспортера, кВт | 0,12 | 0,12 | |
| Габаритные розміри і масса верстата | |||
| Габаритные розміри верстата (длина х ширина х высота), мм | 5620 х 2585 х 1982 | 5620 х 2585 х 2170 | |
| Масса верстата з електрообладнанням і охолодженням, кг | 6200 | 6835 |