Виробник універсального круглошліфувального верстата 3У131 - Лубенський верстатобудівний завод "Комунар" .
Завод "Фенікс" заснований в 1915 році і в 1918 отримав назву "Комунар".
З 1957 завод спеціалізується на виробництві універсальних і спеціальних круглошліфувальних верстатів з різним рівнем автоматизації, від верстатів з ручним керуванням до верстатів з сучасними ЧПУ.
Розробник круглошліфувального верстата 3У131 Досвідчено-конструкторське бюро шліфувальних верстатів (ОКБ ШС), Харківського верстатобудівного заводу ім. С. В. Косіора , заснованого в 1936 році.
Шліфувальний верстат 3У131 призначений для зовнішнього та внутрішнього шліфування циліндричних та конічних поверхонь, а також плоских фланцевих поверхонь виробів в умовах одиничного та дрібносерійного виробництва.
Шліфування на верстатах 3У131 може проводитись у нерухомих центрах або патроні. Верхня частинина столу, шліфувальна та передня бабки верстатів виконані поворотними.
Гідравлічний привід поздовжнього переміщення столу забезпечує плавне регулювання швидкості переміщення та зміну величини затримок у крайніх положеннях столу. Є механізм ручного переміщення столу.
Шпиндель шліфувальної бабки змонтований в самовстановлюваних гідродинамічних підшипниках, які забезпечують стійке положення шпинделя при великих навантаженнях.
Шліфувальна бабка переміщається на роликових направляючих. У механізмі подач шліфувального кола застосовано гвинтову пару кочення, що забезпечує високу точність подачі.
Верстати 3У131 комплектуються механізмом балансування шліфувального кола на ходу та приладом для вимірювання величини вібрації.
Обробка виробу на верстатах може проводитися поздовжнім шліфуванням з ручною або автоматичною подачею кола при реверсах стола або шліфуванням врізним з ручною подачею кола. Забезпечується висока точність та чистота обробки.
Верстати 3У131 комплектуються швидкісними точними шліфувальними шпинделями.
Резервуари для олії та охолоджуючої рідини винесені за межі станини для усунення теплових деформацій. Забезпечується очищення олії та охолоджуючої рідини. Надійне блокування виключає включення приводів обертання шпинделя шліфувального круга та переміщення столу за відсутності мастила, а також відведення пінолі задньої бабки при підведеній шліфувальній бабці.
Верстати 3У131 зручні в управлінні та обслуговуванні. Пуск переміщення столу, включення обертання охолодження виробу та швидке підведення шліфувального кола до виробу проводиться однією рукояткою. Відведення пінолі задньої бабки здійснюється від гідравліки за допомогою педалі.
Верстати 3У131 комплектуються навісними індикаторними скобами для вимірювання діаметра, що шліфується, виробу.
Висока жорсткість верстатів 3У131 , достатні розміри шліфувального кола та потужний привід забезпечують високу продуктивність.
Шпиндель передньої бабки нерухомий. Виріб приводиться в обертання електродвигуном постійного струму через клинопасові передачі, що дає можливість безступінчасто регулювати обертання виробу.
Шпиндель шліфувальної бабки встановлений і в двох підшипниках ковзання спеціальної конструкції з примусовим проточним мастилом. Корпус шліфувальної бабки змонтований на роликових направляючих.
Алмазна правка шліфувального кола проводиться приладом редагування, встановленим на задній бабці, або приладом для автоматичної редагування, що поставляється за особливим замовленням за окрему плату.
Клас точності верстатів за ГОСТ 11654-65:
Шорсткість обробленої поверхні за ГОСТ 2789-59 на верстаті моделі 3У131:
Шорсткість обробленої поверхні за ГОСТ 2789-59 на верстаті моделі 3У131В:
Розробник - Харківське конструкторське бюро шліфувальних верстатів ОКБ ШС .
Виробник – Лубенський верстатобудівний завод.
Основні параметри верстата - відповідно до ГОСТ 11654-90 Верстати круглошліфувальні. Основні параметри та розміри. Норми точності.
Верстати можуть бути застосовані в умовах дрібносерійного, серійного та великосерійного виробництва.

Креслення робочого простору круглошліфувального верстата 3У131

Приєднувальні та посадкові бази шліфувального верстата 3У131

Фото круглошліфувального верстата 3У131

Розташування складових частинин шліфувального верстата 3У131
Перелік складових частинин шліфувального верстата 3У131. Дивитись у збільшеному масштабі

Розташування органів керування шліфувальним верстатом 3У131
Розташування органів керування шліфувальним верстатом 3У131. Дивитись у збільшеному масштабі

Розташування органів керування на пульті шлифовального верстата 3У131
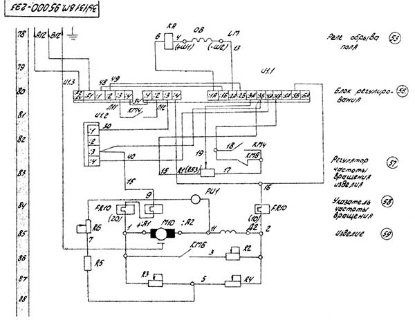
Привід механізмов в станке осуществляется 11-ю трехфазными асинхронными електродвигунами М1..М8, М11, М12, М14.
М10 електродвигатель вироби постоянного тока входит в комплект тиристорного привода.
U1.1 - блок регулювання тиристорного привода, U1.2 - блок дросселя і U1.3 - блок ввода - установлены в шкафу керування.
R1 - регулятор приводу - установлен на пульті керування і позволяет регулировать частоту обертання двигуна М10.
YA1, YA2, YA4, YA5 - електромагниты, которые управляют золотниками гідроприводов окремих механізмов на гідроагрегате.
При первоначальном пуске необходимо:
Установите автоматические выключатели FA2..FA7 в електрошкафу в положение "Включено".
Подключите верстат к сети вводным выключателем FA1.
На холостом ходу проверьте проверьте действие електрических блокировок.
Проверьте верстат в предусмотренных системой режимах.
Електросхема обеспечивает работу верстата в следующих режимах:
Наладку електроустаткування на соответствующий режим производится переключателями на пульті керування і рукояткой, установленной на гідропанелі.
Независимо от режима роботи схема керування работает только при включенной гідросистеме верстата.
При нажатой кнопке SB2 включаются електродвигатели М4, М5, М6, М12, М14 і електромагнит YA4.
Установить переключатели:
Включаются електродвигатели М5 і М6.
После появления змазки шпинделя срабатывает реле потока SP1, гаснет сигнальная лампа HL2.
При нажатии кнопки SB3 включаются електродвигатели М1 і М3 приводов шлифовального круга і магнитного сепаратора.
Для останова електродвигатели М1, М3 используйте кнопку SB8.
Переключатель SA2 определяет выбор режима пуска і останова обертання вироби.
Останов електродвигуна М10 происходит в режиме динамического торможенияпри отключении електродвигуна М10 от блока живлення И (срабатывают пускатели КМ4, КМ5) обмотка якоря замыкается на сопротивление R2.
Для регулювання скорости обертання вироби електродвигатель М10 получает питание от тиристорного блока И.
Выбор скорости регулируется потенциометром R1, который обеспечивает диапазон регулювання 1:10.
Скорости обертання вироби контролируется по прибору РИ1.
Для проворота вироби нажимать кнопку SB9, на корпусе передньої бабки.
Одновременно з приводом вироби вкючается і отключается електронасос охлаждения М2.
При подводе шлифовальной бабки срабатывает микропереключатель SQ2, подается команда на увімкнення прибора РА1, показания которого опеределяют нагрузку електродвигуна шлифовального круга М1.
Перегон шлифовальной бабки осуществляется електродвигуном М9, который включается при нажатии кнопок SB6 или SB7, каждую из кнопок необходимо удержать нажатой до тех пор, пока происходит перегон.
Рух шлифовальной бабки вперед ограничивается микропереключателем SQ4, рух шлифовальной бабки назад ограничивается микропереключателем SQ5.
При перегоне шлифовальной бабки включается електромагнит YA2.
Керування отводом шлифовальной бабки осуществляется з помощью гідрозолотника.
При нажатии педали рычаг, который воздействует на микропереключатель SQ7, включает електромагнит YA1.
Отвод пиноли задньої бабки воможен только при остановленном изделии.
При засорении ленты фильтр-транспортера срабатывает микропереключатель SQ9, который автоматически включает електродвигатель М11 приводу фильтр транспортера, что обеспечивает смену фильтра.
Відключення електродвигуна М11 происходит автоматически микропереключателя SQ9.
Для осуществления етого режима переключатели должны быть установлены в те же положения, что і п.3. за исключением переключателей SA3 і SA4.
Оператор може выбрать три варіанта:
В момент реверсирования замыкается конечный выключатель SQ10 или SQ11
Подача происходит при включении електромагнита YA5, длительность включении золотника подач определяется установкой реле часу КТ.
Шлифовальная бабка должна ноходиться в переднем положении.
Установить переключатели:
При разомкнутых контактах 45-111 SQ3 исключается исключается возможность перегона шлифовальной бабки і отключается електродвигатель М5.
При нажатии кнопки SB3 включатся електродвигатели М8, М3 приводов приспособления для внутренней шлифовки і магнитного сепаратора.
При нажатии кнопки SB8 они останавливаются.
Керування пуском і остановом приводу вироби і насоса охлаждения производится от кнопок SB4 і SB5.
1. От коротких замыканий - автоматическими выключателями FA1..FA7 b предохранителями FИ1..FИ2
2. От недопустимых нагрузок по току - тепловыми реле FR1..FR14
3. От недопустимых кратковременных перегрузок електродвигуна М1 - реле максимального тока FJ
4. От самопроизвольного увімкнення електродвигателей при восстановлении напряжения - магнитными пускателями КМ1.. КМ5, КМ7..КМ11
5. От чрезмерного повышения скорости при обрыве ланцюги возбуждения - токовым реле КА1
Увімкнення електродвигуна шлифовального круга возможно только при наличии змазки (нажат SP1)
Увімкнення електродвигуна вироби возможно только при наличии змазки (нажат SP2)
Отвод пиноли задньої бабки возможен только при остановленном изделии
Перегон шлифовальной бабки возможен только при наружном шлифовании
Перемещение шлифовальной бабки вперед - назад ограничено конечными выключателями SQ4, SQ5
Шлифовальная бабка автоматически отводится при перегрузке приводу шлифовального круга по команде от реле максимального тока FJ, когда ток нагрузки достигает величины 1,5 Iн.

Електрична схема круглошлифовального верстата 3У131
Електрична схема круглошлифовального верстата 3У131. Дивитись у збільшеному масштабі

Електрична схема круглошлифовального верстата 3У131
Електрична схема круглошлифовального верстата 3У131. Дивитись у збільшеному масштабі

Розташування електроустаткування на круглошлифовальном станке 3У131
Розташування електроустаткування на круглошлифовальном станке 3У131. Дивитись у збільшеному масштабі

Розташування електроустаткування на круглошлифовальном станке 3У131
Розташування електроустаткування на круглошлифовальном станке 3У131. Дивитись у збільшеному масштабі

Пульт керування на круглошлифовальном станке 3У131
Пульт керування на круглошлифовальном станке 3У131. Дивитись у збільшеному масштабі

Тепловые реле і реле максимального тока на круглошлифовальном станке 3У131

Список елементів круглошлифовального верстата 3У131
Список елементів круглошлифовального верстата 3У131. Дивитись у збільшеному масштабі

Список елементів круглошлифовального верстата 3У131
Список елементів круглошлифовального верстата 3У131. Дивитись у збільшеному масштабі

Список елементів круглошлифовального верстата 3У131
Список елементів круглошлифовального верстата 3У131. Дивитись у збільшеному масштабі

Список елементів круглошлифовального верстата 3У131
Список елементів круглошлифовального верстата 3У131. Дивитись у збільшеному масштабі

Список елементів круглошлифовального верстата 3У131
Список елементів круглошлифовального верстата 3У131. Дивитись у збільшеному масштабі

Список елементів круглошлифовального верстата 3У131
Список елементів круглошлифовального верстата 3У131. Дивитись у збільшеному масштабі

Список елементів круглошлифовального верстата 3У131
Список елементів круглошлифовального верстата 3У131. Дивитись у збільшеному масштабі

Список елементів круглошлифовального верстата 3У131
Список елементів круглошлифовального верстата 3У131. Дивитись у збільшеному масштабі

Список елементів круглошлифовального верстата 3У131
Список елементів круглошлифовального верстата 3У131. Дивитись у збільшеному масштабі

Список елементів круглошлифовального верстата 3У131
Список елементів круглошлифовального верстата 3У131. Дивитись у збільшеному масштабі

Список елементів круглошлифовального верстата 3У131
Список елементів круглошлифовального верстата 3У131. Дивитись у збільшеному масштабі

Список елементів круглошлифовального верстата 3У131
Список елементів круглошлифовального верстата 3У131. Дивитись у збільшеному масштабі

Список елементів круглошлифовального верстата 3У131
Список елементів круглошлифовального верстата 3У131. Дивитись у збільшеному масштабі

Список елементів круглошлифовального верстата 3У131
Список елементів круглошлифовального верстата 3У131. Дивитись у збільшеному масштабі

Список елементів круглошлифовального верстата 3У131
Список елементів круглошлифовального верстата 3У131. Дивитись у збільшеному масштабі

Монтажная схема круглошлифовального верстата 3У131
Монтажная схема круглошлифовального верстата 3У131. Дивитись у збільшеному масштабі
| Наименование параметра | 3У131 | 3У132 | 3У133 |
|---|---|---|---|
| Основні параметри | |||
| Класс точності по ГОСТ 8-82 | П/В | П/В | П |
| Наибольший диаметр обрабатываемого вироби, мм | 280 | 280 | 280 |
| Наибольшая длина обрабатываемого вироби, мм | 710 | 1000 | 1400 |
| Наибольший диаметр шлифования без люнета, мм | 280 | 280 | 280 |
| Наибольший диаметр шлифования в люнете, мм | 60 | 60 | 60 |
| Наименьший диаметр шлифования при изношенном круге, мм | - | - | - |
| Наибольшая длина шлифования, мм | 710 | 1000 | 1400 |
| Расстояние от оси шпинделя передньої бабки до зеркала стола - высота центров, мм | 185 | 185 | 185 |
| Наибольшая масса обрабатываемого вироби, кг | 55 | 55 | 55 |
| Конус шпинделя передньої бабки і пиноли задньої бабки по ГОСТ 2847-67 | |||
| Кінець шлифовального шпинделя по ГОСТ 2323-67 (конусность 1:5, номинальный диаметр), мм | |||
| Станина і столы верстата | |||
| Наибольшее продольное перемещение стола, мм | 710 | 1000 | 1400 |
| Наименьший ход стола между упорами, мм | 4 | 4 | 4 |
| Ручное перемещение стола за один оборот маховика, мм | 3,1/ 20,5 | 3,1/ 20,5 | 3,1/ 20,5 |
| Скорость переміщення стола от гідросистемы, м/мин | 0,05..5 | 0,05..5 | 0,07..6,0 |
| Наибольший угол поворота верхнего стола по часовий стрелке, град | 3 | 3 | 2 |
| Наибольший угол поворота верхнего стола против часовий стрелки, град | 10 | 8 | 7 |
| Цена деления шкалы поворота верхнего стола, град | 0°20′ | 0°20′ | 0°20′ |
| Цена деления шкалы поворота верхнего стола (конусность), мм/м | 10 | 10 | 10 |
| Шлифовальная бабка | |||
| Диаметр шлифовального круга - наибольший/ наименьший, мм | 600/ 450 | 600/ 450 | 600/ 450 |
| Диаметр шлифовального круга - посадочный, мм | 305 | 305 | 305 |
| Наибольшая высота устанавливаемого круга, мм | 50 | 50 | 63 |
| Частота обертання шпинделя шлифовальной бабки (круг = Ø600мм), об/мин | 1111 | 1111 | 1590 |
| Механізм поперечных подач шлифовальной бабки | |||
| Наибольшее перемещение шлифовальной бабки по винту, мм | 290 | 290 | 290 |
| Величина швидкого подвода шлифовальной бабки, мм | 50 | 50 | 50 |
| Время швидкого подвода шлифовальной бабки, с | 2 | 2 | 2 |
| Толчковая подача - периодическая подача з реверсированием стола, мм | 0,0025..0,025 | 0,0025..0,025 | 0,0025..0,025 |
| Величина тонкой подачі, мм | 0,05 | 0,05 | |
| Величина тонкой толчковой подачі, мм | 0,001 | 0,001 | 0,001 |
| Величина врезной подачі на диаметр вироби, мм | 0,9 | 0,9 | |
| Непрерывная подача для врезного шлифования (бесступенчатое регулювання), мм/мин | 0,1..1 | 0,1..1 | |
| Цена деления лимба поперечної толчковой подачі, мм | 0,005 | 0,005 | 0,005 |
| Величина поперечного переміщення шлифовальной бабки за один оборот маховика, мм | 0,5 | 0,5 | 0,5 |
| Скорость швидкого установочного переміщення шлифовальной бабки, мм/мин | 240 | 240 | 240 |
| Приспособление для внутреннего шлифования | |||
| Наибольший диаметр заготовки, устанавливаемой в патроне, мм | 200 | 200 | 200 |
| Наибольшая длина шлифуемого отверстия, мм | 125 | 125 | 125 |
| Диаметр шлифуемого отверстия, мм | 30..100 | 30..100 | 30..100 |
| Диаметр внутиришлифовальной головки, мм | 25..32 | 25..32 | 25..32 |
| Число оборотів внутришлифовального шпинделя | 1690 | 1690 | 1690 |
| Передня бабка | |||
| Частота обертання вироби (бесступенчатое регулювання), об/мин | 40..400 | 40..400 | 40..400 |
| Конус центра по ГОСТ 13211-67 | Морзе 4 | Морзе 4 | Морзе 4 |
| Наибольший угол поворота передньої бабки к шлифовальному кругу, град | 90 | 90 | |
| Наибольший угол поворота передньої бабки от шлифовального круга, град | 30 | 30 | |
| Задня бабка | |||
| Величина відведення пиноли задньої бабки от руки, мм | 35 | 35 | 35 |
| Привід і електрообладнання верстата | |||
| Количество електродвигателей на станке | 9 | 9 | 9 |
| Електродвигун шпинделя шлифовальной бабки, кВт | 5,5 | 5,5 | 5,5 |
| Електродвигун переміщення шлифовальной бабки, кВт | 0,18 | 0,18 | |
| Електродвигун внутришлифовального шпинделя, кВт | 1,1 | 1,1 | 1,1 |
| Електродвигун приводу вироби, кВт | 0,75 | 0,75 | 0,75 |
| Електродвигун насоса гідросистемы, кВт | 1,5 | 1,5 | 1,5 |
| Електродвигун насоса системы змазки шпинделя, кВт | 0,27 | 0,27 | 0,27 |
| Електродвигун насоса системы змазки направляючих стола, кВт | 0,08 | 0,08 | 0,08 |
| Електродвигун насоса системы охлаждения, кВт | 0,15 | 0,15 | 0,15 |
| Електродвигун магнитного сепаратора, кВт | 0,12 | 0,12 | 0,12 |
| Електродвигун вентилятора гідроагрегата, кВт | 0,12 | 0,12 | 0,12 |
| Електродвигун фильтра-транспортера, кВт | 0,12 | 0,12 | 0,12 |
| Габаритные розміри і масса верстата | |||
| Габаритные розміри верстата (длина х ширина х высота), мм | 5620 х 2585 х 1982 | 5620 х 2585 х 1982 | 5620 х 2585 х 1982 |
| Масса верстата з електрообладнанням і охолодженням, кг | 6200 | 6700 | 7750 |