metalinstryment.com
Довідник по металорізальних верстатів та пресовому обладнанні

5В702ВФ2 Верстат зубошевинговальный напівавтомат
схеми, опис, характеристики

5В702ВФ2 Загальний вигляд  зубошлифовального верстата







Відомості про виробника зубошевинговального верстата 5В702ВФ2

Производитель вертикального зубошевинговального верстата 5В702ВФ2 - Витебский станкостроительный завод имени Коминтерна, основанный в 1877 году.

Более 40 лет из более чем вековой истории завод специализировался на выпуске зубообрабатывающего оборудования для обробки зубьев цилиндрических зубчатых колес.





Продукция Витебского станкостроительного завода имени Коминтерна


5В702ВФ2 Верстат зубошевинговальный напівавтомат. Назначение і область применения

Полуавтомат зубошевинговальный 5В702ВФ2 предназначен для чистовой обробки прямозубых і косозубых цилиндрических колес зовнішнього зацепления в условиях мелкосерийного і серийного производства.

Обработка производится как з поздовжньої подачей вдоль оси колеса, так і з диагональной, а также методами поперечного і врезного шевингования.

На станке также можно обрабатывать зубчасті колеса з бочкообразной і конусной формой зуба.

Возможна робота з адаптивным приводом до плотного зацепления шевера і детали, исключающего холостые ходы при неполном припуске.

Особливості конструкції і принцип роботи верстата

При установці на станке 5В702ВФ2 специального механізма можно изготовлять зубья бочкообразной і конической формы.

Шевингование можно роизводить з поздовжньої, диагональной или поперечної (тангенциальной) подачами, з реверсом или без реверса обертання шевера.

Для шевингования зубчатых колес внутреннего зацепления на верстат вместо шеверной головки для колес зовнішнього зацепления устанавливают специальную головку (см. рис. 71, б) для шевингования колес внутреннего зацепления. Правая бабка заменяется специальным пристрійм для установки і закрепления колеса з внутренними зубьями. Счетчик числа обработанных деталей позволяет следить за своевременной сменой шевера.

Охлаждающая жидкость очищается от стружки в магнитном сепараторе і направляется в емкость охлаждения.

Полуавтомат 5В702ВФ2 имеет высокую ремонтную способность. Все вузли могут быть демонтированы независимо друг от друга без разборки корпусных базовых деталей, что способствует сохранению его точності.

Верстат 5В702ВФ2 имеет повышенную жесткость, надежен в работе, обеспечивает высокую і стабильную точность обробки зубчатых колес.





Розташування складових частин зубошевинговального верстата 5В702ВФ2

5В702ВФ2 Розташування складових частин зубошевинговального верстата 5В702ВФ2

Розташування складових частин верстата 5В702ВФ2


Загальний вигляд верстата приведен на рис. 72. Верстат имеет жесткую станину 1, отлитую из чугуна і представляющую собой стойку з основанием. Станина воспринимает статические і динамические зусилля, возникающие в процессе шевингования. На верхней плоскости станины закреплен корпус 8 з шеверной головкой 6, которая може поворачиваться на угол скрещивания осей. По вертикальным направляющим станины перемещается консоль 2 механізма подач. Стол 3 передвигается по горизонтальным направляющим консоли. В механізме стола имеется поворотная плита для установки угла диагонали. Для зажиму заготовки служат правая і левая бабки, установленные на столе верстата. Зажим обрабатываемого колеса гідрофицирован. Во время обробки зона різання закрывается щитком 5. Панель 7 керування расположена на корпусе 8 шеверной головки. Обрабатываемое колесо, установленное на столе, получает возвратно-поступательное і радиальное рух от механізма подач, а вращательное — от шевера. Процесс шевингования производится в плотном зацеплении при скрещивающихся осях шевера і обрабатываемого колеса. В кінці каждого ходу стола післядний вместе з механізмом подач перемещается вверх на величину радиальной подачі, а число рабочих ходов стола устанавливается путем соответствующего розположення винтов-упоров на барабане керування, который находится в механізме подач. Число калибрующих ходов стола устанавливают переключателем, расположенным на пульті керування.

  1. Станина
  2. Квадрат для поворота плиты на угол подачі
  3. Шкала і нониус установки корпуса копира
  4. Корпус копира
  5. Бабка левая
  6. Шеверная головка
  7. Ограждение
  8. Каретка
  9. Електродвигун обертання шевера
  10. Шкала і нониус установки шеверной головки на угол скрещивания
  11. Квадрат поворота шеверной головки на угол скрещивания
  12. Наладочный пульт керування
  13. Электрошкаф
  14. Рабочий пульт керування
  15. Стол
  16. Електродвигун поздовжньої подачі
  17. Шкала і нониус установки поворотной плиты на угол подачі




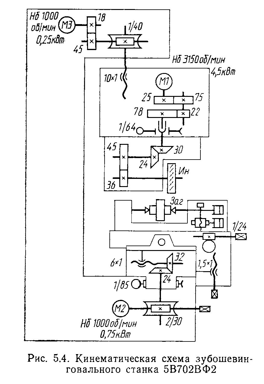
Схема кінематична зубошевинговального верстата 5В702ВФ2 і его налаштування

Схема кінематична зубошевинговального верстата 5В702ВФ2

Кінематична схема зубошевинговального верстата 5В702ВФ2

1. Схема кінематична зубошевинговального верстата 5В702ВФ2. Дивитись у збільшеному масштабі



Кінематична схема напівавтомату 5В702ВФ2 состоит из следующих ланцюгів:

Верстат 5В702ВФ2 состоит из трех независимых кинематических ланцюгів — обертання шевера, поздовжньої і радиальной подачі стола (рис. 5.4).

Таблиця налаштування режимов

Налаштування кинематических ланцюгів верстата 5В702ВФ2

Налаштування кинематических ланцюгів верстата 5В702ВФ2



Кинематическая ланцюг обертання шевера

Шевер И получает вращение от електродвигуна M1 (N = 3 кВт, n=1365 об/мин), установленного в корпусе шеверной головки, через упругую муфту, червячную передачу (3/28), сменные цилиндрические зубчасті колеса гітари скорости (А/В), конические зубчасті колеса (28/30·30/28) і цилиндрические зубчасті колеса (45/36).

Рівняння кінематичної ланцюги обертання шевера:


1365·3/28·А/В·28/30·30/28·45/36 = nш.


Частоту обертання шевера определяют по формуле:


nш = 183·А/В,


где nш — частота обертання шевера, об/мин;

А і В— число зубьев сменных зубчатых колес гітари скорости (табл. 14).

Кинематическая ланцюг поздовжньої (минутной) подачі стола

Продольная подача столу передається от електродвигуна М2 (N = 0,6 кВт, n=1320 об/мин) через упругую муфту, червячную передачу (1/30), сменные цилиндрические зубчасті колеса гітари подачі (D/C), конические зубчасті колеса (15/45·24/32), ходовой винт з шагом P1 = 6 мм.

Рівняння кінематичної ланцюги поздовжньої подачі:


1320·1/30·D/C·15/45·24/32·6=sм.


Продольную подачу стола определяют по формуле:


sм = 66·D/С,


где sм — минутная подача стола, мм/мин;

D і С — число зубьев сменных зубчатых колес гітари подачі (табл. 15).

Кинематическая ланцюг радиальной подачі стола

Радиальная подача стола в вертикальном направлении осуществляется от гідроцилиндра Ц1 через рейку П1 (нарезанную на штоке поршня), находящуюся в зацеплении з колесом z=18 і цилиндрические зубчасті колеса (80/40). На одном валу з колесом 2 = 40 установлен кулак К радиальной подачі і барабан Б. Угол поворота кулака К ограничивается гвинтами-упорами, расположенными на цилиндрической поверхности барабана Б і опирающимися на собачку, перебрасываемую гідроцилиндром Д2 Кулак К имеет ступеньки по торцу (с шагом 1,45 мм). При повороте кулака на минимальный угол 12° шток поршня гідроцилиндра Ц3, контактирующий з кулаком, переместится на 1,45 мм і через рейку П2 (нарезанную на штоке поршня), зубчатое колесо z = 21 і конические зубчасті колеса (17/32) повернет винт В радиальной подачі (шаг Р2 = 6 мм); післядний посредством гайки Г переместит вверх консоль вместе со столом і обрабатываемым колесом.

Величину радиальной подачі стола определяют по формуле:


sр = 1,45/(π·3,5)·H/21·17/32·6 = 0,02H


где sр — радиальная подача стола, мм/ход,

H = 1 ÷ 3 — число интервалов между соседними упорами барабана.

Для налаштування межосьового расстояния между шевером і обрабатываемым колесом консоль можно перемещать вручную при разомкнутой муфте М: вращая за квадрат Т, посредством цилиндрических зубчатых колес (20/80) і конических зубчатых колес (17/32) приводят во вращение винт В радиальной подачі.

Реверсирование обертання шевера і поздовжньої подачі стола осуществляется електродвигунами, которые получают команду от конечных выключателей 2ВК і 4ВК. Если конечные выключатели 2ВК і 4ВК не срабатывают, то верстат останавливается аварийным выключателем ЗВК.

Наладку верстата на шевингование бочкообразной формы зуба осуществляют поворотом (с помощью квадрата Т1) копира К1 на определенный угол, а получение конусной формы зуба достигается наклоном стола з обрабатываемым колесом при помощи винтовой пары В1—Г1.

Подвод і отвод пиноли правой бабки производятся гідроцилиндром Ц5, а зажим і отжим заготовки — гідроцилиндром Ц4.


Наладка зубошевинговального верстата мод. 5В702ВФ2

В значительной степени качество изготовления зубчатого колеса зависит от качества налагодження зубошевинговального верстата, которая должна производиться квалифицированным, специально обученным рабочим-оператором.

Во время роботи на зубошевинговальном станке оператор должен систематически контролировать размер зубьев, погрешность профиля і шага, направление зуба, радиальное биение і шероховатость обработанной поверхности; следить за состоянием шевера, режущих зубчиков і отсутствием стружки в канавках между зубчиками, количеством і качеством СОЖ; выполнять другие необходимые роботи. Кроме того, на участке изготовления зубчатых колес должен быть хорошо организован контроль основних параметров зубчатых колес перед операцией шевингования. Приборы для контроля зубчатых колес следует устанавливать рядом со верстатами, обеспечив при етом нормальные условия роботи етих приборов (отсутствие грязи, стружки, вибраций і т. д.).

Недостаточный контроль предшествующих операций, неквалифицированная наладка шевинговального верстата, некачественное техническое обслуговування оборудования снижают точность окончательной обробки зубчатого колеса, вызывают чрезмерную нагрузку на шевер, в результате чего шевер быстро изнашивается, получает повреждения і теряет точность.

Установка зажимного приспособления

Перед установкой зажимного приспособления на стол шевинговального верстата необходимо проверить параллельность боковых сторон среднего паза 4 з помощью линейки 1 і индикатора 2 і верхней рабочей поверхности стола з помощью линейки 1 і индикатора 3 (рис. 74, а). Индикаторы укрепляют на нерухомою частини верстата, а его измерительный наконечник должен касаться контрольной поверхности линеек. Стол перемещают на длину ходу. Отклонение определяют как разность измерений в начале і в кінці переміщення стола (допуск не более 0,005 мм).


5В702ВФ2 Контроль параллельности рабочих поверхностей верстата 5В702ВФ2

Контроль параллельности рабочих поверхностей верстата 5В702ВФ2


Розміри установочных поверхностей зажимного приспособления или оправки выдерживают в пределах 0,005 мм. Радиальное биение установочной поверхности і торцовое биение опорной поверхности зажимного приспособления должны находиться в пределах 0,005—0,01 мм. Если зубчатое колесо обрабатывается в центрах, то биение оправки 5 у левого і правого центров не должно превышать 0,005 мм (рис. 74, б), а непараллельность линии центров по отношению к направляющим стола на длине 100 мм должна быть не более 0,003 мм (рис. 74, в). Осевой зазор в підшипниках центров не должен превышать 0,003 мм. Биение центров можно проверить как по оправке 5, так і непосредственно по конусной поверхности центров.

Установка обрабатываемого колеса

Зубчатое колесо необходимо шевинговать, используя те же базы, что применяются при зубофрезеровании или зубодолблении, чтобы обеспечить достаточную жесткость і точность обробки. Опорный торец, должен располагаться вблизи зубьев, мати достаточную по площади і хорошо обработанную поверхность. Базовые поверхности заготовки (отверстие, торцы; шейки) должны быть чистыми, не мати забоин і заусенцев. Большие заусенцы, оставленные на заготовке після зубофрезерування, могут вызвать неточную установку зубчатого колеса в приспособлении, внедриться в стружечные канавки шевера і вызвать его поломку; кроме того, заусенцы опасны для оператора. Поетому все заусенцы, полученные при зубофрезеровании, должны быть полностью удалены перед шевингованием.

При шевинговании колес-дисков в качестве базовых поверхностей обычно выбирают посадочное отверстие і опорные торцы губчатого венца. Отверстие, по которому устанавливают зубчатое колесо в пристрій, должно быть точным і выполнено з жесткими допусками. Посадка колеса в приспособлении должна быть скользящей; большой зазор вызывает повышенное радиальное биение і ошибки шага. Базовые торцы зубчатого колеса должны быть перпендикулярны оси колеса і параллельны между собой.

Повышенное биение торцов вызывает погрешности направления зуба. Колеса со шлицевым отверстием обычно базируют по тем же поверхностям, которые используют при сборке, т. е. по наружному или внутреннему диаметру или по боковым поверхностям шлицев. Более высокую точность обробки обеспечивает беззазорное центрирование заготовки на разжимных оправках. Колеса-валы при шевинговании, как правило, базируют по центровым отверстиям. При шевинговании длинных валов рекомендуется устанавливать дополнительные опори (люнеты) в целях уменьшения прогиба вала і повышения точності обробки.

Середина зубчатого венца обрабатываемого колеса 6 должна находиться точно по оси качания стола (что особенно важно при шевинговании зубьев бочкообразной формы); для выполнения етой налагодження используют центрирующий калибр 7 (см. рис. 74, г і д). Левую і правую бабки з зажатым обрабатываемым колесом перемещают так, чтобы нулевая отметка шкалы калибра 7 показывала половину ширины b зубчатого венца з одного торца зубчатого венца. Затем калибр 7 поворачивают на 180°, і в етом положении нулевая отметка также должна показать половину ширины зубчатого венца, но з противоположного торца. После етого бабки закрепляют і снимают центрирующий калибр.

Установка шевера

При установці шевера на шпиндель верстата необходимо, чтобы плоскость, проведенная через ось поворота шпиндельной головки і проходящая через ось качания стола, совпадала з серединой ширины шевера 9 (см. рис. 74, е). Эта установка производится з помощью колец 8 і 10 различной толщины.

Шевер должен храниться і транспортироваться в специальной таре, например в деревянных или пластмассовых ящиках. При наладке верстата его нужно положить горизонтально на деревянную, пластмассовую или другую поверхность. С шевером следует обращаться аккуратно і не ударять его о твердые предметы, поскольку даже легкие удары могут привести к образованию забоин і повреждению зубьев шевера. Перед установкой шевера необходимо тщательно очистить шпиндель і промежуточные кольца, після чего проверить биение шпинделя. Радиальное биение посадочного диаметра і опорного торца шпинделя 12 з контрподдержкой 11 (и без нее) (см. рис: 74, ж) не должно превышать 0,005 мм, а осевой зазор шпинделя без контрподдержки — 0,01 мм.

Перед установкой на верстат шевер необходимо размагнитить. Если шевер был в работе, то следует проверить, нет ли застрявшей стружки или других частиниц в канавках между режущими зубчиками і поломанных зубчиков. Стружку из канавок следует удалить, острые кромки і уголки на сломанных режущих зубчиках затупить мелкозернистым абразивным бруском. Шевер устанавливают на шпиндель по скользящей посадке. Устанавливать шевер на шпиндель з помощью удара категорически запрещается.

После установки і закрепления шевера 13 (см. рис. 74, з) на шпинделе верстата необходимо проверить точность его установки по торцу на максимальном радиусе: биение торца шевера диаметром 300 мм не должно превышать 0,02 мм, диаметром 240 мм — 0,015 мм і диаметром 180 мм — 0,01 мм. Если точность установки шевера на шпиндель верстата соответствует техническим условиям, то устанавливают і закрепляют кронштейн 14, протирают торец шевера і производят повторную проверку торца.

Перед началом роботи шевер необходимо некоторое время вращать на холостом ходу і хорошо смазать смазочно-охлаждающей жидкостью в целях предотобертання возможного задира шевера при его контактировании з обрабатываемым колесом.




Установка угла скрещивания осей шевера і колеса


5В702ВФ2 Изменение поверхности контакта при изменении угла скрещивания осей

Изменение поверхности контакта при изменении угла осей


Изменение поверхности контакта при изменении угла скрещивания осей показано на рис. 75. При совмещении под давлением двух цилиндров (одинакового диаметра і длины), оси которых параллельны, поверхность 1 контакта представляет собой прямоугольник (рис. 75, а). Если один из цилиндров поворачивать относительно другого, то по мере увеличения угла скрещивания осей контактная поверхность будет уменьшаться: при угле скрещивания 15° контактная поверхность 2 превратится в параллелограмм (рис. 75, б), а при угле 90° — в поверхность 3, представляющую собой точку (рис. 75, в). То же самое происходит, если вместо двух цилиндров сопрягаются боковые поверхности зубьев шевера і обрабатываемого колеса. Скрещивание осей под углом 10—15° создает однородное скольжение, начиная з вершины зуба до его основания; площадь контакта при етих углах уменьшается і для снятия стружки требуется незначительное усилие.

При дальнейшем увеличении угла скрещивания контактирующая поверхность между зубьями колеса і шевера продолжает уменьшаться, а условия різання становятся еще более благоприятными. Однако при етом направляющее воздействие зуба шевера на зуб колеса уменьшается, в результате чего возникает погрешность профиля і снижение точності зубьев. Чем больше угол скрещивания осей, тем меньше площадь контакта і тем больше съем стружки.

При малых углах скрещивания контактная поверхность между зубьями колеса і шевера увеличивается і направляющее воздействие улучшается, однако условия різання ухудшаются.

Угол скрещивания у осей определяют как сумму углов наклона линии зуба шевера (βш) і зуба колеса (β) при одинаковом направлении линии зубьев і как разность — при разноименном направлении (табл. 16). Когда шевингуют прямозубые колеса, то угол скрещивания равен углу наклона линии зуба шевера. При обработке обычных сталей γ= 10-15°; внутренних венцов і блок-колес γ = 3..10°; чугуна, цветных металлов і синтетических материалов γ = 20°

При шевинговании новой детали після установки расчетного угла γ шевингуют первую деталь без возвратно-поступательного руху стола (рис. 75, г) і визуально проверяют следы 4 і характер розположення линии резов на зубьях 5 (прямозубого) і 6 (косозубого) колеса. Следы 4 режущих зубчиков должны быть одинаково заметны на всей длине боковой поверхности зуба колеса. Если следы 4 не одинаковы, то соответственно исправляют угол у скрещивания осей до получения одинаковых отпечатков всех режущих зубчиков. Зубья колеса, показанные на рис. 75, д, шевинговались при возвратно-поступательном перемещении стола (на величину 6 мм); видно, что длина різання увеличилась, а характер резов сохранился прежним (см. рис. 75, г).

После шевингования всего зубчатого колеса производят измерение направления линии зуба на приборе или проверяют пятно контакта з измерительным колесом на контрольно-обкатном станке. По результатам измерения производят подналадку верстата, если она необходима. На новой наладке верстата нарезают второе зубчатое колесо з післядующим измерением. Наладка верстата продолжается до получения требуемых параметров обрабатываемого колеса. Грубую регулировку угла скрещивания производят поворотом шпиндельной головки по лимбу з помощью лупы, а точную - индикатором.

Выбор длины ходу стола

Длина ходу стола должна быть ограничена в обоих направлениях для того, чтобы шевер во время шевингования всегда находился в зацеплении з обрабатываемым колесом. Длину ходу стола выбирают таким образом, чтобы точка скрещивания осей немного выходила за торец зубчатого венца обрабатываемого колеса для обеспечения его полной обробки. При всех методах шевингования не рекомендуется выбирать общий ход стола меньше 6 мм, иначе могут оставаться отпечатки режущих кромок зубчиков на профилях зубьев колеса

При параллельном шевинговании длина ходу стола обычно равна сумме ширины зубчатого венца і модуля. При диагональном или тангенциальном шевинговании длину ходу стола определяют расчетным путем і к расчетной длине прибавляют модуль. Не рекомендуется применять длину ходу стола, меньшую расчетной величины.

Выбор направления обертання шевера і направления подачі стола

По аналогии з зубофрезерованием шевингование можно производить встречным і попутным методами. Выбор метода определяется направлением обертання шевера і направлением переміщення стола з обрабатываемым колесом. На рис. 76, а показана схема встречного шевингования, при котором резание осуществляется от обработанной поверхности к необработанной. Режущий зубчик 3, внедряясь в металл, образует канавку 4 на профиле зуба колеса. При следующем резе заготовка переместится влево і зубчик 5 войдет в обработанную канавку і срежет металл в точке 6. Последующее резание будет производиться в направлении необработанной поверхности (рис. 76, в).


5В702ВФ2 Шевингование зубьев

Шевингование зубьев


Если изменить направление руху стола, то обработка будет производиться методом попутного шевингования (рис. 76, б). Вначале зубчик 7 образует канавку 8, а при каждом следующем резе режущий зубчик 9 сначала внедряется в металл на участке 10, а. затем етот участок срезается в направлении обработанной поверхности.

В случае одинакового давления между шевером 1 і обрабатываемым колесом 2 при встречном шевинговании (то сравнению з попутным) обрабатываемость улучшается, а зусилля різання уменьшаются.

Поетому при наладке шевинговального верстата направление обертання шевера і подачі стола следует устанавливать таким образом, чтобы режущие зубчики срезали стружку в направлении необработанной поверхности, что будет соответствовать встречному шевингованию.





Режими різання

При шевинговании определяют три основних параметра режима різання:

  1. окружную скорость шевера
  2. продольную подачу стола
  3. радиальную подачу стола

Дополнительно определяют число продольных ходов стола і величину припуска под шевингование.

Окружная скорость шевера на практике принимается υо = 90..130 м/мин і уточняется з учетом часу обробки і стойкости инструмента. Частота обертання шевера nш=1000υо/(zо·Mо·π),

где zо — число зубьев шевера;

mо — модуль шевера.

Частота обертання обрабатываемого колеса n = nш(zо/z),

где z — число зубьев обрабатываемого колеса.

С увеличением окружной скорости стойкость шевера снижается.

Продольная подача (на оборот колеса), применяемая обычно при параллельном і диагональном шевинговании, sпр = 0,15..0,50 мм/об. Хорошие результаты обеспечиваются при sпр = 0,25 мм/об. Минутная подача.


sм = sпр·n = 0,25·nш(z0/z).


На практике принимают sм = 75..125 мм/мин.

Когда шевингование производят з двумя продольными подачами стола (черновой і чистовой), то черновая подача вдвое больше чистовой. Например, при обработке зубчатого колеса (z = 28, mn = 4,5 мм, b = 31 мм, р = = 19°31/) назначают следующий режим різання: диаметр шевера 243 мм; υo=100 м/мин; sM=100 мм/мин (черновая) і 50 мм/мин (чистовая); четыре рабочих ходу і два калибрующих; tО=1,54 мин.

С увеличением поздовжньої подачі стола увеличивается производительность верстата, но ухудшается качество обрабатываемой поверхности і точность обробки.

Если диаметр обрабатываемого колеса значительно, меньше диаметра шевера, то частота обертання колеса становится значительной. В етом случае необходимо уменьшить частоту обертання шевера. Например, при zo/z>6 частоту обертання шевера уменьшают на 30— 40%. Частоту обертання шевера также уменьшают при недостаточной жесткости обрабатываемого колеса. Если же диаметр шевера меньше диаметра обрабатываемого колеса, то частоту обертання шевера увеличивают. В ряде случаев для сохранения производительности верстата при уменьшении частоти обертання шевера продольную подачу стола увеличивают, а при увеличении — уменьшают.

С помощью радиальной подачі обрабатываемое колесо перемещается вертикально в направлении шевера за каждый ход стола. При параллельном і диагональном шевинговании радиальная подача осуществляется ступенчато во время реверсирования поздовжньої подачі стола. Радиальная подача sp=0,10..0,02 мм. Максимальную подачу применяют в начале різання (при черновой обработке), а затем она постепенно уменьшается до наименьшего значения (при чистовой обработке). Последние два — четыре ходу стола выполняют без радиальной подачі для уменьшения шероховатости обрабатываемой поверхности і повышения точності обробки. Радиальная подача на каждый ход стола заранее выбирается і устанавливается з помощью барабанного пристроя путем установки по периферии барабана винтовупоров; интервалы между гвинтамиупорами соответствуют радиальным подачам на каждый ход стола.




Верстат зубошевинговальный напівавтомат. Відеоролик.




    Список литературы:

  1. Колев Н.С. Металлорежущие верстати, 1980, стр.159.
  2. Гальперин Е.И. Наладка зуборезных верстатів, 1960.
  3. Козлов Д.Н. Зуборезные роботи, 1971.
  4. Лоскутов В.В., Ничков А.Г. Зубообрабатывающие верстати, 1978.
  5. Малахов Я.А. Зубообрабатывающие і резьбофрезерные верстати і их наладка, 1972.
  6. Мильштейн М.З. Нарезание зубчатых колес, 1972.
  7. Овумян Г.Г., Адам А.И. Справочник зубореза, 1983.
  8. Птицин Г.А., Кокичев В.Н. Зуборезные верстати, 1957.
  9. Сильвестров Б.Н., Захаров И.Д. Конструкція і наладка зуборезных і резьбофрезерных верстатів, 1979.
  10. Шавлюга Н.И. Расчет і примеры наладок зубофрезерных і зубодолбежных верстатів, 1978.
  11. Руководящий материал для конструкторов, проектирующих технологическую оснастку. Основні данные і посадочные места металлорежущих верстатів. НИИМАШ, 1968.









Заказать

Кто владеет информацией - тот владеет миром.

Натан Ротшильд