metalinstryment.com
Довідник по металорізальних верстатів та пресовому обладнанні

7Б57 Верстат горизонтально-протяжной
опис, характеристики, схеми

7Б57 Верстат горизонтально-протяжной







Відомості про виробника протяжного верстата 7Б57

Разработчиком і изготовителем горизонтально-протяжного верстата 7Б57 является Минский станкостроительный завод имени С.М.Кирова, основанный в 1881 году.





Верстати, выпускаемые Минским станкостроительным заводом имени С.М.Кирова


7Б57 Верстат протяжной горизонтальный для внутреннего протягивания. Назначение і область применения

Верстат протяжной горизонтальный 7Б57 производился начиная з 1973 года. Верстат снят з производства і был заменен на более совершенную модель 7523. В настоящее время заводом выпускаются более совершенные горизонтальные протяжные автоматы і напівавтоматы: 7А523, 7А534, 7А545, 7555.

Горизонтально-протяжной верстат 7Б57 предназначен для обробки методом протягивания предварительно обработанных или черновых сквозных отверстий различной геометрической формы і размеров деталей из черных і цветных металлов і сплавов. При помощи специальных пристосувань можно обрабатывать наружные поверхности.

Протяжной верстат 7Б57 отличается большой производительностью, високою точностью обробки.

Наиболее еффективно использование верстата 7Б57, 7Б55, 7Б56 — в массовом і крупносерийном производстве. Простота переналагодження верстата позволяет применять его в мелкосерийном і единичном производстве.

При использовании специальных пристосувань, на нем можно также протягивать і наружные поверхности разнообразных профилей.

Верстати моделей 7Б56У і 7Б55У (рис.1б) пригодны для использования в условиях индивидуального і мелкосерийного производства для обробки методом протягивания деталей, масса режущего инструмента (протяжки) для которых не превышает 8 кг.

Конструктивные особливості протяжного горизонтального верстата 7Б57:

Принцип роботи верстата 7Б57 состоит в том, что обработка нерухомою заготовки производится при поступательном перемещении рабочих салазок з закрепленными на них инструментом.

По согласованию з заказчиком верстат 7Б57 поставляется как в универсальном виконанні, так і со специальными приспособлениями і инструментом для обробки одной или нескольких определенных деталей.

При оснащении автоматизированными приспособлениями для подачі і съема обрабатываемых деталей верстат 7Б57 може работать в автоматическом цикле, а также встраиваться в автоматические линии.

Привід верстата 7Б57 гідравлический, регулювання скорости робочого і обратного ходов бесступенчатое.

Отвод і подвод протяжки к рабочему патрону, а также процесс різання механизированы.

Для удобства обслуживания в станке предусмотрены механізм регулировки длины ходу рабочих салазок, централизованная принудительная смазка направляючих, сигналізація о затуплении протяжки при помощи електроконтактного манометра, фильтрация масла в гідросистеме.

Пусковая і предохранительная електроаппаратура размещена в отдельном електрошкафу, что облегчает її обслуговування і увеличивает срок службы.

Применение бесконтактных путевых переключателей, слаботочной електроапаратури керування і електроапаратури керування і електромагнитов постоянного тока обеспечивает высокую надежность роботи електроустаткування.

Повышенная жесткость і виброустойчивость конструкції верстата позволяет работать во всем диапазоне рабочих швидкостей і тяговых усилий, сохраняя при етом высокий класс чистоты обработанной поверхности і стойкость протяжки.

По особому заказу за отдельную плату верстат комплектуется поддерживающей призмой, позволяющей компенсировать массу обрабатываемой детали і упростить процесс її установки относительно оси протягивания і грузоподъемником для установки і снятия тяжелых обрабатываемых деталей і протяжек.

По желанию заказчика верстат може быть изготовлен в одном из двух исполнений: з приставной станиной или без нее (модель 7Б57У), а также поставляться как в универсальном виконанні, так і со специальным пристрійм і инструментом для обробки одной или нескольких определенных деталей.

Верстат аттестован по первой категории качества.

Шероховатость обработанных поверхностей Rz20—Ra 0,63 мкм (V5 — V8).

Класс точності верстата Н по ГОСТ 8—77.

Корректированный уровень звуковой мощности LpA не превышает 108 дБА.

Проектная организация — Минское специальное конструкторское бюро протяжных верстатів.


Основні технические характеристики горизонтального протяжного верстата 7Б57

Проектная организация — Минское специальное конструкторское бюро протяжных верстатів.

Минский станкостроительный завод имени С.М.Кирова. Начало серийного производства 1973 год.


7Б57 Габарит робочого простору протяжного верстата

Габарит робочого простору протяжного верстата 7Б57

Габарит робочого простору протяжного верстата 7Б57

Габарит робочого простору протяжного верстата 7Б57. Дивитись у збільшеному масштабі



7Б57 Фото протяжного горизонтального верстата

Фото протяжного горизонтального верстата 7Б57

Фото протяжного горизонтального верстата 7Б57

Фото протяжного горизонтального верстата 7Б57. Дивитись у збільшеному масштабі



Фото протяжного горизонтального верстата 7Б57

Фото протяжного горизонтального верстата 7Б57

Фото протяжного горизонтального верстата 7Б57. Дивитись у збільшеному масштабі



Фото протяжного горизонтального верстата 7Б57

Фото протяжного горизонтального верстата 7Б57

Фото протяжного горизонтального верстата 7Б57. Дивитись у збільшеному масштабі



Фото протяжного горизонтального верстата 7Б57

Фото протяжного горизонтального верстата 7Б57

Фото протяжного горизонтального верстата 7Б57. Дивитись у збільшеному масштабі



Фото протяжного горизонтального верстата 7Б57

Фото протяжного горизонтального верстата 7Б57

Фото протяжного горизонтального верстата 7Б57. Дивитись у збільшеному масштабі



Фото протяжного горизонтального верстата 7Б57

Фото протяжного горизонтального верстата 7Б57

Фото протяжного горизонтального верстата 7Б57. Дивитись у збільшеному масштабі



7Б57 Розташування органів керування протяжным горизонтальным верстатом

Розташування органів керування протяжным горизонтальным верстатом 7Б577

Розташування органів керування протяжным горизонтальным верстатом 7Б57

Розташування органів керування протяжным горизонтальным верстатом 7Б57. Дивитись у збільшеному масштабі



Пульт керування протяжным горизонтальным верстатом 7Б577

Пульт керування протяжным горизонтальным верстатом 7Б57

Пульт керування протяжным горизонтальным верстатом 7Б57. Дивитись у збільшеному масштабі







Техническое опис

Настоящее руководство по експлуатации з обозначением. 7Б56.000.001.00 распространяется, на гамму горизонтально-протяжных верстатів моделей 7Б55, 7Б56, 7Б57, 7Б55У і 7Б56У.

Общая компоновка верстата включает жесткое крепление основной і приставной станин между собой, привід рабочих салазок от гідроцилиндра, расположенного на основной станине, і отдельно стоящий комплектный гідропривід електрошкаф. В верстатах 7Б56У і 7Б55У приставная станина отсутствует.

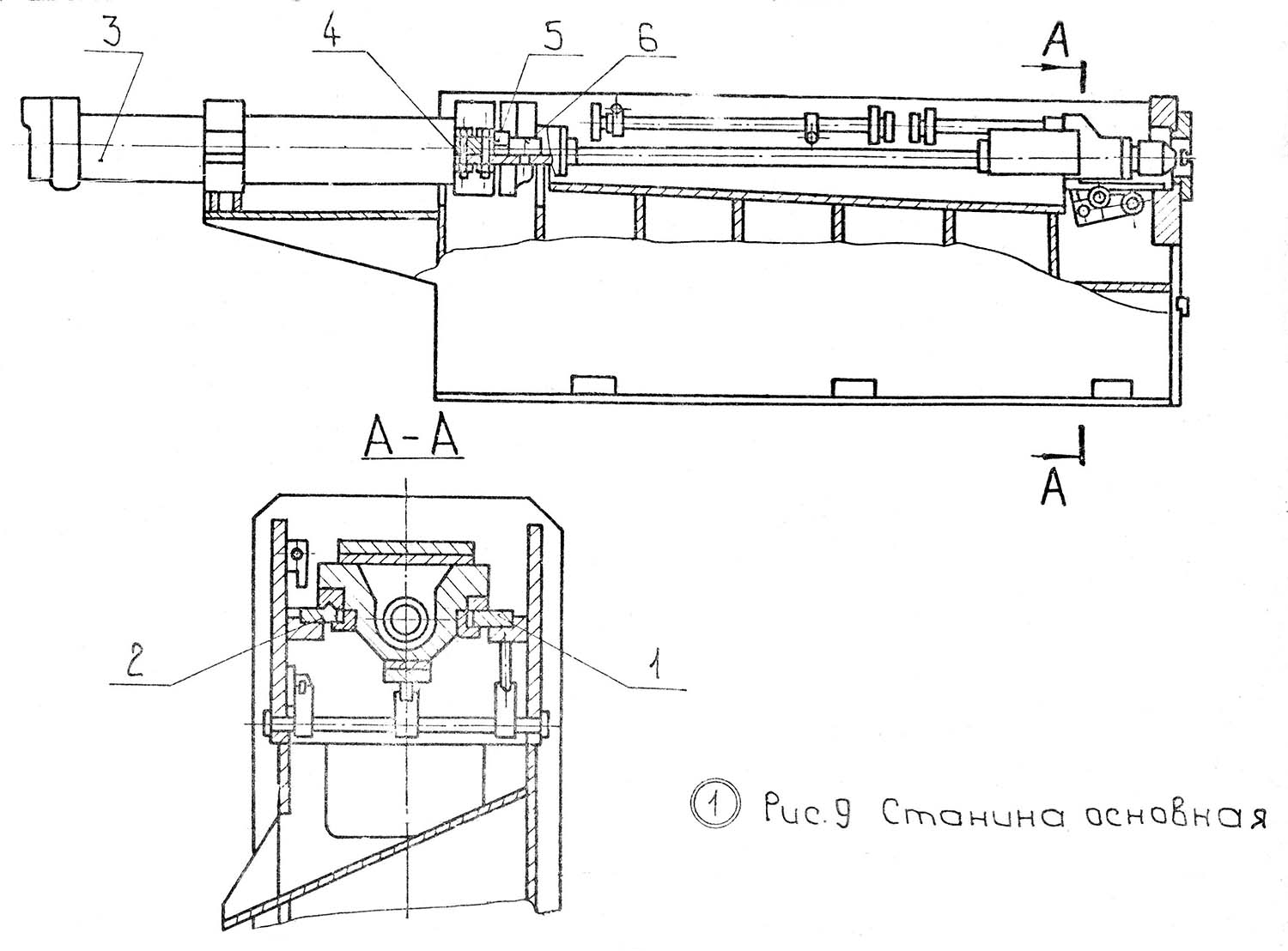
Станина основная (рис.9)

Станина основная горизонтального верстата 7Б57

Станина основная горизонтального верстата 7Б57

Станина основная горизонтального верстата 7Б57. Дивитись у збільшеному масштабі



Станина основная служит для монтажа вузлів, обеспечивающих рабочий ход верстата. Представляет собой сварную конструкцию из двух боковиц, ужесточенных поперечными ребрами і коритообразным гнутым профилем, связывающим в одно целое боковые стенки, постельные планки і поперечные ребра. Замыкающим звеном в передньої частини является массивная опорная плита.

Внутри станины на постельных планках установлены сменные привертные каленые направляющие планки:

Крепление V образной планки, обеспечивающей точность переміщення рабочих салазок з режущим инструментом, выполнено в упор в двух плоскостях.

В задньої частини станины на постельные планки устанавливается рабочий цилиндр 3. Необходимая жесткость крепления цилиндра обеспечивается призонными гвинтами 4 і клиньями 5, установленными между хомутом передньої крышки цилиндра і неподвижными упорами 6, закрепленными к постельным планкам. В передньої частини станины имеется склиз, по которому стружка з охлаждающей жидкостью выводится наружу в приемный ящик для стружки.

Салазки рабочие (рис. 10)

Салазки рабочие горизонтального верстата 7Б57

Салазки рабочие горизонтального верстата 7Б57

Салазки рабочие горизонтального верстата 7Б57. Дивитись у збільшеному масштабі



Салазки рабочие служат для переміщення робочого патрона, поддержки штока робочого цилиндра і связи штока з рабочим патроном. Представляют собой чугунную отливку з привернутыми бронзовыми направляющими планками I. Салазки разгружены і не передают тягового зусилля. Это достигается за счет гайки 2 разрезной втулки 3, связывающих между собой шток робочого гідроцилиндра і хвостовик робочого патрона.

В передньої частини рабочих салазок установлена втулка 4, которая имеет коническое отверстие для центрирования і посадки хвостовика робочого патрона.

Затяжка хвостовика робочого патрона на конус производится вращением гайки 2, расположенной в корпусе рабочих салазок. Извлечение патрона при его смене производится з помощью клина, который вставляется между торцем фланца 5 і задньої стенкой корпуса робочого патрона. Применение в салазках привернутых направляючих планок 6 позволяет осуществлять компенсацию износа направляючих станины і рабочих салазок.

Ролик поддерживающий в основой станине (рис.11)

Служит для поддержки протяжки в тот момент, когда задний хвостовик протяжки вышел из вспомогательного патрона.

Вес протяжки, передающийся ролику 1, компенсируется пружиной сжатия 2, которая исключает провисание протяжки в рабочем патроне і предупреждает удары заднего хвостовика протяжки в передний торец вспомогательного патрона в начале обратного ходу.

Регулювання на нужный диаметр протяжки осуществляется вращением регулировочного гвинта 2 в нужную сторону. Утапливание ролика в положении, когда рабочий патрон находится у спорной плиты основной станины, осуществляется обратным ходом рабочих салазок, у которых для етой цели имеется спеціальний копир 8 (см.рис.10).

Люнет основной (рис.12)

Люнет основной в станке 7Б57 выполнен подвижным і служит для поддержки протяжки в тот момент, когда задний хвостовик вышел из вспомогательного патрона. Перемещается от рабочих салазок, связь з которыми осуществляется через механізм захвата (рис.13). Момент захвата для конкретной длины протяжки обеспечивается налаштуванням регулируемого копира в основной станине в нужном положении.

Вес протяжки, воспринимающийся поддерживающим роликом I люнета, передається через реечную передачу поворотному рычагу 2 і далее копиру, закрепленному на станине. Регулювання на нужный диаметр протяжки осуществляется вращением регулировочной гайки 3. Утапливание ролика в крайнем переднем положении осуществляется специальной пружиной сжатия. Для компенсации погрешности установки поддерживающего ролика на нужный диаметр протяжки используются тарельчатые пружины 4, которые исключают поломку механізма основного люнета.

Механізм захвата (рис.13) в станке 7Б57 смонтирован на рабочих салазках, имеет привід от пружину кручения 1, усилие которой через винтовую пару передається двум цанговым зажимам 2, охватывающим транспортные скалки, 3, закрепленные на корпусе люнета основного.

Механізм регулировки ходу верстата (рис. 14)

Механізм служит:

Представляет собой конструкцию, состоящую из двух валиков I, передвижных упоров 2,3,4,5 і рычагов 6, которые преобразуют угловой поворот валиков в возвратно-поступательное рух пальцев 3 механізма увімкнення (рис.15). Пальцы через алюминиевые лепестки 5 воздействуют на конечные выключатели 6. Сами конечные выключатели вынесены из станины і помещены в спеціальний корпус. Налаштування на нужную величину робочого ходу і замедления в кінці робочого ходу осуществляется переміщенням подвижных поворотных рычагов (см.подробнее Инструкцию по експлуатации п.2.5.4).

Патрон рабочий (рис.16)

Патрон рабочий служит для захвата протяжки за рабочий хвостовик і для передачи тягового зусилля от робочого гідроцилиндра режущему инструменту. Представляет собой конструкцию, состоящую из корпуса 2 і двух несущих валиков 1, которые в рабочем положении обеспечивают передачу тягового зусилля от гідроцилиндра к протяжке, а в раскрытом положении освобождают хвостовик і позволяют протяжке осуществлять процесс відведення. Раскрытие патрона осуществляется от регулируемого упора, установленного на лобовой плите станины (см.подробнее Инструкцию по експлуатации п.2.5.4).

Поворот кулачков в рабочее положение осуществляется от пружины сжатия, установленной в корпусе патрона. Предотвращение ударов переднего хвостовика протяжки при її подводе осуществляется за счет упругого буфера 3, амортизирующего удары протяжки.

Цилиндр рабочий (рис.17)

Цилиндр рабочий горизонтального верстата 7Б57

Цилиндр рабочий горизонтального верстата 7Б57

Цилиндр рабочий горизонтального верстата 7Б57. Дивитись у збільшеному масштабі



Цилиндр рабочий служит основным рабочим органом верстата, который сообщает рух рабочим салазкам і создает тяговое усилие, необходимое для процесса протягивания.

В станке применена тянущая схема, по которой в процессе робочого ходу шток работает на растяжение, і рабочей полостью является штоковая з полезной площадью, равной разности площадей поршня і штока, розміри рабочей площади гідроцилиндра определяют величину робочого руху, обеспечивающего номинальное тяговое усилие.

Станина приставная (рис. 13)

Станина приставная служит для монтажа вузлів, обеспечивающих автоматизацию процесса ввода, відведення і сопровождения протяжки. С целью обеспечения полного сопровождения протяжки і приставной станины

Салазки вспомогательные ( рис. 19)

Салазки вспомогательные служат для переміщення вспомогательного патрона і для обеспечения сопровождения протяжки в процессе різання. Представляют собой корпус 1 з привернутыми бронзовыми направляющими планками 2, обеспечивающими компенсацию износа направляючих станины і самих салазок.

На вспомогательных салазках установлен кронштейн 3 со втулкой 4, которая имеет коническое отверстие для центрирования і посадки хвостовика вспомогательного патрона. Извлечение патрона при его смене производится з помощью клина, который вставляется между торцем фланца 5 і задньої стенкой корпуса патрона.

Ролик поддерживающий в приставной станине (рис.20)

Служит для поддержки протяжки в процессе її подвода і відведення. Перемещается усилием вспомогательного гідроцилиндра.

Конструкція передбачає:

олик поддерживающий перемещается по круглым направляющим скалкам 3. Направляющие разгружены і не воспринимают веса протяжки.

Люнет вспомогательный (рис. 21)

Люнет вспомогательный в станке 7Б57 в отличие от ролика поддерживающего, описанного в п.1.3.15, перемещается по направляющим станины.

Вес режущего инструмента, воспринимаемый поддерживающим роликом 1, передається через червячную передачу поворотному рычагу і далее копиру, закрепленному на станине. Для компенсации погрешности установки поддерживающего ролика на нужный диаметр протяжки используются тарельчатые пружины 2, исключающие поломку механізма вспомогательного люнета.

Патрон вспомогательный (рис. 22)

Патрон служит:

Представляет собой конструкцию, состоящую из корпуса 1 і двух несущих валиков, которые в рабочем положении обеспечивают захват вспомогательного хвостовика протяжки, а в раскрытом - освобождают протяжку і позволяют режущему инструменту переместиться за опорный торец планшайби. Раскрытие патрона осуществляется от упора, закрепленного на приставной станине.

Поворот кулачков в рабочее положение осуществляется задним хвостовиком протяжки в процессе обратного ходу.

Конструкція передбачає:

Механізм фиксации і расфиксации (рис. 23)

Механізм служит для фиксации і расфиксации в определенные моменты часу вспомогательных салазок і поддерживающего ролика, тем самым обеспечивая подвод і отвод протяжки.

Приспособление технологическое (рис.25)

Приспособление поставляется по спецзаказу за отдельную плату только для верстатів 7Б56 і 7Б55 і служит для протягиваний шпоночных пазов в отверстиях различных диаметров.

Механізм поддержки детали (рис.26)

Для верстатів 7Б56, 7Б55, 7Б57 Механізм поставляется по спец-заказу за отдельную плату только для верстатів 7Б56, 7Б55 і 7Б57. Служит для компенсации, влияния массы обрабатываемых деталей на протяжку во время протягивания.

Грузоподъемник

Грузоподъемник поставляется по спецзаказу за отдельную плату только для верстатів 7Б56, 7Б55 і 7Б57 і служит подъемно-транспортным средством непосредственно в зоне верстата.

Воздушный теплообменник

Воздушный теплообменник поставляется по спецзаказу за особую плату только для верстатів 7Б56, 7Б55 і 7Б57 і служит для понижения температуры масла в баке. Теплообменник соединен трубопроводом з баком, насосной установки.


Режими роботи верстата

Верстат може работать в следующих режимах:

Нужный цикл верстата избирается переключателем циклов (рис.5,поз.10), причем верстати 7Б56, 7Б55 і 7Б57 переключателем циклов настраиваются на один из режимов роботи:

Опис полного полуцикла

Исходное положение:

Протяжка своим задним хвостовиком заводится во вспомогательный патрон, передний її хвостовик поддерживается роликом. Налаштування поддерживающего ролика по высоте, установка механізма фиксации і вспомогательных салазок з патроном в зависимости от длины режущего инструмента производится согласно соответствующим пунктом раздела ''Инструкция по експлуатации", п.2.5.4.

Обрабатываемая деталь или непосредственно одевается на переднюю часть протяжки, или закрепляется в специальном приспособлении, которое установлено на рабочей поверхности опорной плиты верстата.

Нажатием кнопки "Пуск цикла" (рис.5, поз. 13) начинается полный полуцикл. Осуществляется подвод протяжки. Протяжка, находясь своим задним хвостовиком во вспомогательном патроне, а передньої частью на поддерживающем ролике, усилием вспомогательного гідроцилиндра перемещается к рабочему патрону. Передний хвостовик протяжки заходит в рабочий патрон, вспомогательный ролик в приставной станине в крайнем переднем положении опускается, давая возможность вспомогательным салазкам з патроном в процессе робочого ходу поддерживать задний хвостовик протяжки і осуществлять полное сопровождение.

Окончание подвода режущего инструмента - сигнал для дальнейших движений верстата. Начинается рабочий ход. В начале руху протяжка з обрабатываемой деталью нерухома, движутся рабочие салазки з патроном. Патрон при своем движении сходит з упора, закрепленного на станине, і за счет пружины сжатия осуществляется поворот несущих кулачков в рабочее положение, обеспечивающее захват хвостовика протяжки- Своевременность закрытия і захвата рабочим патроном протяжки, обеспечивается правильностью установки рабочих салазок з патроном в крайнем переднем положении, правильностью налаштування регулируемого упора для раскрытия патрона і положением переднего хвостовика протяжки в рабочем патроне в момент окончания подвода протяжки.

Установку рабочих салазок з патроном і правила регулировки упора для раскрытия патрона производить согласно разделу "Инструкция по експлуатации", п.2.5.4.

Осуществив захват режущего инструмента, рабочий патрон, закрепленный на салазках, перемещает протяжку относительно нерухомою заготовки. Настроенная рабочая скорость, выбранная в соответствии з "Графиком режимов роботи верстати" (рис.39,40,41), обеспечивает необходимую производительность верстата. В зависимости от требуемой чистоты протянутой поверхности і в соответствии з указаниями пунктов 2.5.4...2.5.6 "Инструкции по експлуатации" производится налаштування необходимой скорости і длины замедления. . В кінці робочого ходу вспомогательный патрон з салазками, увлекаемый протяжкой, наезжает на регулируемый упор, который устанавливается в соответствии з пунктом 2.5.,4 "Инструкции по експлуатации".

Вероятность консольного защемления режущего инструмента і момент, когда задний хвостовик протяжки вышел из вспомогательного патрона, устраняется тем, что в етот момент вступает в работу поддерживающий ролик, расположенный в основной, станине. Этот ролик, настроенный в соответствии з указаниями пункта 2.5.4., своей пружиной контролирует вес протяжки і тем самым исключает провисание протяжки і предупреждает удары заднего хвостовика во вспомогательный патрон в начале обратного ходу.

Заканчивается рабочий ход, стоп полуцикла осуществляется після окончания робочого ходу і нажатия конечного выключателя "Стоп робочого ходу".

В етот момент:

После повторного нажатия кнопки "Пуск цикла" начинается полуцикл обратного ходу і відведення протяжки. Во время обратного ходу задний хвостовик протяжки заходит во вспомогательный патрон. Дальнейшим движением протяжки патрон сходит з упора і закрывается. В кінці обратного ходу рабочие салазки утапливают поддерживающий ролик в основной станине, рабочий патрон беспрепятственно проходит до упора раскрытия робочого патрона. Осуществляется раскрытие робочого патрона і плавная, остановка его на замедленной скорости.

Окончание обратного ходу дает команду на отвод протяжки. Поддерживающий ролик в приставной станине движением вспомогательного гідроцилиндра устанавливается в рабочее положение, при котором он начинает поддерживать протяжку. Установка ролика в рабочее положение происходит раньше, чем передний хвостовик полностью выйдет из робочого патрона. Этим исключается консольное защемление протяжки во вспомогательном патроне. Происходит процесс відведення протяжки, стоп полуцикла дает исходное положение.

Верстат подготовлен для повторной роботи.

Опис простого полуцикла

Протяжка своим переданы хвостовиком заводится в рабочий патрон.

Предполагается, что обрабатываемая деталь предварительно была одета или непосредственно на переднюю часть протяжки или закреплена в специальном приспособлении на станке. Нажатием кнопки "Пуск цикла" начинается простой полуцикл. Осуществляется рабочий ход - замедленный рабочий ход - конец робочого ходу, описанные подробно в п. 1.3.21.

Заканчивается рабочий ход.

Стоп полуцикла осуществляется після окончания робочого ходу і нажатия конечного выключателя "Стоп робочого ходу".

В етот момент:

После повторного нажатия кнопки "Пуск цикла" начинается полуцикл обратного ходу.

В кінці обратного ходу рабочие салазки утапливают поддерживающий ролик в основной станине, рабочий патрон беспрепятственно проходит до упора раскрытия патрона. Осуществляется раскрытие патрона і плавная остановка его на замедленной скорости.

Требуется ручное извлечение протяжки, установка новой заготовки, процесс може повторяться.


7Б57 Гідравлічна схема протяжного горизонтального верстата

7Б57 Гідравлічна схема протяжного горизонтального верстата

Гідравлічна схема протяжного горизонтального верстата 7Б57 (Рис.153)

Гідравлічна схема верстата 7Б57. Дивитись у збільшеному масштабі



Гідропривід (рис. 153) осуществляет рабочие і вспомогательные руху исполнительных органів верстата в рабочем цикле.

Протяжка подводится і отводится вспомогательным гідроцилиндром 31, который питается от пластинчатого насоса 22 через фильтр грубой і тонкой очистки 24 і 25. В исходном положении управляющий распределитель 28 находится в средней позиции. Масло от шестеренчатого насоса керування 6 подведено под оба торца гідрораспределителя 26, что удерживает его также в среднем положении. При етом правая часть гідроцилиндра 31 изолирована, а левая — соединена со сливом.

Нажатие кнопки «Пуск цикла» включает електромагнит Э6. Распределитель 28 переключается влево, соединяя магистрали 12 і 29 между собой, а трубопровод 27 со сливом, масло подается под правый торец гідрораспределителя 26, передвигая его влево. Трубопроводы 30 і 32 оказываются соединенными между собой і насосом 22. Давление в обеих полостях цилиндра 31 одинаково, площадь правой, бесштоковой полости больше, чем левой, — поршень движется влево і протяжка проводится к левому патрону. Масло из левой полости цилиндра перетекает в правую полость, увеличивая поток насоса 22.

Рабочий цилиндр 35 получает масло от радиально-поршневого реверсивного насоса 1. При рабочем ходе напорной является магистраль 13—33—34, а сливной 36—37—14. Часть сливающегося масла питает насос; избыток сбрасывается через клапанную коробку 7 і напорный золотник 8. При обратном ходе масло от насоса поступает через трубопроводы 14 і 36. Масло, вытекающее из цилиндра, не може пройти через обратный клапан 33 і перетекает из правой в левую частини цилиндра через обратный клапан 37. Из бака масло забирается через обратный клапан 5 і клапанную коробку 7.

В исходном положении обе полости насоса 1 соединены трубопроводом 4 через переливной клапан 2 в позиции Б. Это предотвращает самопроизвольное рух салазок при неточной налаштуванні нулевого положения насоса. Перед движением салазок клапан 2 переводится в положение А і полости насоса разъединены. В зависимости от направления (вправо — влево) смещения статора относительно ротора всасывающая і нагнетательная полости насоса меняются назначением, а следовательно, изменяется скорость переміщення салазок.

Различные смещения статора устанавливают при наладке регулировочными гвинтами 19, которые служат упорами для штоков поршней 21. Положение диска 20 і связанного з ним статора определяется одним поршнем 21. При включении електромагнита 31, переключающего распределитель 15, происходит рабочий ход, который ускоряется при дополнительном включении 32, вызывает обратный ход, который замедляется при включении електромагнита 34. Порядок і момент переключения електромагнитов зависят от расстановки конечных выключателей. Предохранительные клапаны 3 і 9, напорные золотники 10, 11, 23 і 38 сбрасывают часть масла на слив при повышении давления в определенных магистралях до значения, большего, чем давление при налаштуванні.


7Б57 Гідравлічна схема протяжного горизонтального верстата

Гідравлічна схема протяжного горизонтального верстата 7Б57

Гідравлічна схема верстата (рис. 69). Две наклонные стрелки на условном обозначении робочого 1 і вспомогательного 8 цилиндров означают, что они имеют регулируемое торможение (замедление) в кінці ходу при движении в обоих направлениях. Все гідравлические агрегаты верстата смонтированы на баке 12 емкостью 1250 л. Толстыми лініями на рис. 69 показаны линии связей всасывания, напора і слива. Линии связи керування показаны тонкими лініями. Линии связи керування 4—7 позволяют контролировать давление в вузлівых точках гідравлической схеми. Давление контролируется з помощью манометра 3, к которому через гідропульт I післядовательно подключается любая из перечисленных линий связи керування. Линия 4 позволяет контролировать давление в штоковой полости робочого цилиндра при рабочем ходе; лінія 5 — в бесштоковой полости робочого цилиндра при обратном ходе; лінія 6 — в лініях керування работой гідроагрегатов; лінія 7 — в линии напора вспомогательного цилиндра. Кроме манометра 5 в гідравлической схеме верстата предусмотрен управляющий електроконтактный манометр 2: Этот манометр» настраивают на давление, увеличенное примерно на 30% по сравнению з давлением в начале роботи новым или заточенным инструментом. При затуплении протяжки максимальное давление в штоковой полости будет возрастать. Когда прирост давления достигнет 30%, что соответствует предельно-допустимой величине затупления, електроконтактный манометр включает сигнальную лампочку на пульті керування 4 (см. рис. 67) верстата. Это сигнал к переточке или смене протяжки, чтобы исключить поломку инструмента і предупредить появление брака.

Вспомогательный цилиндр получает привід от лопастного насоса 10 (см. рис. 69), который под давлением подает масло через фильтр 11 к реверсивному гідрораспределителю керування. Предохранительный клапан 9 позволяет поддерживать давление на заданном уровне.

Агрегат III радиально-поршневого насоса включает в себя кроме самого насоса всю необходимую аппаратуру керування, позволяющую регулировать производительность насоса при переходе з обычного на замедленный ход і наоборот, менять направление руху штока, поддерживать давление в полостях робочого цилиндра на заданном уровне.

Конечные выключатели 1ПВ—6ПВ дают команды на срабатывание золотників (распределителей) в системах керування движением робочого і вспомогательного цилиндров. Верстат може работать в режиме полного или простого полуцикла, а также в наладочном режиме. Циклограммы роботи верстата приведены на рис. 70. В квадратах показаны включенные в данный момент приборы.


Циклограмма роботи протяжного верстата 7Б57 в режиме полного і простого полуцикла

Циклограмма роботи протяжного верстата 7Б57 в режиме полного і простого полуцикла

Циклограмма роботи протяжного верстата 7Б57

В режиме полного полуцикла (см. рис. 70,а) післядовательность роботи верстата будет следующей. В исходном состоянии рабочие і вспомогательные салазки будут находиться в крайнем правом положении. Исходное положение поршня робочого гідроцилиндра на рис. 69 показано тонкими лініями. Переключатель режима роботи верстата на пульті керування 4 (см. рис. 67) установлен в положение «Полный полуцикл».

После нажатия кнопки керування (КУ) «Пуск цикла» реверсивный золотник направляет масло от лопастного насоса 10 (см. рис. 69) в бесштоковую полость вспомогательного цилиндра 8. Поршень вспомогательного цилиндра перемещается влево, осуществляется подвод протяжки, в кінці которого срабатывает конечный выключатель 6ПВ. Этот выключатель дает команду на увімкнення гідрораспределителя, направляющего масло от радиально-поршневого насоса в штоковую полость робочого цилиндра. Начинается рабочий ход. Одновременно реверсивным гідрораспределителем отключается подача масла во вспомогательный цилиндр.

Конечный выключатель ЗПВ настраивается так, чтобы срабатывание его происходило в момент входа калибрующих зубьев протяжки в обрабатываемую деталь. При етом в системе керування радиально-поршневым насосом включается гідрораспределитель, уменьшающий производительность насоса, что приводит к снижению скорости різання. Конечный выключатель 1ПВ, срабатывающий в кінці робочого ходу, дает команду на прекращение подачі масла в штоковую полость робочого цилиндра, верстат останавливается.

Для начала обратного руху необходимо снова нажать кнопку «Пуск цикла». При етом включается гідрораспределитель, направляющий масло от радиально-поршневого насоса в бесштоковую полость робочого цилиндра. При обратном ходе масла из штоковой полости через обратный клапан 12 (см. рис. 69) будет вытесняться в бесштоковую полость. Срабатывание конечного выключателя 4ПВ дает команду на увімкнення золотника, уменьшающего производительность радиально-поршневого насоса, что приводит к снижению скорости обратного ходу. Конечный выключатель 2ПВ, который срабатывает в кінці обратного ходу, дает команду на прекращение подачі масла в рабочий цилиндр, і одновременно дается команда на подачу масла в штоковую полость вспомогательного цилиндра. Начинается отвод протяжки. Конечный выключатель 5ПВ срабатывает в кінці відведення протяжки і дает команду на прекращение подачі масла во вспомогательный цилиндр. Верстат останавливается.

Режим простого полуцикла отличается тем, что в работе не участвует механізм подвода і відведення протяжки. В наладочном режиме гідросистема верстата позволяет независимо управлять рухуми рабочих і вспомогательных салазок.

Скорости робочого і обратного ходов рабочих салазок настраивают з помощью четырех винтов механізма керування насосом. Налаштування швидкостей должна производиться только на наладочном режиме. Двумя гвинтами настраивается скорость робочого ходу і скорость робочого замедленного ходу. Другими двумя гвинтами настраивается скорость обратного ходу і обратного замедленного ходу. Величина скорости робочого ходу определяется оптимальной стойкостью инструмента применительно к конкретным условиям обробки. При етом необходимо учитывать, что величина скорости робочого ходу ограничивается не только заданной стойкостью, но і силами різання при протягивании конкретной детали. О силах різання в процессе протягивания можно судить по показаниям манометра. В паспорте верстата приведены графики режимов роботи верстата в зависимости от величины силы різання при протягивании. Поскольку вся ранее выпущенная документація основана на старой системе единиц, в Приложениях 2 і 3 приведены соотношения етих единиц з обязательными в настоящее время единицами системы СИ. Например, для верстата мод. 7Б56 номинальная сила тяги 200 кН будет соответствовать показанию манометра примерно 8,2 МПа. Наибольшая скорость різання допускается при силе різання до 100 кН. При силе різання 200 кН допустимая скорость різання будет составлять только 8,5 м/мин.

Следует мати ввиду, что скорость робочого ходу обычно регулируется на наладочном режиме без нагрузки. При протягивании деталей, когда гідросистема работает под нагрузкой, наблюдается «посадка», т. е. уменьшение скорости по сравнению з отрегулированной скоростью. Величина посадки зависит от давления в системе на рабочем ходе. При давлении 10 МПа под нагрузкой посадка составляет 1,2 м/мин. Для меньших рабочих давлений величину посадки нужно пропорционально уменьшить.

Скорость обратного ходу і замедленная скорость обратного ходу настраиваются заводом-изготовителем. В процессе експлуатации ети скорости изменять не рекомендуется.





7Б57 Схема протяжной операции

Схема протяжной операции 7Б57

Схема протяжной операции горизонтального верстата 7Б57

Рух протяжки осуществляется з помощью гідропривода, имеющего два насоса. Один из них производительностью 200 л/мин служит для подачі масла в основной (рабочий) гідроцилиндр, другой - производительностью 25 л/мин - подает масло во вспомогательный гідроцилиндр. Гідропривід позволяет осуществлять три цикла роботи: полный цикл, простой цикл і наладочный. Работу на полном цикле производят длинными протяжками (1200-1300 мм) з задним хвостовиком. Протяжку устанавливают хвостовиком во вспомогательный патрон, получающий рух от штока вспомогательного цилиндра. Протяжка перемещается, поддерживаемая роликом, к рабочему патрону. Патрон захватывает передний хвостовик протяжки» перемещает її вместе со вспомогательным патроном до его раскрытия от копира, осуществяет рабочий і обратный ходу, після которых вспомогательный патрон захватывает задний хвостовик протяжки і отводит її в исходное положение.

Простой цикл применяют при использовании коротких протяжек. В етом случае протяжку закрепляют вручную в патроне, смонтированном на салазках, получающих горизонтальное перемещение от основного гідроцилиндра по направляющим станины. Перемещения вспомогательных салазок при етом цикле не происходит.

Наладочный режим используют при налаштуванні верстата. Этот режим включает необходимые для подготовки процесса протягивания руху инструмента.

Верстат работает как напівавтомат, но при оснащении его автоматизированными приспособлениями для подачі і съема деталей може работать в автоматическом цикле і може быть встроен в автоматические линии. Применяется верстат в крупносерийном і массовом производстве, а з учетом простой переналагодження его можно использовать і в единичном і мелкосерийном производстве.

Одна из схем протягивания показана на рис. 50. Хвостовик протяжки 5 пропускают через отверстие обрабатываемой детали 7 і втулку 8 приспособления 6, установленного в опорной плите 9.

Лівий конец протяжки закрепляют в автоматическом патроне, состоящем из корпуса 4, специальной втулки 10 з внутренним диаметром, соответствующим протяжке, і двух сухарей 3. В показанном положении пружина 2, распирая деталь 1, связанную со штоком силового цилиндра, і корпус 4, сдвигает сухари 3, вследствие чего післядние захватывают хвостовик протяжки.

Когда протяжка перемещается влево, происходит обработка отверстия. Во время холостого ходу протяжка возвращается в исходное положение.

Корпус 4, подойдя к приспособлению 6, упирается в него і останавливается.

Шток поршня і муфта 1, продолжая рух і сжимая пружину 2, сдвигают втулку 10 вправо, сухари 3 попадают в выточку а, і рух прекращается. Теперь хвостовик протяжки можно свободно вытащить из отверстия втулки 10, вставить в следующую деталь и, установив снова, начинать обработку.

Верстат работает з полным і простым циклом. При полном цикле прямого ходу осуществляется подвод протяжки, замедленный рабочий ход, настроенный рабочий ход — замедленный рабочий ход при работе калибрующих зубьев і стоп. При обратном ходе осуществляется замедленный ход і отвод протяжки. Простой цикл отличается от полного отсутствием подвода і відведення протяжки.

Полный цикл верстата передбачає:

  1. быстрый подвод протяжки к рабочему патрону і захват ее
  2. замедленный ход з большей скоростью (которая обеспечивает полное использование мощности привода)
  3. замедленный рабочий ход (для получения требуемой шероховатости при работе калибрующих зубьев протяжки)
  4. раскрытие вспомогательного патрона і вывод протяжки из детали
  5. остановка верстата для выгрузки детали
  6. обратный ход рабочих салазок після повторного нажатия кнопки «Пуск цикла»
  7. захват заготовки вспомогательным патроном в начале обратного ходу
  8. замедление скорости в кінці обратного ходу і раскрытие робочого патрона
  9. отвод протяжки вспомогательными салазками
  10. останов

Возможен неполный цикл без подвода і відведення протяжки, когда вспомогательные вузли не действуют.

Во избежание провисания свободного кінця протяжки, когда она закреплена только в одном из патронов, предусмотрены поддерживающие ролики, которые могут быть отведены.


7Б57 Пример протяжных работ внутреннего протягивания

Пример протяжных работ внутреннего протягивания 7Б57

Пример протяжных работ внутреннего протягивания 7Б57


Протяжной инструмент






Сучасний горизонтально-протяжной верстат




Технічні характеристики протяжного верстата 7Б57

Наименование параметра 7Б55 7Б56 7Б57
Основні параметри верстата
Класс точності верстата Н Н Н
Номинальное тяговое усилие, кН(тс) 100 (10) 200 (20) 400 (40)
Наибольшая длина ходу рабочих салазок, мм 1250 1600 2000
Наибольшая настроенная длина ходу рабочих салазок, мм 1200 1550 1950
Расстояние от станины до оси отверстия под планшайбу в опорной плите, мм 250 280 320
Максимальный наружный диаметр обрабатываемой детали, мм 600 600 800
Розміри рабочей поверхности передньої опорной плиты верстата, мм 450 х 450 450 х 450 560 х 560
Диаметр отверстия под планшайбу в опорной плите, мм 160 200А 250А
Диаметр отверстия в планшайбе, мм 125А 160А 200А
Диаметр планшайби, мм 280 360 400
Конусное отверстие под рабочий патрон метр 80 метр 80
Конусное отверстие в кронштейне вспомогательных салазок Морзе 5 Морзе 5 метр 80
Расстояние от основания верстата до оси протяжки, м 975 975 1060
Скорость робочого ходу, м/мин 1,5..11,5 13 1..6,15
Регулювання скорости робочого ходу бесступенчатое бесступенчатое бесступенчатое
Рекомендуемая скорость обратного ходу, м/мин 20..25 20..25 10..12
Длина подвода і відведення протяжки, мм 455 455 755
Длина сопровождения протяжки 455 455 755
Скорость подвода і відведення протяжки, м/мин 15 15 15
Длина протяжки, мм 400..1365 400..1415 900..2170
Наибольшее давление налаштування предохранительного клапана робочого ходу, кгс/см2 100 115 115
Електроустаткування. Привод
Количество електродвигателей на станке 3 4 4
Електродвигун приводу головного руху (гідронасоса гідростанції), кВт (об/мин) 18,5 (1465) 30 (980) 37 (980)
Електродвигун приводу вспомогательного руху, кВт (об/мин) - 2,2 (950) 2,2 (950)
Електродвигун насоса змазки, кВт (об/мин) 0,09 (2740) 0,09 (2740) 0,09 (2740)
Електродвигун насоса охлаждения, кВт (об/мин) 0,15 (2800) 0,15 (2800 0,15 (2800
Насос головного приводу (Производительность л/мин) 2Г13-36АС (200) НР4М-450-10 (400) НР4М-450-10 (400)
Насос вспомогательного приводу (Производительность л/мин) - Г12-33АМ (25) Г12-33АМ (25)
Габарити і масса верстата
Габарити верстата (длина ширина высота), мм 6340 x 2090 x 1740 7200 х 2135 х 1950 9400 х 2500 х 1950
Масса верстата, кг 5100 7000 13000

    Список литературы:

  1. Верстат потяжной горизонтальный 7Б57, 7Б56, 7Б57, 7б56у, 7Б57у. Руководство по експлуатации, 1981

  2. Ашихмин В.Н. Протягивание, 1981, стр.90.
  3. Кацев П.Г. Протяжные роботи, 1968
  4. Кацев П.Г., Епифанов Н.П. Справочник протяжника, 1963
  5. Схиртладзе А.Г., Новиков В.Ю. Технологическое обладнання машиностроительных производств, 1980, стр.248.
  6. Тепинкичиев В.К. Металлорежущие верстати, 1973, стр.76.