metalinstryment.com
Довідник по металорізальних верстатів та пресовому обладнанні

ГД-162 Верстат для правки і резки арматурной стали - автомат
Схеми, опис, характеристики

ГД-162 Верстат для правки і резки арматурной стали







Відомості про виробника правильно-отрезного верстата моделі ГД-162

Производитель правильно-отрезного верстата моделі ГД-162 предприятие - Кувандыкский завод кузнечно-прессового оборудования «Долина», основанный в 1941 году.

На рынке строительного оборудования России присутствует несколько отечественных разработчиков і изготовителей верстатів для правки і резки арматуры, і множество иностранных фирм из Китая, Турции, Болгарии, Италии і т.д.

Наиболее известные российские производители отрезных і правильно-отрезных верстатів:





Машины, выпускаемые Кувандыкским заводом кузнечно-прессового оборудования


ГД-162 Верстат електромеханический для правки і резки арматурной стали, автомат. Назначение, область применения

Автомат правильно-отрезной ГД162 для арматурной стали диаметром 16 мм предназначен для разматывания, правки і мерной резки горячекатаной круглой стали гладкого і периодического профиля кл. А-I; А-II; Ас-II і А-III по ГОСТ 5781-82, поступающей в бунтах. Допускается правка стального горячекатаного круглого проката по ГОСТ2590-88 σв до 600МПа (60 кгс/мм2).

Правильно-отрезной автомат ГД162 може найти применение в цехах предприятий металлоконструкций, железобетонных конструкций, машиностроительных предприятий, механических мастерских, ремонтных і других заводах.

Условия експлуатации правильно-отрезного верстата автомата ГД162 в климатических зонах з умеренным і холодным климатом виконання УХЛ в закрытых помещениях, категория розміщення 4 по ГОСТ 15150.


Виды механізмов правки арматурной стали і их особливості

Правильно-отрезные верстати могут быть сведены к двум принципиальным схемам. Схеми охватывают современные і ранее выпускавшиеся верстати отечественных і зарубежных моделей.


Схеми структурные правильно-отрезных верстатів

Схеми правильно-отрезных верстатів

  1. моток арматурной стали
  2. роликовый механізм правки
  3. барабанный механізм правки
  4. цанговое тянущее пристрій
  5. роликовое тянущее пристрій
  6. мерительный ролик
  7. конечный выключатель
  8. ножи рычажные
  9. вращающиеся ножи
  10. приемное пристрій

Работа правильно-отрезного верстата происходит в следующей післядовательности:

Арматурная проволока разматывается из мотка 1 і протягивается через правильное пристрій 2 или 3 посредством механізма протягивания 4 или 5, отмеряется на заданную длину мерительным роликом 6 или конечным выключателем 7 і отрезается параллельными (рычажными) ножами 8 или вращающимися ножами 9. Для обеспечения високою точності отрезки все современные отечественные верстати снабжены конечными выключателями 7 і рычажными ножами 8, но в експлуатации имеется большой парк верстатів з вращающимися ножами 9, снабженными как мерительным роликом 6, так і конечными выключателями 7, которыми заменили мерительные ролики. На некоторых таких верстатах вращающиеся ножи заменены рычажными з пневмоприводом.

Роликовые правильные пристроя 2 не обеспечивают качественной правки стержней круглого сечения і на современных отечественных правильно-отрезных верстатах не применяются. В качестве самостоятельных роликовые механізмы применяются в сочетании з машинами для сварки сеток і плоских каркасов, в лініях гибки, а также как на зарубежных, так і на отечественных автоматах для резки коротких стержней. В таких машинах недостаточно качественная правка компенсируется периодической сваркой, дающей шарнир пластичности, или малой длиной заготавливаемого стержня, или пластической деформацией гибки.

Заправка роликовых механізмов правки і регулировка нажимных елементів длительна і выполняется методом «проб і ошибок». На многоточечных машинах для сварки сеток для каждого продольного стержня установлен свой многороликовый механізм правки. Некоторое различие длин стержней в мотках затрудняет одновременность заправки всех продольных стержней.

Высокое качество правки благодаря объемному многократному пластическому изгибу достигается на барабанных механізмах правки 3, применяемых практически почти на всех правильно-отрезных верстатах в сочетании з роликовыми тянущими пристроями 5 і рычажными ножами 8, что, обеспечивая высокую точность длины отрезаемых стержней, снижает надежность верстатів. На таких верстатах на время реза стержень останавливается, а барабан продолжает вращаться. Если барабан имеет 3000 об./мин., а время остановки составляет всего 0,5 с, то за ето время под нажимными елементами произойдет 25 знакопеременных изгибов в зонах нажимных елементів в которых, кроме крайних, напряжения будут превышать предел текучести. Этого удается избежать, применив летучие ножницы, сопровождающие движущийся стержень в процессе резки і возвращающиеся в исходное положение. Снижается накопление малоцикловых усталостных явлений на верстатах, где на время остановки стержня барабану придается возвратно-поступательное рух вдоль его оси. Такие технические решения существенно усложняют конструкцию верстатів.

Барабанные механізмы правки снабжены нажимными елементами в виде фильер і плашек, что приводит к возникновению сил трения ковзання при протягивании стержня і вращении вокруг него барабана. Это, в свою очередь, приводит к повышенному износу, возрастающему при переходе на правку стержней периодического профиля (при етом наблюдается частиничное срезание выступов профиля), а также з повышением прочности обрабатываемых стержней за счет увеличения сил взаимодействия стержня з нажимными елементами. Применение твердосплавных фильер значительно повысило их долговечность, но силы, возникающие в процессе правки, остались прежними, а долговечность остальных вузлів верстата низкой.

Заправка барабанных механізмов стержнями требует больших физических усилий, особенно при заправке стержнями підвищеної прочности і больших диаметров. Время заправки і регулировки ексцентриситетов нажимных елементів опытным станочником составляет 3 – 5 мин. для стержней малых диаметров, 5 – 8 мин. і более для стержней больших диаметров. При правке бухт массой 80 – 100 кг ето занимает 10 – 50% робочого часу. Использование верстата улучшается з увеличением массы мотков (поступают мотки массой до 1000 кг). Длительность регулировки механізма правки объясняется неопределенностью износа нажимных елементів. Регулювання выполняется пробным подбором ексцентриситетов нажимных елементів. Как правило, несколько первых стержней каждого мотка имеют кривизну больше допустимой і не могут быть использованы. Увеличение массы мотков уменьшает количество брака, но в процессе правки больших мотков за счет износа фильер или плашек (не твердосплавных) може нарушаться качество правки, і в етом случае необходима остановка верстата і дополнительная налаштування нажимных елементів барабанного механізма правки.

Основні недостатки могут быть устранены путем совершенствования механізма правки, в котором необходимо сохранить объемный пластический изгиб, но устранить трение ковзання. Это достигается заменой барабанных механізмов правки вибрационными, снабженными роликовыми нажимными елементами. Подвижные секции механізма правки совершают плоскопараллельное рух по круговой траектории і обеспечивают деформацию стержня такого же характера, как в барабанном механізме. При протягивании стержня через вибрационные механізмы правки, трение ковзання заменено трением качения, что позволяет почти на порядок снизить усилие протягивания. Полностью исключается трение ковзання, имевшее место в барабанных механізмах правки, которое вызывалось вращением нажимных елементів вокруг стержня. Использование на правильно-отрезных верстатах вибрационных механізмов правки вместо барабанных снижает енергоемкость верстатів или обеспечивает правку стержней больших диаметров і стержней периодического профиля без увеличения мощности верстата, при етом исключается имевшее место в барабанных механізмах частиничное срезание выступов профиля.





Загальний вигляд верстата для правки і резки арматуры ГД162

ГД162 Загальний вигляд  верстата для правки і резки арматуры

Загальний вигляд верстата для правки і резки арматуры ГД162


Cклад правильно-отрезного верстата автомата ГД-162

  1. Верстат ГД162-00-001
  2. Приемное пристрій ГД162-61-001
  3. Електроустаткування ПРА499-90-001

Фото верстата для правки і резки арматуры ГД-162

Фото верстата для правки і резки арматуры ГД-162

Фото верстата для правки і резки арматуры ГД162


Фото верстата для правки і резки арматуры ГД-162

Фото верстата для правки і резки арматуры ГД162


Розташування складових частин правильно-отрезного верстата ГД-162

ГД-162 Розташування складових частин верстата для правки і резки арматуры

Розташування складових частин правильно-отрезного верстата ГД-162

Специфікація складових частин правильно-отрезного верстата ГД-162

  1. Станина ГД162-11-001
  2. Привід подачі і реза ГД162-21-001
  3. Привід правильной рамки ГД162-22-001
  4. Привід цепной ГД162-23-001
  5. Вал кулачковый ГД162-24-001
  6. Вал промежуточный ГД162-25-001
  7. Рамка правильная ГД162-31-001
  8. Механізм реза ГД162-32-001
  9. Механізм подачі передний ГД162-51-001
  10. Механізм подачі задний ГД162-52-001
  11. Механізм увімкнення ГД162-59-001
  12. Ограждение ГД162-70-001

Розташування органів керування правильно-отрезным верстатом ГД-162

ГД-162 Розташування органів керування правильно-отрезным верстатом

Розташування органів керування правильно-отрезным верстатом ГД-162

  1. Рукоятки зажиму подающих роликов
  2. Рукоятки зажиму подающих роликов
  3. Рукоятки зажиму подающих роликов
  4. Рукоятки зажиму подающих роликов
  5. Кнопка ОБЩИЙ СТОП
  6. Кнопка увімкнення автомата в автоматическом режиме
  7. Кнопка увімкнення приводу правильной рамки
  8. Кнопка увімкнення подачі вправо (рабочий ход)
  9. Кнопка увімкнення подачі влево (реверс)
  10. Кнопка увімкнення механізма реза
  11. Переключатель режимов роботи (автоматический режим, налагодження)
  12. Лампа сигнальная подключения автомата к сети
  13. Лампа сигнальная автоматичного режима роботи
  14. Лампа сигнальная наладочного режима роботи
  15. Счетчик изделий
  16. Лампа сигнальная увімкнення двигуна подачі
  17. Лампа сигнальная увімкнення двигуна правильной рамки
  18. Рукоятка увімкнення местного освещения
  19. Вводный выключатель




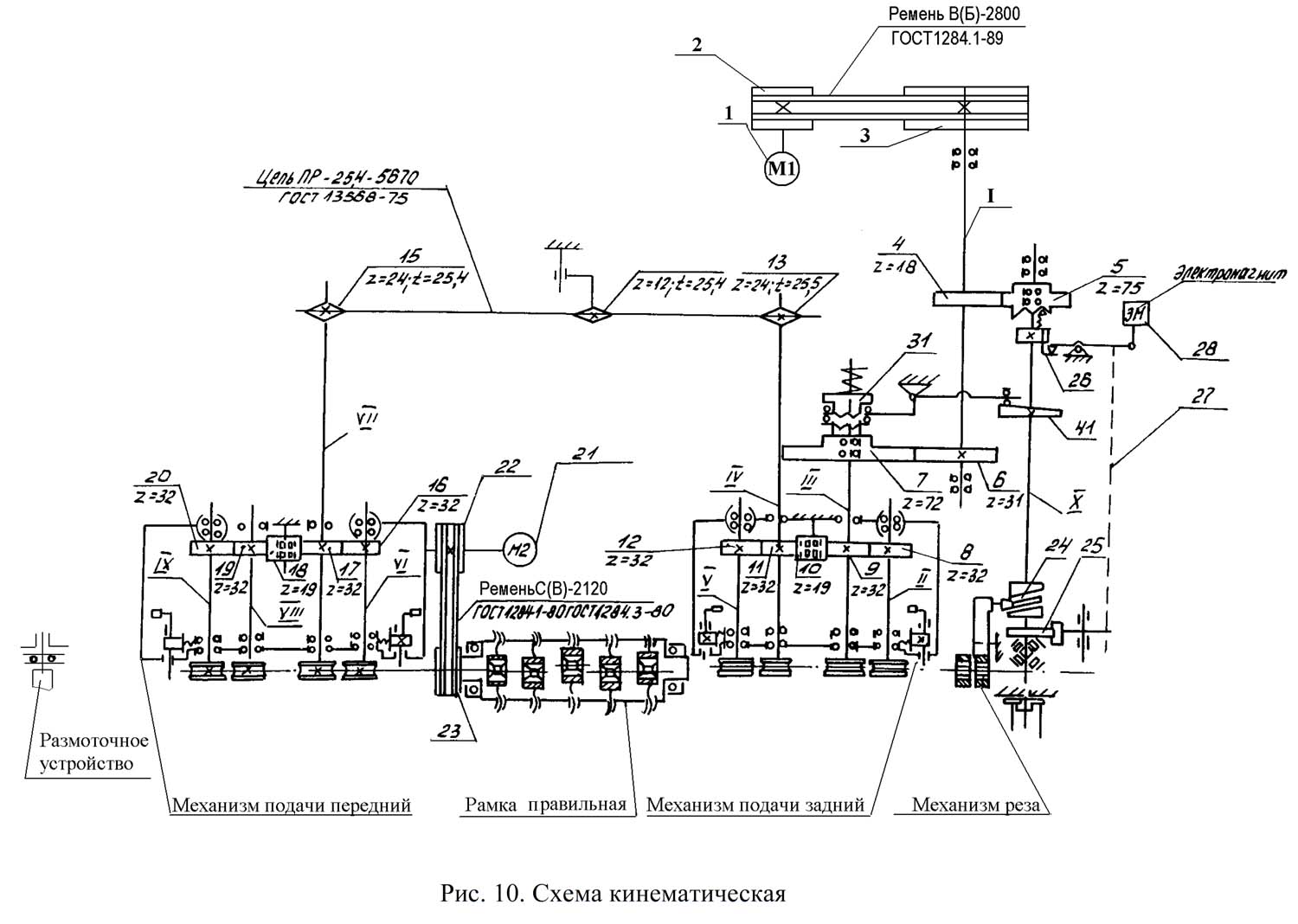
Кінематична схема правильно-отрезного верстата ГД-162

ГД-162 кінематична схема правильно-отрезного верстата для правки і резки арматуры

Кінематична схема правильно-отрезного верстата ГД-162

Кінематична схема верстата для правки і резки арматуры ГД-162. Дивитись у збільшеному масштабі



Опис кінематичної схеми правильно-отрезного верстата ГД162

Автомат представляет собой правильно-отрезной верстат з вращающейся правильной рамкой, роликовой подачей і рычажным резом.

Привід подачі і реза осуществляется от двух скоростного електродвигуна 1 через клиноременную передачу (обозначение ремня приведено в приложении А) вращение передається маховику 3, который установлен на промежуточный вал I. Через цилиндрические шестерни 6,7, 8, 9, 10, 11 і 12 вращение передається двум парам подающих роликов заднего механізма подачі. А затем через цепную передачу і шестерни 16, 17, 18, 19 і 20 вращение получают две пары подающих роликов механізма подачі.

Відключення механізма подачі в момент реза производится посредством зубчатой муфты 31. Одна полумуфта 31 на шлицах посажена на валу III, вторая жестко связана з шестерней 7, которая постоянно вращается на валу III. При включенной муфте 31 вращение получает вал III і происходит подача материала. Увімкнення і вимкнення муфты производится посредством кулака 41, закрепленного на валу Х і воздействующего на муфту через рычаг.

Правка материала осуществляется в направляючих втулках і в правильной рамке во всех плоскостях путем его многократного поперечного пластического изгиба волоками-заготовками, закрепленными в сухарях которые установлены в гнездах быстровращающейся правильной рамки.

Для регулировки зазору между нижними і верхними подающими роликами в зависимости от размера сечения материала оси роликов выполнены ексцентриковыми.

Привід правильной рамки осуществляется от електродвигуна 21 через клиноременную передачу.

Отрезка прутков осуществляется з помощью отрезной втулки, закрепленной в корпусе заднего механізма подачі і открытого ножа, закрепленного на двуплечем рычаге, свободно качающемся в оси.

Качание рычага производится посредством осьового кулака 24 жестко закрепленного на валу Х і воздействующего на консольный конічний ролик рычага реза.

Увімкнення механізма реза производится посредством пальцевой муфты 26. Одна часть з подпружиненным пальцем жестко закреплена на валу Х, вторая часть муфты сблокирована з шестерней 5, которая постоянно свободно вращается на валу Х.

При включении муфты реза получает вращение вал Х, після отключения муфты останов вала осуществляется дисковым тормозом постоянного дії.

Керування пальцевой муфтой осуществляется електромагнитом 28 который включается выключателем 40, связанным з механізмом отмеривающим.

Отрезанные прутки из канала приемного пристроя сбрасываются вниз. Планка, закрывающая канал пристроя, открывается в момент реза посредством кулака 25, который жестко закреплен на валу Х.


Опис і робота основних вузлів правильно-отрезного верстата ГД-162

Станина верстата

Станина верстата служит основанием для всех основних рабочих механізмов.

Станина верстата выполнена сварной. На станине установлены передний і задний механізмы подачі, правильная рамка і ограждения. Внутри станины размещены електродвигатели приводов подачі і правильной рамки, а также кулачковый вал механізма реза. К боковой стенке станины крепится кронштейн приемного пристроя, електромагнита механізма реза і рычага открытия канала приемного пристроя.

В правой передньої стороне станины предусмотрена ниша з дверцей для хранения инструмента. Конструкція станины обеспечивает надежную защиту електродвигателей і подвижных частин от попадания окалины, осыпающейся з выправляемого материала, а также сбор і отвод її из рабочей зоны верстата.

На задньої стенке станины размещен фланец подсоединения к верстату цеховой пылеотсасывающей системы. Для сбора окалины из-под передних роликов і из-под заходной втулки при експлуатации верстата з передньої стороны следует установить спеціальний ящик.

При отсутствии в цехе пылеотсасывающей системы сбор окалины из-под правильной рамки следует производить в ящик, который следует установить в нишу, расположенную в середине передньої стенки верстата і закрытую дверцей.

Для етого предварительно следует снять защитный лист, который перекрывает в канале для відведення окалины окно, расположенное над ящиком.


Привід механізма подачі і реза правильно-отрезного верстата ГД-162

ГД-162 Привід механізма подачі і реза правильно-отрезного верстата ГД-162

Привід механізма подачі і реза правильно-отрезного верстата ГД-162


Привід подачі і реза осуществляется от електродвигуна 1 через клиноременную передачу 2. Двигатель установлен на качающейся подмоторной плите 3. Натяжение ремней осуществляется путем соответствующего переміщення подмоторной плиты з помощью регулировочного гвинта 8.

Маховик 6 консольно расположен на валу 7, который вращается в підшипниках качения, установленных в расточках станины.

На валу 7 жестко закреплены две шестерни. Шестерня 12 передает вращение от маховика переднему і заднему механізму подачі, а шестерня 11 передает вращение зубчатому колесу, сблокированному з одной из частин пальцевой муфты механізма реза.


Привід механізма правильной рамки правильно-отрезного верстата ГД-162

ГД-162 Привід механізма правильной рамки правильно-отрезного верстата ГД-162

Привід механізма правильной рамки правильно-отрезного верстата ГД-162


Привід правильной рамки осуществляется от електродвигуна 1 через клиноременную передачу 3. Двигатель установлен на качающейся подмоторной плите 4.

Натяжение ремней осуществляется путем поворота подмоторной плиты з помощью регулировочного гвинта 5.

Ремни з помощью ограждения надежно защищены от попадания окалины.

Привід цепной

Цепной привід служит для передачи обертання от заднего механізма подачі к переднему. Для создания необходимого натяжения ланцюги служит натяжная звездочка 1, которая свободно сидит на оси 2 подвижной планки 3. Положение планки 3 относительно стоек 6 фиксируется з помощью гаек 4.

Вал кулачковый (рис. 14)

На кулачковом валу 1 жестко закреплены три кулака: осевой кулак 2 механізма реза, кулак 3 открытия планки приемного пристроя і кулак 12 отключения подачі. На том же валу 1, на підшипниках качения, свободно вращается зубчатое колесо 6, сблокированное з полумуфтой 5. Вторая полумуфта, жестко соединена з кулачковым валом, имеет подпружиненный палец 7, управляемый рычагом 8, связанным з електромагнитом 11.

При нажатии на флажок отмеривающего механізма происходит поворот рычага 8, палец 7 освобождается і входит в зацепление з одним из пазов полумуфты 5. В результате етого кулачковый вал начинает вращаться. После отрезки прутка флажок освобождается, і електромагнит обесточивается.

Под действием пружины 9 рычаг 8 стремится занять исходное положение. При дальнейшем вращении вала I палец 7 своим скосом находит на соответствующий скос рычага 8. При етом палец выходит из зацепления з полумуфтой 5 і вращение вала I прекращается.

Для точного останова кулачкового вала в исходном положении служит дисковый тормоз постоянного дії 4, консольно установленный на переднем кінці вала.

При вращении кулачкового вала в момент реза кулак 12 воздействует на ролик 14, второй конец которого связан з зубчатой муфтой заднего механізма подачі. Рычаг поворачивается і роликами 15 включает зубчатую муфту.


Рамка правильная правильно-отрезного верстата ГД-162

ГД-162 Рамка правильная правильно-отрезного верстата ГД-162

Рамка правильная правильно-отрезного верстата ГД-162


Правильная рамка служит для всесторонней правки круглой проволоки посредством поперечного пластического изгиба, осуществляемого при прохождении проволоки через вращающуюся рамку.

Правильная рамка состоит из полого корпуса 1, в котором имеется п'ять сквозных отверстий і два хвостовика для закрепления в опорах.

В отверстиях корпуса расположены направляющие 2, 3, 4. для предотобертання смещения направляючих, они крепятся в корпусе рамки гвинтами 5.

В отверстиях каждой направляющей размещены волоки-заготовки 10, вставленные в сухари 11 (обоймы).

Сухари з втулками могут перемещаться от центра обертання рамки в двух направлениях і фиксируются пробками 6, 9.

Первая і післядняя правильная втулка устанавливается по оси рамки, остальные з помощью пробок 6, 9 смещаются относительно оси, а изменение шага между втулками производится путем поворота на 1800 четырех направляючих в корпусе рамки.

Изменением шага между втулками і ексцентричностью розположення втулок обеспечивается необходимый режим правки в зависимости от сечения заготовок, прочности материала і устанавливается експериментально при работе верстата.

Для предохранения от повышенного износа хвостовика в начале правильной рамки вставлена направляющая втулка 8.


Механізм реза правильно-отрезного верстата ГД-162

ГД-162 Механізм реза правильно-отрезного верстата ГД-162

Механізм реза правильно-отрезного верстата ГД-162


Отрезка выправленной проволоки осуществляется отрезной втулкой, закрепленной в корпусе заднего механізма подачі і открытым ножом, закрепленным на рычаге 1. Рычаг свободно качается на оси, установленной в корпусе заднего механізма подачі. Качание рычага реза осуществляется посредством осьового кулака, который воздействует на конічний ролик 3. Осевая регулировка конического ролика може осуществляться з помощью гвинта 4.





Схема електрична верстата для правки і резки арматуры ГД-162

ГД-162 Схема електрична верстата для правки і резки арматуры

Електрична схема верстата для правки і резки арматуры ГД-162

Схема електрична верстата для правки і резки арматуры ГД-162. Дивитись у збільшеному масштабі



Електроустаткування верстата для правки і резки арматуры ГД-162. Загальні відомості

Електроустаткування автомата предназначено для керування і обеспечения необходимого взаимодействия механізмов установки по заданному технологическому циклу.

Работа обеспечивается схемой електрической принципиальной в соответствии з рисунком 22.

Список примененного в електрической схеме електроустаткування приведен в таблице 7.

Схема розположення електроустаткування показана на рисунке 23.

Схема електрична з'єднань електрошафи показана на рисунке 24.

Таблиця з'єднань електрошафи приведена в таблице 8.

Схема електрична з'єднань верстата показана на рисунке 25.

Таблиця з'єднань верстата приведена в таблице 9.





Опис роботи електрической схеми правильно-отрезного верстата ГД-162

Електрична схема передбачає работу верстата в режимах: "Автоматический", "Наладка".

Требуемый режим роботи устанавливают переключателем SА2, расположенным на пульті керування.

Контроль над режимами роботи осуществляется з помощью сигнальных ламп, расположенных на пульті керування.

Увімкненням автоматичного выключателя QF1 напряжение сети подается на все ланцюги. Загорается лампочка HL1, сигнализирующая о наличии напряжения.

В режиме "Автоматический" переключатель SA2 устанавливается в положение "Автомат". Замыкаются контакты SA2.1, SA2.3. Загорается сигнальная лампа HL4 "Автомат".

После нажатия кнопки SB6 включаются магнитные пускатели КМ3 і КМ1, включаются електродвигатели М1 і М2.

Керування механізмом реза производится от кнопки SB3 (пробный рез, немерные заготовки) или кінцівым выключателем отмеривающего пристроя SQ5.

В обоих случаях включается реле KV1, которое включает електромагнит YA1.

После небольшого поворота рычага механізма реза конечным выключателем SQ4 включается реле KV2, которое отключает електромагнит YA1. Таким образом, исключается «сдваивание резов» при длительном нажатии кнопки SB5 или заклинивании SQ5.

При каждом включении реле KV1 включается счетчик РС1 і подсчитывает число резов. Кроме того, отключается реле часу КТ1, а після отключения KV1 реле часу включается і начинает отсчет паузы между резами. В том случае, когда пауза превысит установленное на реле время, (отсутствие подачі материала), происходит відключення верстата.

Внимание! Возможно відключення верстата в случае большой паузы между включением автоматичного выключателя QF1 і первым резом из-за срабатывания реле часу.

Рекомендуется непосредственно перед началом роботи в автоматическом режиме нажать кнопку SB1 «СТОП».

Работа в автоматическом режиме прекращается в следующих случаях:

Во всех случаях отключаются оба електродвигуна, і робота верстата в автоматическом режиме прекращается.

В режиме "Наладка" переключатель SA2 устанавливается в положение "Наладка". Замыкаются контакты SA2.2,SA2.4. Загорается сигнальная лампа HL5 "Наладка".

Контакт SA2.4 шунтирует контакты SQ1, SQ2, SQ3, SQ6, КТ1. Таким образом, робота в етом режиме возможна при открытых ограждениях і отсутствии заготовки.

При етом, в режиме налагодження:


Захист і блокировки в електросхеме правильно-отрезного верстата ГД-162

В електросхеме верстата предусмотрены наступні блокировки:

На пульті керування расположена сигнальная арматура следующего назначения:

В схеме предусмотрены наступні защиты:

Схемой електрической принципиальной также предусмотрены наступні защиты от токов короткого замыкания:

Нулевая защита осуществляется магнитными пускателями КМ1 і КМ3





Первоначальный пуск правильно-отрезного верстата ГД-162. Последовательность действий

Произвести внешний осмотр всех елементів електроустаткування з целью выявления механических повреждений.

Проверить надежность подключения силових і защитных проводов, а также заземления станины і електрошафи, подсоединения их к цеховому заземляющему контуру.

Выключателем QF1 подключить електрообладнання верстата к цеховой сети.

Проверить положение переключателя SА2.

В наладочном режиме проверить действие блокирующих устройств, кнопок і переключателей.

Внимание! В том случае, если направление подачі « ВПЕРЕД» будет обратным, а подача «НАЗАД» не будет включаться, необходимо немедленно изменить чередование фаз на входе в електрошкаф.

Во избежание поломки автомата КАТЕГОРИЧЕСКИ запрещается изменять чередование фаз, установленное изготовителем після входного клеммного блока електрошафи!

Убедившись в исправности, выключить вводной автомат QF1 і восстановить схему.




Технічні характеристики верстата для правки і резки арматуры ГД-162

Наименование параметра СМЖ-357 ГД-162
Основні параметри верстата
Наибольший диаметр обрабатываемых стержней гладкого профиля, мм 4..10 5..16
Наибольший диаметр обрабатываемых стержней периодического профиля, мм 6..8 6..12
Скорость правки, м/мин 31,5; 45; 63; 90 35, 55
Длина отрезаемых стержней, м 2..9 6..9
Допустимые отклонения длины отрезаемых стержней, мм +3..-5 +25
Частота обертання барабана, 1/с 40/ 20 1000
Електроустаткування верстата
Електродвигун, кВт 12,7/ 16,6 -
Електродвигун приводу подачі і реза, кВт - 13/ 19
Електродвигун приводу правильной рамки, кВт - 14,2
Габарит і масса верстата
Габарит верстата (длна х ширина х высота), мм 2093 х 330 х 932 3230 х 1525 х 2000
Масса верстата, кг 1900 4500

    Список литературы:

  1. Веселовский С.И. Разрезка материалов, 1973
  2. Дроздов Ф., Лебедевич В., Рубежин В. Справочное пособие по отрезным верстатам, 1967