metalinstryment.com
Довідник по металорізальних верстатів та пресовому обладнанні

НГ5224 Пресс-ножницы комбинированные
Схеми, опис, характеристики

НГ5224 пресс-ножницы (комбинированные) з наклонным ножом для обробки листового металла







Відомості про виробника пресс-ножниц НГ5224

Изготовителем і разработчиком пресс-ножниц НГ5224 является Кувандыкский завод кузнечно-прессового оборудования «Долина», основанный в 1941 году.





Машины, выпускаемые Кувандыкским заводом кузнечно-прессового оборудования


Пресс-ножницы комбинированные НГ5224. Назначение, область применения

Пресс-ножницы комбинированные НГ5224самые мощные в своём модельном ряду. Максимальное рабочее усилие достигает 125 тонн.

Пресс-ножницы НГ5224 з четырьмя рабочими зонами позволяют выполнять на одной машине несколько типов операций без предварительной переналаштування ножниц, в любой післядовательности і без смены инструмента, что обеспечивает гибкую і економичную обработку проката, как в крупном машиностроительном производстве, так і любой ремонтной мастерской.

Пресс-ножницы комбинированные НГ5224 могут найти применение на машиностроительных, ремонтных і других заводах, при експлуатации в климатических зонах з умеренным і холодным климатом виконання УХЛ, сухим і влажным тропическим климатом - виконання О, категория розміщення 4 по ГОСТ15150-69.

Принцип роботи і особливості конструкції верстата

Станина сварной конструкції, состоит из переднего і заднего листов, приваренных к основанию. Для установки приводных валов і приводов секций в станине выполнены четыре расточки.

Привід сортолистовой і дыропробивной секций от електродвигуна через клиноременную і зубчатую передачи на ексцентриковый вал секций.

Рычаг зарубочного пристроя связан при помощи тяги з ползуном сортолистовой секции. Ползун дыропробивной секции уравновешивается пружинными уравновешивателями.

Механізм центрирования служит для выполнения операции наметки путем переміщення з помощью рукоятки пуансонодержателя з пуансоном. Инструмент реза уголка, круга і квадрата состоит из подвижной і нерухомою плит. Подвижная плита крепится в гнездо ползуна сортолистовой секции, нерухома — в гнезде станины Г-образными пружинами.

Листовой і зарубочный инструмент состоит из двух подвижных і трех неподвижных ножей. Подвижные ножи — гильотинный для резки листового материала і прямоугольный для прямоугольной зарубки.

Инструмент дыропробивной секции состоит из пуансона і матрицы. Пуансон крепится через пуансонодержатель к ползуну, а матрица — к корпусу дыропробивного приспособления.

Пресс-ножницы НГ5224 имеют три рабочих места у листовой секции, обслуживаемые одним оператором.

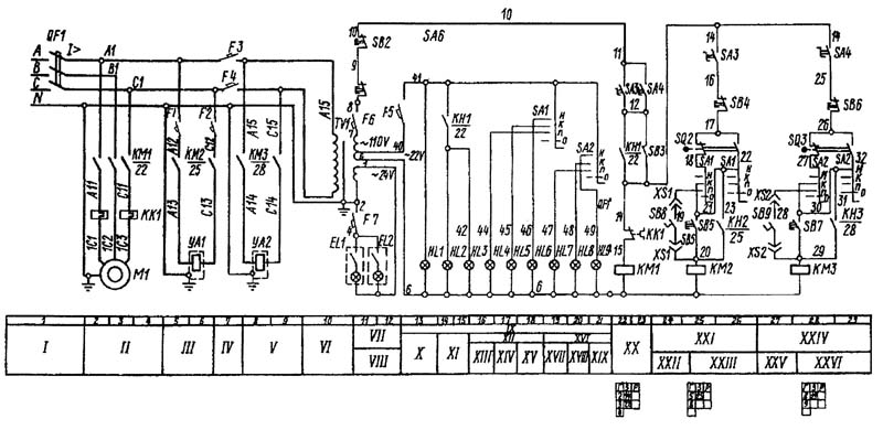
Електросхема обеспечивает работу пресс-ножниц комбинированных на непрерывных і одиночных ходух.

Керування кнопкове і педальное.

Смазка густая, комбинированная.


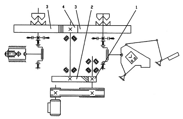
НГ5224 Рабочие зоны комбинированных пресс-ножниц

нг-5224 Рабочие зоны комбинированных пресс-ножниц

Рабочие зоны комбинированных пресс-ножниц нг5224

НГ5224 Виды операций комбинированных пресс-ножниц

нг-5224 Виды операций комбинированных пресс-ножниц

Пресс-ножницы комбинированные НГ5224 з четырьмя рабочими зонами позволяют выполнять на одной машине несколько типов операций без предварительной переналаштування ножниц, в любой післядовательности і без смены инструмента, что обеспечивает гибкую і економичную обработку проката, как в крупном машиностроительном производстве, так і в любой ремонтной мастерской.

  1. Секция резки сортового проката - отрезка уголка, круга, швеллера, двутавра, шахтного профиля. Отрезка проката без разметки до 1000 мм по упору
  2. Секция резки полосы, листа - отрезка полосы осуществляется под различными углами
  3. Секция пробивки отверстий - пробивка отверстий круглой, прямоугольной, квадратной і любой другой формы в листовом і фасонном прокате
  4. Секция вырубки пазов - пробивка открытых пазов треугольной і прямоугольной формы

Конструкція пресс-ножниц і множество варіантівдополнительной оснастки позволяют использовать пресс-ножницы для обробки проката различного профиля і разных параметров.

Для облегчения переміщення полосового, сортового і фасонного проката при подаче их в рабочую зону ножниц возможно использование модуль-рольганга приводного моделі МРП.





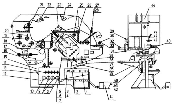
НГ5224 Загальний вигляд комбинированных пресс-ножниц

нг-5224 Складні частини комбинированных пресс-ножниц

Фото пресс-ножниц нг5224


НГ5224 Складні частини комбинированных пресс-ножниц

нг-5224 Складні частини комбинированных пресс-ножниц

Основні вузли пресс-ножниц нг5224

НГ5224 Специфікація складових частин комбинированных пресс-ножниц


НГ5224 Список органів керування комбинированными пресс-ножницами