metalinstryment.com
Довідник по металорізальних верстатів та пресовому обладнанні

JPT-310, JPT-310HH Верстат фуговально-рейсмусовый деревообрабатывающий
Схеми, опис, характеристики

JPT-310 Верстат фуговально-рейсмусовый деревообрабатывающий







Відомості про виробника фуговально-рейсмусового верстата JPT-310, JPT-310HH

Поставщиком фуговально-рейсмусового деревообрабатывающего верстата JPT-310 является JPW Tools AG Швейцария, которое является дочерним предприятием акционерного общества Walter Meier (Tool) AG. Адрес сайта: www.jettools.com

На территории России продукцию компании Jet ексклюзивно представляет компания ИТА-СПб г.Санкт-Петербург, основанная в 2004-ом году, как дочернее подразделение, наделенное всеми правами по продаже, продвижению і техническому обслуговування.





Верстати, выпускаемые компанией JPW Tools AG, Швейцария, Китай


JPT-310 Верстат фуговально-рейсмусовый стационарный. Назначение, область применения

фуговальный рейсмусовый деревообрабатывающий верстат JPT-310 (далее верстат) предназначен для фугования і строгания в предварительно заданные розміри в профессиональных условиях специалистами мелких цехов і мастерских заготовок из древесины шириной до 307 мм, высотой свыше 75 мм.

Верстат JPT-310 имеет наступні модификации:

Рейсмусовый верстат JPT-310 предназначен для индивидуальной експлуатации і совмещает в себе две самые востребованные функции: фугование і рейсмусование.

Для проведения работ на рейсмусе Jet JPT-310 предусмотрено откидывание фуговальных столов. Деревянная заготовка захватывается сверху двумя металлическими валами диаметром 4 см і протягивается со скоростью 7 м/мин, прижимаясь нижней плоскостью к рейсмусовому столу. На переднем валу имеется насечка для исключения прокручивания вала. Если рейсмус не используется то вращение валов можноотключить.

Высота стола для рейсмусования меняется з помощью вращающегося маховика. Точная отладка осуществляется благодаря шкале з миллиметровой разметкой, позволяющей регулировать начало отсчета.

Верстат Jet JPT-310 комплектуется мощным і «тяговитым» двигателем, который обеспечивает высокую производительность. Моторы етого типа требовательны к соблюдению температурного режима, поетому верстат оснащен датчиком перегрева, отключающим питание, когда нужен перерыв на охолодження.

На верхнем столе производят фугование или строгание под углом з использованием параллельного упора, который регулируется в диапазоне от 0 до 45°. Максимальная величина съема материала 3 мм.

Для рейсмусования (калибрования деталей по толщине) предназначен нижний стол і пристрій автоподачі заготовок. В данном случае максимальная глубина строгания за один проход составляет 4,5 мм.

Обладая широкой функциональностью і високою производительностью, верстат весит 230 кг.

На верстатах Jet JPT-310 не допускается обработка металлов, асбоцементных материалов, камня і подобных материалов, мягких пластмассовых і резиноподобных материалов.

Верстат Jet JPT-310 работает от сети переменного тока напряжением 220 или 380 В частотой 50 Гц.

Верстат Jet JPT-310 може експлуатироваться в нормальных климатических условиях:


Особливості фуговально-рейсмусового верстата Jet JPT-310, JPT-310 hh, JPT-310MXPRO

Особливості фуговально-рейсмусового верстата JPT-310 hh, JPT-310MXPRO з ножевым валом helical

Строгальные верстати JET JPT-310НН і JPT-310MXPRO з ножевым валом под торговым названием helical обеспечивают высокое качество поверхности заготовки благодаря расположению лезвий по спирали (Helix) ножевого вала.

На валу helical имеет вместо одного плоского ножа во всю ширину вала на небольшом расстоянии друг от друга установлены твердосплавные квадратные пластинки з небольшим закруглением і заточкой на всех четырёх сторонах. Причём каждая такая «полоска» (в данной моделі их четыре, каждая состоит из 18 пластин) располагается по спирали со смещением между рядами. Конечно, такой вал сложнее в изготовлении, но і преимуществ очень много. Режущая кромка каждого ножа направлена под небольшим углом к обрабатываемой поверхности — ето обеспечивает более чистый рез, при вращении вала ножи входят в заготовку поочередно — значит, равномернее распределяется нагрузка і значительно, в несколько раз, снижается уровень шума. Отходов производства, то есть опилок, от таких ножей меньше, чем от «обычных» — следовательно, меньше забивается система пылеудаления. Ну і з точки зрения срока службы разница огромна.

Если обычные ножи надо время от часу перетачивать і настраивать их положение относительно фуговального стола, то здесь достаточно просто отвернуть крепёжные винты і повернуть ножи.

Нередки ситуации, когда ножи валов приходится отдавать в переточку из-за одного не замеченного в заготовке гвоздя — на валу helical достаточно повернуть или заменить лишь несколько пластинок (10 запасных ножей і винтов для их крепления входят в комплект поставки верстата).

Положение ножей в гнёздах вала helical фиксированно, никаких додаткових настроек «по высоте» вообще не нужно. Кстати, именно поетому на верстатах, для которых предусмотрены такие валы (310 і 410 всех модификаций), имеется возможность регулировки высоты не только подающего, но і приёмного стола.

Примечательно, что модифицировать «обычный» верстат, поставив на него вал helical, реально і самостоятельно. Сначала можно приобрести «обычную» модификацию, а в дальнейшем просто заменить вал. Таким образом, затраты на приобретение оборудования «растягиваются» во часу, для коммерческого использования ето бывает очень важно.


Стандартная комплектация





JPT-310 Загальний вигляд фуговального рейсмусового верстата

Фото вигляд рейсмуса JPT-310

Фото фуговального рейсмусового верстата JPT-310

Фото вигляд рейсмуса JPT-310

Режим рейсмусоввания на станке JPT-310

Фото вигляд рейсмуса JPT-310

Ножевой вал helical і подающие валы на станке JPT-310HH

Фото вигляд рейсмуса JPT-310

Рейсмусовый стол і маховик подъема-опускания стола на станке JPT-310

Фото вигляд рейсмуса JPT-310

Електродвигун на станке JPT-310

Фото вигляд рейсмуса JPT-310

Фуговальный стол на станке JPT-310

Фото вигляд рейсмуса JPT-310

Фуговальный стол в поднятом положении на станке JPT-310 HH
видны рычаги регулювання высоты на подающем і разгрузочном столах

Фото вигляд рейсмуса JPT-310

Строгальный вал helical для верстата JPT-310HH


Розташування складових частин рейсмусового верстата JPT-310

Фото вигляд рейсмуса JPT-310

Розташування складових частин верстата JPT-310





Фото вигляд рейсмуса JPT-310

Розташування складових частин верстата JPT-310


Замена строгальных ножей рейсмусового верстата JPT-310

Фото вигляд рейсмуса JPT-310

Выставление строгального ножа верстата JPT-310

Фото вигляд рейсмуса JPT-310

Тонкая регулировка строгальных ножей верстата JPT-310


Фото ножей рейсмуса JPT-310

Фото строгальных ножей для верстата JPT-310

Фото ножей рейсмуса JPT-310НН

Фото строгальных ножей для вала helical для верстата JPT-310НН


Монтажная схема фуговального рейсмусового верстата JPT-310


Монтажная схема верстата JPT-310: фуговальный стол в сборе

Монтажная схема верстата JPT-310: фуговальный приемный (разгрузочный) стол в сборе

Монтажная схема верстата JPT-310: фуговальный стол в сборе. Дивитись у збільшеному масштабі



1 JPT310-001 стопорная гайка M8 4
2 JPT310-002 шайба 4
3 JPT310-003 ось стола 1
4 JPT310-004 крепление стола справа 1
5 JPT310-005 болт под шестигранный ключ M8X60 4
6 JPT310-006 вал ексцентрика 4
7 JPT310-007 разгрузочный стол 2
8 JPT310-008 кожух режущей головки в сборе 1
9 JPT310-009 крепление кожух режущей головки в сборе 1
10 JPT310-243 болт под шестигранный ключ M6X30 2
11 JPT310-011 шайба H12 4
12 JPT310-012 стопорная гайка H12 4
13 JPT310-013 болт под шестигранный ключ M6X20 4
14 JPT310-014 регулировочная ручка 2
15 JPT310-015 ручка 2
16 JPT310-016 спеціальний болт 2
17 JPT310-017 спеціальний болт 2
18 JPT310-018 крепление вала ексцентрика 2 19 JPT310-019 зажим вала ексцентрика 2
20 JPT310-020 стопорный винт 2
21 JPT310-021 шестигранная гайка M12 2
22 JPT310-022 крепление стола слева 1
23 JPT310-023 болт под шестигранный ключ M8X10 8
24 JPT310-024 диск D6 8
25 JPT310-025 болт под шестигранный ключ M8X30 6
26 JPT310-026 шайба H8 6
27 JPT310-027 супорт стола 2
28 JPT310-028 пружина 2
29 JPT310-029 болт под шестигранный ключ M8X16 2
30 JPT310-030 шестигранная гайка M8 3
31 JPT310-031 ексцентриковое кольцо для безопасного переключения 1
32 JPT310-032 болт под шестигранный ключ M5X10 1



Монтажная схема верстата JPT-310: строгальный вал в сборе

Монтажная схема верстата JPT-310: строгальный вал в сборе

Монтажная схема верстата JPT-310: строгальный вал в сборе. Дивитись у збільшеному масштабі



61 JPT310- 061 ексцентриковое колесо для безопасного переключения 1
62 JPT310- 062 шайба H16 2
63 JPT310- 063 корпус вытяжного штуцера в сборе 1
64 JPT310- 064 шплинт N5x18 1
65 JPT310- 065 ось 1
66 JPT310- 066 шайба N16 2
67 JPT310- 067 подшипник BRG6205-ZZCM 2
68 JPT310- 068 строгальный нож 3
69 JPT310- 069 крепёжная планка 3
70 JPT310- 070 специальные болты для крепёжной планки 15
71 JPT310- 071 режущая головка 1
72 JPT310- 072 болт M6x12 4
73 JPT310- 073 кожух ремня 1
74 JPT310- 074 болт 4
75 JPT310- 075 пружина 4
76 JPT310- 076 болт под шестигранный ключ M8x16 4
77 JPT310- 077 шестигранная гайка M8 4
78 JPT310- 078 болт под шестигранный ключ M10x25 4
79 JPT310- 079 шайба H10 4
80 JPT310- 080 шайба 48
81 JPT310- 081 крепёжный штифт 38
82 JPT310- 082 ролик 1
83 JPT310- 083 крепёжный штифт 1
84 JPT310- 084 кожух режущей головки 1
85 JPT310- 085 крепление режущей головки – справа 1
86 JPT310- 086 шайба M6 4
87 JPT310- 087 болт под шестигранный ключ M6x12 4
88 JPT310- 088 кожух режущей головки 1
89 JPT310- 089 болт M6x12
90 JPT310- 090 колпачковая гайка M6 1
91 JPT310- 091 пружина 1
92 JPT310- 092 шплинт для вытяжного штуцера 1
93 JPT310- 093 ось 1
94 JPT310- 094 ролик 1
95 JPT310- 095 крепление 4
96 JPT310- 096 крепление режущей головки – слева 1
97 JPT310- 097 шайба D52 2
98 JPT310- 098 стопорное кольцо CLP52 2
99 JPT310- 099 шайба 2
100 JPT310- 100 звёздочка приводной ланцюги 1
101 JPT310- 101 шайба WSH10 2
102 JPT310- 102 стопорная гайка M10 2
103 JPT310- 103 болт под шестигранный ключ M8x6 2
104 JPT310- 104 шплинт PLN6x16 1
105 JPT310- 105 шкив 1
106 JPT310- 106 шайба D52 2



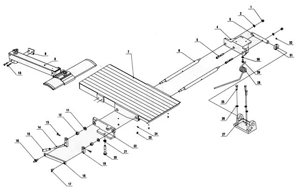
Монтажная схема верстата JPT-310: основа в сборе

Монтажная схема верстата JPT-310: основа верстата в сборе

Монтажная схема верстата JPT-310: основа в сборе. Дивитись у збільшеному масштабі



131 JPT310- 131 болт з квадратной головкой N12X65 1
132 JPT310- 132 квадратная шайба 1
133 JPT310- 133 трубка 1
135 JPT310- 135 подшипник BRG80101 1
136 JPT310- 136 звёздочка 1
137 JPT310- 137 стопорная гайка M12 1
138 JPT310- 138 болт M4X35 2
139 JPT310- 139 стопорная гайка M6 2
140 JPT310- 140 шайба H6 10
141 JPT310- 141 аварийный выключатель 1
142 JPT310- 142 крепление аварийного выключателя 1
143 JPT310- 143 стопорная гайка M4 2
144 JPT310- 144 шайба H6 4
145 JPT310- 145 шестигранная гайка M6 2
146 JPT310- 146 балансир для аварийного выключателя 1
147 JPT310- 147 ось 1
148 JPT310- 148 болт под шестигранный ключ M6X25 2
149 JPT310- 149 болт M4X16 4
150 JPT310- 150E вилка 230/50/1 1
JPT310- 150AE вилка 400/50/1 1
151 JPT310- 151 спеціальний болт 4
152 JPT310- 152 шестигранная гайка M8 4
153 JPT310- 153 стопорная ручка фуговального стола 1
154 JPT310- 154 стопорное кольцо CLP20 4
155 JPT310- 155 пружина 2
156 JPT310- 156 табличка 1
157 JPT310- 157E выключатель 230/50(60)/1 1
JPT310- 157AE выключатель 400/50/1 1
158 JPT310- 158 болт N4X60 2
159 JPT310- 159 болт M6X16 2
160 JPT310- 160 болт M6X12 2
161 JPT310- 161 шайба H6 7
162 JPT310- 162 кожух спереди 1
163 JPT310- 163 ручка 1
164 JPT310- 164 стопорная ручка 4
165 JPT310- 165 корпус 1
166 JPT310- 166 стопорная ручка рейсмусового стола 1
167 JPT310- 167 врезная шкала 1
168 JPT310- 168 шкала для фугования 1
169 JPT310- 169 шайба H8 2
170 JPT310- 170 стопорное кольцо 1
171 JPT310- 171 шайба H12 1
172 JPT310- 172 болт под шестигранный ключ M8x20 2



Монтажная схема верстата JPT-310: фуговальный стол в сборе

Монтажная схема верстата JPT-310: фуговальный подающий стол в сборе

Монтажная схема верстата JPT-310: фуговальный стол в сборе. Дивитись у збільшеному масштабі



184 JPT-310-184 крепление стола справа M8x60 2
190 JPT-310-190 крепление стола слева 1
203 JPT-310-203 болт под шестигранный ключ M8x16 1
209 JPT-310-209 болт под шестигранный ключ M8x40 1
210 JPT-310-210 ограничитель 1
211 JPT-310-211 шестигранная гайка M8 3



Монтажная схема верстата JPT-310: привід і двигатель в сборе

Монтажная схема верстата JPT-310: привід і двигатель в сборе

Монтажная схема верстата JPT-310: привід і двигатель в сборе. Дивитись у збільшеному масштабі



221 JPT310-221 клиновой ремень для режущей головки
50Hz A1194 1
JPT310-221 клиновой ремень для режущей головки 60Hz 1
222 JPT310-222 приводная ланцюг 1
223 JPT310-223 крепление ексцентрикового колеса 1
224 JPT310-224 ось ексцентрикового колеса 1
225 JPT310-225 ексцентриковое колесо 1
226 JPT310-226 трубка 1
227 JPT310-227 шплинт N6X16 1
228 JPT310-228 звёздочка 1
229 JPT310-229 шайба 1
230 JPT310-230 стопорное кольцо CLP15 1
231 JPT310-231 стопорное кольцо CLP10 2
232 JPT310-232 болт под шестигранный ключ M5X10 2
233 JPT310-233 клиновой ремень для ведущего ролика 1
234 JPT310-234 ексцентриковое колесо 1
235 JPT310-235 подшипник BRG80100 2
236 JPT310-236 распорная втулка 1
238 JPT310-238 болт под шестигранный ключ M8X12 2
239 JPT310-239 шкив двигуна 50Hz 1
JPT310-239 шкив двигуна 60Hz 1
240 JPT310-240 клиновой ремень для ведущего ролика A770 1
241 JPT310-241 болт под шестигранный ключ M8X25 4
242 JPT310-242 шайба H8 4
243 JPT310-010E двигатель 230/50/1 1
JPT310-010SAE двигатель 230/60/1 1
JPT310-010AE двигатель 400/50/1 1
244 JPT310-244 шайба H8 4
245 JPT310-245 шайба H8 4
246 JPT310-246 шестигранная гайка M8 4
247 JPT310-247 конденсатор 230/50/1 (не показан) 1
247 JPT310-247 конденсатор 230/60/1 (не показан) 1
248 JPT310-248 ось 1
249 JPT310-249 шайба H10 1
250 JPT310-250 шестигранная гайка M10 1



Монтажная схема верстата JPT-310: рейсмусовый стол в сборе

Монтажная схема верстата JPT-310: рейсмусовый стол в сборе

Монтажная схема верстата JPT-310: рейсмусовый стол в сборе. Дивитись у збільшеному масштабі



288 JPT310-288 индикатор 1
289 JPT310-289 болт M6X12 1
290 JPT310-290 болт под шестигранный ключ M8X12 1
291 JPT310-291 направляющая рейсмусового стола 1
292 JPT310-292 болт под шестигранный ключ M6X20 2
293 JPT310-293 крепление направляющей 2
294 JPT310-294 шайба H6 2
295 JPT310-295 шестигранная гайка M6 2
296 JPT310-296 стопорная ручка 1
297 JPT310-297 болт под шестигранный ключ M8x12 1
298 JPT310-298 отверстие для индикатора 1
299 JPT310-299 болт M6X20 2
304 JPT310-304 крепёжная планка 1
305 JPT310-305 замковая опора 1
306 JPT310-306 рукоятка 1
307 JPT310-307 маховик 1
308 JPT310-308 болт под шестигранный ключ M6X20 1
312 JPT310-312 стопорное кольцо CLP20 1
313 JPT310-313 стопорное кольцо CLP35 1
314 JPT310-314 шайба 1
315 JPT310-315 ось 1
316 JPT310-316 болт M6X12 2 317 JPT310-317 шайба M6 2 318 JPT310-318 коническая зубчатая передача 1
319 JPT310-319 стопорное кольцо CLP35 1
320 JPT310-320 подшипник BRG80202 1
321 JPT310-321 крепление коническая зубчатая передача 1
322 JPT310-322 шайба H8 8
323 JPT310-323 болт под шестигранный ключ M8X35 8
324 JPT310-324 резьбовой штифт 1
325 JPT310-325 болт под шестигранный ключ M6X40 1
326 JPT310-326 шестигранная гайка M6 1
327 JPT310-327 болт под шестигранный ключ M8x35 2
329 JPT310-329 шайба H8 2
330 JPT310-330 крепление резьбового штифта 1
331 JPT310-331 основа опори 1
333 JPT310-333 болт под шестигранный ключ M8X20 5
335 JPT310-335 опора 1
336 JPT310-336 болт под шестигранный ключ M 10X35 2
337 JPT310-337 шайба H10 2
338 JPT310-338 рейсмусовый стол 1
339 PT310-339 возвратное кольцо в сборе 1



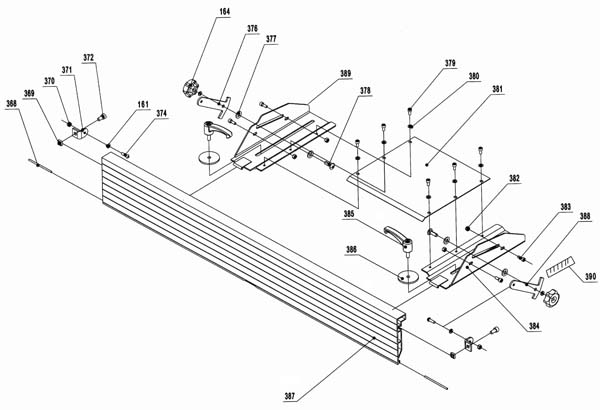
Монтажная схема верстата JPT-310: направляющая в сборе

Монтажная схема верстата JPT-310: направляющая в сборе

Монтажная схема верстата JPT-310: направляющая в сборе. Дивитись у збільшеному масштабі



368 JPT31 0-368 шплинт для шарнира 1
369 JPT31 0-369 квадратная гайка M8 2
370 JPT31 0-370 стопорная гайка M6 6
371 JPT31 0-371 крепление опори направляющей 2
372 JPT31 0-372 болт под шестигранный ключ M8X16 2
374 JPT31 0-374 болт под шестигранный ключ M6X16 2
376 JPT31 0-376 супорт направляющей – справа 1
377 JPT31 0-377 шайба 10
378 JPT31 0-378 болт з квадратной головкой M8X25 2
379 JPT31 0-379 болт M6X12 6
380 JPT31 0-380 шайба H6 6
381 JPT31 0-381 кожух режущей головки 1
382 JPT31 0-382 стопорная гайка M6 4
383 JPT31 0-383 болт под шестигранный ключ M6X12 4
384 JPT31 0-384 супорт направляющей – слева 1
385 JPT31 0-385 стопорная ручка 2
386 JPT31 0-386 специальная шайба 2
387 JPT31 0-387 направляющая 1
388 JPT31 0-388 супорт – слева 1
389 JPT31 0-389 супорт – справа 1
390 JPT31 0-390 шкала направляющей 1
391 JPT31 0-391 направляющая в сборе (368-390) 1






Схема електрична принципова фуговально-рейсмусового верстата JPT-310

JPT-310 Схема електрична принципова фуговально-рейсмусового верстата

Схема електрична верстата JPT-310: Напряжение живлення 220 В

JPT-310 Схема електрична принципова фуговально-рейсмусового верстата

Схема електрична верстата JPT-310: Напряжение живлення 380 В





JPT-310 Верстат фуговально-рейсмусовый деревообрабатывающий. Відеоролик

Обзор






Технічні характеристики рейсмусового верстата JPT-310

Наименование параметра JPT-310 JPT-310НН з валом «helical»
Фугование. Основні параметри
Максимальная ширина строгания, мм 307 307
Частота обертання строгального вала (на холостом ходу), об/мин. 5500 5500
Количество резов в минуту 16500 16500
Количество строгальных ножей на строгальном валу 3 48
Максимальная глубина строгания макс, мм 3,0 3,0
Строгальный нож, мм 310 х 25 х 3,0 15 х 15 х 2,5
Длина стола, мм 1400 1400
Диаметр строгального вала, мм 70 70
Боковий упор заготовки, мм 1100 х 150 1100 х 150
Высота над полом, мм
Строгание в размер - рейсмус. Основні параметри
Максимальная ширина строгания, мм 307 307
Диапазон толщины обрабатываемых заготовок, мм 3..225 3..225
Скорость механической подачі заготовки, м/мин 7 7
Минимальная длина обрабатываемой заготовки, мм 150 150
Длина робочого стола, мм 540 540
Максимальная глубина строгания, мм 4,5 4,5
Електроустаткування верстата
Род тока питающей сети 220В / 380В 50Гц 220В / 380В 50Гц
Количество електродвигателей на станке, шт 1 1
Електродвигун - Выходная мощность (220 В), кВт 2,2 / S1 100% -
Електродвигун - Потребляемая мощность (220 В), кВт 3,5 кВт / S6 40% -
Електродвигун - Рабочий ток (220 В), А 13 -
Електродвигун - Выходная мощность (380 В), кВт 2,2 / S1 100% 2,2 кВт / S1 100%
Електродвигун - Потребляемая мощность (380 В), кВт 4,2 кВт / S6 40% 4,2 кВт / S6 40%
Електродвигун - Рабочий ток (380 В), А 5 5
Тип електродвигуна Асинхронный Асинхронный
Плавкий предохранитель, А 16 16
Габарит і масса верстата
Габарит верстата (длина х ширина х высота), мм 1400 х 750 х 1000 1400 х 750 х 1000
Масса верстата, кг 230 230