metalinstryment.com
Довідник по металорізальних верстатів та пресовому обладнанні

JWP-12 Верстат деревообрабатывающий рейсмусовый
Схеми, опис, характеристики

JWP-12 Верстат деревообрабатывающий рейсмусовый







Відомості про виробника рейсмусового верстата Jet JWP-12

Поставщиком рейсмусового деревообрабатывающего верстата Jet JWP-12 является JPW Tools AG Швейцария, которое является дочерним предприятием акционерного общества Walter Meier (Tool) AG. Адрес сайта: www.jettools.com

На территории России продукцию компании Jet ексклюзивно представляет компания ИТА-СПб г.Санкт-Петербург, основанная в 2004-ом году, как дочернее подразделение, наделенное всеми правами по продаже, продвижению і техническому обслуговування.





Верстати, выпускаемые компанией JPW Tools AG, Швейцария, Китай


JWP-12 Верстат рейсмусовый переносной електрический. Назначение, область применения

Деревообрабатывающий рейсмусовый верстат JWP-12 предназначен для строгания заготовок из древесины в предварительно заданные розміри. Верстат JWP-12 предназначен для индивидуальной експлуатации і не рассчитан на работу при непрерывном производстве.

Обладая високою производительностью, верстат JWP-12 весит 27 кг і остается мобильным: его можно взять на стройку или в одиночку перемещать по мастерской. Предусмотрена установка на пол (открытая подставка входит в стандартную комплектацию) или на верстак. При експлуатации верстата следует учитывать, что точная і безотказная робота возможна только при качественном стружкоудалении, например, з помощью вытяжных установок Jet.


На верстатах JWP-12 не допускается обработка металлов, асбоцементных материалов, камня і подобных материалов, мягких пластмассовых і резиноподобных материалов.

Легкий і компактный рейсмусовый верстат Jet JWP-12 предназначен для индивидуального использования в столярных мастерских і «на выезде» в условиях стройки. Благодаря коллекторному мотору он весит всего 30 кг, обладая при етом мощностью 1,8 кВт. Двигатели етого типа требовательны к соблюдению температурного режима, поетому JWP-12 оснащен датчиком перегрева, отключающим питание, когда нужен перерыв на охолодження.

По качеству строгания верстат JWP-12 не уступает стационарным моделям начального уровня, напротив, высокая скорость обертання ножевого вала делает его в ряде случаев более предпочтительным. Есть все стандартные системы, характерные і для стационарных аналогов: механізм автоподачі, подающий і разгрузочный столы з роликами (для удобства транспортировки і хранения они сделаны складными), ролики сверху корпуса для обратной подачі заготовки. Регулировку высоты ножевого вала, в зависимости от размера детали, производят единственной вращающейся рукояткой.

Накопленный опыт експлуатации JWP-12 показал, что при соблюдении всего нескольких простых правил верстат очень долговечен і надежен. Требуется лишь избегать роботи без подключения к пылеотсосу і вовремя прочищать все механізмы от стружки.

Важное достоинство строгальных верстатів Jet на фоне аналогов других марок – надежное снабжение расходными материалами, в частности сменными ножами, причем модель JWP-12 изначально поставляется з запасным комплектом качественных лезвий из быстрорежущей стали.





Конструктивные особливості рейсмуса JWP-12

Верстат работает от однофазной сети переменного тока напряжением 220 В частотой 50 Гц.

Верстат може експлуатироваться в нормальных климатических условиях:


JWP-12 Загальний вигляд рейсмусового верстата

Фото рейсмуса JWP-12

JWP-12 фото верстата рейсмусового. Дивитись у збільшеному масштабі


Фото вигляд рейсмуса JWP-12

JWP-12 фото верстата рейсмусового. Дивитись у збільшеному масштабі


Вид на строгальный узел рейсмусового верстата

Вид на строгальный узел рейсмусового деревообрабатывающего верстата JWP-12

JWP-12 Вид на строгальный узел рейсмусового верстата. Дивитись у збільшеному масштабі


Подъем і опускание строгального вузла рейсмуса JWP-12

Подъем і опускание строгального вузла рейсмусового деревообрабатывающего верстата JWP-12


Использование верхних роликов рейсмуса JWP-12 для переноса заготовки

Использование верхних роликов рейсмуса JWP-12 для переноса заготовки


Комплект поставки рейсмусового верстата JWP-12





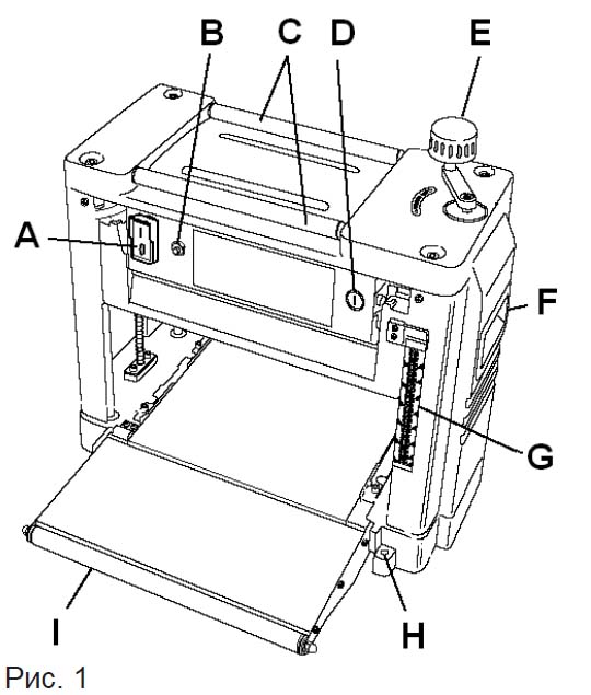
Розташування складових частин рейсмусового верстата JWP-12

Розташування складових частин рейсмусового верстата JWP-12

Список вузлів рейсмусового верстата JWP-12


Установка строгальных ножей на верстат JWP-12

Установка строгальных ножей на верстат JWP-12






JWP-12 Верстат деревообрабатывающий рейсмусовый. Відеоролик










Технічні характеристики рейсмусового верстата JWP-12

Наименование параметра JWP-12
Строгание в размер - рейсмус. Основні параметри
Максимальная ширина строгания, мм 318
Диапазон толщины обрабатываемых заготовок, мм 6..153
Скорость механической подачі заготовки, м/мин 7
Минимальная длина обрабатываемой заготовки, мм 250
Максимальная глубина строгания, мм 2,5
Частота обертання строгального вала (на холостом ходу), об/мин. 9000
Количество строгальных ножей на строгальном валу 2
Диаметр строгального вала, мм 48
Размер ножа: Длина, ширина, толщина, мм 319 х 18 х 3
Длина рейсмусового стола (с удлинителями), мм 295 (690)
Електроустаткування верстата
Род тока питающей сети 220В 50Гц
Количество електродвигателей на станке, шт 1
Електродвигун - номинальная мощность, кВт 1,8
Рабочий ток, А 8
Тип електродвигуна Коллекторный
Плавкий предохранитель, А 16
Соединительный провод 3 x 1мм²
Габарит і масса верстата
Габарит верстата (длина х ширина х высота), мм 580 х 560 х 463
Масса верстата, кг 27