Свердлильний настільний верстат НС-16 випускається підприємством Ростовський завод малогабаритного верстатного обладнання МАГСО, КомТех-Плюс , заснований у 1956 році.
Завод МАГСО входить до Фінансово-промислової групи КомТех , яка на ринку верстатного обладнання існує вже кілька років і має пріоритет з випуску малогабаритних металорізальних верстатів токарних, фрезерних, вібраційних, заточувальних, свердлильних, якими комплектуються школи, профтехучилища, коледжі, інститути, ремонтно організації всіх регіонів Росії.
Верстат настільно-свердлильний НС-16 (надалі «верстат») призначений для свердління отворів діаметром не більше 16 мм у різних дрібних деталях.
Свердлильний верстат НС-16 може бути використаний у ремонтних та виробничих підрозділах, майстернях.
Універсальний настільний свердлильний верстат НС-16 має внутрішній конус Морзе-2, що дозволяє при необхідності встановлювати патрон від 6 до 16 мм, а при використанні свердлів з конічним хвостовиком Морзе 2 свердлити отвори до 22 мм.
Оптимальне поєднання жорсткості та ваги верстата НС-16 дозволяє використовувати верстат для свердління всіх видів свердлильних робіт у жорстких умовах експлуатації. Можуть успішно використовуватися для роботи в домашніх майстернях, школах, а також на малих підприємствах з невеликими обсягами виробництва.
Свердлильний верстат НС-16 розроблений на замовлення МО РФ для комплектації пересувних ремонтних майстерень в обмежених обсягах "Кунга".
Для стаціонарних майстерень, що не мають обмеження по висоті, а також для промислових підприємств, хід траверси може бути збільшений до 400 мм, що значно розширює можливості верстата.

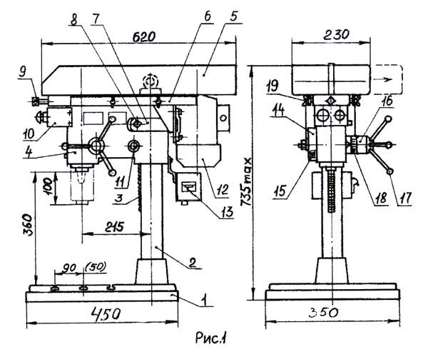
Габарити робочого простору свердлувального верстата НС-16

Шпіндель настільного свердлувального верстата нс-16

Фото настільного свердлувального верстата нс-16

Фото настільного свердлувального верстата нс-16
Конструктивно верстат НС-16 (рис.1, 2, 3) змонтований на литій плиті 1, на якій закріплена стійка 2 з рейкою 3.
По стійці переміщається за допомогою валу – рейки шестерні 11 траверса 4. Від мимовільного переміщення траверси по стійці оберігає планка гальмівна 7, притиск якої регулюється гвинтом 8. У траверсі 4 розміщений шпиндельний вузол, що складається з самого шпинделя 24 23.
Шпиндель 23 своїм нижнім кінцем закріплений через підшипники в пінолі 24 за допомогою гайки 25 (з лівим різьбленням), кільця 26 і сальника 27. Верхнім шліцевим кінцем шпиндель 23 через втулку 21 пов'язаний зі шківом 20 ременной передачі. Втулка 21 встановлена з можливістю обертання через підшипники в склянці 22 жорстко закріпленому на траверсі 4.
Піноль 24 під впливом вала-шестірні 16 через ручки 17 переміщається траверсі. Звіт величини переміщення здійснюється по лімбу 18. Повернення пінолі 24 зі шпинделем у верхнє положення здійснюється під впливом пружини 15, яка своїм внутрішнім кінцем пов'язана з валом - шестернею 16, а зовнішнім з кришкою 14, що замикається через шпонку на траверсі.
На траверсі 4 встановлені з можливістю переміщення під впливом ггвинта 9, санки 6 з електродвигуном 12.
У блоці електроапаратури 13 розміщені автоматичний вимикач і пускач магнітний.
У пульті 10, закріпленому на траверсі 4, розміщені кнопки "Пуск" та "стоп".
Кожух 5 клиноременной передачи состоит из двух съемных частин, закрепленных на траверсе при помощи гаек – барашек 19. Для переброса ремня на необходимую ступень шкивов достаточно снять одну из частин кожуха.
Конструктивно верстати моделей НС-16 і НС-16.01 (СНВШ-2) отличаются размерами плиты і виконанням шпинделя (внутренний конус, или наружный конус).
Включить верстат в сеть выключателем в блоке 13, після пуска верстата черной кнопкой включается електродвигатель 12. От електродвигуна вращение через клиноременную передачу, закрытую кожухом 5, передається на шпиндель в пиноли 24.
Пиноль перемещается при вращении вала-шестерни 16 при помощи рукоятки 17.
Отсчет вертикального переміщення при сверлении осуществляется по лимбу 18.
В конструкцию верстата могут быть внесены изменения, не влияющие на его работоспособность, не отраженные в настоящей инструкции по експлуатации.

Електрична схема настільного сверлильного верстата нс-16
| Наименование параметра | НС-16 | НС-16.01 (СНВШ-2) |
|---|---|---|
| Основні параметри верстата | ||
| Класс точності по ГОСТ 8-82 | Н | Н |
| Наибольший диаметр сверления, мм | 16 | 16 |
| Розміри рабочей поверхности стола (длина х ширина), мм | 310 х 370 | 310 х 370 |
| Наибольшее расстояние от торца шпинделя до стола, мм | 360 | 360 |
| Расстояние от оси шпинделя до направляючих станины (вылет), мм | 215 | 215 |
| Наибольший диаметр фрезы, устанавливаемой на станке, мм | ||
| Показатели норм точності при изготовлении верстата | ||
| Перпендикулярность рабочей поверхности плиты к оси обертання шпинделя в вертикальной плоскости симметрии верстата, мкм | 50 | 50 |
| Перпендикулярность рабочей поверхности плиты к оси обертання шпинделя в вертикальной плоскости перпендикулярной к плоскости симметрии верстата, мкм | 50 | 50 |
| Перпендикулярность траектории переміщення шпинделя к рабочей поверхности плиты (стола), мкм | 30 | 30 |
| Перпендикулярность траектории переміщення шпиндельной бабки к рабочей поверхности плиты (стола), мкм | 60 | 60 |
| Радиальное биение внутреннего конуса шпинделя у торца шпинделя, мкм | 16 | нет |
| Радиальное биение внутреннего конуса шпинделя на расстоянии 200 мм, мкм | 25 | нет |
| Радиальное биение наружного конуса шпинделя в середине длины образующей конуса, мкм | нет | 16 |
| Шпиндель | ||
| Частота обертання шпинделя, об/мин | 550, 1000, 1800, 3400 | 550, 1000, 1800, 3400 |
| Количество швидкостей шпинделя | 4 | 4 |
| Перемещение гильзы шпинделя, мм | 100 | 100 |
| Перемещение траверсы, мм | 200 | 200 |
| Внутренний конус шпинделя | Морзе 2 | нет |
| Наружный конус шпинделя | нет | Морзе 2 |
| Привід і електрообладнання | ||
| Количество електродвигателей на станке | 1 | 1 |
| Електродвигун приводу головного руху М1, кВт | 0,75 | 0,75 |
| Габарити і масса верстата | ||
| Габарити верстата (длина х ширина х высота), мм | 680 х 350 х 735 | 680 х 350 х 735 |
| Масса верстата, кг | 110 | 110 |
НС-16, НС-16.01 (СНВШ-2) Паспорт настільного свердлувального верстата, (pdf) 0,5 Мб, Завантажити