Виробником верстата ТВ-6М був Дубненський ливарно-механічний завод "Жовтень" - м. Дубно Рівненської області в Україні.
Шкільний токарно-гвинторізний верстат ТВ-6М є замінив модель ТВ-4 . (Дивіться статтю Шкільні токарні верстати ) і був замінений на більш досконалу модель ТВ-7 .
Верстат ТВ-6М є навчальним універсальним токарно-гвинторізним верстатом і призначається для всіляких токарних робіт у майстернях шкіл для політехнічного навчання та холодної обробки металів різанням.
Навчальний токарно-гвинторізний верстат ТВ-6М , незважаючи на спрощену конструкцію, має всі вузли "дорослого" токарно-гвинторізного верстата: коробку швидкостей, гітару, коробку подач, ходовий вал та ходовий гвинт, супорт з механічною подачею.
Верстат ТВ-6М має 6 швидкостей шпинделя за рахунок перемикання шестерень у коробці передньої бабки, 3 швидкості подач супорта , може нарізати 3 метричні різьблення без перестановки шестерень у гітарі.
Кінець шпинделя верстата ТВ-6М має різьблення М36х4, тому для установки токарного або повідкового патрона на шпиндель необхідний проміжний фланець (його називають також план-шайба) (див. статтю Токарні патрони ). Стандартний патрон для верстата ТВ-6М – Ø100 мм.
Привід верстата ТВ-6М здійснюється від асинхронного електродвигуна ~380В. Через клинопасову передачу і одноступінчасті шківи рух передається на вхідний вал коробки швидкостей. Усередині коробки швидкостей рух через шестерні передається на шпиндель. Шпіндель, залежно від положення рукояток на передній бабці, обертається з однією з шести швидкостей. Напрямок обертання шпинделя визначається двигуном.
Від шпинделя через шестерні рух передається на вихідний вал коробки швидкостей, потім гітару, і від неї вхідний вал коробки подач.
На виході коробки є ходовий вал і ходовий гвинт, які обертаються поперемінно з однією з 3-х швидкостей. Ходовий гвинт включається при нарізанні різьблення. Швидкість та напрямок обертання ходового ггвинта задається рукоятками на коробці подач і визначає одну з 3-х метричних різьб (ходовий гвинт можна використовувати в режимі поздовжньої подачі, але не використовується, щоб не зношувати його), ходовий вал дає можливість отримати одну з 3-х поздовжніх подач супорта. Швидкість подачі та напрямок задається рукоятками на передній стінці коробки подач.
Ходовий гвинт та ходовий вал проходять крізь фартух супорта, який перетворює обертальний рух ходового ггвинта або ходового валика в поступальний поздовжній рух супорта. Поперечний механічний рух супорта у верстаті ТВ-6М не передбачено.
Мастило коробки швидкостей - розбригуванням шестернями олії з масляної ванни на дні передньої бабки. Змащення коробки подач - ґноти з лотка, який заповнюється маслом раз на зміну. Фартух, супорт, гітара, задня бабка та станина змащуються вручну раз на зміну.
Верстат ТВ-6М дозволяє проводити такі види токарних робіт:

Габаритні розміри робочого простору верстата ТВ-6М

Фото токарно-гвинторізного верстата ТВ-6М

Розташування органів керування токарним верстатом ТВ-6М

Кінематична схема токарно-гвинторізного верстата ТВ-6М
Токарно-гвинторізний верстат складається з наступних основних вузлів: передня тумба, задня тумба, станина, передня бабка, коробка подач, гітара, фартух, супорт, задня бабка, захисний кожух, корито, електрообладнання, захисний екран.
Передня тумба виконана П-подібної форми з ребрами жорсткості у верхній та нижній частининах.
Привідний електродвигун встановлений на задній стороні тумби, на передній реверсивна кнопка включення та вимикання електродвигуна.
Задня тумба виконана П-подібної форми з ребрами жорсткості у верхній та нижній частининах. У задній тумбі змонтовано щиток з електроустаткуванням верстата.
Станина служить підтримки, закріплення і взаємного з'єднання всіх вузлів верстата.
Станина верстата коробчастої форми із вікнами. Має дві призматичні напрямні.
Передня напрямна служить для пересування каретки, задня для переміщення задньої бабки.
На передній стороні станини встановлений ходовий гвинт та рейка
Станина установлена на две тумбы.

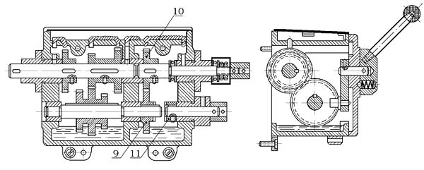
Креслення коробки швидкостей токарного верстата ТВ-6М

Креслення коробки швидкостей токарного верстата ТВ-6М

Фото коробки швидкостей токарного верстата ТВ-6М
Передня бабка кріпиться у лівій частинині станини. Установка коробки швидкостей по лінії центрів у горизонтальній площині здійснюється двома ггвинтами з гайками.
Рух коробки швидкостей передається від індивідуального електродвигуна через клинопасову передачу на шків. Передня бабка служить для підтримки оброблюваної деталі та повідомлення їй обертального руху. У верстаті типу ТВ-6М передня бабка є коробкою швидкостей, тому надалі буде застосовуватися цей термін.
Усередині коробки рух передається через вал 2 і шестерню 3, що сидить на валу нерухомо, на вал 4, на якому сидять нерухомі шестерня 12 блок-шестерня 5; шестерня 6 бере участь лише у роботі трензеля.
На валу 7 знаходяться блокові шестерні 8 і 11, які переміщуються на валу по шпонці за допомогою рукояток 1 і 2 (рис.1). Рукоятка 1 має три положення, одержувані поворотом праворуч і ліворуч. Рукоятка 2 має два положення.
Потрійна блочна шестерня 8 має можливість перебувати в постійному зачепленні з блоком 5 або шестернею 12 і тим самим передавати рух валу 7 і шестерні блочної 13, що знаходиться безпосередньо на шпинделі верстата 14.
Шпиндель передає обертання оброблюваної деталі за допомогою трикулачкового патрона або планшайби з повідцем, які накручуються на його різьбову частину. При обробці деталей у центрах у шпиндель вставляється центр.
У коробці швидкостей змонтовано пристрій, що дозволяє змінювати напрямок обертання ходового ггвинта та ходового валика, тобто. змінювати напрямок переміщення супорта. Це здійснюється переміщенням шестірні 15 у ліве та праве крайнє положення рукояткою 3 (рис.1).
При крайньому лівому положенні рукоятки шестерня 15 отримає пряме обертання безпосередньо від блоку шестерні 16, розташованого на шпинделі. При правому крайньому положенні рукоятки шестерня 15 отримає зворотне обертання за рахунок зачеплення з паразитної шестернею 6, яка в свою чергу отримує обертання від другого ступеня блоку шестерень 16.
Обертання вала 17 передається шестерні 18, яка знаходиться в постійному зачепленні з шестернями передавального механізму і далі з коробкою передач.
При середньому нейтральному положенні рукоятки і шестерні обертання 15 від шпинделя не буде передаватися коробці подач, тобто. ні ходовий гвинт, ні ходовий валик не обертатимуться.
Шпиндель передньої бабки одержує від приймального шківа шість чисел оборотів. Таблиця із зазначенням чисел оборотів шпинделя за хвилину залежно від положення рукояток розмішається на верхній кришці коробки подач.
Передня шийка шпинделя обертається у двох упорно-радіальних підшипниках, а задня – у радіальному підшипнику. Для регулювання осьового натягу на шпинделі встановлено дві гайки.
Для фіксації осьового переміщення валиків на передній кришці коробки швидкостей встановлені регулювальні гвинти 10. На передній стороні коробки швидкостей є покажчик рівня олії, на задній стінці - корок для зливу олії 22.

Гітара (передавальний механізм) токарного верстата ТВ-6М

Гітара (передавальний механізм) токарного верстата ТВ-6М
Передавальний механізм служить передачі обертання від шпинделя коробки швидкостей до коробки подач. Механізм складається з кронштейна, на якому змонтовано шестірні. Передавальний механізм характеризується передатним ставленням, і для верстата ТВ-6М воно становить:
i = 24/60 * 40/64 = 1/4
Для цього верстата таке передатне ставлення постійно, тому що змінні шестерні до верстата не додаються.

Коробка подач токарного верстата ТВ-6М

Коробка подач токарного верстата ТВ-6М
Коробка подач отримує рух від коробки швидкостей через шестерні передавального механізму (гітару).
Механізм коробки подач дає можливість отримати метричне різьблення з кроком 0,8; 1,0; 1,25, а при встановленні змінних шестерень гітарі – 1,5; 2,0 і поздовжню подачу супорта в межах 0,08; 0,1; 0,12мм. на один оборот шпинделя.
Необхідні різьблення у подачі встановлюються шляхом повороту рукоятки, розташованої на передній кришці коробки подач. Включення ходового валика здійснюється поворотом ручки 5 (рис.1). У положенні, вказаному на рис.5, здійснюється обертання ходового ггвинта. При переміщенні шестерні 9 вправо вона вийде із зачеплення з шестернею 10 і увійде в зачеплення з муфтою 11, яка передає обертання на ходовий валик.
Таким чином, у конструкції коробки подач виключається можливість одночасного обертання ходового ггвинта та ходового валика.
Зміна напрямку обертання ходового валика здійснюється поворотом рукоятки.
Для змащування механізму коробки подач у верхній частині є корито для заливки масла. Олія на шестерні і поверхні, що труться, подається ґнотами.
У роботі ходовий гвинт не повинен мати осьового переміщення.
Для вибірки люфта потрібно підтягнути дві круглі гайки.

Суппорт токарно-гвинторізного верстата ТВ-6М
Супорт призначений для закріплення та переміщення різця, він має чотири санки.
Салазка 1 переміщається в поздовжньому напрямку напрямними станини.
Салазка 2 переміщається поперечним напрямним санки 1 і служить для поперечного переміщення різця.
Салазка 4, що несе чотирипозиційну різцеву головку, має лише поздовжнє переміщення по направляючих санки 3, яка має можливість повертатися на 40° від середнього положення в ту чи іншу сторону.
Поперечне переміщення санки 2 по направляючих нижньої санки 1 проводиться гвинтом 6 і гайкою 5.
Гвинт 6 приводиться у обертання від руки рукояткою 12.
Зверху санка 2 має поглиблення, куди входить виступ новоротної частини верхнього супорта; для закріплення поворотної частини є 2 болти, головки яких входять у Т-подібний паз санки 2.
Верхню санку 4 супорта можна переміщати по направляючих вручну, рукояткою 7, яка обертає гвинт 8. Напрямні станини, санок і клинів від тривалої роботи зношуються настільки, що між ними може з'явитися зазор.
В результаті різець вібруватиме, і знизиться точність роботи верстата. Для усунення вібрації потрібно відрегулювати притискні планки 10 санки 1 ггвинтами 11.
Регулювання клинів проводиться ггвинтами, розташованими в торцях санки 2 і санки 4 супорта.
Різцетримач закріплюється на санці 4 болтом 13 і рукояткою 14. При відвертанні рукоятки різцетримач віджимається вгору від верхньої санки.
Для фіксації положення різцетримача на санку 4 є опорний штифт.
У різцетримачі можна закріплювати одночасно до чотирьох різців. Різці кріпляться болтами 15.

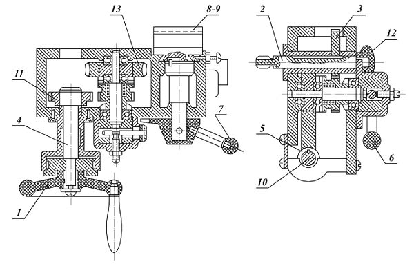
Фартук токарно-гвинторізного верстата ТВ-6М
За допомогою фартуха можна проводити механічну поздовжню подачу супорта від ходового валика та від ходового ггвинта, а також ручну поздовжню подачу.
Ручна подача здійснюється обертанням маховика 1, насадженого на вал-шестерню 4, що входить у зачеплення з шестернею 3, що сидить на валику рейкової шестерні 2.
Остання входить у зачеплення із зубчастою рейкою, жорстко прикріпленою до станини. Механічна подача від ходового валика 10 здійснюється хробаком 5, пов'язаним з валиком ковзною шпонкою. Черв'як приводить у обертання черв'ячну шестерню 11 і далі через кулачкову муфту і шестерні 13, 3 обертання передасться на рейкову шестерню. Для включення механічної подачі треба ручку 6 повернути на себе, при цьому включається кулачкова муфта.
Механічна подача від ходового ггвинта здійснюється поворотом донизу рукоятки 7, що з'єднує гайку роз'ємну 8-9 з ходовим гвинтом.
Рейкову шестерню 2 при нарізанні різьблення треба обов'язково виводити з зачеплення з рейкою рухом рукоятки 12 на себе.
При механічній подачі від ходового валика і при ручній подачі супорта за допомогою маховичка 1 рейкову шестерню обов'язково вводять в зачеплення з зубчастою рейкою рухом рукоятки 12 від себе.
У конструкції фартуха передбачено блокування, яке не дозволяє одночасно включати механічну подачу від ходового валика та маточну гайку.

Задня бабка токарно-гвинторізного верстата ТВ-6М
Задня бабка служить підтримки другого кінця оброблюваної деталі. Корпус бабки 1 розташований на підставі 2, що переміщається направляючими станини верстата.
У корпусі поздовжньо переміщається піноль 3.
Піноль має конічний отвір (конус Морзе 2), в який вставляється наполегливий центр або інший інструмент; свердла, розгортки, свердлильний патрон і т. д. Переміщення пінолі проводиться маховичком 4, що обертає гвинт 5.
Для зручності обертання на маховику закріплено ручку 6.
Щоб піноль при обертанні маховичка не поверталася, вона має шпоночну канавку, в яку входить гвинт-шпонка 7. Рукоятка 8 служить для затискання пінолі в корпусі бабки. Осі шпинделя та пінолі задньої бабки повинні збігатися.

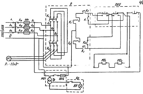
Електрична схема токарно-гвинторізного верстата ТВ-6М
| Найменування параметру | ТВ-4 | ТВ-6 | ТВ-6М | ТВ-7 |
|---|---|---|---|---|
| Основні параметри верстата | ||||
| Класс точності | Н | Н | Н | Н |
| Найбільший діаметр заготовки над станиною, мм | 200 | 200 | 200 | 220 |
| Найбільший діаметр заготовки над супортом, мм | 125 | 80 | 100 | |
| Висота центрів над плоскими напрямними станини, мм | 108 | 108 | 108 | 120 |
| Найбільша довжина заготовки у центрах (РМЦ), мм | 350 | 350 | 350 | 330 |
| Найбільша довжина заготовки в патроні, мм | 310 | |||
| Найбільша довжина обточування, мм | 300 | 300 | 300 | 300 |
| Найбільша висота тримача різця, мм | 10 х 12 | 12 х 12 | 10 х 12 | 16 х 16 |
| Висота від опорної поверхні різця до лінії центрів, мм | 12 | 12 | 12 | |
| Найбільша відстань від осі центрів до кромки різцетримача, мм | 78 | 78 | 78 | |
| Шпиндель | ||||
| Різьбовий кінець шпинделя, мм | М36 х 4 | М36 х 4 | М36 х 4 | М45 х 4 |
| Діаметр стандартного патрона, мм | 100 | 100 | 130 | 125 |
| Діаметр наскрізного отвору в шпинделі, мм | 16 | 18 | ||
| Найбільший діаметр прутка, мм | 15 | 12 | ||
| Конус Морзе шпинделя | №2 | №3 | №3 | №3 |
| Число ступенів частот прямого обертання шпинделя | 6 | 6 | 6 | 8 |
| Частота прямого обертання шпинделя, об/хв | 120, 160, 230, 375, 500, 710 | 130, 170, 235, 385, 510, 700 | 180, 250, 355, 500, 710, 1000 | 60..1000 |
| Гальмування шпинделя | ні | ні | ні | ні |
| Блокування рукояток | ні | ні | ні | ні |
| Супорт. Подання | ||||
| Найбільше поздовжнє переміщення супорта, мм | 300 | 300 | 300 | 260 |
| Переміщення супорта поздовжнє на один поділ лімба, мм | 0,5 | 0,25 | 0,25 | 0,25 |
| Найбільше поперечне переміщення супорта, мм | 100 | 100 | 100 | |
| Переміщення супорта поперечне на один поділ лімба, мм | 0,025 | 0,025 | 0,025 | 0,025 |
| Найбільше переміщення різцевих санчат, мм | 50 | 85 | 50 | 85 |
| Переміщення різцевих санок на один поділ лімба, мм | 0,025 | 0,025 | 0,025 | 0,025 |
| Кут повороту різцевих санчат, град | ±45° | ±40° | ±45° | ±40° |
| Число ступенів поздовжніх подач супорта | 3 | 3 | 3 | 8 |
| Межі поздовжніх робочих подач супорту, мм/про | 0,08; 0,1; 0,12 | 0,08; 0,1; 0,12 | 0,08; 0,1; 0,12 | 0,1; 0,12; 0,15; 0,16; 0,18; 0,20; 0,24; 0,32 |
| Межі робочих поперечних подач супорта, мм/про | немає | немає | немає | немає |
| Кількість нарізних різьблень метричних | 3 | 3 | 6 | |
| Межі кроків різьб метричних, що нарізаються, мм | 0,8; 1,0; 1,25 | 0,8; 1,0; 1,25 | 0,8; 1,0; 1,25 | 0,8; 1,0; 1,25; 1,5; 2,0; 2,5 |
| Межі кроків різьблення дюймових | немає | немає | немає | немає |
| Межі кроків різьблення модульних | немає | немає | немає | немає |
| Межі кроків різьблення питних | немає | немає | немає | немає |
| Задня бабка | ||||
| Конус Морзе задньої бабки | №2 | №2 | №2 | №2 |
| Найбільше переміщення пінолі, мм | 65 | 65 | 65 | 65 |
| Найбільше поперечне усунення задньої бабки, мм | ±5 | |||
| Електроустаткування | ||||
| Електродвигун головного приводу, кВт | 1,0 | 1,1 | 1,1 | 1,1 |
| Габарити та маса верстата | ||||
| Габарити верстата (довжина ширина висота), мм | 1440 х 470 х 1020 | 1100 х 470 х 1100 | 1100 х 470 х 1020 | 1050 х 535 х 1200 |
| Маса верстата, кг | 280 | 300 | 280 | 400 |