Токарно-гвинторізний настільний верстат ТВ-9 випускається підприємством Ростовський завод малогабаритного верстатного обладнання МАГСО, КомТех-Плюс , заснований у 1956 році.
Завод МАГСО входить до Фінансово-промислової групи КомТех , яка на ринку верстатного обладнання існує вже кілька років і має пріоритет з випуску малогабаритних металорізальних верстатів токарних, фрезерних, вібраційних, заточувальних, свердлильних, якими комплектуються школи, профтехучилища, коледжі, інститути, ремонтно організації всіх регіонів Росії.
Верстати, що виробляються цією фірмою, добре відомі на російському ринку і ряд країн СНД, завдяки першим моделям токарно-гвинторізних верстатів ТВ-4, ТВ-6. Модель ТВ-9, заслужено користуючись репутацією якісного та надійного обладнання. Важлива особливість верстата – економічність та низький рівень експлуатаційних витрат.
Верстат ТВ-9 є настільним універсальним токарно-гвинторізним верстатом і призначається для всіляких токарних робіт при масі деталі 5 кг, у тому числі:
Традиційне наочне компонування верстата у поєднанні з відпрацьованою кінематичною схемою дозволяє впевнено забезпечити токарну обробку з класом точності «Н» протягом тривалого терміну експлуатації.
У порівнянні з пропонованими на ринку малогабаритними верстатами - він простий в експлуатації, надійний та довговічний.
Верстат ТВ-9 відрізняється від токарних верстатів і ТВ-7М та ТВ-11 міжцентровою відстанню, РМЦ:

Фото токарно-гвинторізного верстата ТВ-9

Розташування складових частинин токарно-гвинторізного верстата ТВ-9

Розташування органів керування токарно-гвинторізним верстатом ТВ-9

Кінематична схема токарно-гвинторізного верстата ТВ-9
Схема кінематична токарно-гвинторізного верстата ТВ-9. Дивитись у збільшеному масштабі
Станина токарно-гвинторізного верстата ТВ-9 - лита, чавунна, коробчастої форми з вікнами. Має дві призматичні та дві плоскі напрямні.
Передня призматична та задня плоска напрямні служать для переміщення супорта, а задня призматична та передня плоска напрямні служать для переміщення задньої бабки.

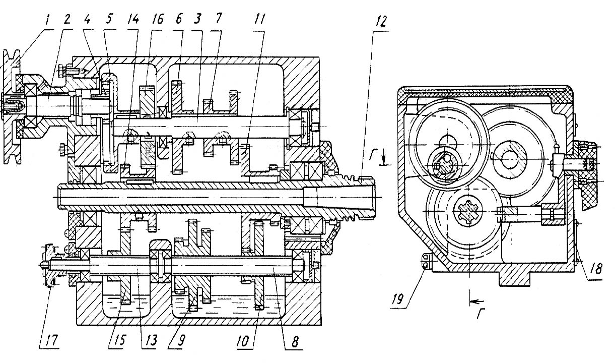
Механіка токарно-гвинторізного верстата ТВ-9

Передня бабка токарно-гвинторізного верстата ТВ-9
Передня бабка токарно-гвинторізного верстата ТВ-9. Дивитись у збільшеному масштабі
Передня бабка служить для закріплення або підтримки оброблюваної деталі та повідомлення їй обертального руху.
Передня бабка кріпиться на лівій частинині станини. У верстаті моделі ТВ-9 передня бабка є коробкою швидкостей, тому надалі буде застосовуватися цей термін.
Обертання на вхідний вал 2 коробки швидкостей передається від електродвигуна клинопасової передачею через шків 1.
З вхідного валу 2 на вал обертання 3 передається зубчастою парою з внутрішнім зачепленням 4 і 5.
На валу 3 нерухомо закріплені шестерня 6 блок-шестерня 7.
На валу 8 знаходяться блок-шестірні 9 і 10, які переміщуються шліцами валу за допомогою рукояток 1 і 2 (рис. 2). Рукоятка 1 має три фіксовані положення, які отримують поворотом вправо і вліво.
Рукоятка 2 має два положення.
Потрійна блокова шестерня 9 має можливість перебувати в зачепленні з шестернею 6 і блок-шестернею 7 і тим самим передавати обертання валу 8 (три різні швидкості).
Обертання з вала 8 на шпиндель 12 передається через блокові шестерні 10 і 11.
Таким чином, шпиндель має 6 ступенів швидкостей (див. табл. 5) від 60 до 975 об/хв.
Шпиндель передасть обертання оброблюваної деталі за допомогою трикулачкового патрона або планшайби з повідцем, які нагвинчуються на його різьбову частину. При обробці деталей у центрах, у шпиндель вставляється центр.
Рух подач супорта запозичується від шпинделя. Вал 13 отримує обертання через шестерні 14-15. З валу 13 рух передається шестірні гітарі - 17.
У передній бабці змонтовано пристрій, що дозволяє змінювати напрямок переміщення супорта - реверсувати подачу. Реверсування обертання проводиться переміщенням шестерні 15 у ліве та праве крайні положення рукояткою 3.
При крайньому лівому положенні шестерня 15 отримає пряме обертання безпосередньо від блоку шестерень 14, розташованого на шпинделі.
При правому крайньому положенні шестерня 15 отримає зворотне обертання через паразитну шестірню 16, яка знаходиться в постійному зачепленні з другим ступенем блоку шестерень 14.
На лицьовій стороні корпусу передньої бабки розташований масловказівник 18. На звороті є пробка 19 для зливу масла.

Гітара токарно-гвинторізного верстата ТВ-9
Гітара (рис. 5) служить для передачі обертання від шпинделя передньої бабки коробці подач.
У вузол гітарі входить кронштейн 6, запресовані в нього дві осі 5, на яких вільно обертаються шестерні.
Обертання з шестерні 1 сидить на вихідному валу передньої бабки, передається на змінну шестерню, а потім через шестерні 2-3-4 передається на вхідний вал коробки подач.

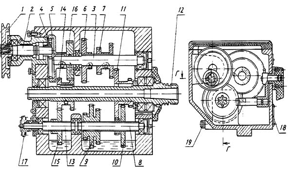
Коробка подач токарно-гвинторізного верстата ТВ-9
Коробка подач токарно-гвинторізного верстата ТВ-9. Дивитись у збільшеному масштабі
Рух от шпинделя передньої бабки верстата через передавальний механізм (гітару) передається валу 1 коробки подач (рис. 6).

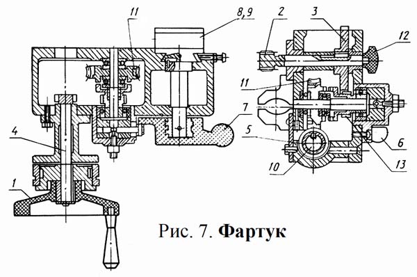
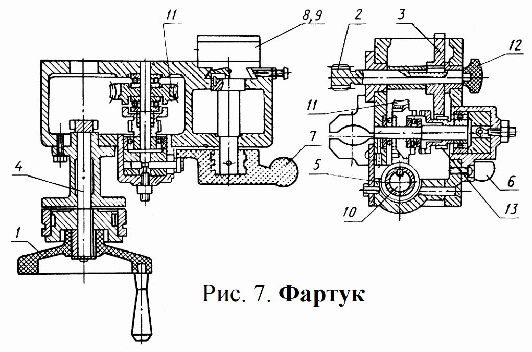
Фартук токарно-гвинторізного верстата ТВ-9
Фартук токарно-гвинторізного верстата ТВ-9. Дивитись у збільшеному масштабі
За допомогою фартуха (рис. 7) можна проводити механічну поздовжню подачу супорта від ходового валика та від ходового ггвинта, а також ручну поздовжню подачу.
Ручна подача здійснюється обертанням маховика 1, насадженого на вал-шестерню 4, що входить у зачеплення з шестернею 3, що сидить на валику рейкової шестерні 2.
Рейкова шестерня входить у зачеплення із зубчастою рейкою, жорстко прикріпленою до станини. Механічна подача від ходового валика 10 здійснюється хробаком 5, пов'язаним з валиком ковзною шпонкою. Черв'як приводить до обертання черв'ячну шестерню 11 і далі через кулачкову муфту і шестерні 13, 3 обертання передається на рейкову шестерню. Для включення механічної подачі треба ручку 6 повернути на себе, при цьому включається кулачкова муфта.

Суппорт токарно-гвинторізного верстата ТВ-9
Суппорт верстата токарно-гвинторізного верстата ТВ-9. Дивитись у збільшеному масштабі
Супорт (рис. 8) призначений для закріплення та переміщення різця. Супорт має чотири санки.
Салазка 1 переміщається в поздовжньому напрямку напрямними станини.
Санка 2 перемішується по поперечним напрямним санки 1 і служить для поперечного переміщення різця.
Салазка 4, що несе чотирипозиційну різцеву головку, має лише поздовжнє переміщення по направляючих санки 3, яка має можливість повертатися на 40° від середнього положення в ту чи іншу сторону.
Поперечне переміщення санки 2 по направляючих нижньої санки 1 проводиться гвинтом 6 і гайкою 5.
Гвинт 6 приводиться у обертання від руки рукояткою 12.
Зверху санка 2 має поглиблення, куди входить виступ поворотної частини верхнього супорта; для закріплення поворотної частини є 2 болти, головки яких входять у Т-подібний паз санки 2.
Верхню санку 4 супорта можна переміщати по направляючих вручну рукояткою 7, яка обертає гвинт 8. Напрямні станини, санок і клинів від тривалої роботи зношуються настільки, що між ними може з'явитися зазор.

Задня бабка токарно-гвинторізного верстата ТВ-9
Задня бабка верстата токарно-гвинторізного верстата ТВ-9. Дивитись у збільшеному масштабі
Задня бабка служить підтримки другого кінця оброблюваної деталі. Корпус 1 розташований на підставі 2, що переміщається направляючими станини верстата.
У корпусі поздовжньо перекидається піноль 3.
Піноль має конічний отвір (конус Морзе 2), в який вставляється наполегливий центр або інший інструмент; свердла, розгортки, свердлильний патрон і т. д. Переміщення пінолі проводиться маховичком 4, що обертає гвинт 5.

Знаки графічні для органів керування верстатом ТВ-9

Електрична схема токарно-гвинторізного верстата ТВ-9

Електрична схема верстата ТВ-9. Сучасний варіант
* Токарно-гвинторізний станок ТВ-11 заводом більше не випускається
| Найменування параметру | ТВ-7М | ТВ-9 | TV-11* |
|---|---|---|---|
| Основні параметри верстата | |||
| Класс точності | Н | Н | Н |
| Найбільший діаметр заготовки над станиною, мм | 220 | 220 | 240 |
| Найбільший діаметр заготовки над супортом, мм | 100 | 100 | 110 |
| Висота центрів над плоскими напрямними станини, мм | 120 | 120 | 130 |
| Найбільша довжина заготовки у центрах (РМЦ), мм | 275 | 525 | 750 |
| Найбільша довжина заготовки в патроні, мм | 250 | 500 | |
| Найбільша висота тримача різця, мм | 16 х 16 | 16 х 16 | 16 х 16 |
| Найбільша маса оброблюваної заготівлі, кг | 5 | 10 | |
| Шпиндель | |||
| Різьбовий кінець шпинделя, мм | М45 х 4,5 | М45 х 4,5 | М45 х 4,5 |
| Діаметр стандартного патрона, мм | 125 | 125 | 125 |
| Діаметр наскрізного отвору в шпинделі, мм | 18 | 18 | 18 |
| Конус Морзе шпинделя | №3 | №3 | №3 |
| Число ступенів частот прямого обертання шпинделя | 6 | 6 | б/с |
| Частота прямого обертання шпинделя, об/хв | 60, 105, 185, 315, 555, 975 | 60, 105, 185, 315, 555, 975 | 40..2000 |
| Число ступенів частот зворотного обертання шпинделя | 6 | 6 | б/с |
| Частота зворотного обертання шпинделя, об/хв | 60, 105, 185, 315, 555, 975 | 60, 105, 185, 315, 555, 975 | 40..2000 |
| Гальмування шпинделя | немає | немає | |
| Блокування рукояток | немає | немає | |
| Супорт. Подання | |||
| Найбільше поздовжнє переміщення супорта, мм | |||
| Переміщення супорта поздовжнє на один поділ лімба, мм | 0,25 | 0,25 | 0,25 |
| Найбільше поперечне переміщення супорта, мм | |||
| Переміщення супорта поперечне на один поділ лімба, мм | 0,025 | 0,025 | 0,025 |
| Найбільше переміщення верхніх (різцевих) санчат, мм | 85 | 85 | 85 |
| Переміщення різцевих санок на один поділ лімба, мм | 0,025 | 0,025 | 0,025 |
| Кут повороту різцевих санчат, град | ±40° | ±40° | ±40° |
| Число ступенів поздовжніх подач супорта | 6 | 6 | |
| Межі поздовжніх робочих подач супорту, мм/про | 0,1; 0,12; 0,16; 0,20; 0,24; 0,32 | 0,1; 0,12; 0,16; 0,20; 0,24; 0,32 | 0,04..0,31 |
| Межі робочих поперечних подач супорта, мм/про | немає | немає | немає |
| Кількість нарізних різьблень метричних | 6 | 6 | |
| Межі кроків різьб метричних, що нарізаються, мм | 0,1; 0,12; 0,16; 0,20; 0,24; 0,32 | 0,1; 0,12; 0,16; 0,20; 0,24; 0,32 | 0,8..2,5 |
| Задня бабка | |||
| Конус Морзе задньої бабки | №2 | №2 | №2 |
| Найбільше переміщення пінолі, мм | 65 | 65 | 65 |
| Електроустаткування | |||
| Електродвигун головного приводу, кВт | 0,75 | 1,1 / 380 | 1,1 / 380 |
| Габарити та маса верстата | |||
| Габарити верстата (довжина ширина висота), мм | 1120 х 640 х 680 | 1405 х 620 х 730 | 1600 х 650 х 690 |
| Маса верстата, кг | 220 | 230 | 245 |