Виробник токарно-гвинторізного верстата моделі ТВ-4 (ТВ4) – Ростовський завод малогабаритного верстатного обладнання МАГСО , заснований у 1956 році.
Завод МАГСО входить до Фінансово-промислової групи КомТех , яка на ринку верстатного обладнання існує вже кілька років і має пріоритет з випуску малогабаритних металорізальних верстатів токарних, фрезерних, вібраційних, заточувальних, свердлильних, якими комплектуються школи, профтехучилища, коледжі, інститути, ремонтно організації всіх регіонів Росії.
Іншим виробником верстата ТВ-4 був Дубненський ливарно-механічний завод "Жовтень" – м. Дубно Рівненської області в Україні.
Токарно-гвинторізний верстат ТВ-4 замінив у виробництві застарілі перші шкільні токарно-гвинторізні верстати ТВШ-2 та ТВШ-3 (ТВ-3) та випускався у 70-х роках минулого століття. Верстат ТВ-4 був замінений на більш досконалу модель ТВ-6
Токарний верстат ТВ-4 є навчальним універсальним токарно-гвинторізним верстатом і призначається для всіляких токарних робіт у майстернях шкіл для політехнічного навчання та холодної обробки металів різанням.
Навчальний токарно-гвинторізний верстат ТВ-4 , незважаючи на спрощену конструкцію, має всі вузли "дорослого" токарно-гвинторізного верстата: коробку швидкостей шпинделя, гітару, коробку подач, ходовий вал та ходовий гвинт, супорт з механічною подачею.
Верстат дозволяє проводити такі види токарних робіт:
Передній кінець шпинделя верстата ТВ-4 має різьблення М36х4 для встановлення проміжного фланця з патроном (див. статтю Токарні патрони ). Стандартний патрон для верстата ТВ-4 – Ø100 мм.
Шпиндель токарного верстата ТВ-4 отримує 6 ступенів обертання (120, 160, 230, 375, 500, 710 об/хв) від коробки швидкостей передньої бабці.
Коробка швидкостей за рахунок перемикання шестерень дозволяє знизити частоту обертання шпинделя, необхідну для різьблення мітчиками, а також для важких робіт, що вимагають підвищеного крутного моменту. Підвищена швидкість шпинделя використовується для чистових робіт.
Привід верстата здійснюється від асинхронного електродвигуна ~220 В. Через клинопасову передачу та одноступінчасті шківи рух передається на вхідний вал коробки швидкостей. Усередині коробки швидкостей рух через шестерні передається на шпиндель. Шпіндель, залежно від положення рукояток на передній бабці, обертається з однією з шести швидкостей. Напрямок обертання шпинделя визначається двигуном.
Від шпинделя рух передається на вихідний вал коробки швидкостей, потім на гітару і від неї на вхідний вал коробки подач.
Коробка подач забезпечує 3 швидкості подачі супорта і може нарізати 3 метричні різьблення без перестановки шестерень у гітарі.
На виході коробки є ходовий вал і ходовий гвинт, які обертаються поперемінно з однією з 3-х швидкостей.
Ходовий гвинт включається при нарізанні різьблення. Швидкість ходового ггвинта задається рукоятками на коробці подач і визначає одну з трьох метричних різьб (ходовий гвинт можна використовувати в режимі поздовжньої подачі, але не використовується, щоб не зношувати його). Напрямок обертання ходового ггвинта задається лівою рукояткою на передній бабці.
Ходовий вал дозволяє отримати одну з трьох поздовжніх подач супорта. Швидкість подачі визначається рукоятками на передній стінці коробки подач.
Ходовий гвинт і ходовий вал проходять крізь фартух супорта , який перетворює обертальний рух ходового ггвинта або ходового валика в поступовий поздовжній рух супорта. Поперечний механічний рух супорта у верстаті ТВ-4 не передбачено.
Мастило коробки швидкостей - розбригуванням шестернями олії з масляної ванни на дні передньої бабки. Змащення коробки подач - ґноти з лотка, який заповнюється маслом раз на зміну. Фартух, супорт, гітара, задня бабка та станина змащуються вручну раз на зміну.
Виробник - Завод "Навчальне обладнання №1" м. Ростов на Дону.
Основні параметри верстата - відповідно до ГОСТ 18097-93 . Верстати токарно-гвинторізні та токарні. Основні розміри. Норми точності.

Габаритні розміри робочого простору верстата ТВ-4

Фото токарно-гвинторізного верстата ТВ-4
Фото токарно-гвинторізного верстата ТВ-4. Дивитись у збільшеному масштабі

Фото токарно-гвинторізного верстата ТВ-4
Фото токарно-гвинторізного верстата ТВ-4. Дивитись у збільшеному масштабі

Фото токарно-гвинторізного верстата ТВ-4
Фото токарно-гвинторізного верстата ТВ-4. Дивитись у збільшеному масштабі

Фото токарно-гвинторізного верстата ТВ-4
Фото токарно-гвинторізного верстата ТВ-4. Дивитись у збільшеному масштабі

Фото токарно-гвинторізного верстата ТВ-4
Фото токарно-гвинторізного верстата ТВ-4. Дивитись у збільшеному масштабі

Фото токарно-гвинторізного верстата ТВ-4
Фото токарно-гвинторізного верстата ТВ-4. Дивитись у збільшеному масштабі

Фото токарно-гвинторізного верстата ТВ-4
Фото токарно-гвинторізного верстата ТВ-4. Дивитись у збільшеному масштабі

3-D модель токарно-гвинторізного верстата ТВ-4
3-D модель токарно-гвинторізного верстата ТВ-4. Завантажити у збільшеному масштабі

3-D модель токарно-гвинторізного верстата ТВ-4
3-D модель токарно-гвинторізного верстата ТВ-4. Завантажити у збільшеному масштабі

Розташування органів керування токарним верстатом тв-4
Розташування органів керування токарним верстатом ТВ-4. Дивитись у збільшеному масштабі

Таблички для ручок керування токарним верстатом тв-4
Таблички для ручок керування токарним верстатом ТВ-4. Дивитись у збільшеному масштабі
Пуск і зупинка електродвигуна верстата виконуються натисканням кнопок "пуск" і "стоп".
Залежно від характеру робіт на верстаті рукоятки та важелі управління повинні перебувати у певних положеннях (див. рис. 1).

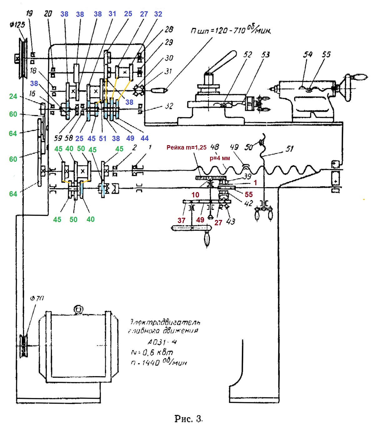
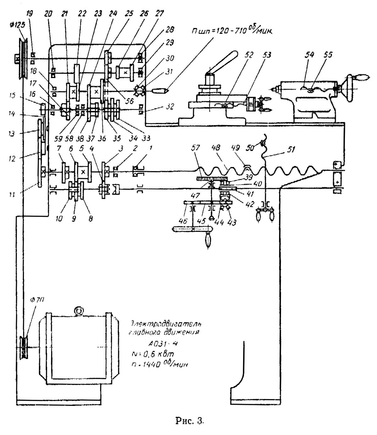
Кінематична схема токарно-гвинторізного верстата тв-4
1. Кінематична схема токарно-гвинторізного верстата ТВ-4. Дивитись у збільшеному масштабі
2. Кінематична схема токарно-гвинторізного верстата ТВ-4. Дивитись у збільшеному масштабі
3. Кінематична схема токарно-гвинторізного верстата ТВ-4. Дивитись у збільшеному масштабі

Специфікація підшибників токарного верстата тв-4
Специфікація підшибників токарно-гвинторізного верстата ТВ-4. Дивитись у збільшеному масштабі
Токарно-гвинторізний станок складається з наступних основних вузлів: передня тумба, задня тумба, станина, передня бабка, коробка подач, гітара, фартух, супорт, задня бабка, захисний кожух, корито, електрообладнання, захисний екран.
Передня тумба виконана П-подібною формою з ребрами жорсткості у верхній та нижній частининах.
Привідний електродвигун встановлений на задній стороні тумби, на передній реверсивна кнопка включення і вимикання електродвигуна.
Задня тумба виконана П-подібною формою з ребрами жорсткості у верхній та нижній частининах. У задній тумбі змонтовано щиток з електроустаткуванням верстата.
Станіна служить для підтримки, закріплення та взаємного з'єднання всіх вузлів верстата.
Станина верстата коробчастої форми з вікнами. Має дві призматичні напрямні.
Передня направляюча служить для пересування каретки, задня для переміщення задньої бабки.
На передній стороні станини встановлений ходовий гвинт і рейка
Станина установлена на две тумбы.

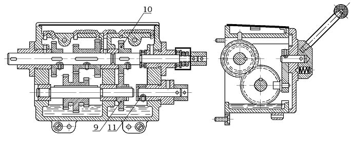
Креслення передньої бабки токарного верстата тв-4

Креслення передньої бабки токарного верстата тв-4

Фото передньої бабки токарно-гвинторізного верстата тв-4
Фото передньої бабки токарно-гвинторізного верстата тв-4. Дивитись у збільшеному масштабі

Фото передньої бабки токарно-гвинторізного верстата тв-4

Фото передньої бабки токарно-гвинторізного верстата тв-4

Фото передньої бабки верстата тв-4. Варіант із укороченим провідним валом
Передня бабка (рис. 2 і 3) кріпиться у лівій частинині станини. Установка коробки швидкостей по лінії центрів у горизонтальній площині здійснюється двома ггвинтами з гайками.
Рух коробки швидкостей передається від індивідуального електродвигуна через клинопасову передачу на шків. Передня бабка служить для підтримки оброблюваної деталі та повідомлення їй обертального руху. У верстаті типу ТВ-4 передня бабка є і коробкою швидкостей, тому надалі застосовуватматися цей термін.
Усередині коробки рух передається через вал 2 і шестерню 3, що сидить на валу нерухомо, на вал 4, на якому сидять нерухомі шестерня 12 блок-шестерня 5; шестерня 6 бере участь лише у роботі трензеля.
На валу 7 знаходяться блокові шестерні 8 і 11, які переміщуються на валу по шпонці за допомогою рукояток 1 і 2 (рис. 1). Рукоятка /має три положення, які отримують поворотом вправо і вліво. Рукоятка 2 має два положення.
Потрійна блокова шестерня 8 має можливість перебувати в постійному зачепленні з блоком 5 або шестернею 12 і тим самим передавати рух валу 7 і блокової шестерні 13, що знаходиться безпосередньо на шпинделі верстата 14.'
Шпиндель передає обертання оброблюваної деталі за допомогою трикулачкового патрона або планшайби з повідцем, які повертаються на його різьбову частинину. При обробці деталей у центрах у шпиндель вставляється центр.
У коробці швидкостей змонтовано пристрій, що дозволяє змінювати напрямок обертання ходового ггвинта і ходового валика, тобто змінювати напрямок переміщення супорта. Це здійснюється переміщенням шестерні 15 у ліве та праве крайнє положення рукояткою 3 (рис. 1).
При крайньому лівому положенні рукоятки шестерня 15 отримає пряме обертання безпосередньо від блоку шестерень 16, розташованого на шпинделі. При правому крайньому положенні рукоятки шестерня 15 отримає зворотне обертання за рахунок зачеплення з паразитної шестернею 6, яка у свою чергу отримує обертання від другого ступеня блоку шестерень 16.
Обертання валу 17 передається шестірні 18, яка знаходиться в постійному зачепленні з шестернями передавального механізму і далі механізмом коробки подач.
При середньому нейтральному положенні рукоятки і шестерні 15 обертання від шпинделя не передаватматися до коробки подач, тобто ні ходовий гвинт, ні ходовий валик не обертатимуться.
Шпиндель передньої бабки одержує від приймального шківа шість чисел оборотів. Таблиця із зазначенням чисел оборотів шпинделя за хвилину залежно від положення рукояток розміщується на верхній кришці коробки подач.
Передня шийка шпинделя обертається у двох упорно-радіальних підшипниках, а задня-в радіальному підшипнику. Для регулювання осьового натягу на шпинделі встановлено дві гайки. Для фіксації осьового переміщення валиків на передній кришці коробки швидкостей встановлені регулювальні гвинти 10. На передній стороні коробки швидкостей є покажчик рівня олії, на задній стінці - корок для зливу олії 22.
Шпиндель верстата ТВ-4 змонтований на 3-х підшипниках:
Це кульковий радіально-упорний однорядний підшипник. Який чудово справляється як зі значними радіальними, так і з осьовими односторонніми навантаженнями (до 150% від невикористаного допустимого радіального). Для жорсткої осьової фіксації (наприклад, у верстатах, що вимагають високої точності обробки), вала їх встановлюють попарно.
У нашій країні випуск їх здійснюється на Саратівському заводі «СПЗ» (3 ГПЗ) та Самарському СПЗ-4 (4 ГПЗ).
Якщо раніше широко застосовувалися підшипники цього типу високого ступеня точності, то тепер лише шостий, тому й виробляються лише дві модифікації – 6-46207Е5, 6-46207Л (поліамідний та латунний сепаратори).
Імпортні підшипники цього типу мають маркування 7207A. Сепаратор із латуні в номері відображається наявністю літери М, з поліаміду – літери D.
Розміри та характеристики підшипника 46207 (7207):

Схема підшипника 46207 токарного верстата ТВ-4

Передня опора шпинделя токарного верстата тв-4
Регулювання радіального зазору передніх підшибників та осьового зазору шпинделя здійснюється за допомогою гайки 1 та контргайки 2 (рис. 11).
Зробивши регулювання підшибників, необхідно перевірити шпиндель на радіальний віджимання. Для цього в конічний отвір шпинделя потрібно вставити оправлення з конічним хвостовиком та вільною довжиною 150 мм.
До центруючої поверхні шпинделя підвести гудзик індикатора і за вільний кінець оправки вручну віджати шпиндель.
При цьому відхилення стрілки індикатора має перевищувати 0,02 мм. Крім того, шпиндель повинен легко прокручуватися.

Гітара токарно-гвинторізного верстата ТВ-4
Передавальний механізм (рис. 4) служить передачі обертання від шпинделя коробки швидкостей до коробки подач. Механізм складається з кронштейна 1, на якому змонтовані шестерні 7, 4, 2. Передавальний механізм характеризується передавальним ставленням, і для верстата ТВ-4 воно становить:
i = 24/60 * 40/64 = 1/4
Для цього верстата таке передатне ставлення постійно, тому що змінні шестерні до верстата не додаються.

Креслення коробки подач токарно-гвинторізного верстата ТВ-4

Фото коробки подач токарно-гвинторізного верстата ТВ-4
Коробка подач (рис. 5) одержує рух від коробки швидкостей через шестерні передавального механізму. Механізм коробки подач дає можливість отримати метричне різьблення з кроком 0,8; 1,0; 1,25 мм і поздовжню подачу супорта в межах 0,08; 0,1; 0,12 мм на один оберт шпинделя.
Необхідні різьблення та подачі встановлюються шляхом повороту рукоятки 4 (рис. 1), розташованої на передній кришці коробки подач.
Увімкнення ходового ггвинта або ходового валика здійснюється поворотом рукоятки 5 (рис. 1).
У положенні, вказаному малюнку 5, здійснюється обертання ходового ггвинта. При переміщенні шестерні 9 вправо вона вийде із зачеплення з шестернею 10 і увійде в зачеплення з муфтою 11, яка передасть обертання на ходовий валик.
Таким чином, у конструкції коробки подач виключається можливість одночасного обертання ходового ггвинта та ходового валика.
Зміна напрямку обертання ходового ггвинта та ходового валика здійснюється поворотом рукоятки 3 (рис. 1).
Для змащування механізму коробки подач у верхній частинині є корито для заливки масла.
Олія на шестерні і поверхні, що труться, подається ґнотами.
При роботі необхідно стежити, щоб у кориті коробки подач постійно знаходилася невелика кількість олії.

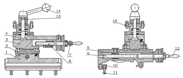
Креслення суппорта токарно-гвинторізного верстата ТВ-4
Супорт (рис. 8) призначений для закріплення та переміщення різця. Супорт має чотири санки.
Салазка 1 переміщається в поздовжньому напрямку напрямними станини.
Санка 2 перемішується по поперечним напрямним санки 1 і служить для поперечного переміщення різця.
Салазка 4, що несе чотирипозиційну різцеву головку, має лише поздовжнє переміщення по направляючих санки 3, яка має можливість повертатися на 40° від середнього положення в ту чи іншу сторону.
Поперечне переміщення санки 2 по направляючих нижньої санки 1 проводиться гвинтом 6 і гайкою 5.
Гвинт 6 приводиться у обертання від руки рукояткою 12.
Зверху санка 2 має поглиблення, куди входить виступ поворотної частинини верхнього супорта; для закріплення поворотної частинини є 2 болти, головки яких входять у Т-подібний паз санки 2.
Верхню санку 4 супорта можна переміщати по направляючих вручну рукояткою 7, яка обертає гвинт 8. Напрямні станини, санок і клинів від тривалої роботи зношуються настільки, що між ними може з'явитися зазор.

Креслення фартука токарно-гвинторізного верстата ТВ-4
За допомогою фартуха (рис. 7) можна проводити механічну поздовжню подачу супорта від ходового валика та від ходового ггвинта, а також ручну поздовжню подачу.
Ручна подача здійснюється обертанням маховика 1, насадженого на вал-шестерню 4, що входить у зачеплення з шестернею 3, що сидить на валику рейкової шестерні 2.
Рейкова шестерня входить у зачеплення із зубчастою рейкою, жорстко прикріпленою до станини. Механічна подача від ходового валика 10 здійснюється хробаком 5, пов'язаним з валиком ковзною шпонкою. Черв'як приводить до обертання черв'ячну шестерню 11 і далі через кулачкову муфту і шестерні 13, 3 обертання передається на рейкову шестерню. Для включення механічної подачі треба ручку 6 повернути на себе, при цьому включається кулачкова муфта.

Фартук токарно-гвинторізного верстата ТВ-4
Фартук токарно-гвинторізного верстата ТВ-4. Дивитись у збільшеному масштабі

Креслення задньої бабки токарно-гвинторізного верстата ТВ-4
Задня бабка служить підтримки другого кінця оброблюваної деталі. Корпус 1 розташований на підставі 2, що переміщається направляючими станини верстата.
У корпусі поздовжньо перекидається піноль 3.
Піноль має конічний отвір (конус Морзе 2), в який вставляється наполегливий центр або інший інструмент; свердла, розгортки, свердлильний патрон і т. д. Переміщення пінолі проводиться маховичком 4, що обертає гвинт 5.

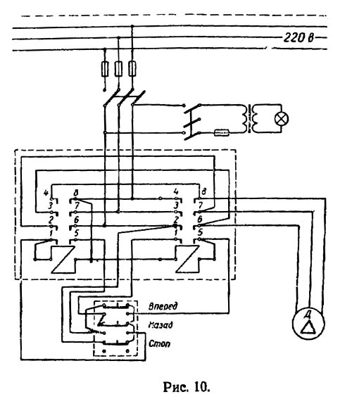
Електрична схема токарно-гвинторізного верстата ТВ4
До електроустаткування верстата відносяться: трифазний короткозамкнутий асинхронний електродвигун потужністю 1,0 кВт; магнітний пускач з кнопковою станцією та електрощит, на якому змонтовано перемикачі місцевого освітлення та загального включення верстата; трансформатор місцевого освітлення та плавкі вставки.
Щиток електроустаткування та магнітний пускач встановлені у правій тумбі верстата, електродвигун та кнопкова станція — у лівій тумбі.
Обзор токарного верстата ТВ-4
На що звернути увагу при покупці токарного верстату ТВ-4
| Найменування параметру | ТВ-4 | ТВ-6 | ТВ-7 |
|---|---|---|---|
| Основні параметри верстата | |||
| Класс точності | Н | Н | Н |
| Найбільший діаметр заготовки над станиною, мм | 200 | 200 | 220 |
| Найбільший діаметр заготовки над супортом, мм | 125 | 80 | 100 |
| Висота центрів над плоскими напрямними станини, мм | 108 | 108 | 120 |
| Найбільша довжина заготовки у центрах (РМЦ), мм | 350 | 350 | 330 |
| Найбільша довжина заготовки в патроні, мм | 310 | ||
| Найбільша довжина обточування, мм | 300 | 300 | 300 |
| Найбільша висота тримача різця, мм | 10 х 12 | 12 х 12 | 16 х 16 |
| Висота від опорної поверхні різця до лінії центрів, мм | 12 | 12 | |
| Найбільша відстань від осі центрів до кромки різцетримача, мм | 78 | 78 | |
| Шпиндель | |||
| Різьбовий кінець шпинделя, мм | М36 х 4 | М36 х 4 | М45 х 4 |
| Діаметр стандартного патрона, мм | 100 | 100 | 125 |
| Діаметр наскрізного отвору в шпинделі, мм | 16 | 18 | |
| Найбільший діаметр прутка, мм | 15 | 12 | |
| Конус Морзе шпинделя | №2 | №3 | №3 |
| Число ступенів частот прямого обертання шпинделя | 6 | 6 | 8 |
| Частота прямого обертання шпинделя, об/хв | 120, 160, 230, 375, 500, 710 | 130, 170, 235, 385, 510, 700 | 60…1000 |
| Число ступенів частот зворотного обертання шпинделя | 6 | 6 | 8 |
| Частота зворотного обертання шпинделя, об/хв | 120, 160, 230, 375, 500, 710 | 130, 170, 235, 385, 510, 700 | 60…1000 |
| Гальмування шпинделя | ні | ні | ні |
| Блокування рукояток | ні | ні | ні |
| Супорт. Подання | |||
| Найбільше поздовжнє переміщення супорта, мм | 300 | 300 | 260 |
| Переміщення супорта поздовжнє на один поділ лімба, мм | 0,5 | 0,25 | 0,25 |
| Найбільше поперечне переміщення супорта, мм | 100 | 100 | |
| Переміщення супорта поперечне на один поділ лімба, мм | 0,025 | 0,025 | 0,025 |
| Найбільше переміщення різцевих санчат, мм | 50 | 85 | 85 |
| Переміщення різцевих санок на один поділ лімба, мм | 0,025 | 0,025 | 0,025 |
| Кут повороту різцевих санчат, град | ±45° | ±45° | ±40° |
| Число ступенів поздовжніх подач супорта | 3 | 3 | 8 |
| Межі поздовжніх робочих подач супорту, мм/про | 0,08; 0,1; 0,12 | 0,08; 0,1; 0,12 | 0,1; 0,12; 0,15; 0,16; 0,18; 0,20; 0,24; 0,32 |
| Межі робочих поперечних подач супорта, мм/про | ні | ні | ні |
| Кількість нарізних різьблень метричних | 3 | 3 | 6 |
| Межі кроків різьб метричних, що нарізаються, мм | 0,8; 1,0; 1,25 | 0,8; 1,0; 1,25 | 0,8; 1,0; 1,25; 1,5; 2,0; 2,5 |
| Межі кроків різьблення дюймових | ні | ні | ні |
| Межі кроків різьблення модульних | ні | ні | ні |
| Межі кроків різьблення питних | ні | ні | ні |
| Задня бабка | |||
| Конус Морзе задньої бабки | №2 | №2 | №2 |
| Найбільше переміщення пінолі, мм | 65 | 65 | 65 |
| Електроустаткування | |||
| Електродвигун головного приводу, кВт | 1,0 | 1,1 | 1,1 |
| Габарити та маса верстата | |||
| Габарити верстата (довжина ширина висота), мм | 1440 х 470 х 1020 | 1100 х 470 х 110 | 1050 х 535 х 1200 |
| Маса верстата, кг | 280 | 300 | 400 |