Виробник токарно-гвинторізного верстата моделі ТВ-6 – Ростовський завод малогабаритного верстатного обладнання МАГСО , заснований у 1956 році.
Завод МАГСО входить до Фінансово-промислової групи КомТех , яка на ринку верстатного обладнання існує вже кілька років і має пріоритет з випуску малогабаритних металорізальних верстатів токарних, фрезерних, вібраційних, заточувальних, свердлильних, якими комплектуються школи, профтехучилища, коледжі, інститути, ремонтно організації всіх регіонів Росії.
Шкільний токарно-гвинторізний верстат ТВ-6 замінив модель ТВ-4 та був замінений на більш досконалу модель ТВ-6М .
Верстат ТВ-6 є навчальним універсальним токарно-гвинторізним верстатом і призначається для всіляких токарних робіт у майстернях шкіл для політехнічного навчання та холодної обробки металів різанням.
Навчальний токарно-гвинторізний верстат ТВ-6 , незважаючи на спрощену конструкцію, має всі вузли "дорослого" токарно-гвинторізного верстата: коробку швидкостей, гітару, коробку подач, ходовий вал та ходовий гвинт, супорт з механічною подачею.
Верстат ТВ-6 має 6 швидкостей шпинделя за рахунок перемикання шестерень у коробці передньої бабки, 3 швидкості подач супорта , може нарізати 3 метричні різьблення без перестановки шестерень у гітарі.
Кінець шпинделя верстата ТВ-6 має різьблення М36х4, тому для установки токарного або повідкового патрона на шпиндель необхідний проміжний фланець (його називають також план-шайба) (див. статтю Токарні патрони ). Стандартний патрон для верстата ТВ-6 – Ø100 мм.
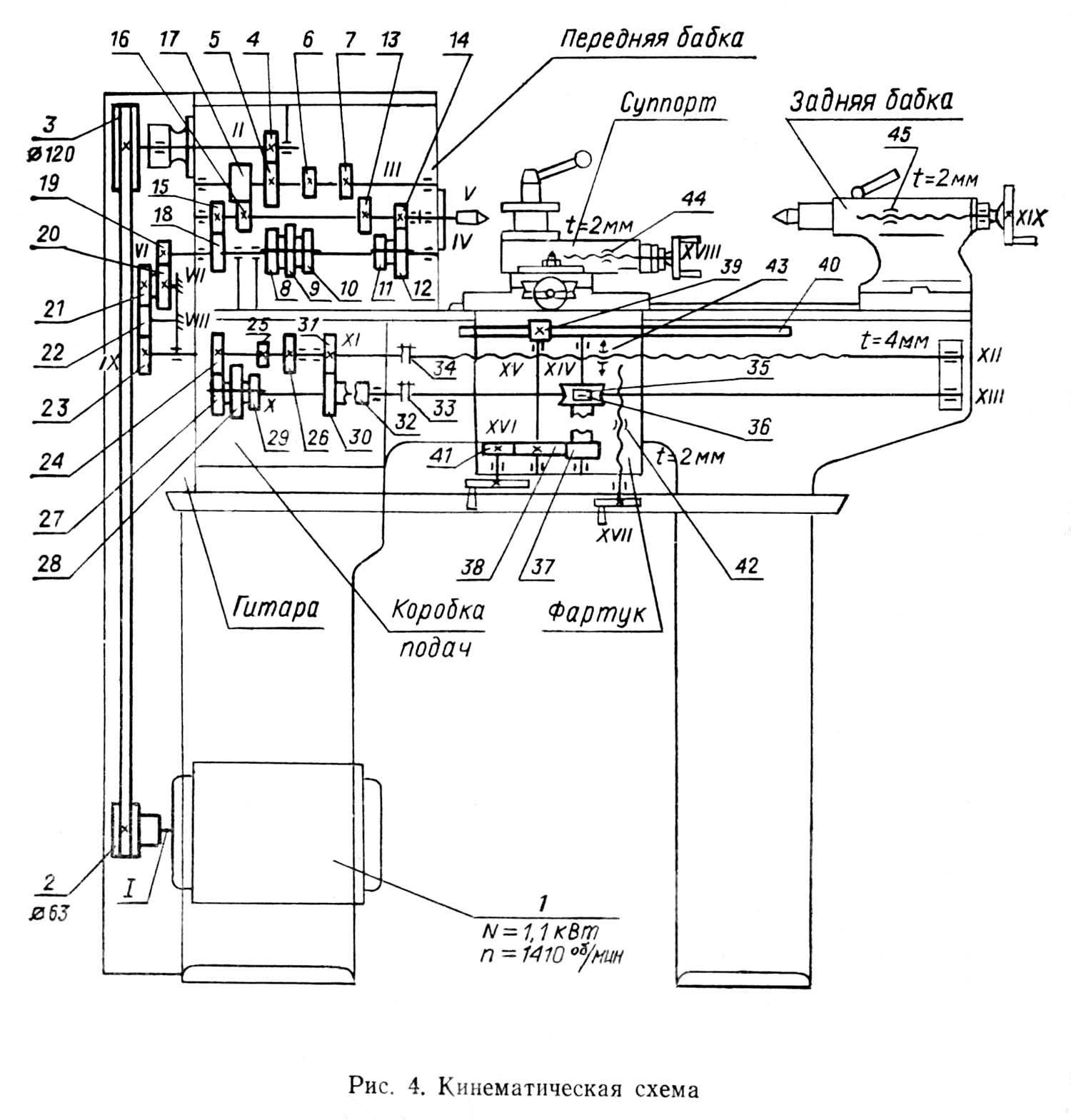
Привід верстата ТВ-6 здійснюється від асинхронного електродвигуна ~380В. Через клинопасову передачу і одноступінчасті шківи рух передається на вхідний вал коробки швидкостей. Усередині коробки швидкостей рух через шестерні передається на шпиндель. Шпіндель, залежно від положення рукояток на передній бабці, обертається з однією з шести швидкостей. Напрямок обертання шпинделя визначається двигуном.
Від шпинделя через шестерні рух передається на вихідний вал коробки швидкостей, потім гітару, і від неї вхідний вал коробки подач.
На виході коробки є ходовий вал і ходовий гвинт, які обертаються поперемінно з однією з 3-х швидкостей. Ходовий гвинт включається при нарізанні різьблення. Швидкість та напрямок обертання ходового ггвинта задається рукоятками на коробці подач і визначає одну з 3-х метричних різьб (ходовий гвинт можна використовувати в режимі поздовжньої подачі, але не використовується, щоб не зношувати його), ходовий вал дає можливість отримати одну з 3-х поздовжніх подач супорта. Швидкість подачі та напрямок задається рукоятками на передній стінці коробки подач.
Ходовий гвинт та ходовий вал проходять крізь фартух супорта, який перетворює обертальний рух ходового ггвинта або ходового валика в поступальний поздовжній рух супорта. Поперечний механічний рух супорта у верстаті ТВ-6 не передбачено.
Мастило коробки швидкостей - розбригуванням шестернями олії з масляної ванни на дні передньої бабки. Змащення коробки подач - ґноти з лотка, який заповнюється маслом раз на зміну. Фартух, супорт, гітара, задня бабка та станина змащуються вручну раз на зміну.
Верстат дозволяє проводити такі види токарних робіт:

Габаритні розміри робочого простору верстата ТВ-6

Фото токарно-гвинторізного верстата ТВ-6

Фото токарно-гвинторізного верстата ТВ-6

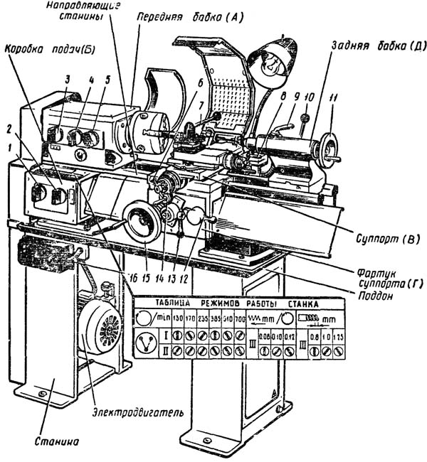
Розташування складових частинин токарно-гвинторізного верстата ТВ6

Розташування органів керування токарно-гвинторізним верстатом ТВ-6
Розташування органів керування токарно-гвинторізним верстатом ТВ-6. Дивитись у збільшеному масштабі

Таблиця органів керування токарно-гвинторізним верстатом тв-6
Таблиця органів керування токарно-гвинторізним верстатом тв-6. Дивитись у збільшеному масштабі

Таблиця символів токарно-гвинторізного верстата тв-6
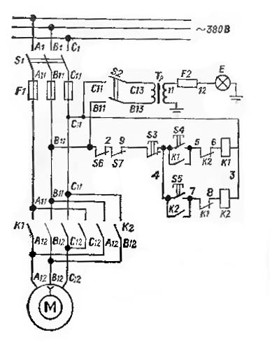
Пуск і зупинка електродвигуна верстата здійснюється натисканням кнопок «Пуск» та «Стоп».
Залежно від характеру робіт на верстаті рукоятки та важелі управління повинні перебувати у певних положеннях (див. рис. 3).

Механізми токарно-гвинторізного верстата ТВ-6
Механізми токарно-гвинторізного верстата ТВ-6. Дивитись у збільшеному масштабі

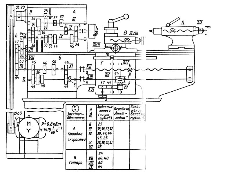
Кінематична схема токарно-гвинторізного верстата ТВ-6
1. Схема кінематична токарно-гвинторізного верстата ТВ-6. Дивитись у збільшеному масштабі
2. Схема кінематична токарно-гвинторізного верстата ТВ-6. Дивитись у збільшеному масштабі

Список підшибників токарно-гвинторізного верстата ТВ-6
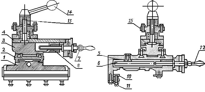
Токарно-гвинторізний станок складається з наступних основних вузлів: передня тумба, задня тумба, станина, передня бабка, коробка подач, гітара, фартух, супорт, задня бабка, захисний кожух, корито, електрообладнання, захисний екран.
Передня тумба виконана П-подібною формою з ребрами жорсткості у верхній та нижній частининах.
Привідний електродвигун встановлений на задній стороні тумби, на передній – реверсивна кнопка вмикання та вимикання електродвигуна.
Задня тумба виконана П-подібною формою з ребрами жорсткості у верхній та нижній частининах. У задній тумбі змонтовано щиток з електроустаткуванням верстата.
Станина служить для підтримки, закріплення та взаємної сполуки всіх вузлів верстата.
Станина верстата коробчастої форми з вікнами. Має дві призматичні напрямні.
Передня напрямна служить для пересування каретки, задня – для переміщення задньої бабки.
На передній стороні станини встановлений ходовий гвинт і рейка
Станина установлена на две тумбы.

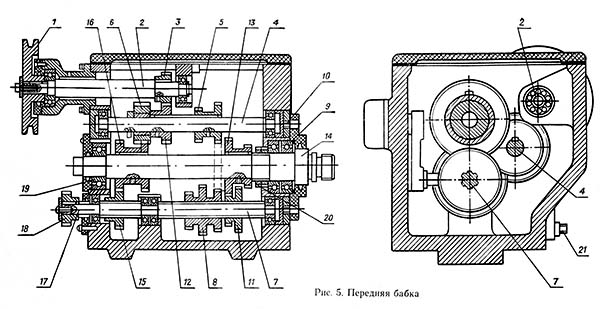
Фото передньої бабки токарно-гвинторізного верстата ТВ-6

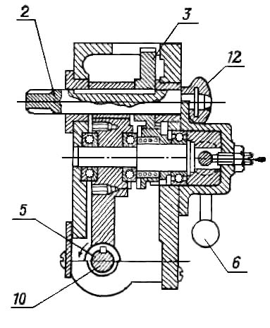
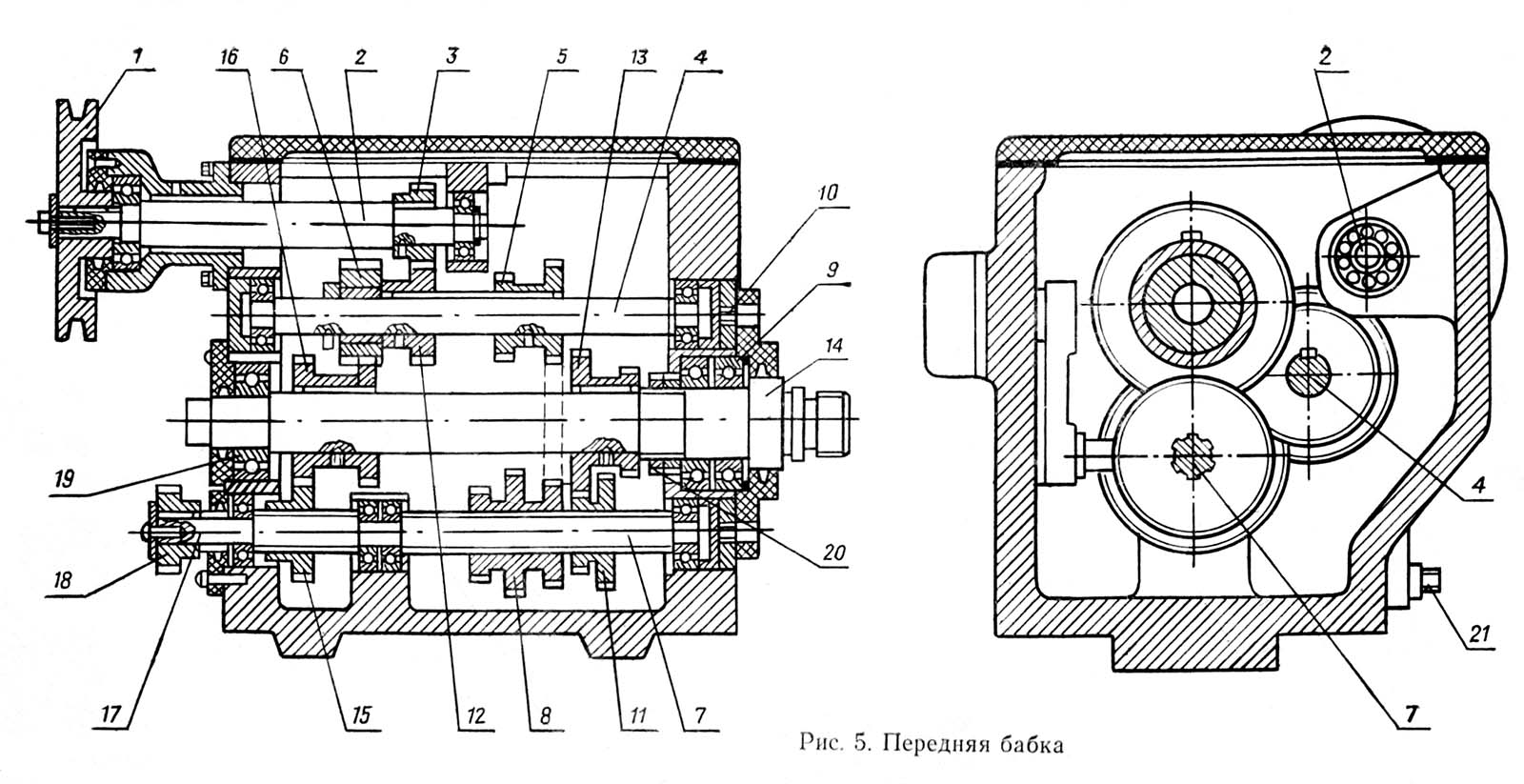
Креслення передньої бабки (коробки швидкостей) токарно-гвинторізного верстата ТВ-6
Креслення передньої бабки токарно-гвинторізного верстата ТВ-6. Дивитись у збільшеному масштабі
Передня бабка (рис. 5) кріпиться у лівій частинині верстата. Установка передньої бабки по лінії центрів у горизонтальній площині здійснюється двома ггвинтами. Рух передається від електродвигуна через клинопасову передачу на провідний вал передньої бабки. Передня бабка служить для підтримки оброблюваної деталі та повідомлення їй обертального руху.
У верстаті моделі ТВ-6 передня бабка є і коробкою швидкостей, тому надалі застосовуватматися цей термін.
Усередині коробки швидкостей рух передається через вал 2 і шестерню 3, що сидить на валу нерухомо, на вал 4, на якому сидять нерухомі шестерні 12 блок-шестерня 5; шестерня 6 бере участь тільки у роботі реверсу подач.
На валу 7 знаходяться блокові шестерні 8 і 11, які переміщуються шліцами за допомогою рукояток 1 і 2 (рис. 3). Рукоятка 1 має три фіксовані положення, які отримують поворотом вправо і вліво. Рукоятка 2 має два положення.
Потрійна блочна шестерня має можливість перебувати в зачепленні з блоком 5 або шестернею 12 і тим самим передавати рух валу 7 і блокової шестерні 13, що знаходиться безпосередньо на шпинделі верстата 14.
Шпиндель передає обертання оброблюваної деталі за допомогою трикулачкового патрона або планшайби з повідцем, які накручуються на його різьбову частинину. При обробці деталей у центрах у шпиндель вставляється центр.
У коробці швидкостей змонтовано пристрій, що дозволяє змінювати напрямок обертання ходового ггвинта і ходового валика, тобто змінювати напрямок переміщення супорта. Це здійснюється переміщенням шестерні 15 у ліве та праве крайнє положення рукояткою 3 (рис. 3).
При крайньому лівому положенні шестерня 15 отримає пряме обертання безпосередньо від блоку шестерень 16, розташованого на шпинделі. При правому крайньому положенні шестерня 15 отримає зворотне обертання за рахунок зачеплення з паразитної шестернею 6, яка у свою чергу отримає обертання від другого ступеня блоку шестерень 16.
Обертання валу 17 передається шестерні 18, яка знаходиться в постійному зачепленні з шестернями передавального механізму і далі з механізмом коробки подач.
При середньому, нейтральному положенні рукоятки 3 і шестерні 15 обертання від шпинделя не буде передаватися до коробки подач, тобто ні ходовий гвинт, ні ходовий валик не обертатимуться.
Шпиндель передньої бабки має шість щаблів швидкостей (див. табл.5).

Передня опора шпинделя токарно-гвинторізного верстата ТВ-6
Шпиндель верстата ТВ-6 змонтований на трьох підшипниках:
Передня шийка шпинделя спирається на два радіально-упорні підшипники, а задня на радіальний підшипник.
1. Усунення радиального і осьового зазору підшибників передньої опори шпинделя осуществляется гайкой 1 і контргайкой 2 (рис. 15).
Зазор у підшипниках передньої опори шпинделя усувається шліфуванням торців компенсаційного кільця 3.
При появі в процесі роботи верстата вібрацій шпинделя необхідно перевірити затягування гайок 1 і 2. Якщо затяжкою гайок вібрація шпинделя не усувається, це говорить про те, що підшипники передньої опори шпинделя зносилися і станок вимагає ремонту.
2. Для продовження терміну служби клинопасової передачі та більш повного використання електродвигуна за потужністю необхідно стежити за натягом ременя та своєчасно підтягувати його.
Для натягу ременя відпустити гайки 1 болтів, що кріплять електродвигун до санок, створити необхідний натяг (10 кг на одну гілок ременя у спокої) (рис. 16). Після цього гайки 1 затягнути.
Підшипник 46207 - це кульковий радіально-упорний однорядний підшипник. Прекрасно справляється як із значними радіальними, так і з осьовими односторонніми навантаженнями (до 150% від невикористаного допустимого радіального). Для жорсткої осьової фіксації (наприклад, у верстатах, що вимагають високої точності обробки), вала їх встановлюють попарно.
У нашій країні випуск їх здійснюється на Саратівському заводі «СПЗ» (3 ГПЗ) та Самарському СПЗ-4 (4 ГПЗ). Якщо раніше широко застосовувалися підшипники цього типу високого ступеня точності, то тепер лише шостий, тому й виробляються лише дві модифікації – 6-46207Е5, 6-46207Л (поліамідний та латунний сепаратори).
Імпортні підшипники цього типу мають маркування 7207A. Сепаратор із латуні в номері відображається наявністю літери М, з поліаміду – літери D.

Схема підшипника 46207 (7207A) токарного верстата ТВ-6

Передавальний механізм (гітара) токарного верстата ТВ-6
Передавальний механізм служить передачі обертання від шпинделя коробки швидкостей до коробки подач. Механізм складається з кронштейна, на якому змонтовано шестірні. Передавальний механізм характеризується передатним ставленням, і для верстата ТВ-6 воно складає:
i = 24/60 * 40/64 = 1/4
Для цього верстата таке передатне ставлення постійно, тому що змінні шестерні до верстата не додаються.

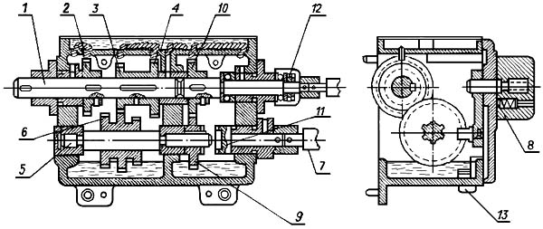
Коробка подач токарного верстата ТВ-6
Коробка подач одержує рух від коробки швидкостей через шестерні передавального механізму (гітару).
Механізм коробки подач дає можливість отримати метричне різьблення з кроком 0,8; 1,0; 1,25, а при встановленні змінних шестерень гітарі – 1,5; 2,0 і поздовжню подачу супорта в межах 0,08; 0,1; 0,12мм. на один оборот шпинделя.
Необхідні різьблення у подачі встановлюються шляхом повороту рукоятки, розташованої на передній кришці коробки подач. Включення ходового валика здійснюється поворотом ручки 5 (рис.1). У положенні, вказаному на рис.5, здійснюється обертання ходового ггвинта. При переміщенні шестерні 9 вправо вона вийде із зачеплення з шестернею 10 і увійде в зачеплення з муфтою 11, яка передає обертання на ходовий валик.
Таким чином, у конструкції коробки подач виключається можливість одночасного обертання ходового ггвинта та ходового валика.
Зміна напрямку обертання ходового валика здійснюється поворотом рукоятки.
Для змащування механізму коробки подач у верхній частинині є корито для заливки масла. Олія на шестерні і поверхні, що труться, подається ґнотами.
У роботі ходовий гвинт не повинен мати осьового переміщення.
Для вибірки люфта потрібно підтягнути дві круглі гайки.

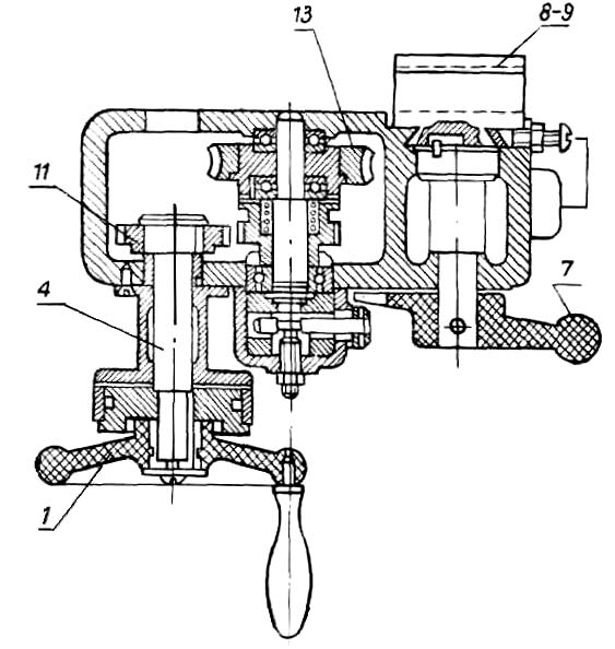
Фартук токарно-гвинторізного верстата ТВ-6

Фартук токарно-гвинторізного верстата ТВ-6
За допомогою фартуха можна проводити механічну поздовжню подачу супорта від ходового валика та від ходового ггвинта, а також ручну поздовжню подачу.
Ручна подача здійснюється обертанням маховика 1, насадженого на вал-шестерню 4, що входить у зачеплення з шестернею 3, що сидить на валику рейкової шестерні 2.
Остання входить у зачеплення із зубчастою рейкою, жорстко прикріпленою до станини. Механічна подача від ходового валика 10 здійснюється хробаком 5, пов'язаним з валиком ковзною шпонкою. Черв'як приводить у обертання черв'ячну шестерню 11 і далі через кулачкову муфту і шестерні 13, 3 обертання передасться на рейкову шестерню. Для включення механічної подачі треба ручку 6 повернути на себе, при цьому включається кулачкова муфта.
Механічна подача від ходового ггвинта здійснюється поворотом донизу рукоятки 7, що з'єднує гайку роз'ємну 8-9 з ходовим гвинтом.
Рейкову шестерню 2 при нарізанні різьблення треба обов'язково виводити з зачеплення з рейкою рухом рукоятки 12 на себе.
При механічній подачі від ходового валика і при ручній подачі супорта за допомогою маховичка 1 рейкову шестерню обов'язково вводять в зачеплення з зубчастою рейкою рухом рукоятки 12 від себе.
У конструкції фартуха передбачено блокування, яке не дозволяє одночасно включати механічну подачу від ходового валика та маточну гайку.

Суппорт токарно-гвинторізного верстата ТВ-6
Супорт призначений для закріплення та переміщення різця, він має чотири санки.
Салазка 1 переміщається в поздовжньому напрямку напрямними станини.
Салазка 2 переміщається поперечним напрямним санки 1 і служить для поперечного переміщення різця.
Салазка 4, що несе чотирипозиційну різцеву головку, має лише поздовжнє переміщення по направляючих санки 3, яка має можливість повертатися на 40° від середнього положення в ту чи іншу сторону.
Поперечне переміщення санки 2 по направляючих нижньої санки 1 проводиться гвинтом 6 і гайкою 5.
Гвинт 6 приводиться у обертання від руки рукояткою 12.
Зверху санка 2 має поглиблення, куди входить виступ новоротної частинини верхнього супорта; для закріплення поворотної частинини є 2 болти, головки яких входять у Т-подібний паз санки 2.
Верхню санку 4 супорта можна переміщати по направляючих вручну, рукояткою 7, яка обертає гвинт 8. Напрямні станини, санок і клинів від тривалої роботи зношуються настільки, що між ними може з'явитися зазор.
В результаті різець вібруватиме, і знизиться точність роботи верстата. Для усунення вібрації потрібно відрегулювати притискні планки 10 санки 1 ггвинтами 11.
Регулювання клинів проводиться ггвинтами, розташованими в торцях санки 2 і санки 4 супорта.
Різцетримач закріплюється на санці 4 болтом 13 і рукояткою 14. При відвертанні рукоятки різцетримач віджимається вгору від верхньої санки.
Для фіксації положення різцетримача на санку 4 є опорний штифт.
У різцетримачі можна закріплювати одночасно до чотирьох різців. Різці кріпляться болтами 15.

Задня бабка токарно-гвинторізного верстата ТВ-6
Задня бабка служить підтримки другого кінця оброблюваної деталі. Корпус бабки 1 розташований на підставі 2, що переміщається направляючими станини верстата.
У корпусі поздовжньо переміщається піноль 3.
Піноль має конічний отвір (конус Морзе 2), в який вставляється наполегливий центр або інший інструмент; свердла, розгортки, свердлильний патрон і т. д. Переміщення пінолі проводиться маховичком 4, що обертає гвинт 5.
Для зручності обертання на маховику закріплено ручку 6.
Щоб піноль при обертанні маховичка не поверталася, вона має шпоночну канавку, в яку входить гвинт-шпонка 7. Рукоятка 8 служить для затискання пінолі в корпусі бабки. Осі шпинделя та пінолі задньої бабки повинні збігатися.

Електрична схема токарно-гвинторізного верстата ТВ-6
| Найменування параметру | ТВ-4 | ТВ-6 | ТВ-7 |
|---|---|---|---|
| Основні параметри верстата | |||
| Класс точності | Н | Н | Н |
| Найбільший діаметр заготовки над станиною, мм | 200 | 200 | 220 |
| Найбільший діаметр заготовки над супортом, мм | 125 | 80 | 100 |
| Висота центрів над плоскими напрямними станини, мм | 108 | 108 | 120 |
| Найбільша довжина заготовки у центрах (РМЦ), мм | 350 | 350 | 330 |
| Найбільша довжина заготовки в патроні, мм | 310 | ||
| Найбільша довжина обточування, мм | 300 | 300 | 300 |
| Найбільша висота тримача різця, мм | 10 х 12 | 12 х 12 | 16 х 16 |
| Висота від опорної поверхні різця до лінії центрів, мм | 12 | 12 | |
| Найбільша відстань від осі центрів до кромки різцетримача, мм | 78 | 78 | |
| Шпиндель | |||
| Різьбовий кінець шпинделя, мм | М36 х 4 | М36 х 4 | М45 х 4 |
| Діаметр стандартного патрона, мм | 100 | 100 | 125 |
| Діаметр наскрізного отвору в шпинделі, мм | 16 | 18 | |
| Найбільший діаметр прутка, мм | 15 | 12 | |
| Конус Морзе шпинделя | №2 | №3 | №3 |
| Число ступенів частот прямого обертання шпинделя | 6 | 6 | 8 |
| Частота прямого обертання шпинделя, об/хв | 120, 160, 230, 375, 500, 710 | 130, 170, 235, 385, 510, 700 | 60..1000 |
| Число ступенів частот зворотного обертання шпинделя | 6 | 6 | 8 |
| Частота зворотного обертання шпинделя, об/хв | 120, 160, 230, 375, 500, 710 | 130, 170, 235, 385, 510, 700 | 60..1000 |
| Гальмування шпинделя | немає | немає | немає |
| Блокування рукояток | немає | немає | немає |
| Супорт. Подання | |||
| Найбільше поздовжнє переміщення супорта, мм | 300 | 300 | 260 |
| Переміщення супорта поздовжнє на один поділ лімба, мм | 0,5 | 0,25 | 0,25 |
| Найбільше поперечне переміщення супорта, мм | 100 | 100 | |
| Переміщення супорта поперечне на один поділ лімба, мм | 0,025 | 0,025 | 0,025 |
| Найбільше переміщення різцевих санчат, мм | 50 | 85 | 85 |
| Переміщення різцевих санок на один поділ лімба, мм | 0,025 | 0,025 | 0,025 |
| Кут повороту різцевих санчат, град | ±45° | ±40° | ±40° |
| Число ступенів поздовжніх подач супорта | 3 | 3 | 8 |
| Межі поздовжніх робочих подач супорту, мм/про | 0,08; 0,1; 0,12 | 0,08; 0,1; 0,12 | 0,1; 0,12; 0,15; 0,16; 0,18; 0,20; 0,24; 0,32 |
| Межі робочих поперечних подач супорта, мм/про | немає | немає | немає |
| Кількість нарізних різьблень метричних | 3 | 3 | 6 |
| Межі кроків різьб метричних, що нарізаються, мм | 0,8; 1,0; 1,25 | 0,8; 1,0; 1,25 | 0,8; 1,0; 1,25; 1,5; 2,0; 2,5 |
| Межі кроків різьблення дюймових | немає | немає | немає |
| Межі кроків різьблення модульних | немає | немає | немає |
| Межі кроків різьблення питних | немає | немає | немає |
| Задня бабка | |||
| Конус Морзе задньої бабки | №2 | №2 | №2 |
| Найбільше переміщення пінолі, мм | 65 | 65 | 65 |
| Електроустаткування | |||
| Електродвигун головного приводу, кВт | 1,0 | 1,1 | 1,1 |
| Габарити та маса верстата | |||
| Габарити верстата (довжина ширина висота), мм | 1440 х 470 х 1020 | 1100 х 470 х 110 | 1050 х 535 х 1200 |
| Маса верстата, кг | 280 | 300 | 400 |