Фрезерний горизонтальний настільний верстат моделі НГФ-110 випускається підприємством Ростовський завод малогабаритного верстатного обладнання МАГСО, КомТех-Плюс , заснований у 1956 році.
Завод МАГСО входить до Фінансово-промислової групи КомТех , яка на ринку верстатного обладнання існує вже кілька років і має пріоритет з випуску малогабаритних металорізальних верстатів токарних, фрезерних, вібраційних, заточувальних, свердлильних, якими комплектуються школи, профтехучилища, коледжі, інститути, ремонтно організації всіх регіонів Росії.
Фрезерний верстат НГФ-110Ш4 випускається за ТУ-79 РРФСР 441-79 та замінив застарілу модель фрезерного верстата НГФ-110Ш3, який випускався за ТУ-79 РРФСР 355-72.
Горизонтальний консольно-фрезерний верстат НГФ-110 настільного типу призначений для виконання фрезерних операцій з обробки горизонтальних площин, пазів та інших поверхонь. Установка вертикально-фрезерної головки ПФГ дозволяє додатково проводити обробку вертикальних площин, а також площин під певним кутом. Обробка площин проводиться дисковими, торцевими, кінцевими, кутовими та фасонними фрезами.
Настільний горизонтально-фрезерний верстат моделі НГФ-110Ш4 є спеціальним шкільним обладнанням та призначений для виробничого навчання у середній школі для обладнання шкільних навчальних майстерень.
НГФ-110ш1, НГФ-110ш2 виробник: Завод №5 ім. Дзержинського , місто Щелково Московської області, селище імені Свердлова.
НГФ-110ш2 виробник: Сапожківський механічний завод № 7 , місто Сапожок Рязанської області.
НГФ-110ш3 0,6 кВт, розмір столу 100 х 400 мм виробник: Ростовський завод МАГСО , заснований у 1956 році.
НГФ-110ш4 0,75 кВт, розмір столу 100 х 400 мм виробник: Ростовський завод МАГСО , заснований у 1956 році.

Габарити робочого простору фрезерного верстата НГФ-110ш4
Ескіз хобота із сережкою горизонтально-фрезерного верстата НГФ-110
Стійка у верхній частинині має напрямні типу «ластівчин хвіст», в яких встановлений хобот 1. Хобот можна переміщати напрямними вручну. Затискач хобота на направляючих здійснюється клином, який при загортанні ггвинта затягується та закріплює хобот на стійці.
У передньому кінці хобота встановлена сережка 2. Сережка на хоботі стягується гайкою 5. Перестановка сережки з одного верстата на інший у зв'язку з індивідуальним припасуванням не допускається.
Бронзовий підшипник-втулка сережки 4 має зовнішню конічну поверхню і два поздовжніх розрізи, за рахунок яких гайкою 3 регулюється зазор в підшипнику.
Перед початком роботи необхідно змастити маслом І-30А внутрішню порожнину сережки втулки.
Регулювання зазору визначається по нагріванню втулки сережки (при обкатуванні протягом однієї години при максимальній частоті обертання шпинделя нагрівання втулки не повинно перевищувати 50-60 ° С, при достатньому мастилі).
Оправлення призначене для кріплення циліндричних дискових та інших фрез.
Фрези кріпляться на оправці за допомогою настановних кілець та гайки.
Для забезпечення жорсткості різального інструменту вільний кінець оправлення встановлюється в опору сережки. Сережки закріплюються на хоботі.

Посадочні та приєднувальні бази верстата НГФ-110ш4

Фото настільного фрезерного верстата НГФ-110ш4

Фото настільного фрезерного верстата НГФ-110ш4

Розташування складових частин на станке НГФ-110ш4

Розташування органів керування верстатом НГФ-110

Розташування органів керування верстатом НГФ-110

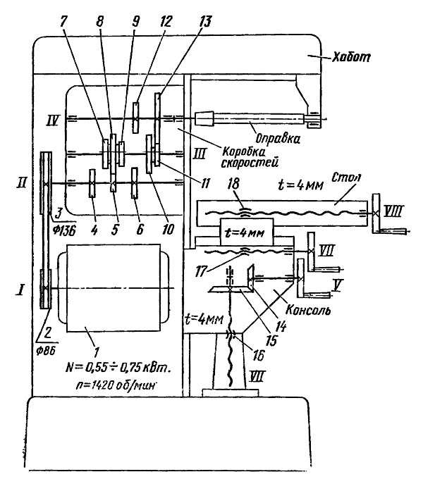
Кінематична схема фрезерного верстата НГФ-110ш4

Кінематична схема фрезерного верстата НГФ-110ш4

Кінематична схема фрезерного верстата НГФ-110ш4
Вращение от електродвигуна I передається клиноременной передачей валу II коробки швидкостей (рис. 7). Далее з вала II. на вал III і затем на шпиндель IV вращение передається через шестерни 4, 5, 6, нерухомо закрепленные на валу II, подвижные тройной і двойной блоки шестерен, сидящие на валу III і шестерни 12, 13 нерухомо закрепленные на шпинделе IV.
Подвижные блоки шестерен позволяют получить шесть различных частот обертання шпинделя (см. график частот обертання шпинделя).
Стойка является базовым узлом, на котором монтируются все остальные вузли і механізмы верстата.
Жесткость конструкції стойки достигается за счет развитого основания і трапецеидального сечения стойки по высоте.
Стойка разделена на два отсека. В верхнем отсеке монтируется коробка швидкостей, в нижнем — електродвигатель.

Фото коробки швидкостей фрезерного верстата НГФ-110ш4

Схема коробки швидкостей фрезерного верстата НГФ-110ш4
Схема коробки швидкостей фрезерного верстата НГФ-110ш4. Дивитись у збільшеному масштабі
Трехваловая шестискоростная коробка швидкостей смонтирована в верхней частини корпуса стойки і обеспечивает регулювання частоти обертання шпинделя от 125 до 1250 об/мин. Подбор необходимой частоти обертання осуществляется з помощью рычагов переключения, расположенных з левой стороны верстата.
Для осмотра коробки швидкостей необходимо снять боковую крышку.
Шпиндель ставка представляет собой двухопорный полый вал. Небольшой по длине пролет между опорами і значительный диаметр сечений обеспечивают необходимую виброустойчивость і жесткость шпинделя.
Передня шейка шпинделя опирается на два радиально-упорных підшипника 8 (рис. 2), а задня — на радиальный подшипник 9. Для устранения осьового зазору передних підшибників на шпинделе установлены две гайки 10. Между підшипниками установлены распорные кольца 11 і 12. При износе підшибників зазор в них устраняется шлифовкой торцов внутреннего распорного кольца 12. Компенсационное кольцо 13 служит для устранения осьового люфта шпинделя.
Основними підшипниками, определяющими геометрическую точность шпинделя, є радиально-упорные однорядные шарикопідшипники № 46 208 передньої опори і радиальный шарикоподшипник № 206 задньої опори. В осевом направлении шпиндель фиксируется буртиком стойки і передньої крышкой.
Регулювання зазору в переднем подшипнике производится подтягиванием гайки, расположенной в передньої частини шпинделя.
Для доступа к етой гайке рекомендуется снять боковую крышку на стойке.
Смазка зубчатых колес і підшибників коробки швидкостей осуществляется разбрызгиванием.
Масло И-30А заливается в масляный резервуар до уровня, контролируемого маслоуказателем.
Масло менять первый раз через 15 дней роботи, затем через каждые 3 месяца.
Консоль является базовым узлом механізма подач. На направляючих консоли установлен стол з салазками. Поперечная подача стола осуществляется от гвинта поперечної подачі 2. Вертикальная подача консоли по направляющим стойки осуществляется от" гвинта вертикальной подачі 3.

Стол і консоль фрезерного верстата НГФ-110ш4

Консоль фрезерного верстата НГФ-110ш4
Консоль фрезерного верстата НГФ-110ш4. Дивитись у збільшеному масштабі
Консоль является базовым узлом механізма подач. На направляючих консоли установлен стол з салазками. Поперечная подача стола осуществляется от гвинта поперечної подачі 2. Вертикальная подача консоли по направляющим стойки осуществляется от гвинта вертикальной подачі 3.

Стол фрезерного верстата НГФ-110ш4
Стол фрезерного верстата НГФ-110ш4. Дивитись у збільшеному масштабі
Рабочий стол верстата является післядним елементом в ланцюги подач і имеет возможность перемешаться в трех направлениях: по направляющим салазок — в продольном, вместе з салазками по направляющим консоли — в поперечном і вместе з консолью по направляющим стойки— в вертикальном.
На станке установлен екран защитный для защиты работающего от отлетающей стружки в зоне різання.

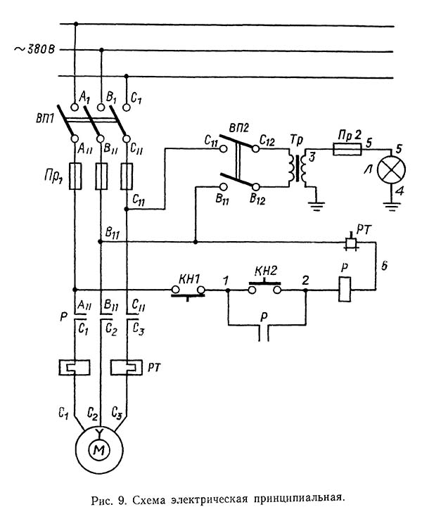
Електрична схема фрезерного верстата НГФ-110ш4
К електрооборудованию относятся: трехфазный короткозамкнутый асинхронный електродвигатель, установленный в нижнем отсеке стойки, і установленные в изолированных нишах плиты верстата (поз. 6 рис. 1) магнитный пускатель, трансформатор, клеммные колодки, предохранителя, выключатели, кнопочний пост керування, тепловое реле.
На станке установлен светильник местного освещения
| Наименование параметра | НГФ-110ш3 | НГФ-110ш4 |
|---|---|---|
| Основні параметри верстата | ||
| Основні розміри ГОСТ, ТУ | ТУ-79 РСФСР 355-72 | ТУ 79 РСФСР 441-79 |
| Класс точності по ГОСТ 8-82 | Н | Н |
| Розміри рабочей поверхности стола (длина х ширина), мм | 100 х 400 | 100 х 400 |
| Расстояние от оси горизонтального шпинделя до стола, мм | 30..200 | 30..200 |
| Расстояние от оси горизонтального шпинделя до хобота, мм | 85 | 85 |
| Расстояние от торца шпинделя до підшипника подвески (серьги), мм | 235 | 235 |
| Наибольший диаметр фрезы, устанавливаемой на станке, мм | 110 | 110 |
| Рабочий стол | ||
| Наибольшее перемещение стола продольное, мм | 250 | 250 |
| Наибольшее перемещение стола поперечное, мм | 85 | 85 |
| Наибольшее перемещение стола вертикальное, мм | 170 | 170 |
| Число Т-образных пазов | 1 | 1 |
| Перемещение стола на одно деление лимба продольное (на один оборот), мм | 0,05 (4) | 0,05 (4) |
| Перемещение стола на одно деление лимба поперечное (на один оборот), мм | 0,05 (4) | 0,05 (4) |
| Перемещение стола на одно деление лимба вертикальное (на один оборот), мм | 0,025 (2) | 0,025 (2) |
| Быстрый ход стола продольный/ поперечний/ вертикальний, мм/мин | нет | нет |
| Число ступеней рабочих подач стола | нет | нет |
| Пределы рабочих механических подач стола. Продольных, поперечных, вертикальних, мм/мин | нет | нет |
| Угол поворота стола (в крайнем переднем положении), град | нет | нет |
| Шпиндель | ||
| Частота обертання горизонтального шпинделя, об/мин | 100, 160, 250 ,490, 630, 1000 | 125, 200, 310, 500, 800, 1250 |
| Количество швидкостей горизонтального шпинделя | 6 | 6 |
| Внутренний конус горизонтального шпинделя | Морзе 3 | Морзе 3 |
| Привід і електрообладнання | ||
| Количество електродвигателей на станке | 1 | 1 |
| Електродвигун приводу головного руху, кВт (об/мин) | 0,6 (1410..1440) |
0,55..0,75 (1390..1480) |
| Габарити і масса верстата | ||
| Габарити верстата (длина х ширина х высота), мм | 685 х 640 х 790 | 685 х 640 х 925 |
| Масса верстата, кг | 200 | 340 |