Свердлильний настільний верстат СН-15-Ш1-1 - випускався підприємством Завод №5 з виробництва навчально-наочних посібників та обладнання для майстерень шкіл ім. Дзержинського , сел. Свердлова Щолківського району Московської обл., Заснований у 1942 році.
Верстат СН-15-Ш1-1 в 1985 замінив у виробництві свердлильний настільний верстат моделі НС-Ш , який вироблявся з 1978 року.
Верстат призначений для свердління отворів від 3 до 10...15 мм і нарізування різьблення в дрібних деталях з чавуну, сталі, кольорових сплавів і неметалічних матеріалів, що виконуються в навчальних майстернях шкіл.
Простота конструкції забезпечує легкість керування, надійність та довговічність верстатів.
Шпиндель верстата СН-15-Ш1-1 отримує 3 швидкості обертання від триступеневих шківів приводу, що забезпечує вибір швидкостей різання - 450, 1200, 1800 об/хв.
Кінець шпинделя – зовнішній конус морзе КМ2, позначення В18 за ГОСТ 9953 (Конуси інструментальні укорочені) – конус укорочений: D = 17,780 мм, довжина конуса 37,0 мм.
Укороченому конусу В18 відповідає свердлильний трикулачковий патрон 16-го типорозміру за ГОСТ 8522 (Патрони трикулачкові свердлильні) з діапазоном затиску від 3 до 16 мм.
Приклад умовного позначення свердлильного 3-х кулачкового патрона, типорозміру 16, з конусним приєднувальним отвором В18:
Патрон 16-Б18 ГОСТ 8522-79
Відлік глибини свердління провадиться за плоскою шкалою або упором.
Оригінальна конструкція натягу ремінної передачі дозволяє швидко змінювати положення ременя на шківах для отримання потрібної швидкості різання.
Використання тумби для встановлення верстата дає можливість свердліти торці довгих деталей, наприклад валів.
Свердлильний верстат СН-15-Ш1 дозволяє виконувати такі операції:
Конус інструментальний - Конус Морзе - одне з найбільш застосовуваних кріплень інструменту. Був запропонований Стівеном А. Морзе приблизно 1864 року.
Конус Морзе підрозділяється на вісім розмірів - від КМ0 до КМ7 (англійською: MT0-MT7, німецькою: MK0-MK7).
Стандарти на конус Морзе: ГОСТ 25557 (Конуси інструментальні. Основні розміри), ISO 296, DIN 228. Конуси, виготовлені за дюймовими та метричними стандартами, взаємозамінні у всьому, крім різьблення хвостовика.
Для багатьох застосувань довжина конуса Морзе виявилася надмірною . Тому було введено стандарт на дев'ять типорозмірів укорочених конусів Морзе (B7, B10, B12, B16, B18, B22, B24, B32, B45), ці розміри отримані видаленням більш товстої частинини конуса. Цифра позначення короткого конуса — діаметр товстої частинини конуса в мм.
Російський стандарт на укорочені конуси ГОСТ 9953 Конуси інструментів укорочені .
Російський стандарт на свердлильні патрони ГОСТ 8522 Патрони свердлильні трикулачні .
Де D – діаметр конуса в основній площині.

Фото свердлильного настільного верстата СН-15-Ш1

Фото свердлильного настільного верстата СН-15-Ш1

Фото свердлильного настільного верстата СН-15-Ш1

Фото свердлильного настільного верстата СН-15-Ш1

Фото свердлильного настільного верстата СН-15-Ш1

Фото свердлильного настільного верстата СН-15-Ш1

Фото свердлильного настільного верстата СН-15-Ш1

Фото свердлильного настільного верстата СН-15-Ш1

Розташування органів керування сверлильным настольным верстатом СН-15-Ш1
Вертикально-сверлильный настільний верстат (рис. 1) состоит из следующих вузлів і деталей:
Стол вертикально-сверлильного верстата СН 15-Ш1 является рабочей поверхностью, на которой устанавливаются і закрепляются детали или вироби, подлежащие обработке. Одновременно стол служит фундаментной плитой для установки верстата на верстаке. Стол представляет собой массивную чугунную плиту прямоугольной формы размером 510X360 мм. Верхня рабочая поверхность плиты прострогана і обеспечивает прямолинейность во всех направлениях. Допускается вогнутость к центру плиты, но не более 0,05 на 300 мм. Стол имеет четыре сквозных отверстия для укрепления верстата на верстаке. На рабочей поверхности стола просверлены четыре резьбовых отверстия для установки планок крепления обрабатываемых деталей или других зажимных пристосувань. По периметру стола, в литье, сделана неглубокая канавка для стока охлаждающей жидкости. Колонка. Колонка служит направляющей при вертикальних переміщеннях корпуса. Для етой ланцюги на колонке укреплена гвинтами зубчатая рейка, находящаяся в зацеплении з зубчатым колесом подъемного механізма. Колонка жестко укреплена двумя болтами в подпятнике. От точності установки колонки в подпятнике, а также точності і чистоты обробки її (поверхности во многом зависит точность роботи верстата і плавность переміщення корпуса. Поетому боковая поверхность колонки обработана под три знака чистоты з допуском по второму классу точності. При сборке верстата перпендикулярность оси колонки к рабочей поверхности стола проверяется индикатором, поетому даже при среднем ремонтi верстата без крайней необходимости вынимать колонки из подпятника не рекомендуется. Это вызовет излишние трудности при післядующей сборке і испытаниях на точность роботи верстата.

Механізм подъема шпиндельной бабки сверлильного настільного верстата СН-15-Ш1
Корпус (рис. 2) представляет собой фасонную литую чугунную деталь (полую внутри), в которой смонтированы все основні вузли верстата: механізм подъема і зажиму корпуса, шпиндель з механізмом обертання і подъема, ограждение механізма обертання шпинделя і електродвигатель.
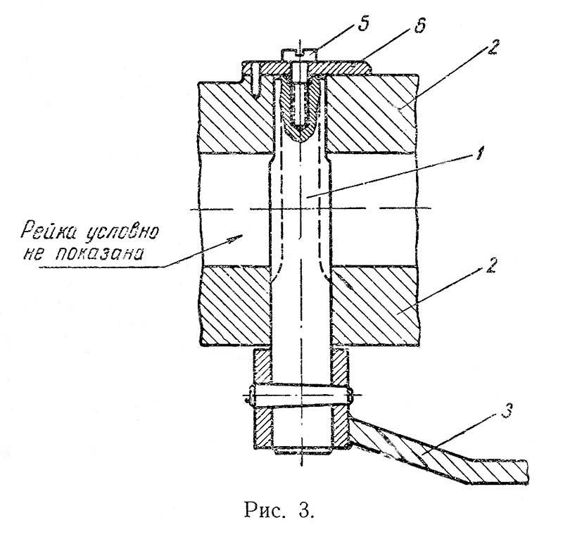
В процессе роботи на сверлильном станке возникает необходимость быстро изменить (увеличить или уменьшить) расстояние от торца шпинделя до поверхности стола. Для етого служит механізм подъема корпуса (рис. 3). Основную часть механізма составляет цилиндрический валик-шестерня з прямым зубом 1. Концы валика помещены в расточенных отверстиях боковых стенок корпуса 2, которые служат ему опорами.
Зубья валика-шестерни находятся в зацеплении з рейкой колонки. На свободный, выходящий за пределы корпуса, конец валика надета рукоятка 3. Рукоятка жестко закреплена на валике клиновидным штифтом 4. При повороте рукоятки, совместно з ней поворачивается валик-шестерня, зубья которой, катаясь по рейке колонки, увлекают за собой корпус в требуемом направлении (вверх или шиз). Для предохранения валика от самопроизвольного выпадения из корпуса он скреплен з післядним при помощи гвинта 5 і шайбы 6.
Фиксация корпуса на нужной высоте осуществляется з помощью зажимных втулок 2 і гвинта 1 механізма зажиму (рис. 4).

Механізм зажиму шпиндельной бабки сверлильного верстата СН-15-Ш1
Механізм зажзима шпиндельной бабки сверлильного верстата СН-15-Ш1. Дивитись у збільшеному масштабі
Эти втулки вставляются в отверстие корпуса і имеют на одном кінці радиусные лыски для плотного прилегания к поверхности колонки 3. Одна втулка имеет внутреннюю резьбу, а другая — отверстие.
Вращая по резьбе винт 1 з помощью рукоятки 4, зажимные втулки 2 сближаются друг к другу і плотно прижимаются к поверхности колонки, тем самым удерживая корпус в нужном положении.
Отвертывая винт механізма зажима, зажимные втулки расходятся в разные стороны.
Это дает возможность свободно перемещать корпус валимом механізма подъема вверх і вниз по колонке.

Шпиндель з гильзой сверлильного верстата СН-15-Ш1
Шпиндель з гильзой сверлильного верстата СН-15-Ш1. Дивитись у збільшеному масштабі
Наиболее ответственной деталью сверлильного верстата, от точності изготовления і сборки которой зависит точность обробки, является шпиндель.
Шпиндель верстата служит для закрепления режущего инструмента і сообщения ему двух движений, необходимых для різання металла - поступательного вдоль оси (подачі) і вращательного вокруг оси (резание).
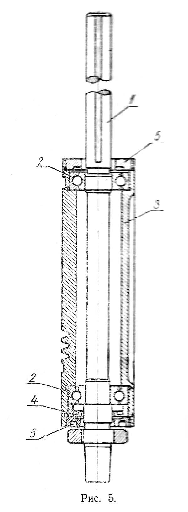
Шпиндель (рис. 5) представляет собой длинный ступенчатый валик 1, нижний конец которого обточен вод конус Морзе (наружный) для закрепления инструмента, а верхний конец снабжен удлиненной поздовжньої шпоночной канавкой. О назначении етой канавки подробнее будет оказано ниже. На шпиндель напрессованы два радиальных підшипника 2, наружные обоймы которых запрессованы в гильзе 3. Шпиндель і гильза не имеют осьового переміщення относительно друг друга, однако шпиндель може вращаться в підшипниках 2 вокруг своей оси і перемещаться совместно з гильзой вдоль своей оси.
Гильза - полая внутри - снабжена специальными вытачками под наружную обойму підшибників.
Втулка 4 і круглые гайки 5 служат дополнительным предохранителем против сдвига підшибників, а следовательно, против осьового смещения шпинделя относительно гильзы.
Шпиндель в сборе з гильзой монтируется в корпусе верстата, в передньої его частини, в специально расточенное отверстие (рис. 6). На наружной поверхности гильзы нарезана рейка і профрезерована удлиненная (продольная шпоночная канавка. Рейка гильзы постоянно находится в зацеплении з шестерней механізма подачі шпинделя, от которой осуществляется поступательное (вдоль оси) перемещение шпинделя. Для плавности етого переміщення корпус і гильза спарены между собой на скользящей посадке. Винт 1, который входит в продольную шпоночную канавку гильзы, предохраняет її от обертання при вращении шпинделя.

Механізм обертання шпинделя сверлильного верстата СН-15-Ш1
Механізм обертання шпинделя сверлильного верстата СН-15-Ш1. Дивитись у збільшеному масштабі
Из описанного выше становится совершенно очевидным, что гильза является вспомогательной деталью только для сообщения шпинделю осьового переміщення.
Вращение шпинделя осуществляется следующим образом. В трехступенчатый шкив 2 жестко посажена втулка 3, на которую напрессованы два радиальных підшипника 4, наружные обоймы которых в свою очередь запрессованы в специальное гнездо в верхней частини корпуса. Верхний конец шпинделя, в котором отфрезерована ранее описанная удлиненная шпоночная канавка, соединен посредством шпонки з втулкой 3 таким образом, что обеспечивается его вращение при вращении шкива, а скользящая посадка между шпинделем і втулкой 3 і удлиненная шпоночная канавка обеспечивают одновременно з вращательным движением осевое перемещение шпинделя.

Механізм подачі шпинделя сверлильного верстата СН-15-Ш1
Механізм подачі шпинделя сверлильного верстата СН-15-Ш1. Дивитись у збільшеному масштабі
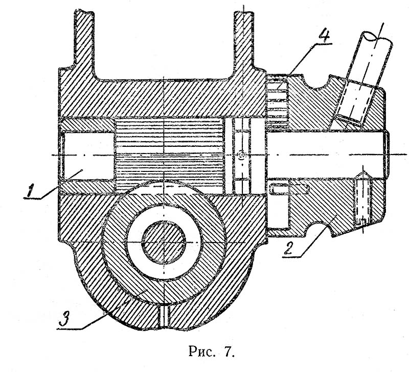
Для осуществления осьового переміщення шпинделя, т. е. подачі, применен механізм, состоящий из специального валика з шестерней 1. Опорой для валика служат специальные приливы в стенках корпуса. На выходящий наружу конец валика надет штурвал 2. Вращением штурвала приходит в рух шестерня 1, которая, катаясь по рейке гильзы 5, увлекает її за собой, осуществляя тем самым подачу. Для возврата шпинделя з гильзой в исходное (верхнее) положение применена спиральная пружина 4, закрепленная на кінці валика 1.
Для регулировки ходу шпинделя на гильзе имеется спеціальний передвижной хомутик 1 (рис. 8). Хомутик може закрепляться на гильзе в любом месте.

Ограничение ходу шпинделя сверлильного верстата СН-15-Ш1
Ограничение ходу шпинделя сверлильного верстата СН-15-Ш1. Дивитись у збільшеному масштабі
Для грубого отсчета глубины сверления к хомутику прикреплена линейка з делениями 2. Цена делений линейки 1 мм.
Верстат комплектується асинхронним, короткозамкненим електродвигуном трифазного струму, напівзакритого типу, потужністю 0,4 кВА, з числом оборотів 1440 об/хв, напругою 220/380 Вольт.
Вал із ротором двигуна змонтований у знімних бічних кришках на кулькових підшипниках. Така конструкція забезпечує швидке розбирання двигуна під час ремонту.
На корпусі двигуна є приплив, на якому змонтовані клеми для підключення живлення від електромережі. Живлення приєднується через рубильник чи кнопковий пускач.
| Найменування параметру | 2m112 | СНВШ | СНВШ-2 (НС-06.01) | СН-15-Ш1 |
|---|---|---|---|---|
| Основні параметри верстата | ||||
| Найбільший діаметр свердління, мм | 12 | 12 | 2..16 | 3..15 |
| Найменша та найбільша відстань від торця шпинделя до столу | 0..400 | 20..420 | 360 | 45..420 |
| Відстань від осі вертикального шпинделя до направляючих стійки (виліт), мм | 190 | 160 | 215 | 70 |
| Робочий стіл | ||||
| Ширина робочої поверхні столу, мм | 250 | 250 х 250 | 370 x 370 | 250 x 280 |
| Число Т-подібних пазів | 3 | 3 | 3 | ні |
| Шпиндель | ||||
| Найбільше переміщення шпиндельної головки, мм | 200 | |||
| Хід гільзи шпинделя, мм | 100 | 100 | 100 | |
| Частота обертання шпинделя, об/хв | 450, 800, 1400, 2500, 4500 | 720, 1400, 2000 | 700, 1400, 2800 | 460, 1440, 3440 |
| Кількість швидкостей шпинделя | 5 | 3 | 3 | 3 |
| Конус шпинделя | Морзе В18 | Морзе В18 | Морзе В16 | Морзе В18 |
| Привід | ||||
| Електродвигун приводу головного руху, кВт (об/хв) | 0,55 | 0,6 | 0,75 (1350) | 04..0,6 (1440) |
| Габарит та маса верстата | ||||
| Габарити верстата (довжина ширина висота), мм | 795 х 370 х 950 | 660 х 360 х 750 | 680 х 350 х 735 | 710 х 360 х 710 |
| Маса верстата, кг | 120 | 85 | 100 | 90 |