Виробником настільного токарного верстата 16Т02П та 16Т02А є Кіроваканський завод прецизійних верстатів м. Кіровокан (сьогодні м. Ванадзор), Вірменія.
Основним призначенням верстата було навчання токарній справі у школах, профтехучилищах, технікумах, що широко використовуються в лабораторіях, навчальних та ремонтних майстернях.
На даний час випуск верстатів припинено.
Настільні токарні верстати моделей 16Т02П (підвищеної точності) та 16Т02А (особливо високої точності) призначені для виконання різних точних токарних робіт із встановленням оброблюваної деталі в центрах, цанг патроні та на планшайбі. Завдяки використанню на верстатах спеціальних пристроїв, що поставляються заводом-виробником за спеціальним замовленням та за окрему плату, можливе також проведення операцій шліфування, фрезерування та розточування.
Областью застосування верстатів 16Т02П та 16Т02А є досвідчені та інструментальні цехи годинникової, приладобудівної, радіотехнічної та інших галузей промисловості, а також різні лабораторії, майстерні тощо.
Область застосування, також - шкільні та похідні майстерні технічні училища, лабораторії, а також у домашніх умовах для любителів токарної справи та конструкторів-моделістів, що допоможе використати дозвілля для розвитку трудових навичок та винахідливості.
Основна відмінність токарного верстата моделі 16Т02П – підшипники ковзання в корпусі бабки, на яких встановлений шпиндель. У верстаті 16Т02П шпиндель встановлений на підшиники кочення - прецизійних шарикопідшипниках.

Габаритні розміри робочого простору верстата 16т02п

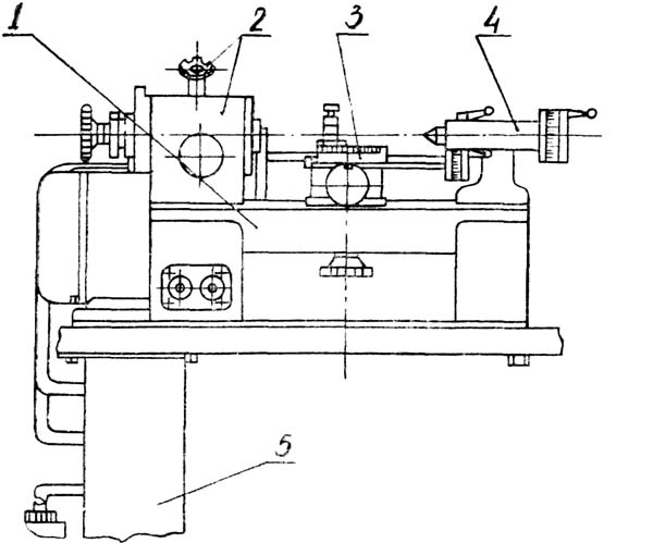
Фото настільного токарного верстата 16т02п
Фото настільного токарного верстата 16т02п. Дивитись у збільшеному масштабі

Фото комплекта настільного токарного верстата 16т02п
Фото токарного верстата 16Т02П. Дивитись у збільшеному масштабі

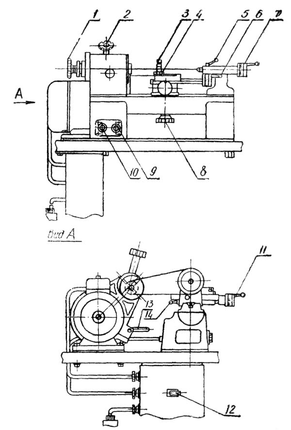
Розташування основних вузлів токарного верстата 16т02п

Розташування органів керування токарним верстатом 16т02п

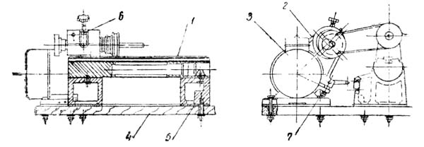
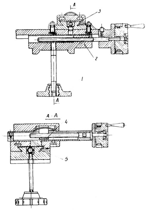
Станина токарного верстата 16т02п
Станина верстатів 16Т02П та 16Т02А - чавунна монолітна деталь, на якій закріплені сталеві загартовані напрямні 1 зі шліфованим плоскопризматичним профілем.
Зліва зверху на направляючих станини встановлюється передня бабка, а праворуч - задня бабка.
У ніші станини кріпиться кнопкова станція. Між напрямними проходить Т-подібний паз, призначений для кріплення вузлів.
Станину верстата кріплять до столу 4 електродвигун 3 з контрприводом 2 встановлюють на кронштейні. Щоб уникнути виникнення вібрацій у верстаті між площиною столу, опорною площиною станини та електродвигуном ставиться гумова прокладка 5, що служить частковим віброгасником.
Натяг клинового ременя від електродвигуна до контрприводу здійснюється за допомогою ексцентрикового механізму 7 фіксує ремінь в заданому положенні. Натяг ременя здійснюється поворотом кронштейна контрприводу 2 навколо осі двигуна з наступною фіксацією потрібному положенні за допомогою затиску 6.

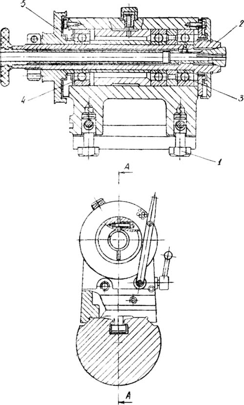
Передня бабка токарного верстата 16т02п
Передня бабка верстата моделі 16Т02П (рис. 7) встановлюється на станині і кріпиться ексцентриковими затискачами 1. У корпусі бабки на трьох прецизійних шарикопідшипниках зібраний шпиндель 2. Підшипники 3, встановлені в передній опорі - радіально-упорні. Підшипники 4, встановлений у задній опорі – радіальний. Приймальний шків 5 розташований на задній опорі шпинделя. Отвір у шпинделі виконаний під цангу, що забезпечує більшу точність при обробці деталей у цангу.

Передня бабка токарного верстата 16т02п
Шпиндель 1 передньої бабки верстата моделі 16Т02А (рис. 8) зібраний на двох опорах ковзання з конічними контактними поверхнями в корпусі бабки. Змащування робочих поверхонь проводиться за допомогою розбризкувача 2, який направляє масло з корпусу бабки спеціальними мастильними канавками.
На корпусі бабки встановлені два вічка: один - для спостереження за заповненим бабки маслом до необхідного рівня, а другий - для контролю надходженням масла в канавки підшипників.
Підшипники регулюються рейкою 3.

Супорт токарного верстата 16т02п
Супорт верстатів - хрестовий з поздовжнім та поперечним переміщеннями санок від руки. Певне становище на станині фіксується рукояткою 1.
Люфти у гвинтових парах поздовжніх та поперечних санок вибираються за допомогою розрізних гайок 2 та 4.
Люфти у направляючих вибираються клинами 3 та 5.

Задня бабка токарного верстата 16т02п
Задня бабка встановлюється та закріплюється на станині 1 за допомогою ексцентрикового затиску. Піноль 2 переміщається безпосередньо від руки і може фіксуватися у положенні рукояткою 3.
Отвір у пінолі бабки - конус Морзе 0 укорочений.

Електрична схема токарного верстата 16т02п
На верстаті встановлено асинхронний електродвигун із короткозамкненим ротором типу ДПТ-П-21-4-З потужністю N=0,25 кВт, п=1400 об/хв. Підвищеної точності за рівнем вібрації, шуму та точності настановних розмірів.
Напруга в силовому ланцюзі керування ~ 380 В., частота 50 Гц.
В електросхемі передбачається пуск та зупинка електродвигуна кнопками керування 2КУ «пуск» та 1КУ «Стоп».
Напруга в силовий ланцюг керування подається включенням автоматичного вимикача АВ.
Натисканням кнопки 2КУ замикаються н. о. контакти, отримує живлення силовий ланцюг та електродвигун починає обертатися. При замиканні блок контакту К (1—2) пускача ланцюг перетворюється на саможивлення.
Зупинка електродвигуна здійснюється натисканням кнопки 1КУ «Стоп», що супроводжується розривом ланцюга.
В електросхемі верстата передбачено захист силового ланцюга керування від коротких замикань та перевантажень автоматичним вимикачем АВ, а також захист від зникнення напруги за допомогою н. о. контакту магнітного пускача.
Технічна характеристика (основні параметри та розміри: для верстата 16Т02П ТУ 2-024-2319-74, для верстата 16Т02А ТУ02-024-2320-74).
| Найменування параметру | 1D601 | 16T02P | 16T02A | 16V02A |
|---|---|---|---|---|
| Основні параметри верстату | ||||
| Клас точності | Н | П | А | А |
| Найбільший діаметр заготовки над станиною, мм | 125 | 125 | 125 | 140 |
| Найбільший діаметр заготовки над супортом, мм | 75 | 75 | 75 | 85 |
| Висота центрів над плоскими напрямними станини, мм | 68 | 68 | 72 | |
| Найбільша довжина заготовки у центрах (РМЦ), мм | 180 | 250 | 250 | 275 |
| Найбільша довжина оброблюваної заготовки без переустановки супорта, мм | 55 | 65 | 65 | 60 |
| Найбільша висота різця, мм | 8 х 8 | 8 х 8 | 8 х 8 | |
| Шпиндель | ||||
| Діаметр наскрізного отвору в шпинделі, мм | 10,2 | 10,2 | 10,2 | 15 |
| Конус Морзе шпинделя | Морзе КМ2 | Морзе 0 | Морзе 0 | Морзе 0 |
| Число ступенів частот прямого обертання шпинделя | 3 | 6 | 6 | |
| Частота прямого обертання шпинделя, об/хв | 700, 1400, 2800 | 400, 630, 1000, 1250, 2500, 4000 | 400, 630, 1000, 1250, 2500, 4000 | 400..5000 |
| Супорт. Подання | ||||
| Поздовжнє переміщення супорта | Ручне | Ручне | Ручне | Ручне |
| Найбільше поперечне переміщення супорта, мм | 60 | 60 | 65 | |
| Переміщення супорта поперечне на один поділ лімба, мм | 0,05 | 0,01 | 0,01 | 0,02 |
| Найбільше переміщення верхніх (різцевих) санчат, мм | 65 | 65 | ||
| Переміщення різцевих санок на один поділ лімба, мм | 0,05 | 0,01 | 0,01 | 0,01 |
| Кут повороту верхньої каретки супорта, град | ±30° | ±30° | ±30° | |
| Задня бабка | ||||
| Конус Морзе задньої бабки | Морзе 1 | Морзе 0 | Морзе 0 | Морзе 0 |
| Найбільше переміщення пінолі, мм | 35 | 40 | 40 | 40 |
| Електроустаткування | ||||
| Електродвигун головного приводу, кВт (об/хв) | 0,180 | 0,25 | 0,25 | 0,37 (1500) |
| Габарити та маса верстату | ||||
| Габарити верстата (довжина ширина висота), мм | 680 х 200 х 220 | 695 х 520 х 300 | 695 х 520 х 300 | 760 х 500 х 340 |
| Маса верстата, кг | 30 | 35 | 35 | 90 |