Виробником настільного токарного верстата С193н є Кіроваканський завод прецизійних верстатів, КЗПС м. Кіровокан (сьогодні м. Ванадзор), Вірменія.
Настільний універсальний токарний верстат моделі С193н підвищеної точності призначається для точних робіт токарних робіт по дереву, пластмас і металу, що виконуються в цангу, патроні, на планшайбі та в центрах.
На верстаті С193н можуть виконатися зовнішня обточування, розточування, свердління та інші операції. Застосування пристроїв дає можливість виконувати на верстаті, крім точення, зовнішнє та внутрішнє шліфування, нарізування різьблення, фрезерування та нарізування зуба.
Верстат С193н застосовується для точних токарних робіт та інструментальних та дослідних цехах годинникової та приладобудівної промисловості.
Токарний верстат С193н , оснащений набором пристроїв, може використовуватися також для роботи токарями-механіками.
Виробник: Кіроваканський завод прецизійних верстатів, м. Кіровокан (сьогодні м. Ванадзор).
Токарний верстат С193н вироблявся з 1962 року.

Габаритні розміри робочого простору верстата С193н

Шпиндель токарного верстата С193н

Фото токарного верстата С193н
Фото токарного верстата С193н. Дивитись у збільшеному масштабі

Фото токарного верстата Schaublin 102-80

Розташування органів керування токарним верстатом С193н

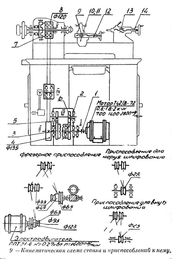
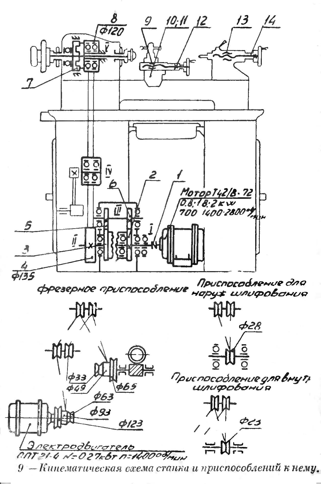
Кінематична схема токарного верстата С193н
Кінематична схема токарного верстата С193н. Дивитись у збільшеному масштабі
Передня бабка кріпиться на направляючих станини за допомогою 2-х ексцентриків із сухарями.
Шпиндель з подвійним конусом на передній шийці і з циліндричною задньою шийкою обертається у підшипниках ковзання.
Передня та задня опори підтягуються за допомогою гайок. Для розвантаження передньої конічної опори шпинделя та сприйняття частинини осьових зусиль на шпинделі, біля задньої опори змонтований регульований упорний кульковий підшипник, що передає навантаження на корпус бабки.
Шків передньої бабки змонтований на 2-х кулькових радіальних підшипниках, що базуються на корпус, і передає обертання на шпиндель за допомогою 3-х пальців із набором пружних шкіряних кілець. У гальмівному шківі шпинделя передбачено 4 ряди отворів, 3 з них по 100, 60 і 48 отворів у ряду для поділу і один ряд з 12 отворами для стопоріння шпинделя при ручних роботах і при роботі з пристроями.
Затискання цанги в отворі конусному шпинделя здійснюється поворотом ручки цангодержателя.
На задньому кінці закріплений маховичок для ручного повороту шпинделя під час роботи в цангу та в центрах.
Пристосування кріпиться до переднього платика корпусу передньої бабки. Від зубчастого колеса (№ 1), посадженого на лівий кінець шпинделя, через гітару (№ 2) та карданну телескопічну передачу (№ 3) обертання передається гвинту поздовжньої подачі супорта. За допомогою набору змінних шестерень, що додаються до пристрій, можна нарізати різьблення з кроками від 0,25 до 2,5 мм.

Різьбонарізний пристрій для настільного верстата С193н

Схема налаштування гітари настільного верстата С193н
Перевірка пристрій у роботі
Зібрати гітару на стенді, здійснити дослідну нарізку різьблення 1М10х1, при цьому чистота різьблення повинна бути не нижче 6-го класу.
Основні дані

Ділильна головка настільного верстата С193н
Ділильна головка кріпиться до заднього платика корпусу передньої бабки. Черв'ячне колесо (№ 1) пристрій насаджується на кінець шпинделя і повідомляє йому відповідно ділильні повороти. Черв'як пристрою (№ 4) можна відвести від колеса і, таким чином, звільнити шпиндель для обертання. За допомогою 4-х змінних дисків (№ 3), що додаються до пристрій, можна ділити коло на будь-яку кількість поділів до 360.
Основні дані

Фрезерне пристрій настільного верстата С193н
Фрезерний пристрій встановлюється на верхню площину супорта і кріпиться в його Т-подібних пазах за допомогою 2-х гвинтів (№ 1) і сухарів (№ 2). Шпиндель пристрій (№ 3) обертається у бронзових втулках. Передня шия шпинделя - конусна, на задній - посаджений рухомий конус, який підтягується гайкою. У конусному отворі шпинделя затискається цанга або спеціальна оправка для шліцевих фрез. Вертикальне переміщення санок шпиндельної головки щодо стійки (№ 5) здійснюється і ручну від рукоятки (№ 7) за допомогою ггвинта (№ 8).
Переміщення на один поділ лімба (№ 9) – 0,02 мм. Шпиндель приводиться у обертання за допомогою круглого ременя від електродвигуна через контрпривід пристосувань.
Основні дані

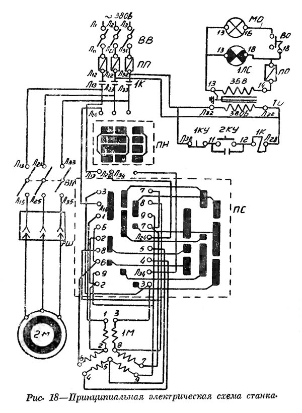
Електрична схема токарного верстата С193н
Електрична токарного верстата С193н. Дивитись у збільшеному масштабі
На верстаті встановлено:
Напруга силового ланцюга 380 В, ціни управління 380 В, ланцюги освітлення та сигналізації 36 В.
Напруга подається на станок поворотом вимикача ВР у положення «ВКЛ». При цьому спалахує синя сигнальна лампа «ЛЗ». Кнопкою 2КУ «Пуск» включається магнітним пускачем 1K - яким блокує запобіжну пускову кнопку і головними контактами включає електродвигуни 1М і 2М.
Зміна напрямку обертання двигуна 1М проводиться перемикачем ПН. Перемикання швидкостей здійснюється барабанним перемикачем ПС. Захист електроустаткування верстата від коротких замикань забезпечується плавкими запобіжниками «ПП» та «ПЗ».
| Найменування параметру | S193n | С-193 | |
|---|---|---|---|
| Основні параметри верстата | |||
| Клас точності | П | ||
| Найбільший діаметр заготовки над станиною, мм | 200 | 200 | |
| Найбільший діаметр заготовки над супортом, мм | 120 | 120 | |
| Висота центрів над плоскими напрямними станини, мм | 100 | 100 | |
| Найбільша довжина заготовки у центрах (РМЦ), мм | 500 | 500 | |
| Найбільша довжина обробки при одній установці супорта, мм | 90 | ||
| Найбільша висота/ширина різця, мм | 20/10 | ||
| Шпиндель | |||
| Діаметр наскрізного отвору в шпинделі, мм | 20 | 20 | |
| Діаметр отвору в цангу, мм | 14 | ||
| Число ступенів частот обертання шпинделя | 6 | ||
| Частота обертання шпинделя, об/хв | 255..3100 | 150..3000 | |
| Супорт | |||
| Поздовжнє переміщення супорта без переустановки, мм | 90 | ||
| Найбільше поперечне переміщення супорта, мм | 90 | ||
| Ціна поділу лімба при поздовжньому переміщенні супорта, мм | 0,02 | 0,01 | |
| Ціна поділу лімба при поперечному переміщенні супорта, мм | 0,02 | 0,01 | |
| Переміщення супорта поздовжнє на один оберт лімба, мм | 2 | 2 | |
| Переміщення супорта поперечне на один оберт лімба, мм | 2 | 2 | |
| Найбільше переміщення верхніх (різцевих) санчат, мм | |||
| Переміщення різцевих санок на один поділ лімба, мм | |||
| Кут повороту верхньої каретки супорта, град | ±90° | ||
| Задня бабка | |||
| Конус Морзе задньої бабки | Морзе 1 | ||
| Найбільше переміщення пінолі, мм | 70 | 70 | |
| Електроустаткування | |||
| Напруга живлення електродвигуна, | 380/220 | ||
| Електродвигун приводу, кВт (об/хв) | 0,8; 1,8; 2,0 (700; 1400; 2800) | 1 (1420) | |
| Габарити та маса верстата | |||
| Габарити верстата (довжина ширина висота), мм | 1240 х 550 х 1215 | 1250 х 590 х 1210 | |
| Маса верстата з приладдям, кг | 600 |