Різьбонарізний настільний верстат 2053 року випускався підприємством Кіровоканський завод прецизійних верстатів м. Кіровокан (сьогодні м. Ванадзор), Вірменія.
Верстат різьбонарізний вертикальний настільний 2053 призначений для нарізання правозахідних метричних різьблень машинними та ручними мітчиками в умовах індивідуального користування.
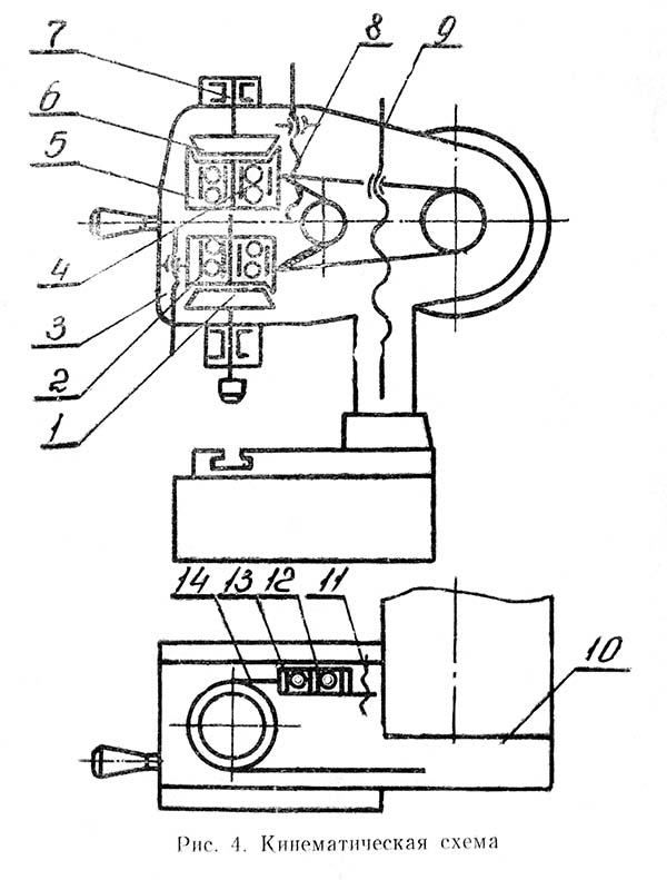
Від шківа електродвигуна через верхню гілок ременя обертання передається на верхній шків шпинделя, через нижню гілка ременя обертання передається на нижній шків шпинделя. Таким чином шківи обертаються в різних напрямках і є половинами відповідно верхньої і нижньої конусних муфт, жорстко закріплених на шпинделі. Шківи встановлені через підшипники кочення на втулку, що вільно переміщається в осьовому напрямку по шпинделю за допомогою рукоятки. При переміщенні ручки вниз включається нижня конусна муфта і шпиндель отримує обертання робочого ходу. Включення холостого ходу походить від пружини. Натяг клинового ременя здійснюється роликом.
Верстат складається з різьбонарізної головки з електродвигуном та основою.
Електродвигун, встановлений збоку на корпусі головки верстата, передає обертання через шківи приводні шпинделю. Включення прямого та зворотного обертання шпинделя здійснюється фрикційними та конусними муфтами.
Шпиндель верстата обертається в сталевих гартованих втулках із хромистої сталі.
Подача шпинделя здійснюється вручну і регулюється завзятим гвинтом.

Посадочні місця та приєднувальні розміри різьбонарізного верстата 2053

Фото різьбонарізного верстата 2053

Фото різьбонарізного верстата 2053
Фото різьбонарізного верстата 2053. Дивитись у збільшеному масштабі

Фото різьбонарізного верстата 2053
Фото різьбонарізного верстата 2053. Дивитись у збільшеному масштабі

Розташування органів керування різьбонарізним верстатом 2053
Розташування органів керування різьбонарізним верстатом 2053. Дивитись у збільшеному масштабі

Кінематична схема різьбонарізного верстата 2053
Кінематична схема різьбонарізного верстата 2053. Дивитись у збільшеному масштабі
| Найменування параметру | 2053 рік | ВСН-12 | 2054 м. вул | ||
|---|---|---|---|---|---|
| Основні параметри верстата | |||||
| Діапазон різьблення, що нарізається, мм | M3 | M3..M8 | M6 | ||
| Крок нарізання різьблення, мм | 0,2..0,5 | 0,5..1,5 | 0,4..1,25 | ||
| Відстань від торця шпинделя до столу (до оправки), мм | 130 | 0..200 (160) | 75..250 | ||
| Відстань від осі вертикального шпинделя до направляючих стійки (виліт), мм | 100 | 170 | 125 | ||
| Робочий стіл | |||||
| Ширина робочої поверхні столу, мм | 140 х 140 | 200 х 200 | 200 х 400 | ||
| Число Т-подібних пазів | 1 | 1 | 1 | ||
| Ширина Т-подібного паза (ГОСТ 1574-91), мм | 10A3 | 14Н9 | 14A3 | ||
| Шпиндель | |||||
| Найбільше переміщення шпиндельної головки, мм | - | - | |||
| Хід гільзи шпинделя, мм | 35 | 30 | 45 | ||
| Подача при нарізуванні різьблення | ручна | ручна | ручна | ||
| Частота обертання шпинделя у прямому напрямку, об/хв | 1250, 1600 | 600, 750 | 224..2240 | ||
| Частота обертання шпинделя у зворотному напрямку, об/хв | 1600, 2000 | 650, 856 | |||
| Кількість швидкостей шпинделя | 4 | 4 | 6 | ||
| Конус шпинделя | КМ 1 | КМ 2; В16 | КМ 1 | ||
| Свердлильний патрон | 4-Б10 | 10-В16 | |||
| Привід | |||||
| Напруга живлення, | 380 | 380 | 380 | ||
| Електродвигун приводу головного руху, кВт (об/хв) | 0,18 (2800) | 0,55 | 0,6 (1300) | ||
| Габарит та маса верстата | |||||
| Габарити верстата (довжина ширина висота), мм | 465 х 265 х 530 | 730 х 362 х 718 | 715 х 516 х 1550 | ||
| Маса верстата, кг | 40 | 93 |
Пов'язані посилання