Токарно-гвинторізний верстат 16У03П випускався в СРСР підприємством Кіроваканський завод прецизійних верстатів м. Кіровокан (сьогодні м. Ванадзор), Вірменія.
Основним призначенням верстата було навчання токарній справі у школах, профтехучилищах, технікумах, що широко використовуються в лабораторіях, навчальних та ремонтних майстернях.
Токарно-гвинторізні верстати підвищеної точності моделей 16У03П призначені для виконання різних токарних робіт у центрах, у цангу, у патроні, для нарізування метричних, модульних та дюймових різьблень.
Верстат 16У03П є універсальним токарно-гвинторізним верстатом і призначається для всіляких токарних робіт у майстернях шкіл для політехнічного навчання.

Габаритні розміри робочого простору верстата 16у03п
I - ескіз супорта верстата 16У03П
II - ескізи кінця шпинделя
III - ескіз пінолі задньої бабки

Фото токарного верстата 16У03п
Схема кінематична токарно-гвинторізного верстата 16У03п. Дивитись у збільшеному масштабі

Фото токарного верстата 16У03п

Фото токарного верстата 16у03п

Фото токарного верстата 16у03п

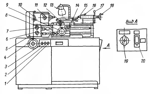
Розташування складових частинин токарного верстата 16у03п

Розташування органів керування токарно-гвинторізним верстатом 16у03п

Кінематична схема токарного верстата 16у03п
Схема кінематична токарно-гвинторізного верстата 16У03П. Дивитись у збільшеному масштабі
Кінематика верстата дозволяє здійснити:
Електродвигун ЕД обертає провідний диск Д1, варіатора із широким клиновим ременем. Ремінь обертає ведений диск Д2. Зміна швидкості обертання веденого валу варіатора здійснюється переміщенням рухомої частинини веденого диска Д2. Ведомий диск варіатора Д2 передає обертання двоступінчастій коробці швидкостей, що складається із зубчастиних коліс 1,2,3,4 і муфти C1.
Коробка швидкостей передає обертання шківу Д3 клинопасової передачі. Клинові ремені передають обертання шківу Д4, встановленому на втулці, співвісної зі шпинделем.
Обертання шпинделю IV передається або при включенні перебору, що складається із зубчастиних коліс 22,23,24,25, або при включенні муфти С2.
Обертання для здійснення руху подачі передається від шпинделя на вал VI за допомогою зубчастиних коліс 21,20,19,18. Зубчасте колесо 21 може зачіпатися або з колесом 19, або з колесом 20. При цьому перемиканні змінюється напрямок обертання валів приводу подач.
На валу VI розташована перша шестерня гітари верстата. У гітару входять зубчасті колеса А,В,Г при налаштуванні на подачу та А,Б,В,Г при нарізанні різьблення. Гітара обертає вал УД коробки подач. Вал VII передає обертання або ходовому гвинту при включенні муфти С3 або ходовому валику при перемиканні зубчастиних блоків 16-17 і 11-12. Усього ходовому валику повідомляється чотири швидкості обертання.
При нарізанні різьблення рух супорту і різцю передається ходовим гвинтом 26 при включенні маткової гайки 34; при точенні - рейковою шестернею 36 і рейкою 27. Обертання рейкової шестерні передається від ходового валика за допомогою черв'ячної передачі 35,37, муфти С4 і зубчастиних коліс 39, 38.

Варіатор токарного верстата 16У03П
Варіатор токарно-гвинторізного верстата 16У03П. Дивитись у збільшеному масштабі
Вузол складається з варіатора з широким клиновим ременем та двоступінчастою коробкою швидкостей. Перший вал варіатора I приводиться у обертання фланцевим електродвигуном 9. На валу I розташований пружний шків 2. Другий вал 4 варіатора з диском 5 є одночасно провідним валом коробки швидкостей, на ньому розташовані дві шестірні. Перемикання щаблів коробки швидкостей здійснюється переміщенням вздовж валу малої шестерні 7. Корпус 6 коробки швидкостей встановлений на склянці 8, прикріпленому до корпусу варіатора 3 і за допомогою різьбової втулки і двох гвинтів повертається відносно корпусу варіатора для натягу ремінної передачі, що з'єднує варіатор.
Механізм керування варіатором та коробкою швидкостей (рис.12) розташований зверху на корпусі варіатора. Маховичок керування I переводить диск варіатора. За допомогою рукоятки 2 розташованої на фланці лімба здійснюється перемикання швидкостей коробки швидкостей. Маховичок керування пов'язаний планетарною передачею зі шкалами налаштування чисел оборотів шпинделя. На деталі 3 нанесені дві шкали, що відповідають прямому включенню шпинделя та включенню шпинделя через перебір.

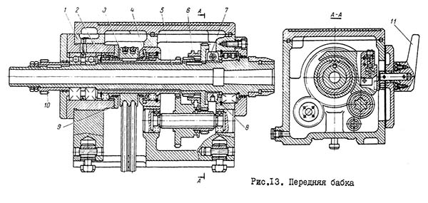
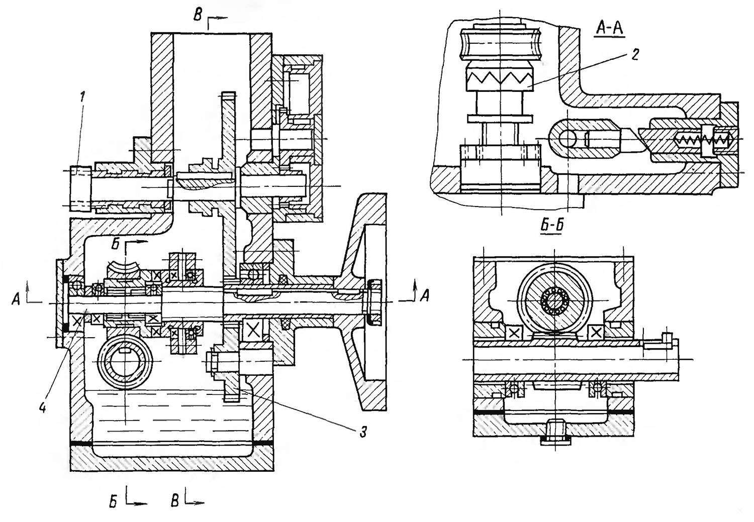
Шпиндельная бабка токарного верстата 16У03П
Шпиндельная бабка токарно-гвинторізного верстата 16У03П. Дивитись у збільшеному масштабі
У корпусі I передньої бабки змонтовані шпиндель 5, перебір та механізм керування.
Приймальний шків 3 передньої бабки встановлений на 4 втулці, співвісної шпинделю.
Обертання шпинделя передається безпосередньо від шківа при включенні зубчастої муфти 6 або через перебір з передатним ставленням 1:4.
У передній опорі шпинделя встановлений дворядний роликовий підшипник, що сприймає радіальні навантаження.
Задні опори шпинделя та приводного шківа розташовані у склянці 2.
У задній опорі шпинделя встановлені два радіально-упорні підшипники, що сприймають осьові навантаження.
На лівому кінці шпинделя за опорою встановлена шестерня 10, що передає обертання приводу подач і рух при нарізанні різьблення. У шпинделі є конічний отвір для встановлення перехідної втулки та завзятого центру.
Керування пересувними шестернями та муфтою проводиться рукояткою 11, розташованої на кришці, укріпленої на передній стінці корпусу бабки.
Змащування механізмів в опорах шпинделя в передній опорі проводиться розбризкуванням, в задній опорі - змащування ґнотів.
Передня бабка встановлюється та закріплюється зліва зверху на станині.

Схема розположення підшибників токарного верстата 16у04п
Шпиндель токарно-гвинторізного верстата 16У04П смонтирован на 3-х підшипниках:
Підшипник 3182108 - це дворядний роликовий радіальний підшипник, з короткими циліндричними роликами, з безбортовим зовнішнім кільцем (внаслідок чого комплект тіл кочення на сепараторі здатний переміщатися і створювати «плаваючу» опору), з конічним отвором отвором (1:1 внесення мастильного матеріалу. На відміну від сферичних дворядних підшипників, ці не є самовстановлюваними і погано виносять перекоси валів. Призначені для значних радіальних навантажень при високих оборотах. Основне місце експлуатації таких підшипників – верстати різного застосування. Цей типорозмір, як і більшість роликопідшипників цієї серії, випускається в даний час тільки високоточним і застосовується в станкобудуванні.
Підшипник випускався на московському заводі ГПЗ-1, зараз він виходить із паспортами так званої філії Заводу Авіаційних Підшипників. В даний час в номенклатурі виробника лише одна модифікація - 2-3182108К (найвищий клас точності). Літера К означає наявність кільцевої проточки та трьох отворів для внесення мастила. Вироблені в минулому підшипники часто мають додаткове позначення Л (латунний сепаратор) та продаються в числі неліквідів. Купувати підшипники найкраще лише у офіційних представників ЄПК, що гарантує прийнятну якість та мінімальні торгові націнки, проте часто їх немає. Орієнтовна вартість нових заводських виробів — трохи більше 3000 рублів.
Імпортні підшипники цього типорозміру мають позначення NN3008K (наявність літери К у номері є обов'язковою, оскільки вона вказує на конічну посадку). У нашій країні можна придбати продукцію FAG, SKF, KOYO, IBC, NSK, а також чеського виробника ZKL та польського FLT. Купуючи підшипники східноєвропейських виробників, потрібно їх ретельно оглядати, оскільки найчастіше вони продаються неліквідної якості, випущені ще тоді, коли існував СРСР. Клас точності 4 вказується як P4, 5 відповідно P5. Орієнтовна вартість якісних імпортних підшипників п'ятого класу точності становить близько 260 євро.

Схема підшипника 3182108 (NN3008K) токарного верстата 16У03П

Фото підшипника 3182108 (NN3008K)
Корпус гітари прикріплений до передньої бабки. У корпусі розташований трензель I, що коливається, і прихил гітари 4.
Трензель керується ручкою, розташованою зовні на корпусі гітари. Рукоятка керування трензелем має жорстку фіксацію.
На прихилі гітари встановлюються змінні шестерні для нарізування різьблення.
Прихил повертається на фланці вихідного валика 3 коробки подач і закріплюється в потрібному положенні гайкою.
Можливе встановлення різних наборів змінних шестерень, що забезпечують різні варіанти налаштування приводу подачі.
Корпус гітари закривається кришкою 2. На внутрішній поверхні кришки знаходиться таблиця налаштування гітари.

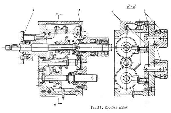
Коробка подач токарного верстата 16У03П
Коробка подач токарно-гвинторізного верстата 16У03П. Дивитись у збільшеному масштабі
При постійному налаштуванні гітари, коробка подач дозволяє отримати одну величину кроку різьблення та чотири різні подачі. Обертання першому валику I коробки подач передається шестернями гітари. Коробка подач управляється двома ручками 4, розташованими на передній кришці 3.
Мастило коробки подач ґнотів. Олія заливається через отвір під пробку у верхній кришці 2.

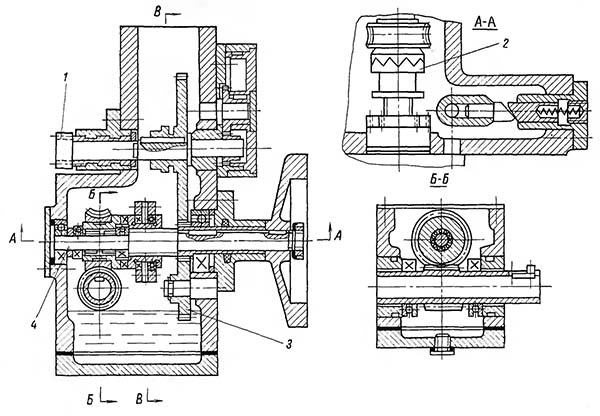
Фартук токарного верстата 16У03П
Фартук токарно-гвинторізного верстата 16У03П. Дивитись у збільшеному масштабі

Фартук токарного верстата 16У03П
Фартук токарно-гвинторізного верстата 16У03П. Дивитись у збільшеному масштабі
Фартух повідомляє супорту поздовжнє переміщення. При нарізанні різьби рух ггвинта передається за допомогою маткової гайки 5, при точенні - рейковою шестернею I. У корпусі фартуха зібраний механізм, що передає рух від ходового валика до рейкової шестерні. Ззаду на корпусі фартуха 6 знаходяться напрямні, якими переміщається маточна гайка. На валу черв'ячного колеса 4 знаходиться кулачкова перевантажувальна муфта 2, рукоятка керування якої розташована на передній стінці фартуха.
Керування включенням поздовжньої подачі та маткової гайки виконано за допомогою однієї рукоятки 7, чим забезпечується необхідне блокування. Мастило механізмів фартуха походить від шестерні 3, зануреної в масляну ванну.

Електрична схема токарного верстата 16у03п
Поворотом автоматичного вимикача АВ подається напруга на робочі ланцюги та ланцюги керування.
При натисканні на кнопку 2КУ включається обертання електродвигуна 1М праворуч за допомогою пускача KП.
При натисканні на кнопку 1КУ контактом 3-5 розривається ланцюг живлення пускача KП а контактом 3-29 включається ланцюг пускача КТ, що здійснює індукційно-динамічний гальмування двигуна. Контакт КТ (О-В11) закорочує першу обмотку статора контакт (C1-C12) подає пульсуючий струм у другу обмотку через силовий діод ВК, контакт (A1-A11) подає змінний струм у третю обмотку.
При натисканні на кнопку 3КУ включається обертання двигуна 1М ліворуч за допомогою пускача КЛ.
У точках 23-25 н. контакти пускачів КП або КЛ готують до включення пускач КО.
Поворотом перемикача ВН включається пускач КО. Пускач КО своїми силовими контактами включає електродвигун 2М або 1М, або обидва електродвигуни одночасно.
Електросхемою верстатів передбачено захист:
| Найменування параметру | 1603 рік | 1E604 | 16U03P | 16U04P |
|---|---|---|---|---|
| Основні параметри верстату | ||||
| Клас точності | П | П | П | П |
| Найбільший діаметр заготовки над станиною, мм | 160 | 200 | 160 | 200 |
| Найбільший діаметр заготовки над супортом, мм | 80 | 100 | 90 | 118 |
| Висота центрів, мм | 85 | 100 | 86 | 108 |
| Найбільші заготовки в центрах (РМЦ), мм | 250 | 350 | 250 | 350 |
| Найбільша висота тримача різця, мм | ||||
| Висота від опорної поверхні різця до лінії центрів, мм | 10 | 12 | 10 | 12 |
| Найбільша відстань від осі центрів до краю різцетримача, мм | 90 | 110 | ||
| Найбільші розміри перерізу державки різця, мм | 10 х 10 | 12 х 12 | ||
| Шпиндель | ||||
| Діаметр наскрізного отвору в шпинделі, мм | 20 | 20 | 20,2 | 20,2 |
| Найбільший діаметр прутка в патроні, мм | 18 | 18 | 20 | 20 |
| Найбільший діаметр прутка в цангу, мм | 12 | 12 | 10 | 10 |
| Конус отвори у шпинделі | Морзе 3 | Морзе 3 | Морзе 3 | Морзе 3 |
| Число ступенів частот прямого обертання шпинделя | Б/ст | Б/ст | Б/ст | Б/ст |
| Частота прямого обертання шпинделя, об/хв | 56..3150 | 56..3150 | 80..4000 | 70..3500 |
| Число ступенів частот зворотного обертання шпинделя | Б/ст | Б/ст | Б/ст | Б/ст |
| Частота зворотного обертання шпинделя, об/хв | 56..3150 | 56..3150 | 80..4000 | 70..3500 |
| Гальмування шпинделя | ні | ні | ні | ні |
| Блокування рукояток | ні | ні | ні | ні |
| Супорт. Подання | ||||
| Найбільше поздовжнє переміщення супорта, мм | 250 | 250 | 232 | 350 |
| Переміщення супорта поздовжнє на один поділ лімба, мм | 0,1 | 0,1 | 0,5 | 0,5 |
| Переміщення супорта поздовжнє на один оберт лімба, мм | 20 | 20 | 100 | 100 |
| Найбільше поперечне переміщення супорта, мм | 95 | 115 | 110 | 135 |
| Переміщення супорта поперечне на один поділ лімба, мм | 0,02 | 0,02 | 0,025 | 0,025 |
| Переміщення супорта поперечне на один оберт лімба, мм | 2 | 2 | 2 | 2 |
| Найбільше переміщення різцевих санчат, мм | 60 | 60 | 100 | 120 |
| Переміщення різцевих санок на один поділ лімба, мм | 0,02 | 0,02 | 0,02 | 0,02 |
| Переміщення різцевих санчат на один оборот лімба, мм | 2 | 2 | 2 | 2 |
| Кут повороту різцевих санчат, град | ±90° | ±90° | ±45° | ±45° |
| Число ступенів поздовжніх подач супорта при постійному налаштуванні гітари | 4 | 4 | ||
| Межі поздовжніх робочих подач супорту, мм/про | 0,01..0,3 | 0,01..0,3 | 0,04..0,32 | 0,04..0,32 |
| Межі робочих поперечних подач супорта, мм/про | ні | ні | ні | ні |
| Діаметр ходового валу, мм | 18 | 18 | ||
| Діаметр та крок ходового ггвинта, мм | 26 х 5 | 26 х 5 | ||
| Кількість нарізних різьблень метричних | ||||
| Межі кроків різьб метричних, що нарізаються, мм | 0,2..3,0 | 0,2..3,0 | 0,25..3 | 0,25..3 |
| Межі кроків різьблення дюймових | 40..8 | 40..8 | 80..10 | 80..10 |
| Межі кроків різьблення модульних | 0,3..1,0 | 0,3..1,0 | 0,1..1,25 | 0,1..1,25 |
| Межі кроків різьблення питних | ні | ні | ні | ні |
| Задня бабка | ||||
| Діаметр пінолі, мм | 35 | 35 | ||
| Конус отвору пінолі задньої бабки | Морзе 2 | Морзе 2 | Морзе 2 | Морзе 2 |
| Найбільше переміщення пінолі, мм | 55 | 55 | 35 | 70 |
| Переміщення пінолі на один поділ лінійки, мм | 1 | 1 | 1 | 1 |
| Переміщення пінолі на один поділ лімба, мм | 0,04 | 0,04 | ||
| Поперечне зміщення задньої бабки, мм | ±6 | ±6 | ||
| Електроустаткування | ||||
| Електродвигун головного приводу, кВт (об/хв) | 1,1 (1400) | 1,1 (1400) | 0,6 (1370) | 0,8 (1370) |
| Електродвигун насоса СОЖ, кВт | 0,125 | 0,125 | ||
| Габарити та маса верстату | ||||
| Габарити верстата (довжина ширина висота), мм | 1080 х 560 х 1170 | 1180 х 590 х 1185 | 1270 х 725 х 1250 | 1380 х 730 х 1250 |
| Маса верстата, кг | 500 | 525 | 670 | 750 |