Виробник плоскошліфувального верстата 3Е710В (3Е710В-1) Оршанський верстатобудівний завод "Червоний борець" , заснований в 1900 році.
У 1959 році на заводі почалося виробництво плоскошліфувальних верстатів високої та особливо високої точності.
У 1967 році був випущений плоскошліфувальний верстат 3711 перший в СРСР металорізальний верстат особливо високої точності.
Універсальний плоскошліфувальний верстат високої точності 3е710в з горизонтальним шпинделем і хрестовим столом призначений для шліфування поверхонь різних деталей з розмірами не більше 125 х 250 х 200 мм (ширина довжина х висота) і масою не більше 50 кг.
Вироби , що обробляються на верстаті 3е710в, можуть бути закріплені на дзеркалі столу, магнітній або електромагнітній плиті або в пристосуванні, периферією кола. У певних межах можливе шліфування торцем кола, розташованих під кутом 90° до дзеркала столу.
У межах, допустимих кожухом, можливе шліфування пазів та фасонних поверхонь.
Із застосуванням різних пристроїв можливе профільне шліфування різних деталей. Точність профілю при цьому залежить від методу заправки профілю кола і від пристрій, що застосовується для кріплення деталей.
Верстат 3е710в використовується в одиничному, дрібносерійному та серійному виробництві.
На верстаті можлива робота по циклу, що включає чернові та чистові подачі, вихід на розмір, виходжування. Усі перемикання супроводжуються світловою сигналізацією. Налаштування здійснюється двограничним датчиком.
Можливе багатоверстатне обслуговування.
Пил і шлам змиваються рідиною, що охолоджує, потім відокремлюються магнітним сепаратором, фільтром-транспортером і скидаються в лоток. Замість охолодження можна застосовувати пиловідсмоктуючий агрегат. Середній рівень звуку LA не повинен перевищувати 77 дБА (коригований рівень звукової потужності LpA за ОСТ2 Н89-40-75 не повинен перевищувати 93 дБА). Приставне обладнання підключається до готової електропроводки зі штепсельними роз'ємами.
На станині в поперечному напрямку по двох V-подібних направляючих кочення переміщається хрестовий супорт.
По направляючих хрестового супорта — плоскою та V-подібною у поздовжньому напрямку переміщається стіл. Стіл отримує переміщення від гідроциліндра, закріпленого між напрямними хрестового супорта.
Усередині хрестового супорта у його нижній частинині закріплені вузли: механізм поперечної подачі, механізм поздовжнього переміщення столу, механізм поздовжнього реверсу столу, механізм поперечного реверсу столу, розподільна панель, гідропанель.
З задньої сторони на станині встановлюється колона, вертикальним напрямним кочення якої переміщається шліфувальна головка.
Верстат комплектується стандартною електромагнітною плитою.
Клас точності верстата за ГОСТ 8—77. Шорсткість обробленої поверхні Ra 0,16 мкм.
Виробник – Оршанський верстатобудівний завод Червоний борець.
Основні параметри верстата – відповідно до ГОСТ 13135. Верстати плоскошліфувальні з прямокутним столом. Основні розміри. Норми точності.

Габарити робочого простору верстата 3е710в

Схема циклу плоскошліфувального верстата 3е710в

Фото плоскошліфувального верстата 3е710в

Фото плоскошліфувального верстата 3е710в

Фото плоскошліфувального верстата 3е710в

Фото плоскошліфувального верстата 3е710в

Фото плоскошліфувального верстата 3е710в

Розташування складових частинин шліфувального верстата 3е710в
Розташування складових частинин шліфувального верстата 3Е710в. Дивитись у збільшеному масштабі

Розташування органів керування плоскошліфувальним верстатом 3Е710в
Розташування органів керування плоскошліфувальним верстатом 3Е710в. Дивитись у збільшеному масштабі

Розташування органів керування плоскошліфувальним верстатом 3Е710в
Розташування органів керування плоскошліфувальним верстатом 3Е710в. Дивитись у збільшеному масштабі

Пульт керування плоскошліфувальним верстатом 3Е710в

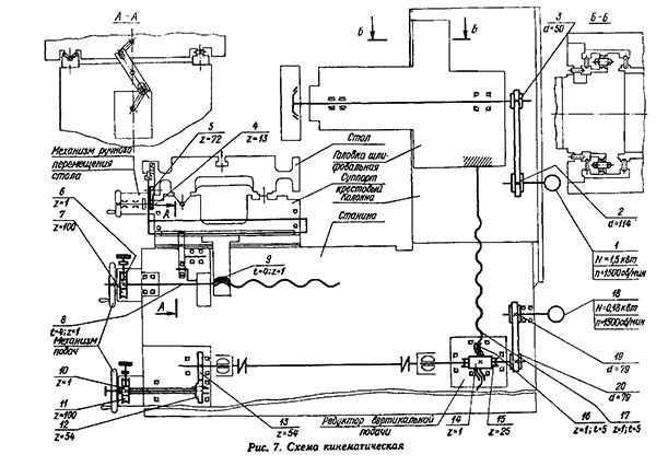
Кінематична схема плоскошліфувального верстата 3е710в
Схема кінематична плоскошліфувального верстата 3Е710в. Дивитись у збільшеному масштабі
Основні механізми та рухи у верстаті . На станині змонтовано колону. Хрестовий супорт перемішається по горизонтальним напрямним кочення станини. Стіл здійснює поздовжній зворотно поступальний рух на горизонтальних направляючих кочення. Шліфувальна головка переміщається вертикальними напрямними колони. У верстаті змонтовані механізми вертикальної та поперечної подачі, а також гідропривід.
Головний рух шпиндель та шліфувальний круг отримують від електродвигуна через ремінну передачу.
Колона 1 (рис. 10) забезпечує вертикальне переміщення шліфувальної головки 4 по двох замкнутих направляючих кочення. Напрямні поверхні утворені самою колоною 1 і планками 3, 7, привернути до її передньої поверхні. Переднє та заднє вікна захищені щитками, що переміщуються в пазах бічних планок 2. Права планка має Т-подібний паз, в якому переміщається мікрометричний упор пристрою відліку вертикальних переміщень. Для обмеження прискореного підйому шліфувальної головки 4 вгору у верхній частинині колони 1 встановлений колійний вимикач. Напрямні колона-шліфувальна головка 4 зібрані з попереднім натягом. У поперечній площині натяг здійснюється за рахунок тарованих тарілчастиних пружин 8, поздовжньої - клином 5. До нижньої площини колони 1 кріпиться редуктор вертикальних переміщень.
Пристрій відліку поперечних переміщень (мал. 11) встановлюється зліва на станині і служить для точного відліку поперечних переміщень. На планці 1 пристрою є паз, в якому перемішується пружний кронштейн 2 з індикатором 4, На хрестовому супорті встановлений упор 3. Величину переміщення налаштовують кінцевим заходам довжини, які поміщають на планці 1 між вимірювальним наконечником 4 і упором .
Пристрій відліку вертикальних переміщень (рис. 12, 13) призначений для точних відліків вертикальних переміщень і складається з кронштейна 2 з індикатором 3, закріпленому на корпусі шліфувальної головки та мікрометричного упору 5, встановленого в пазу Т-подібній пані 1, закріпленої на колоні.
Для запобігання поломці індикатора упор підпружинений і перемішується при додатку незначного зусилля. Для відліку грубих переміщень на колоні встановлена лінійка 6, а кронштейні індикатора є покажчик 7.
Привід шліфувального кола . Шпиндель шліфувального кола приводиться в обертання від електродвигуна 1 через ремінну передачу 2. Натяг ременя 2 здійснюється гвинтом 3, що переміщає кронштейн 4.
Кронштейн 4 кріпиться ггвинтами 5 до заднього торця корпусу шліфувальної головки. Зняття шківа 6 з конуса шпинделя проводиться гвинтом 7, який при викручуванні стягує шків 6 з конуса шпинделя.
Супорт хрестовий 5 (рис. 15-16) забезпечує поздовжнє та поперечне переміщення столу. Верхні поздовжні (V-подібна та плоска) напрямні служать для поздовжнього, а нижні поперечні (V-подібна 4 і плоска 7) для поперечного переміщення.
До нижньої поверхні супорта 5 кріпиться кронштейн гайки 3 поперечної подачі. Автоматичне (гідравлічне) переміщення стола відбувається за рахунок подачі масла гідроциліндри 7, розташовані на супорті між напрямними. Для реверсування переміщення столу на передній стінці супорта встановлений важіль 6 реверсу, пов'язаний з допомогою важелів з гідропанеллю, встановленої станіні. Там же встановлено механізм фіксації супорта. Допуск до болта 2 фіксації здійснюється з лицьової стінки супорта через вікно.
Перед підйомом супорта необхідно звільнити гайку поперечної подачі, зафіксовану в кронштейні 3 і від'єднати шланги гідроприводу та металорукав електрообладнання,
Стіл 1 (рис. 17) має робочу поверхню з одним Т-подібним пазом для кріплення деталі, що обробляється магнітної плити або пристрій. Знизу є V-подібна і плоска напрямні ковзання поздовжнього переміщення. До передньої стінки столу кріпиться планка з кулачками 3 та упорами 6 поздовжнього реверсування. Розмір поздовжнього ходу встановлюється залежно від довжини обробки. Кулачки 3 з упорами 6 фіксуються обертанням кнопки 4. Для розфіксування кулачків з планкою кнопкою 4 послабити клиновий затискач. Рейка 5 ручного переміщення столу встановлюється на передній стінці. Патрубок 8 призначений для зливу рідини, що охолоджує, зі столу.
Огородження столу 1 (рис. 18) призначене для запобігання розбризкуванню охолоджуючої рідини. Регулювання по висоті проводиться за допомогою набору передніх та задніх щитків 2,
Механізм подач (рис. 19) забезпечує поперечну ручну подачу; ручну вертикальну подачу; автоматичне прискорене переміщення шліфувальної голівки.
Механізм скомпонований на одній плиті 2 і встановлюється на передній стінці станини. Зверху плити 2 встановлені кнопки 16 мікронних подач. Перемикання на тонку або грубу ручну поперечну або вертикальну подачі здійснюється поворотом рукоятки 19, вкрученої у фланець 18, груба ручна подача - маховиком 1 і 15. При цьому черв'як 20 виводиться із зачеплення.
Вертикальна подача має блокування: при прискореному переміщенні кнопку 14, розташовану на осі маховика 15, витягнути на себе, відключивши тим самим маховик від карданного валу 7, що з'єднує механізм з редуктором вертикальних подач; при цьому вал 12, переміщаючись, включає перемикач, що дозволяє включення електродвигуна прискореного переміщення шліфувальної головки.
Механізм ручного поздовжнього переміщення столу (рис. 20) призначений для ручного поздовжнього переміщення столу. Змонтований в окремому корпусі 2 з маховиком 4 та встановлюється на хрестовому супорті з лівого боку. Обидва положення рейкової шестірні / механізму - робоче і неодружене - фіксуються кнопкою 5, розташованої на корпусі 2. У робочому положенні передбачено блокування включення гідравлічного поздовжнього переміщення столу. При шліфуванні вручну поверхонь коротких деталей не більше 10 мм слід користуватися рукояткою 3, яка знаходиться в комплекті приладдя. Регулювання блокування включення гідравлічного поздовжнього переміщення столу проводити гвинтом 6.
Механізм фіксації супорта (рис. 21) призначений для фіксації супорта від поперечних переміщень. Фіксація здійснюється притисканням пластини 1, закріпленої на станині планкою 2 корпусу 3 поворотом болта 4.
Головка шліфувальна (рис. 22). Шпиндель 1 в гільзі корпусу 2 змонтований на підшипниках кочення. У передній опорі встановлений роликопідшипник з конічним отвором на внутрішньому кільці, а в задній — два радіально-упорні, зібрані з попереднім натягом. У нижній частинині корпусу шліфувальної головки встановлений гвинт вертикальної 6 подачі.
Фланці шліфувального кола (рис. 23). Шліфувальний круг 1 встановлений між двома фланцями 2 і 3, які за допомогою різьблення затягують шліфувальний круг 1. Балансування шліфувального кола проводиться балансувальними вантажами 7, встановленими в пазу переднього фланця 2. Зняття шліфувального кола 1 з конуса виробляється гвинтом 5 шліфувальний круг 1 разом з фланцями 2 та 3 з конуса шпинделя.
Кожух шліфувального кола (рис. 24) виконаний звареним з листового металу та відповідає вимогам норм техніки безпеки за ГОСТ 12.2.001-74. Передня кришка 2 - знімна, кріпиться двома ггвинтами 5, 6. Соплі 1 охолоджувальної рідини кріпиться праворуч на корпусі кожуха 7. Зліва розташований регульований по висоті щиток 8 для зменшення розбризкування охолоджуючої рідини. Подача охолоджувальної рідини регулюється рукояткою 3 і краном 4, Спереду на кришці встановлюється пристрій для вивірки по індикатору положення оброблюваної деталі по відношенню до поздовжнього та поперечного ходу столу.
Редуктор вертикальної подачі (рис. 25) призначений для передачі руху від механізму подач на ходовий гвинт 5 шліфувальної головки та встановлений на нижній поверхні колони. Зібраний в окремому корпусі 1 і складається з черв'яка 4 і черв'ячної шестерні 3. Одним кінцем черв'як 4 шліцевим з'єднанням з'єднаний з карданним валом механізму подач, а на іншому кінці встановлений шків 2 прискореного переміщення.
Охолодження (рис. 26). Бак охолодження 2 забезпечує відстоювання охолоджуючої рідини, у процесі якого осідають абразивні частининки, а магнітний сепаратор 3 очищає її від металевого шламу. Привід насоса 1 охолодження магнітного сепаратора 3 виробляється від окремих електродвигунів. Потік рідини із сопла має бути направлений у зону шліфування. Наявність на оброблюваних деталях поздовжніх штрихів свідчить про

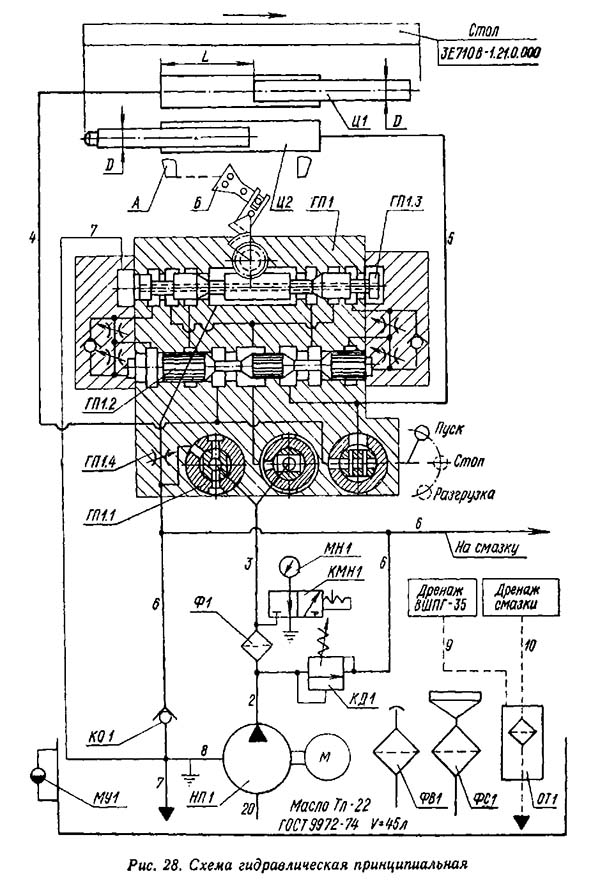
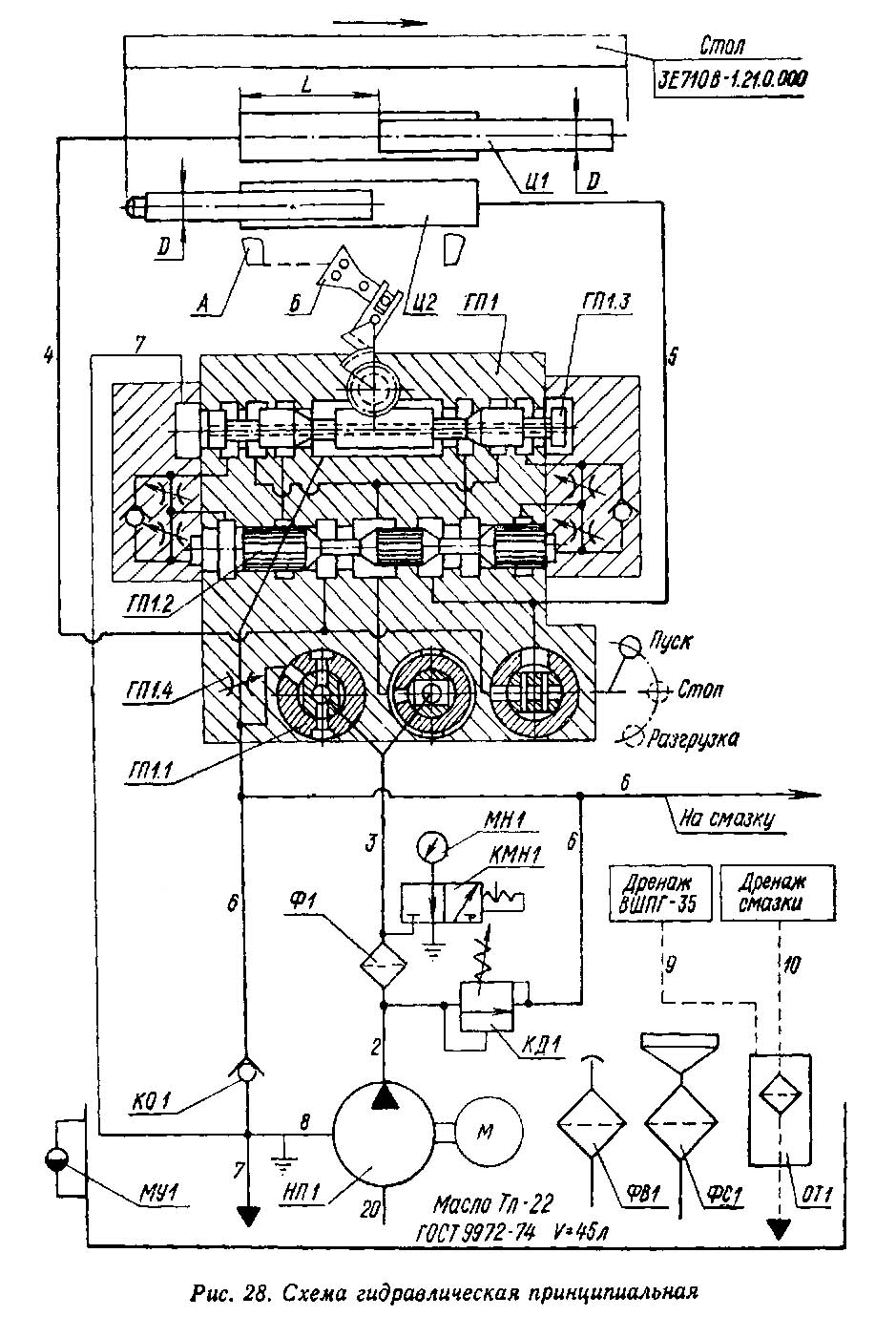
Гідравлічна схема плоскошліфувального верстата 3е710в
Схема гідравлічна плоскошліфувального верстата 3Е710в. Дивитись у збільшеному масштабі
Гідропривід верстата здійснює:
Керування гідроприводом верстата включає наступні елементи:
| Найменування параметру | 3G71 | 3E711v | 3E710v |
|---|---|---|---|
| Основні параметри | |||
| Клас точності згідно з ГОСТ 8-82 | У | У | У |
| Найбільші розміри виробів, що обробляються (довжина х ширина х висота), мм | 630 х 200 х 320 | 630 х 200 х 375 | 250 х 125 х 200 |
| Найбільша висота оброблюваних виробів при найбільшому діаметрі шліфувального круга, мм | 325 | ||
| Найбільша висота оброблюваних виробів при найменшому діаметрі шліфувального круга, мм | 375 | ||
| Найбільша відстань від осі шпинделя до дзеркала столу, мм | 80..445 | 500 | 90..300 |
| Найбільша маса виробів, що обробляються, кг | 220 | 50 | |
| Точнісні параметри, що максимально досягаються на зразку-виробі | |||
| Розмір зразка-виробу, мм | 380 х 120 х 80 | ||
| площинність, мкм | 4 | ||
| паралельність, мкм | 5 | ||
| шорсткість поверхні, обробленої периферією шліфувального кола, Ra | 0,16 | ||
| Перпендикулярність траєкторії поперечного переміщення столу до напрямку його поздовжнього переміщення, мкм | 25 | ||
| Робочий стіл верстата | |||
| Розміри робочої поверхні столу (довжина x ширина), мм | 630 x 200 | 630 x 200 | 250 х 125 |
| Найбільше ручне / автоматичне поздовжнє переміщення столу, мм | 710 | 700 | 320 / 300 |
| Швидкість поздовжнього переміщення столу (безступінчасте регулювання), м/хв. | 5..20 | 2..35 | 2..25 |
| Переміщення столу за один оберт маховика механізму поздовжнього переміщення, мм | 15,3 | 4 | |
| Супорт столу. Механізм поперечної подачі столу | |||
| Найбільше ручне поперечне переміщення столу/ автоматичне, мм | 235 | 250/245 | |
| Ціна поділу лімба маховика поперечного переміщення, мм | 0,05 | 0,05 | |
| Ціна поділу лімба мікрометричної подачі поперечного переміщення, мм | 0,01 | 0,001 | |
| Автоматична поперечна подача на кожен хід столу (безступінчасте регулювання), мм | 0,3...4,2 | 0,3..30 | |
| Прискорене переміщення хрестового супорту столу, м/хв. | 1,5 | ||
| Шліфувальна головка. Шліфувальне коло | |||
| Найбільше вертикальне переміщення шліфувальної головки при новому колі, мм | 365 | 200 | |
| Прискорене вертикальне переміщення шліфувальної головки, м/хв. | 0,27 | 0,3 | |
| Розміри шліфувального круга (діаметр найменший.. найбільший х діаметр посадкового отвору х висота), мм | 250 х 32 х 76 | 250 х 40 х 76 | 110..200 х 32 х 25 |
| Діаметр кінця шліфувального шпинделя, мм | 25 | ||
| Число оборотів шліфувального кола за хвилину | 2740 | 3340 | |
| Максимальна швидкість різання, м/с | 35 | 35 | |
| Ціна поділу лімба маховика вертикального переміщення, мм | 0,001 | 0,002 | |
| Ціна поділу лімба тонкої вертикальної подачі, мм | 0,0005 | 0,0005 | |
| Автоматична подача вертикального переміщення (ступінчаста з кроком 0,005), мм | 0,005...0,05 | - | |
| Автоматична подача вертикального переміщення (ступінчаста з кроком 0,002), мм | - | 0,08..0,002 | |
| Електроустаткування та привід верстата | |||
| Кількість електродвигунів на верстаті | 5 | 7 | 5 |
| Електродвигун приводу шпинделя шліфувального кола, кВт | 2,2 | 4 (М1) | 1,5 |
| Електродвигун гідроприводу столу, кВт | 1,1 | 3.0 (M2) | 0,75 |
| Електродвигун вентилятора охолодження олії в гідростанції, кВт | - | 0,09 (М3) | - |
| Електродвигун приводу поперечної подачі, кВт | - | 0,18 (M11) | - |
| Електродвигун прискореного переміщення шліфувальної головки, кВт/об/хв. | 0,18 | 0,55 (M8) | 0,18 |
| Електродвигун насоса охолодження, кВт/об/хв. | 0,125 | 0,15 М6 | 0,12 |
| Електродвигун магнітного сепаратора у комплекті з агрегатом, кВт | 0,08 | 0,12 М7 | 0,09 |
| Загальна встановлена потужність усіх електродвигунів, кВт | 3685 | 8,09 | 2,64 |
| рід струму мережі живлення | 50Гц, 380/220 В | 50Гц, 380 В | 50Гц, 380 В |
| Габарити та маса верстата | |||
| Габарит верстата (довжина x ширина x висота), мм | 1870 x 1550 x 1980 | 2000 х 1770 х 1920 | 1150 х 1145 х 1585 |
| Маса верстата, кг | 2000 рік | 2550 | 1000 |
Гарна бесіда вкорочує робочий день.
Закон Мерфі