Виробник плоскошліфувального верстата 3Г71М - Оршанський верстатобудівний завод "Червоний борець" , заснований в 1900 році.
У 1959 році на заводі почалося виробництво плоскошліфувальних верстатів високої та особливо високої точності.
У 1967 році був випущений плоскошліфувальний верстат 3711 перший в СРСР металорізальний верстат особливо високої точності.
Плоскошліфувальний верстат 3Г71М високої точності c прямокутним столом, горизонтальним шпинделем з хрестовим супортом призначений для шліфування периферією кола поверхонь деталей вагою до 150 кг з урахуванням кріплення та магнітної плити. У певних межах можливе оброблення поверхонь, розташованих під кутом 90° до дзеркала столу.
На верстаті 3Г71М можуть шліфуватись деталі з різних матеріалів. При шліфуванні твердих сплавів необхідно зменшити кількість обертів шпинделя шліфувального кола.
За спеціальним замовленням за окрему плату разом із верстатом 3Г71М може бути поставлений ряд пристроїв, що розширюють технологічні можливості верстата.
Із застосуванням різних пристроїв можливе профільне шліфування різних деталей. Точність профілю при цьому залежить від методу заправки профілю кола і від пристрій, що застосовується для кріплення деталей.
У нормальному виконанні верстат 3Г71М комплектується стандартною електромагнітною плитою.
Клас точності верстата В. Шорсткість обробленої поверхні V 10.
Хрестовий супорт являє собою виливок із взаємно перпендикулярними напрямними: нижні Y-подібні, верхні - плоскі та Y-подібні.
Між верхніми напрямними встановлено гідроциліндр, штоки якого пов'язані зі столом.
Для відліку поперечних переміщень правому крилі супорта кріпиться кронштейн з індикатором.
До нижнього платика супорта кріпиться кронштейн гайки поперечної подачі.
У передньому лівому крилі вбудований механізм поздовжнього ручного переміщення столу.
Механізм кріпиться до переднього лівого крила супорта, переміщується стіл вручну маховиком через шестерні 4-5-1. При включенні механічного переміщення столу шестерню I необхідно вивести із зачеплення з рейкою столу, для цього потрібно маховик та вал витягнути "на себе". Фіксація проводиться підпружиненою кулькою.
Для жорсткої фіксації є кнопка 3, яка безпосередньо притискає кульку 2 пазу валу. Для блокування ручного та гідравлічного переміщення в механізмі встановлений мікроперемикач 6, який не дозволяє включати гідравлічне переміщення столу, доки шестерня 1 не буде виведена із зачеплення.
Механізм забезпечує:
Автоматична поперечна подача відбувається у момент поздовжнього реверсу столу з допомогою подачі імпульсу струму на електродвигун, з'єднаний через шестерні з гвинтом поперечної подачі. Зміна величини подачі здійснюється поворотом перемикачів на пульті керування. Одним робиться грубе налаштування поперечної подачі, іншим - тонке.
При роботі з автоматичною поперечною подачею та при прискореному переміщенні супорта маховик 3 повинен бути за допомогою кнопки роз'єднаний з шестернею 5, а шестерня 5 повинна увійти в зачеплення з шестернею 1.
При поперечній ручній подачі шестерня 5 повинна бути в зачепленні з шестернею 2.
Тонка поперечна подача здійснюється через конічні шестерні кнопкою 4, виведеної через верхню поверхню.
Прискорене переміщення хрестового супорта вмикається тумблером на пульті керування.
Автоматична вертикальна подача здійснюється від лопатевого гідроциліндра 14, що працює в момент поперечного або поздовжнього реверсу столу в залежності від положення тумблера.
На осі циліндра закріплений важіль з собачкою 15. Собачка може ковзати по заслінці 13 або зачіплятися з храповим колесом 8. Хропове колесо 8 скріплено з шестернею 7, яка через шестерню 9 передає рух на вал черв'яка вертикального редуктора подачі. Величина автоматичної подачі регулюється заслінкою 13, що перекриває зуби храпового колеса 8.
На кнопці повороту заслінки 6 нанесені поділки величини подачі, що встановлюється.
Ручна вертикальна подача здійснюється маховиком через 10 пару шестерень 12-9 і редуктор.
Тонка подача здійснюється кнопкою через конічні шестерні 4.
При грубій ручній подачі кнопка тонкої подачі повинна бути у верхньому положенні, конічні шестерні 11 в цьому випадку розчеплені.
Щоб не обертався маховик при прискореному переміщенні шліфувальної головки, в механізмі передбачений перемикач, який натискається при роз'єднанні шестерень 12 і 9 кнопкою, що знаходиться під маховиком 10, і тільки в такому положенні можна включити електродвигун прискореного переміщення.
Читайте також: Електроустаткування верстата 3Г71М
Виробник – Оршанський верстатобудівний завод Червоний борець.
Основні параметри верстата – відповідно до ГОСТ 13135. Верстати плоскошліфувальні з прямокутним столом. Основні розміри. Норми точності.

Креслення робочого простору плоскошліфувального верстата 3г71м

Основні розміри та посадкові місця шліфувального кола верстата 3г71м

Фото плоскошліфувального верстата 3г71м

Фото плоскошліфувального верстата 3г71м

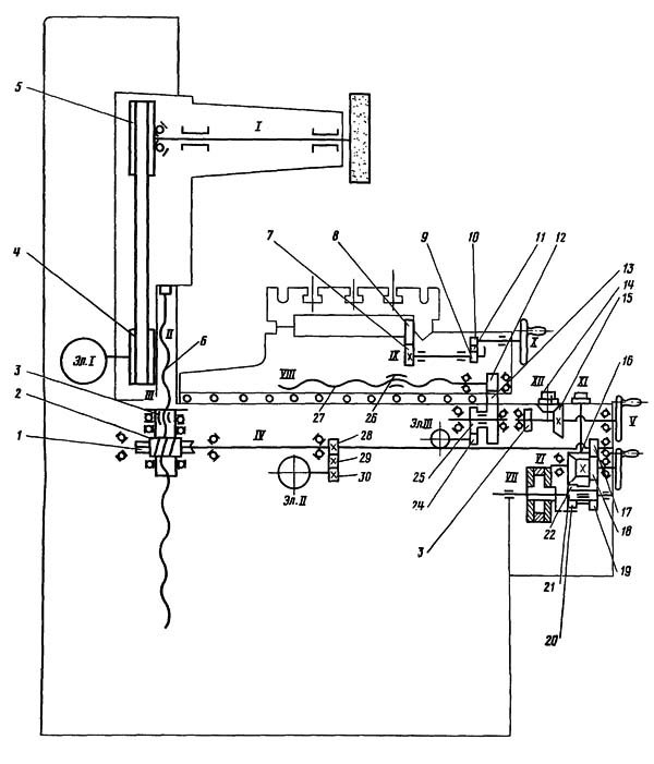
Розташування складових частинин шліфувального верстата 3г71м

Розташування органів керування шліфувальним верстатом 3г71м

Розташування органів керування шліфувальним верстатом 3г71м

Пульт керування плоскошліфувального верстата 3Г71М
Пульт керування плоскошліфувального верстата 3Г71М. Дивитись у збільшеному масштабі

Пульт керування плоскошліфувального верстата 3Г71М
Пульт керування плоскошліфувального верстата 3Г71М. Дивитись у збільшеному масштабі

Кінематична схема плоскошліфувального верстата 3г71м
Схема кінематична плоскошліфувального верстата 3Г71М. Дивитись у збільшеному масштабі

Схема розташування підшипників плоскошліфувального верстата 3г71м
Схема розташування підшипників плоскошліфувального верстата 3Г71М. Дивитись у збільшеному масштабі
Головне рух здійснюється від електродвигуна Ел.I через ременную передачу. Шпиндель отримує постійну швидкість обертання.
Прискорене переміщення шліфувальної головки здійснюється від електродвигуна Ел.II через циліндричну та черв'ячну передачу. Черв'ячна шестерня жорстко закріплена на підлозі валу III, всередині якого кріпиться гайка, При обертанні шестерні з гайкою гвинт, закріплений до шліфувальної голівки, здійснює опускання або підйом шліфувальної головки.
При включенні прискореного переміщення шліфувальної голівки кнопка повинна бути у положенні "від себе", тобто. шестерня 17 має бути виведена із зачеплення.
Для обмеження верхнього положення шліфувальної головки всередині колони встановлено вимикач.
Вертикальна автоматична подача здійснюється від лопатевого гідроциліндра після кожного поздовжнього чи поперечного ходу столу.
Під дією тиску олії повертається ротор гідроциліндра із закріпленим на ньому важелем із собачкою.
Собачка повертає храповик 20, скріплений із зубчастиним колесом 19, від колеса рух передається через циліндричні колеса 17 і 18 на черв'як, який обертає гайку 3. Межі автоматичної вертикальної подачі 0,005-0,05 мм. Подача на один зуб храпового колеса 0,005 мм. Розмір подачі регулюється поворотом заслінки, яка перекриває частинину зубів храпового колеса, тобто. частинина свого шляху собачка 21 ковзає по заслінці.
Точна ручна поперечна подача здійснюється від кнопки через конічні шестерні 14 15.
За один оберт кнопки супорт переміщається на 0,4 мм.
Ручне поздовжнє переміщення столу здійснюється від маховика, що сидить на валу X, через шестерні 10, 9, 7 і рейку 8.
За один оберт маховика стіл переміщається на 18,1 мм.
У нормальному положенні шестерня 7 повинна бути вимкнена із зачеплення із рейкою столу. Маховик повинен бути у положенні "на себе".
У механізмі є блокування, що не дозволяє включати механічне переміщення столу, доки шестерня не буде виведена із зачеплення. У виведеному положенні натискається мікроперемикач, який у такому положенні допускає включення механічного переміщення столу.

Електрична схема плоско шліфувального верстата 3г71м
Схема електрична плоскошліфувального верстата 3Г71м. Дивитись у збільшеному масштабі
Верстат підключається до мережі трифазного змінного струму напругою 380 В, частотою 50 Гц.

Гідравлічна схема плоско шліфувального верстата 3г71м
Схема гідравлічна плоскошліфувального верстата 3Г71м. Дивитись у збільшеному масштабі
Гідропривід верстата включається в роботу натисканням на кнопку "Пуск гідроприводу" з наступною установкою крана гідропанелі 17 положення "Пуск". Потік масла, нагнітається лопатевим насосом 2, через фільтр 4 по трубопроводу 12 надходить у центральну проточку реверсивного золотника 25 панелі 17. При положенні золотника 25, як показано на схемі, основний потік надходить у ліву проточку і трубопроводу 18 в гідроциліндр 20 переміщення. Стіл рухається у напрямку стрілки. Злив із гідроциліндра 20 відбувається по трубопроводу 21 через дросель 14, клапан II гідробак I.
Швидкість переміщення столу регулюється дроселем 14. Переміщення стола вправо відбувається до моменту, поки упор 19, пов'язаний зі столом, не перекине важіль реверсу 23, який через систему важелів перемикання золотника керування 24 в ліве положення. При цьому права торцева камера реверсу золотника з'єднується з тиском, золотник 25 переміщається вліво, в результаті чого відбувається реверс столу. Трубопровід 21 стає напірним, трубопровід 18 - зливним. Стіл рухається у зворотному напрямку доти, поки упор 22 не перекине важіль 23 у зворотне положення.
Далі цикл повторюється аналогічно вище описаному.
Автоматична вертикальна подача здійснюється з включенням реверсивного електромагніту золотника 28.
Потік масла трубопроводом 12 через реверсивний золотник і трубопровід 27 надходить в нижню порожнину моментного гідроциліндра, з верхньої порожнини масло трубопроводом 26 через золотник і трубопровід 29 зливається в гідробак. Відбувається поворот прапорця за годинниковою стрілкою. Через систему шестерень обертання передається на гвинт вертикальної подачі. Відбувається вертикальна подача шліфувальної голівки.
При відключенні електромагніту трубопровід 26 стає напірним, трубопровід 27 - зливним. Прапорець повертається у вихідне положення
Змащування направляючих столу та хрестового супорта, ггвинта та направляючих вертикальної подачі та ггвинта поперечної подачі проводиться від трубопроводу 13 через фільтр 10 та трубопровід 15.
Витрата масла на мастило направляючих столу та хрестового супорта регулюється дроселем 16.
Подача масла на мастило ггвинта та направляючих вертикальної подачі та ггвинта поперечної подачі включається періодично натисканням на кнопку 9.
Надлишки олії, що надходять з направляючих столу та хрестового супорта, трубопроводами 7 і 8 зливаються в гідробак.
| Найменування параметру | 3G71 | 3G71M |
|---|---|---|
| Основні параметри | ||
| Клас точності згідно з ГОСТ 8-82 | У | У |
| Найбільші розміри оброблюваних виробів (довжина x ширина x висота), мм | 630 х 200 х 320 | 630 х 200 х 320 |
| Відстань від осі шпинделя до дзеркала стола, мм | 80...445 | 80...445 |
| Найбільша маса виробу, що обробляється, кг | 100 | 150 |
| Робочий стіл верстата | ||
| Розміри робочої поверхні столу (довжина x ширина), мм | 630 x 200 | 630 x 200 |
| Поздовжнє переміщення столу, мм | 710 | 700 |
| Поперечне переміщення столу, мм | 235 | 245 |
| Швидкість поздовжнього переміщення столу, м/хв. | 5...20 | 3...25 |
| Переміщення столу за один оберт маховика механізму поздовжнього переміщення, мм | 15,3 | 18,1 |
| Механізм поперечної подачі столу | ||
| Ціна поділу лімба маховика поперечного переміщення столу, мм | 0,05 | 0,02 |
| Переміщення супорта за один оборот маховика, мм | 6 | 2,0 |
| Ціна поділу лімба мікрометричної подачі поперечного переміщення столу, мм | 0,01 | 0,005 |
| Автоматична поперечна подача на кожен хід стола, мм | 0,2...4,0 | 0,3...10 |
| Автоматична безперервна подача, м/хв | 0,7 | |
| Шліфувальна головка | ||
| Найбільше вертикальне переміщення шліфувальної головки, мм | 365 | |
| Швидкість прискореного вертикального переміщення шліфувальної головки, м/хв. | 0,27 | 0,28 |
| Розміри шліфувального кола, мм | 250 х 32 х 76 | 250 х 32 х 76 |
| Частота обертання шліфувального, об/хв | 2680 | 2680 |
| Ціна поділу лімба маховика вертикального переміщення, мм | 0,001 | 0,002 |
| Автоматична подача вертикального переміщення (ступінчаста з кроком 0,005), мм | 0,005...0,05 | 0,002...0,05 |
| Переміщення шліфувальної головки за один оберт маховика, мм | 0,125 | |
| Електроустаткування та привід верстата | ||
| Кількість електродвигунів на верстаті | 5 | 5 |
| Електродвигун приводу шпинделя, кВт | 2,2 | 2,2 |
| Електродвигун гідроприводу, кВт | 1,1 | 1,1 |
| Електродвигун прискореного переміщення шліфувальної головки, кВт | 0,18 | 0,4 |
| Електродвигун насоса охолодження, кВт | 0,125 | 0,125 |
| Електродвигун магнітного сепаратора, кВт | 0,08 | 0,08 |
| Загальна встановлена потужність усіх електродвигунів, кВт | 3685 | 4,355 |
| рід струму мережі живлення | 50Гц, 380/220 В | 50Гц, 380/220 В |
| Габарити та маса верстата | ||
| Габарит верстата (довжина x ширина x висота), мм | 1870 x 1550 x 1980 | 1980 х 1840 х 1860 |
| Маса верстата, кг | 2000 рік | 2250 |