metalinstryment.com
Довідник по металорізальних верстатів та пресовому обладнанні

737 Верстат поперечно-строгальный з гідравлическим приводом
опис, характеристики, схеми

Фото поперечно-строгального верстата 737 з гідравлическим приводом







Відомості про виробника поперечно-строгального верстата 737

Изготовителем поперечно-строгального верстата 737 является Гомельский станкостроительный завод им. С. М. Кирова СтанкоГомель, основанный в 1885 году.

Первые верстати были изготовлены заводом в 1934 году.

В настоящее время завод является крупнейшим производителем гаммы универсальных консольно-фрезерных верстатів моделей FW, FU, FSS. Эти верстати завод производит з 1993 года по лицензии немецкой фирмы HECKERT Chemnitzer Werkzeugmaschinen GmbH.

В ассортименте выпускаемой продукции по-прежнему долбежные верстати, правильно-отрезные автоматы і специальные верстати.





Верстати, выпускаемые предприятием Гомельский станкостроительный завод им. С. М. Кирова, СтанкоГомель


737 Верстат поперечно-строгальный з гідравлическим приводом. Назначение і область применения

Поперечно-строгальный верстат 737 предназначен для обробки строганием горизонтальных, вертикальних і наклонных плоских і фасонных линейчатых поверхностей і пазов различного профиля у деталей малых і средних размеров і среднего веса в условиях индивидуального і мелкосерийного производства. Чаще всего поперечно-строгальный верстат моделі 737 применяется в инструментальных і ремонтных цехах для индивидуального і мелкосерийного производства.

Принцип роботи строгального верстата 737

Обрабатываемую деталь закрепляют на столе верстата 737, который устанавливают в требуемое положение по высоте в зависимости от размера обрабатываемой заготовки.

Резец устанавливают і закрепляют в резцедержателе суппорта.

Ползуну з суппортом сообщается возвратно-поступательное движение, причем при ходе его вперед происходит снятие стружки з обрабатываемой детали (рабочий ход); при ходе назад з підвищеної скоростью (холостой ход) снятие стружки не производится.

Во избежание повреждения режущей кромки резца і обработанной поверхности різець вместе з откидной доской несколько приподнимается вверх.

Периодическая подача стола з деталью осуществляется в кінці холостого ходу ползуна.

При обработке вертикальних і наклонно расположенных поверхностей, а также при строгании пазов различных профилей подача сообщается не столу, а суппорту, который може быть повернут на соответствующий угол относительно головки ползуна. В етом случае поворотная доска смещается в сторону для обеспечения відведення резца от обработанной поверхности при обратном холостом ходе ползуна.

Налаштування верстата 737 в соответствии з конфигурацией і размерами обрабатываемой детали производится переміщенням стола в поперечном і вертикальном направлениях і переміщенням суппорта.

Налаштування на требуемую длину ходу і место ходу ползуна достигается соответствующей установкой упоров, расположенных на ползуне.

Стол верстата 737 имеет гідромеханическую подачу в горизонтальном і вертикальном направлениях.

Вертикальная подача суппорта осуществляется только вручную з отсчетом її величины по лимбу.

Конструктивные особливості верстата 737

Верстат моделі 737 оснащен гідроприводом для осуществления возвратно-поступательного руху ползуна (руху різання).


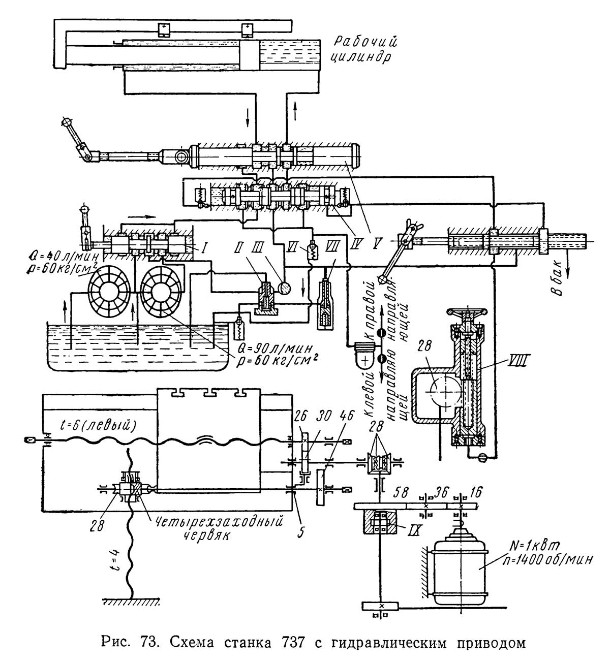
737 Схема гідравлічного приводу строгального верстата

Схема гідравлічного приводу строгального верстата 737


Гідрофицированные верстати имеют большое преимущество перед верстатами з кулисным механізмом.

У верстатів з кулисным механізмом скорость ползуна изменяется от нуля до максимальной її величины на первой половине пути ползуна і з половины пути падает от максимальной до нуля, а коробка швидкостей имеет ступени чисел двойных ходов з большими перепадами.

У гідрофицированных верстатів скорость руху ползуна на всей длине ходу постоянна, а число двойных ходов регулируется бесступенчато, что позволяет выбирать оптимальные (наилучшие) режими різання.

Коеффициент полезного дії гідрофицированного верстата также выше, чем у верстата з кулисным механізмом.

Длина ходу ползуна у гідрофицированных верстатів може быть значительно увеличена за счет отсутствия кулисы.

Поступательное рух осуществляется гідравлическим приводом, состоящим из резервуара 1 (рис. 72) з жидкостью, фильтра 2, трубопровода 3, насоса 5 з електродвигуном 4, регулятора (дросселя) 6, дозирующего поступающую от насоса жидкость, і распределительного пристроя 7. для реверсирования руху ползуна при помощи поршня 8, находящегося в гідроцилиндре ползуна.

Електродвигун приводит в рух насос, накачивающий жидкость в гідроцилиндр, которая давит на поршень і перемещает его, перемещается і скрепленный з поршнем ползун. Поршень двигается в одном направлении до тех пор, пока установленные на ползуне кулачки не переключат через золотниковое пристрій поток жидкости, направив его по трубопроводу з другой стороны поршня. При изменении направления руху жидкость, заполнившая цилиндр до переключения, сливается в резервуар, в дальнейшем цикл повторяется.

Рабочими жидкостями є минеральные масла.


Модели поперечно-строгальных верстатів з кулисным приводом ползуна: 7311, 733, 7Б35, 7А35, 736.

Гідрофицированные поперечно-строгальные верстати моделей 7М36, 737, 7М37 і др.





737 Розташування складових частин поперечно-строгального верстата

Розташування складових частин поперечно-строгального верстата 737

Розташування основних вузлів поперечно-строгального верстата 737

Розташування складових частин поперечно-строгального верстата 737. Дивитись у збільшеному масштабі



Основні вузли верстата

Органы керування





Кінематична схема поперечно-строгального верстата 737

737 Схема кінематична строгального верстата

Кінематична схема поперечно-строгального верстата 737

1. Схема кінематична строгального верстата 737. Дивитись у збільшеному масштабі

2. Схема кінематична строгального верстата 737. Дивитись у збільшеному масштабі



Движения в станке

  1. Рух різання — прямолинейное возвратно-поступательное рух ползуна з суппортом і резцом.
  2. Движения подач — прерывистое прямолинейное поступательное перемещение стола з обрабатываемой деталью в поперечном і вертикальном направлениях і прерывистое прямолинейное поступательное перемещение суппорта з резцом в вертикальном направлении. Вспомогательные руху — механизированные быстрые і ручні установочные переміщення стола в поперечном і вертикальном направлениях і ручні переміщення суппорта.

Рух різання

Возвратно-поступательное перемещение ползуна (рис. 115) производится гідроприводом. Питание гідросистемы осуществляется двумя насосами, имеющими общий вал. Насос Н1 имеет производительность 110 л/мин, а насос Н2 — 50 л/мин.

Золотник переключения З1 позволяет изменять скорость робочого ходу ползуна в пределах от 3 до 37 м/мин. Этот золотник може быть установлен з помощью рукоятки Р в одно из фиксированных положений.

В начальном положении золотника переключения З1 (показанном на схеме) масло нагнетается в рабочий цилиндр насосом Н2. Часть масла через пусковой кран K1 поступает в правые полости золотника керування З3 і тормозящего золотника З4, смещая их влево (см. схему). Основной поток масла через дроссель Д\ направляется в реверсивный золотник З2, через его правую выточку попадает в правую выточку золотника З4 і идет в правую полость робочого цилиндра, смещая поршень і связанный з ним ползун влево. Из левой полости цилиндра через левую выточку тормозящего золотника З4, левую выточку реверсивного золотника З2 і выточку золотника керування З3 масло сливается в бак. При подходе ползуна к левому крайнему положению правый переставной упор, укрепленный на ползуне, повернет рычаг P1 і сместит золотник керування З3 вправо; при етом масло из напорной магистрали направится в левую полость реверсивного золотника З2 і сместит его вправо.

В етом случае масло от насоса Н2 будет направляться через дроссель Д1 левую выточку реверсивного золотника З2 і левую выточку тормозящего золотника З4 в левую полость робочого цилиндра, смещая поршень з ползуном вправо.

Из правой полости цилиндра через правую выточку тормозящего золотника З4, правую выточку реверсивного золотника З2 і выточку золотника керування З3 масло сливается в бак. В етом случае насос Н1 не подает масла в магистраль руху різання, но частинично нагнетает масло в магистраль руху подачі, і частинично через переливной клапан Пл масло сливается в бак.

Для увеличения скорости руху ползуна золотник З1 перемещается во второе положение (среднее), при етом в систему поступает масло, нагнетаемое насосом Н1 а от насоса Н2 масло сливается в резервуар через переливной клапан Пл.

Для получения максимальной скорости ходу ползуна до 37 м/мин золотник З1 смещается в левое крайнее положение, при котором масло нагнетается в систему обоими насосами.

Для остановки руху ползуна пусковой кран К1 поворачивается на 90°, при етом масло, нагнетаемое обоими насосами, сливается непосредственно в бак. Под действием пружины тормозящий золотник З4 смещается вправо, перекрывая все каналы, вследствие чего ползун быстро останавливается.

В пределах каждой ступени скорость робочого ходу ползуна може плавно изменяться дросселированием масла посредством дросселя Д1, управляемого рукояткой. Скорость обратного ходу ползуна больше скорости робочого ходу вследствие разности рабочих сечений цилиндра з правой і левой сторон.




Движения подач

Во время робочого ходу ползуна часть масла из напорной магистрали, проходящая через правую выточку реверсивного золотника З2, смещает вправо золотник подачі З5. В етом случае масло от насоса Н1 проходя через правую выточку золотника подачі З5, направляется в верхнюю полость цилиндра приводу подачі, перемещая поршень вниз.

На пиноли поршня нарезана рейка, которая при перемещении вниз приводит во вращение реечное колесо 28, однако муфта обгона М01 в етом случае выключается, і вращение от реечной шестерни 28 валу 1 не передається. Происходит зарядка механізма подачі. Масло из нижней полости цилиндра приводу подачі вытесняется через левую выточку золотника подачі З5 в бак.

Во время холостого обратного ходу ползуна часть масла, проходящего через реверсивный золотник 32, смещает золотник 35 влево, вследствие чего масло, нагнетаемое насосом Н1 направляется через правую выточку золотника подачі З5 в нижнюю полость цилиндра приводу подачі, смещая поршень і пиноль з рейкой вверх.

В етом случае реечная шестерня 28 будет вращаться в противоположную сторону і заклинивать муфту обгона Mоб вследствие чего будет сообщено вращение валу I.

От вала I (условно показанного изогнутым) приводится в рух конічний реверс 26—27—27. управляемый кулачковой муфтой М, вал II і шестерня 30 на скользящей шпонке.

Для увімкнення поперечної подачі стола шестерня 30 вводится в зацепление з шестерней 26, укрепленной на ходовом винте III. Увімкнення вертикальной подачі стола достигается вводом шестерни 30 в зацепление з шестерней 46, укрепленной на валу IV; рух через червячную передачу 4—28 сообщается маточной гайке, выполненной заодно з червячным колесом 28.

Величина подачі настраивается маховичком Мх.

Подача суппорта в вертикальном направлении производится только вручную поворотом рукоятки Р.

Вспомогательные руху

Механізм швидкого переміщення стола. Для швидкого переміщення стола в горизонтальном і вертикальном направлениях верстат 737 снабжен отдельным електродвигуном мощностью 1 кВт. От електродвигуна рух передається через зубчасті колеса (16/36)(36/58) на обгонную муфту Моб, реверсивный механізм і далее на винты подач.





737 Верстат поперечно-строгальный з гідравлическим приводом. Відеоролик.




Технічні характеристики поперечно-строгального верстата 737

Наименование параметра 737 7М36 7М37
Основні параметри верстата
Класс точності верстата Н Н Н
Длина ходу ползуна, мм 150..900 150..710 150..1000
Наибольшее сечение резца, мм 25 х 40 30 х 45
Наибольшее расстояние от опорной поверхности резца до станины (вылет), мм 840 1140
Высота ползуна над рабочей поверхностью стола, мм 80..400 80..500
Стол
Розміри рабочей поверхности стола - верхней, мм 450 х 900 450 х 700 560 х 1000
Наибольшее продольное горизонтальное перемещение стола, мм 850 700 800
Наибольшее вертикальное перемещение стола, мм 320 320 420
Пределы горизонтальных (поперечных) подач стола, мм/дв.ход 0,2..5,0 0,2..5,0 0,2..5,0
Быстрое, горизонтальное перемещение стола, м/мин 2,58 2,38 2,38
Быстрое вертикальное перемещение стола, м/мин 0,139 0,168 0,168
Цена деления лимба горизонтального переміщення, мм 0,1 0,1
Цена деления лимба вертикального переміщення, мм 0,05 0,05
Ползун. Суппорт
Наибольшее вертикальное перемещение салазок суппорта (головки резца) от руки, мм 200 200 200
Цена деления лимба, мм 0,05 0,05
Розміри окна резцедержателя, мм 32 х 55 32 х 55
Наибольший угол поворота резцовой головки до входа в станину, град ±60° ±60° ±60°
Наибольший угол поворота доски резцедержателя, град ±30° ±30°
Наибольшее допустимое усилие різання, кН 28 28
Число ступеней швидкостей головного приводу (переміщення ползуна) 4 4
Числа двойных ходов ползуна в минуту
Диапазон швидкостей ползуна суппорта, мм/мин 3..37 3..8, 8..16, 16..24, 24..48 3..8, 8..16, 16..24, 24..48
Число подач суппорта
Подачи суппорта, мм/дв.ход 0,15..1,05 0,15..1,05
Електроустаткування. Привод
Количество електродвигателей на станке 2 2
Електродвигун головного руху, кВт (об/мин) 9,1 7,5 10
Електродвигун быстрых перемещений стола, кВт 1 1,1 1,1
Габарити і масса верстата
Габарити верстата (длина ширина высота), мм 2785 х 1750 х 11780 3600 х 1860 х 1945
Масса верстата, кг 3300 4500


    Список литературы:

  1. Копылов Р.Б. Работа на строгальных і долбежных верстатах, 1975
  2. Петруха П.Г. Резание конструкционных материалов, режущие инструменты і верстати, 1974
  3. Яковцев А.Д. Работа на строгальных і долбёжных верстатах, 1966